|
|
(21), (22) Заявка: 2006107973/12, 25.08.2003
(24) Дата начала отсчета срока действия патента:
25.08.2003
(43) Дата публикации заявки: 10.10.2007
(46) Опубликовано: 10.10.2008
(56) Список документов, цитированных в отчете о поиске:
DE 10135443 A1, 21.03.2002. WO 03046388 A1, 05.06.2003. GB 1094037 A, 06.12.1967. US 4192616 A, 11.03.1980. SU 200144 A1, 01.01.1967.
(85) Дата перевода заявки PCT на национальную фазу:
14.03.2006
(86) Заявка PCT:
CA 03/01260 (25.08.2003)
(87) Публикация PCT:
WO 2005/018907 (03.03.2005)
Адрес для переписки:
103735, Москва, ул. Ильинка, 5/2, ООО “Союзпатент”, пат.пов. Ю.В.Пинчуку, рег.№ 656
|
(72) Автор(ы):
ТЕНГ Алекс (CA), ГОЛТ Джон Р. (CA), КЕСЛ Мартин Р. (CA)
(73) Патентообладатель(и):
ХАСКИ ИНДЖЕКШН МОУЛДИНГ СИСТЕМЗ ЛТД. (CA)
|
(54) ПРИВОДНОЙ УЗЕЛ ДЛЯ СООБЩЕНИЯ ВРАЩАТЕЛЬНОГО И ПОСТУПАТЕЛЬНОГО ДВИЖЕНИЯ ВАЛУ
(57) Реферат:
Настоящее изобретение относится к приводному устройству, предназначенному для сообщения вращательного и поступательного движения валу, в частности для привода пластифицирующего шнека в машине для инжекционного прессования. Техническим результатом заявленного изобретения является создание компактного инжекционного узла с более точной установкой шнека в заданное положение при его регулировке, а также позволяющим получить высокую инжекционную способность, обеспечиваемыми наличием как электрической, так и гидравлической приводных систем. Технический результат достигается инжекционным узлом машины для прессования. В состав инжекционного узла входит полый электродвигатель, имеющий ротор и неподвижную часть. Гидравлический цилиндр имеет первую цилиндрическую стенку, соединенную с ротором полого электродвигателя, и вторую цилиндрическую стенку, соединенную с неподвижной частью полого электродвигателя. Поршень установлен с возможностью скользящего перемещения вдоль внутренних поверхностей цилиндрических стенок. Причем поршень имеет первую торцевую часть, которая контактирует с первой цилиндрической стенкой, и вторую торцевую часть, которая контактирует со второй цилиндрической стенкой. Вдоль центральной части поршня расположено множество шлицев. В зацеплении с множеством шлицов находится шлицевая вставка, которая жестко соединяется с ротором. Средство для подачи гидравлической жидкости выполнено в виде канала таким образом, чтобы обеспечивать перемещение поршня в переднем направлении. Поршень перемещается со скольжением в продольном направлении вдоль шлицевой вставки под гидравлическим воздействием и совершает вращательное движение под воздействием шлицев, при включении в действие полого электродвигателя, обеспечивающего вращательное движение ротора. 8 н. и 94 з.п. ф-лы, 13 ил.
Область техники, к которой относится изобретение
Настоящее изобретение относится к приводному устройству, предназначенному для сообщения вращательного и поступательного движения валу. В частности, данное изобретение может быть использовано для привода пластифицирующего шнека в машине для инжекционного прессования. Более конкретно, настоящее изобретение относится к приводному устройству, предназначенному для сообщения вращательного и поступательного движения пластифицирующему шнеку в машине для инжекционного прессования, в которой шнек приводится во вращательное движение при помощи полого электродвигателя и совершает возвратно-поступательное движение под воздействием поршня гидравлического цилиндра.
Уровень техники
Известно применение полых электродвигателей и поршней гидравлических цилиндров для привода пластифицирующих шнеков в движение и сообщения им вращательного движения. Однако ни для одной из известных систем не предусматривается одновременное получение преимуществ, обеспечиваемых при применении электродвигателей для вращения пластифицирующего шнека в сочетании с сообщением ему поступательного движения в продольном направлении при помощи поршня гидравлического цилиндра.
В описании изобретения к патенту США №4105147, выданному на имя Штуббе (Stubbe), раскрывается шнековый экструдер, приводимый во вращательное движение при помощи зубчатой передачи от электродвигателя и перемещаемый в продольном направлении при помощи поршня гидравлического цилиндра. Торцевая часть шнека выполнена в виде шлицевого вала с обеспечением возможности скольжения этого вала в продольном направлении внутри зубчатой передачи.
В описании изобретения к патенту США №4895505, выданному компании «Фанук Лимитед» (Fanuc Ltd.), раскрывается линейный электродвигатель, предназначенный для обеспечения линейного перемещения инжекционного шнека. Линейный электродвигатель включает в свой состав соответствующий ряд постоянных магнитов, закрепленных на якоре этого электродвигателя, которые вступают во взаимодействие с переменным электрическим током, пропускаемым через обмотки статора, охватывающие собой якорь, в результате чего сообщается линейное движение якорю электродвигателя и валу шнека, закрепленному на этом якоре. В описании изобретения к этому патенту раскрывается применение полого электродвигателя для линейного перемещения вала шнека.
В описании изобретения к патенту США №5540495, выданному 30.07.1996 на имя Краусс-Маффея (Krauss-Maffei), раскрывается привод шнека экструдера, который включает в свой состав первый электродвигатель, предназначенный для сообщения поступательного движения шнеку, и второй электродвигатель, предназначенный для сообщения вращательного движения шнеку. Вариант осуществления изобретения, рассмотренный в описании изобретения к этому патенту, предусматривает применение двух полых электродвигателей. Приводное устройство, предназначенное для сообщения поступательного движения шнеку, и скользящее устройство, предназначенное для сообщения вращательного движения шнеку, выполнены таким образом, чтобы одно из них частично входило внутрь другого.
В описании изобретения к патенту США №5645868, выданному на имя Рейнхарта (Reinhart), раскрывается приводное устройство для инжекционного узла, которое включает в свой состав полый электродвигатель, вводимый в зацепление с валом шнека при помощи трех муфт. Одна такая муфта сообщает вращательное движение шнеку, вторая – обеспечивает перемещение шнека в переднем направлении, а третья – предотвращает вращательное движение шнека во время перемещения его в переднем направлении. Применение каких-либо гидравлических узлов здесь не предусматривается.
В описании изобретения к патенту США №5747076, выданному на имя Ярошека (Jaroschek) и др., раскрывается машина для инжекционного прессования, в которой предусматривается применение поршня гидравлического цилиндра для того, чтобы способствовать перемещению шнека, приводимого в движение при помощи электродвигателя, передающего на него крутящий момент через соответствующий реечный зубчатый механизм.
В описании изобретения к патенту США №5804224, выданному 08.09.1998 компании «Фанук Лимитед» (Fanuc Ltd.), раскрывается устройство, в котором предусматривается применение винта с шариковой гайкой, выполненного за одно целое с валом ротора. При этом вращение винта с шариковой гайкой осуществляется с помощью электродвигателя, расположенного соосно указанному валу.
В описании изобретения к патенту США №5891485, выданному 06.04.1999 на имя Сумитомо (Sumitomo), раскрывается инжекционное устройство, которое включает в свой состав два электродвигателя с полым валом. Один из этих электродвигателей предназначен для того, чтобы приводить вал шнека во вращательное движение, тогда как другой электродвигатель обеспечивает перемещение этого вала в продольном направлении. Роторы этих двух электродвигателей соединяются с валом. При этом каждый ротор располагается в отдельной камере.
В описании изобретения к патенту США №6068810, выданному на имя Кестла (Kestle) и др., раскрывается инжекционный узел, имеющий полый вал, находящийся внутри поршня, который под воздействием на него гидравлического давления обеспечивает втягивание и выдвигание шнека. Соответствующий электродвигатель сообщает вращательное движение указанному полому валу, который соединен с поршнем при помощи шлица, благодаря чему и происходит передача вращательного движения на указанный шнек. Электродвигатель крепится к торцевой части полого вала.
В описании изобретения к патенту США №6108587, выданному на имя Шеарера (Shearer) и др., раскрывается система для инжекционного прессования, которая включает в свой состав соответствующий электродвигатель, который приводит шнек во вращательное движение, передаваемое на него через зубчатую передачу, а также соответствующий гидравлический цилиндр, поршень которого обеспечивает поступательное перемещение шнека.
В описании изобретения к патенту США №6478572, выданному на имя Шада (Schad) и др., раскрывается инжекционный узел, в котором предусматривается применение одного-единственного электродвигателя, который сообщает вращательное движение шнеку экструдера, а также обеспечивает зарядку гидравлического аккумулятора давления. Заряд, накапливаемый в этом аккумуляторе давления, используется для того, чтобы обеспечивать соответствующее перемещение шнека экструдера.
В описании изобретения к патенту США №6499989 раскрывается устройство, предназначенное для удаления дисков из пресс-формы. В различных вариантах осуществления этого изобретения, рассмотренных в данном описании, предусматривается применение полого электродвигателя, сообщающего вращательное движение валу выталкивателя пресс-формы, а также соответствующего линейного электродвигателя, обеспечивающего линейное перемещение указанного вала. При этом полый электродвигатель осуществляет привод вала во вращательное движение с помощью соответствующего редуктора, который обеспечивает возможность регулирования скорости вращения вала. В качестве альтернативного технического решения в описании изобретения к этому патенту указывается на возможность применения соответствующего пневматического или гидравлического цилиндра для линейного перемещения указанного вала. В вариантах осуществления данного изобретения, рассмотренных в данном описании, предусматривается располагать соответствующий исполнительный механизм, обеспечивающий линейное перемещение, снаружи относительно исполнительного механизма, осуществляющего вращение. По этой причине конструкция такого узла получается более громоздкой, а ее экономическая эффективность заметно снижается.
В описании изобретения к патенту США №6517336, выданному на имя Емото (Emoto) и др., а также в описании изобретения к европейскому патенту №0967064 А1, выданному на имя Емото (Emoto), раскрывается система для инжекционного прессования, имеющая полый электродвигатель, который сообщает вращательное движение валу шнека и в то же самое время обеспечивает поступательное перемещение этого вала благодаря наличию соединения его с соответствующим узлом, в состав которого входят винт с шариковой гайкой и шлицевая часть указанного вала. При помощи отдельного дозирующего электродвигателя производится проворачивание шнека с тем, чтобы обеспечить загрузку шнека синтетической смолой. Такое вращательное движение осуществляется при помощи соответствующего приводного устройства, имеющего ремень и шкивы, и которое способно проворачивать шнек независимо от ротора полого электродвигателя. Ротор полого электродвигателя крепится к шлицевой части вала шнека, обеспечивая тем самым вращение указанной шлицевой части, которая, в свою очередь, вращает при этом винт с шариковой гайкой, благодаря чему и обеспечивается перемещение вала в продольном направлении.
В описании изобретения к патенту США №6530774, выданному на имя Емото (Emoto), раскрывается система для инжекционного прессования, предусматривающая применение электродвигателя и соответствующего шестеренчатого блока для привода шнека во вращательное движение, а также наличие линейного электродвигателя с полым валом, обеспечивающего поступательное движение шнека в продольном направлении, происходящее благодаря передаче движения через шлицевую часть этого вала на ту его часть, где находится винт с шариковой гайкой.
В описании изобретения к заявке №2002/0168445 А1 на патент США, поданной Емото (Emoto) и др., раскрывается инжекционная система, в состав которой также входят дозирующий электродвигатель и соответствующий электродвигатель с полым валом, предназначенные для того, чтобы соответственно сообщать шнеку вращательное движение и обеспечивать перемещение шнека в продольном направлении.
В описании изобретения к заявке №1162053 на европейский патент, поданной Краусс-Маффеем (Krauss-Maffei) и опубликованной 12.12.2001, раскрывается система, состоящая из двух электродвигателей, в которой один из этих электродвигателей сообщает вращательное движение валу шнека, тогда как другой электродвигатель обеспечивает поступательное движение вала шнека. Для того чтобы эти электродвигатели имели возможность работать по отдельности или же вместе друг с другом предусматривается применение соответствующих переключающих устройств, выполненных в виде муфт.
В описании изобретения к японскому патенту №61266218, выданному на имя Сумитомо (Sumitomo) и опубликованному 25.11.1986, раскрывается инжекционная система, состоящая из двух электродвигателей, в которой предусматривается применение полых электродвигателей, шарикового приводного механизма и шлицевых валов.
Несмотря на то, что в приведенных здесь выше ссылках раскрывается множество разнообразных сочетаний различных электрических и гидравлических систем, приводящих шнек машины для инжекционного прессования в действие, тем не менее, в этих ссылках не рассматривается какая-либо такая система, которая сочетала бы в себе уникальные преимущества, обеспечиваемые полым электродвигателем с точки зрения более точной установки шнека в заданное положение при его регулировке, а также гидравлическим инжекционным узлом, позволяющим получить высокую инжекционную способность. Настоящее изобретение направлено на создание компактного инжекционного узла, который обладает уникальными преимуществами, обеспечиваемыми наличием как электрической, так и гидравлической приводных систем.
Раскрытие изобретения
Настоящее изобретение представляет собой принципиально новый приводной узел, предназначенный для сообщения валу поступательного и вращательного движения. В состав этого узла входят полый электродвигатель и, по меньшей мере, один гидравлический цилиндр, а также соответствующее устройство, предназначенное для соединения, по меньшей мере, некоторой части вала с ротором электродвигателя. В состав указанного соединительного устройства входит соответствующее средство, обеспечивающее возможность перемещения вала в продольном направлении. Гидравлический цилиндр также соединяется с указанным валом, благодаря чему этот вал, которому электродвигателем сообщается вращательное движение, может под воздействием гидравлического цилиндра перемещаться в продольном направлении.
Согласно одному из общих аспектов настоящего изобретения предложенный приводной узел представляет собой отдельную часть инжекционного узла машины для инжекционного прессования, снабженную полым электродвигателем, обеспечивающим вращательное движение инжекционного шнека, и гидравлическим цилиндром, поршень которого обеспечивает возвратно-поступательное движение этого шнека.
Более конкретно, настоящее изобретение представляет собой инжекционный узел машины для инжекционного прессования, причем в состав указанного инжекционного узла входят полый электродвигатель и гидравлический цилиндр, при этом первая цилиндрическая стенка указанного гидравлического цилиндра соединена с ротором полого электродвигателя, вторая цилиндрическая стенка указанного гидравлического цилиндра соединена с неподвижной частью полого электродвигателя, а поршень указанного гидравлического цилиндра установлен в нем с обеспечением возможности скользящего перемещения вдоль внутренних поверхностей указанных – первой и второй – цилиндрических стенок, первая торцевая часть поршня контактирует с указанной первой цилиндрической стенкой, а вторая торцевая часть поршня контактирует с указанной второй цилиндрической стенкой, предусматривается наличие соответствующего вращающегося устройства, крепящегося к указанному ротору и сообщающего вращательное движение указанному поршню, указанное вращающееся устройство обеспечивает возможность скользящего перемещения указанного поршня вдоль указанных цилиндрических стенок, при этом предусматривается наличие первого средства, выполненного в виде канала, предназначенного для подачи гидравлической жидкости таким образом, чтобы обеспечивать перемещение поршня в переднем направлении, и второго средства, выполненного в виде канала, предназначенного для подачи гидравлической жидкости таким образом, чтобы обеспечивать перемещение поршня в обратном направлении, а также предусматривается наличие инжекционного шнека, крепящегося к одному из торцов указанного поршня.
В предпочтительном варианте осуществления настоящего изобретения предложенный гидравлический узел располагается, по меньшей мере, частично внутри полого электродвигателя, благодаря чему обеспечивается получение более компактного узла, имеющего меньшие габаритные размеры.
Краткое описание чертежей
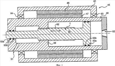
Фиг.1 – эскиз поперечного разреза базового приводного узла, выполненного в соответствии с настоящим изобретением.
Фиг.2 – вид сбоку в поперечном разрезе предпочтительного варианта исполнения приводного узла, предназначенного для применения его в машине для инжекционного прессования, где приводной узел показан в выдвинутом положении.
Фиг.2А – вид в поперечном разрезе головки поршня, применяемого в конструкции приводного узла, показанного на фиг.2.
Фиг.2В – частичный вид в разрезе, иллюстрирующий канал для подачи гидравлической жидкости к поршню приводного узла, показанного на фиг.2.
Фиг.2С – вид в поперечном разрезе для некоторой части поршня и шлицевой вставки.
Фиг.2D – вид в поперечном разрезе зубчатого ремня и кодирующего устройства.
Фиг.3 – вид сбоку в поперечном разрезе предпочтительного варианта исполнения приводного узла, предназначенного для применения его в машине для инжекционного прессования, где приводной узел показан во втянутом положении.
Фиг.4 – перспективный вид поршня и шлицевой вставки в предпочтительном варианте исполнения приводного узла.
Фиг.5 – эскиз поперечного разреза другого варианта осуществления настоящего изобретения.
Фиг.6А и 6В – виды в поперечном разрезе другого варианта осуществления настоящего изобретения, в котором приводной цилиндр окружает собой полый электродвигатель.
Фиг.7 – вид в поперечном разрезе еще одного варианта осуществления настоящего изобретения.
Фиг.7А – вид в разрезе по линии сечения 7А-7А варианта осуществления настоящего изобретения, показанного на фиг.7.
Осуществление изобретения
На фиг.1 настоящее изобретение иллюстрируется в простом варианте своего исполнения. Как показано на фиг.1, электродвигатель 45 с полым валом имеет корпус 61, статор 46 и ротор 47. Статор 46, как показано на этой фигуре, смонтирован на стенке корпуса 61. Ротор 47 жестко крепится на цилиндре 48. Указанный цилиндр 48 имеет шлицевую часть 49, выполненную на внутренней его поверхности. Возможно также применение соответствующей вставки, надеваемой на цилиндр 48 и заменяющей собой шлицевую часть 49. Указанная шлицевая часть 49 вводится в зацепление со шлицами 62 (на фигуре показан только один такой шлиц), выполненными на поршне 50. Соответствующий вал (на фигуре он не показан), выполненный за одно целое с поршнем 50 или же крепящийся к этому поршню, приводится с помощью электродвигателя 45 во вращательное движение за счет наличия соответствующей взаимосвязи между ротором 47 и поршнем 50.
Вал, крепящийся к поршню 50, перемещается в продольном направлении под воздействием давления жидкости на любую из обеих сторон головки поршня 50, к которым эта жидкость, находящаяся под давлением, подводится через отверстия 51 и 52, выполненные в стенке цилиндра 48. В тех случаях, когда предлагаемый приводной узел предполагается использовать в конструкции машины для инжекционного прессования, в качестве такой жидкости может применяться соответствующая жидкость для гидравлических механизмов либо графитовый раствор на водной основе. Поршень 50 перемещается со скольжением внутри шлицевой части 49 и совершает движение в своеобразных подшипниках, в качестве которых служат соответствующие износостойкие кольца 53а вместе с гидравлическими уплотнениями 53b. Весь узел в сборе, состоящий из ротора 47, цилиндра 48 и поршня 50, устанавливается с обеспечением возможности для него совершать вращательное движение, в подшипниках 63 и 64, обеспечивающих также фиксированное расположение этого узла в осевом направлении.
Несмотря на то что фиг.1 представляет собой всего лишь только элементарный эскиз, иллюстрирующий настоящее изобретение, специалисты в данной области техники будут способны вносить в него всякие незначительные изменения, необходимость в которых может возникать при конструировании приемлемого приводного узла в соответствии с настоящим изобретением. Например, вместо шлицевого вала может предусматриваться какое-либо другое устройство, допускающее перемещение вала со скольжением в продольном направлении при сохранении этим валом возможности совершать вращательное движение. В качестве такого устройства могла бы быть применена, в частности, одна-единственная шпонка, скользящая вдоль соответствующей шпоночной канавки.
Далее в нижеследующем описании предложенный приводной узел будет рассматриваться применительно к пластифицирующему шнеку, предназначенному для установки его в машине для инжекционного прессования. Настоящее изобретение пригодно, в частности, для использования его в такой системе, где существует необходимость в обеспечении вращательного движения шнека с тем, чтобы расплавить инжекционный материал, а также в перемещении шнека в продольном направлении со значительной движущей силой для того, чтобы осуществить инжекцию этого материала под давлением внутрь соответствующей пресс-формы.
Как показано на фиг.2 и 3, шнек 1 вставляется внутрь детали 2, имеющей цилиндрическую форму, и может совершать вращательное движение, а также перемещаться внутри нее в осевом направлении. Инжекционный материал, например такой как пластмассовые гранулы, подается к шнеку 1 через отверстие 4. Деталь 2 цилиндрической формы монтируется в корпусе 3 инжекционного узла и удерживается там на своем месте при помощи стопорной пластины 5 для указанной детали. Паз 6 предназначен для введения в него соответствующего инструмента, который удерживает шнек 1 на месте, в то время как поршень 23 вращают, чтобы, отвинтив поршень 23, разъединить его со шнеком 1 в том месте, где находится их резьбовое соединение 29. Упор 7 поршня предназначается для того, чтобы предотвратить возможное поворачивание указанного инструмента, когда поршень 23 вынимают из шнека 1, и определяет собой полностью выдвинутое положение поршня 23. Рассмотренная конструкция обеспечивает возможность снятия шнека 1 и его замены в случае возникновения такой необходимости.
Передняя часть поршня 23 находится в контакте с цилиндрической стенкой 18, опираясь при этом на поршневые кольца 45. Поршень 23 перемещается в осевом направлении вдоль стенки 18 по мере продвижения шнека 1 вперед и назад. Шлицевые канавки 17 при этом допускают проскальзывание внутри шлицевой вставки 15, обеспечивая тем самым возможность перемещения поршня 23 в продольном направлении.
Полый электродвигатель 30 обеспечивает вращательное движение поршня 23, а вместе с ним – и шнека 1, который крепится к поршню 23. Соединительная коробка 8 обеспечивает питание электродвигателя 30 через токоподводящий канал 9. Под воздействием тока, пропускаемого через статор 12, происходит вращение ротора 16. Предпочтительно, чтобы электродвигатель 30 имел ротор с постоянными магнитами; однако для вращения поршня 23 и шнека 1 может быть применен любой другой полый электродвигатель. Ротор 16 крепится к цилиндрической стенке 18 посредством горячепрессовой посадки. Возможно также применение любого другого способа для крепления ротора 16 к стенке 18, поскольку ротор 16 и стенка 18 совершают движение как один единый узел. Шлицевая вставка 15 подсоединяется к цилиндрической стенке 18 при помощи болтов 44. Шлицевая вставка 15 входит в зацепление с канавками 17 (лучше всего их видно на фиг.4), выполненными на наружной стенке поршня 23. Таким образом, при вращении ротора 16 цилиндрическая стенка 18 и поршень 23 также совершают вращательное движение, благодаря чему никакого относительного вращательного движения между цилиндрической стенкой 18 и поршнем 23 при этом не происходит.
Предусматривается наличие охлаждающих каналов 10, выполненных в корпусе 11 электродвигателя и обеспечивающих возможность охлаждения электродвигателя 30.
В головке 24 поршня, закрепленной на заднем торце поршня 23 при помощи болтов 31, выполнено некоторое множество отверстий 37 (см. фиг.2А и 4), служащих в качестве каналов, соединяющих полости 32 и 33 между собой. Такая конструкция позволяет обеспечить минимальную толщину поршня 23. Головка 24 поршня снабжена поршневыми кольцами 45а, на которых она вращается и скользит по цилиндрической стенке 22.
Гидравлическая жидкость, например такая как жидкость для гидравлических механизмов, подается в полости 32 и 33 по каналу 25 для гидравлической жидкости, выполненному в задней части 26 корпуса, проталкивая при этом поршень 23 и шнек 1 вперед, благодаря чему и происходит инжекция материала внутрь пресс-формы.
Поршень 23 и закрепленный на нем шнек 1 отходят назад под воздействием материала, накапливающегося в головной части шнека 1, и это обстоятельство хорошо известно специалистам в данной области техники. Во избежание образования пустот в расплавленном материале предлагается в полости 32 создавать сравнительно невысокое давление, воздействующее на поршень 23 с той его стороны, где находится отверстие цилиндра. Кроме того, предусматривается также наличие канавок 38 (см. фиг.2С), выполненных в шлицевой вставке 15 и предназначенных для обеспечения гидравлической связи между полостями 34 и 35.
Цилиндрическая стенка 18 совершает вращательное движение, опираясь на кольца 13 и 14 подшипников, благодаря чему облегчается вращательное движение данного узла и обеспечиваются минимальные потери на трение. Кольцо 13 роликового подшипника опирается на торцевую деталь 41, а кольцо 14 шарикового подшипника опирается на кольцо 89.
При помощи штифтов 27 обеспечивается соединение корпуса 11 электродвигателя с торцевой деталью 41 кольца 36 цилиндра. Штифты 27 исключают всякую возможность для торцевой детали 41 и кольца 36 цилиндра совершать какое-либо вращательное движение относительно статора 12 электродвигателя, которое могло бы происходить под воздействием ротационных давлений, возникающих при вращении ротора 16 и поршня 23.
При помощи штифтов 28 обеспечивается соединение задней части 26 корпуса с цилиндрической стенкой 22, исключая всякую возможность для цилиндрической стенки 22 совершать какое-либо вращательное движение при вращении головки 24 поршня. При этом вторая цилиндрическая стенка 22 имеет больший диаметр, чем первая цилиндрическая стенка 18.
Стыки цилиндрической стенки 22 с кольцом 36 цилиндра и с задней частью 26 корпуса герметизированы при помощи соответствующих уплотнений. Поскольку эти уплотнения подвергаются воздействию только лишь радиального напряжения, для них становится менее вероятным возникновение протечки через них или же их разрыв по сравнению с уплотнениями, которые подвергаются одновременному воздействию как радиальных, так и осевых напряжений.
Предусматривается наличие соединительных тяг 19, проходящих от задней части 26 корпуса к стопорной пластине 5, удерживающей деталь цилиндрической формы, и к корпусу 3, которые скрепляют приводной узел в одно единое целое.
Кроме того, предусматривается также наличие темпосонического стержня 20, который крепится к задней части 26 корпуса и проходит насквозь через соответствующее отверстие, выполненное в головке 24 поршня. Магнитный узел 21, установленный на головке 24 поршня, соответственно реагирует на поступательное перемещение головки 24 поршня, посылая при этом сигнал, проходящий через стержень 20, и указывая тем самым местонахождение головки 24 поршня и, следовательно, шнека 1 таким способом, который будет понятен специалистам в области инжекционного прессования.
Скорость вращения и положение шнека 1 определяются при помощи зубчатого ремня 39 и кодирующего устройства 40 таким способом, который будет понятен специалистам в области обеспечения управления различными механизмами при помощи серводвигателя.
В процессе эксплуатации в полости 32 создается повышенное давление за счет нагнетания в эту полость жидкости через отверстие 25. Под воздействием этого давления, поршень 23 и подсоединенный к нему инжекционный шнек 1 принудительно перемещаются вперед. При этом осуществляется инжекция пластмассы, находящейся перед шнеком 1, внутрь полости пресс-формы. По завершении инжекции в полости 32 кратковременно выдерживается пониженное давление. В результате происходит снижение давления в полости 32 и повышение давления в полости 33, в результате чего поршень 23 отводится назад на небольшое расстояние. При этом полый электродвигатель продолжает все время вращаться, сообщая тем самым вращательное движение поршню 23 и подсоединенному к нему шнеку 1, в результате чего происходит плавление пластмассовых гранул, подаваемых к шнеку через отверстие 4. На протяжении всего этого интервала времени может возникнуть необходимость в поддерживании сравнительно низкого давления в полости 32 для того, чтобы избежать возникновения пустот и образования пузырей внутри расплавленной пластмассы. Электродвигатель 30 прекращает свое вращение только тогда, когда шнек 1 отойдет назад в предварительно заданное свое положение. Шнек 1 может отводиться дополнительно еще немного назад с тем, чтобы снизилось давление, оказываемое им на расплавленную пластмассу. Как только шнек 1 будет полностью отведен назад, сразу же начинается следующий инжекционный цикл, при этом полностью весь процесс инжекции снова повторяется, и расплавленная пластмасса опять подается в полость пресс-формы.
На фиг.5 иллюстрируется схематически еще один вариант осуществления настоящего изобретения. В этом варианте осуществления изобретения ротор 54 жестко крепится к поршню 55 и имеет ширину, равную сумме длины хода поршня 55 и ширины статора 56. Головка 57 поршня совершает возвратно-поступательное движение внутри цилиндра 58.
Цилиндр 58 показан с одним-единственным впускным патрубком 159 для жидкости. Может предусматриваться наличие также второго впускного патрубка; однако в некоторых случаях практического применения такой второй впускной патрубок может и не потребоваться. Например, в случае для пластифицирующего шнека, предназначенного для применения в машине для инжекционного прессования, при соответствующем скоплении инжекционного пластического материала в зоне концевой части шнека может создаваться довольно значительное давление, воздействующее на шнек и стремящееся переместить поршень обратно в такое его положение, в котором производится инжекция.
Данный вариант осуществления настоящего изобретения имеет соответствующие преимущества, которые состоят в том, что весь электродвигатель в целом все время находится вне гидравлической части привода, а также в том, что отпадает необходимость в наличии шлицевого соединения вала, поскольку для поршня 55 обеспечивается свобода вращательного движения и поступательного перемещения в подшипниках 59 и 60.
Вариант осуществления настоящего изобретения, показанный на фиг.5, может быть дополнительно модифицирован еще и таким образом, чтобы статор 56 стал длиннее, а ротор 54 – короче. При этом такой приводной узел работал бы совершенно так же, как и рассмотренный выше вариант его конструкции, но в связи с уменьшением размера ротора 54 уменьшился бы вес поршня 55 и снизилась бы себестоимость электродвигателя.
В варианте осуществления настоящего изобретения, показанном на фиг.6А и 6В, цилиндр предлагаемого приводного узла охватывает собой полый электродвигатель. Неподвижный корпус 70 этого цилиндра опирается на не вращающийся поршень 71 и устанавливается на нем с помощью подшипников 72 и 73. Указанные подшипники 72 и 73 обеспечивают возможность перемещения поршня 71 в продольном направлении. Корпус 70 и поршень 71 вместе образуют поршневую камеру 74. Тороидальная торцевая поверхность 75 отходит от поршня 71 и представляет собой направляющую поверхность, которая обеспечивает возможность движения всего узла в продольном направлении. По окружности торцевой поверхности 75 поршня расположены поршневые кольца 88.
Статор 76 полого электродвигателя крепится к внутренней поверхности поршня 71, обеспечивая в процессе работы соответствующую взаимосвязь этого поршня с ротором 77 электродвигателя. При этом сам ротор 77 крепится к валу 78.
В данном варианте осуществления настоящего изобретения ротор 77 полого электродвигателя приводится во вращение, сообщая тем самым вращательное движение также и валу 78. При этом вал 78 опирается на подшипники 79 и вращается в них.
Под воздействием давления жидкости на любую из обеих сторон торцевой поверхности 75 поршня происходит перемещение всего этого узла в целом, состоящего из поршня 71, статора 76, ротора 77 и вала 78 в продольном направлении.
На фиг.6А вал 78 показан в отведенном назад своем положении. На фиг.6В этот вал 78 показан в выдвинутом своем положении.
Преимущество конструкции, которая показана на фиг.6А и 6В, заключается в том, что предлагаемый узел будет в данном случае иметь меньшую длину, но при этом потребуется обеспечить возможность перемещения в продольном направлении для соответственно большей части данного узла. Кроме того, в данном варианте осуществления настоящего изобретения также отпадает необходимость в применении шлицевого вала или же какого-нибудь другого аналогичного устройства.
На фиг.7 и 7А показана такая модификация рассматриваемого варианта исполнения, представленного на рис.6А и 6В, в которой вместо одного-единственного тороидального поршня предусматривается применение двух отдельных поршней. В таком варианте осуществления настоящего изобретения поршни крепятся неподвижно, а поступательное перемещение совершает при этом сам цилиндр.
Как показано на фиг.7, вал 80 опирается на подшипники 81 и 82 и вращается в них. Обмотка 83 статора жестко крепится к корпусу 84. Внутри корпуса 84 находятся также поршни 85 и 86, размещенные соответственно в цилиндрах 187 и 188. При этом предусматривается наличие соответствующих гидравлических связей (не показаны) с цилиндрами 187 и 188, под воздействием которых обеспечивается соответствующее перемещение поршней 85 и 86 таким способом, который хорошо понятен специалистам в данной области техники. Ротор 87 полого электродвигателя жестко крепится к валу 80.
В процессе работы при подаче тока в статор 83 происходит вращение ротора 87, в результате чего приводится во вращательное движение вал 80. При подаче рабочей жидкости, находящейся под давлением, к поршням 85 и 86 происходит принудительное перемещение корпуса 85 в продольном направлении. При таком перемещении корпуса 84, происходящем в продольном направлении, происходит также принудительное перемещение статора 83, ротора 87 и вала 80 в продольном направлении.
Вариант осуществления настоящего изобретения, показанный на фиг.7, является достаточно компактным и не требует применения одного-единственного, но имеющего сравнительно большие размеры тороидального цилиндра либо соответствующего привода шпинделя. Однако в этом варианте исполнения данной конструкции необходимо будет обеспечить также и возможность перемещения в продольном направлении целиком для всего узла корпуса в сборе, в состав которого входят также полый электродвигатель и цилиндры.
Выбор соответствующего варианта осуществления настоящего изобретения будет в каждом отдельном случае определяться исходя соответственно из тех требований, которые предстоит удовлетворить в данном конкретном применении. Например, если существуют какие-либо ограничения по длине, можно будет тогда остановить свой выбор на таком варианте осуществления настоящего изобретения, который показан на фиг.6А и 6В либо на фиг.7, тогда как в тех случаях, когда в качестве основного требования принимается обеспечение минимально возможного веса вала, наилучшие результаты могут быть получены при применении совсем других вариантов осуществления настоящего изобретения.
Специалистам в данной области техники следует понимать, что настоящее изобретение не ограничивается исключительно только лишь теми примерами практического его осуществления, которые рассмотрены в приведенном здесь выше описании изобретения с целью проиллюстрировать наилучшие варианты осуществления настоящего изобретения, в которые могут быть внесены различные изменения и дополнения, касающиеся формы, размерных характеристик и взаимного расположения отдельных деталей конструкции, а также различных подробностей, определяющих принцип действия предлагаемого устройства. При этом предполагается, что настоящее изобретение охватывает собой все такие изменения и дополнения при условии, что они не выходят за пределы существа и объема изобретения, определяемого прилагаемой ниже формулой изобретения.
Формула изобретения
1. Инжекционный узел машины для прессования, причем в состав упомянутого инжекционного узла входят:
полый электродвигатель (30), имеющий ротор (16) и неподвижную часть,
гидравлический цилиндр, имеющий первую цилиндрическую стенку (18), соединенную с ротором (16) полого электродвигателя (30), и вторую цилиндрическую стенку (22), соединенную с неподвижной частью полого электродвигателя (30),
поршень (23), установленный с возможностью скользящего перемещения вдоль внутренних поверхностей первой цилиндрической стенки (18) и второй цилиндрической стенки (22), причем поршень (23) имеет первую торцевую часть, которая контактирует с первой цилиндрической стенкой (18), и вторую торцевую часть поршня (23), которая контактирует со второй цилиндрической стенкой (22),
множество шлицев (17) вдоль центральной части поршня (23),
шлицевая вставка (15), причем вставка (15) жестко соединяется с ротором (16) и находится в зацеплении с множеством шлицов (17),
первое средство (25), выполненное в виде канала, предназначенного для подачи гидравлической жидкости таким образом, чтобы обеспечивать перемещение поршня (23) в переднем направлении,
средство, предназначенное для крепления инжекционного шнека (29) к упомянутому поршню (23),
при этом поршень (23) перемещается со скольжением в продольном направлении вдоль шлицевой вставки (15) под гидравлическим воздействием и совершает вращательное движение под воздействием шлицев (17) при включении в действие полого электродвигателя (30), обеспечивающего вращательное движение ротора (16).
2. Узел по п.1, отличающийся тем, что вторая цилиндрическая стенка (22) имеет больший диаметр, чем первая цилиндрическая стенка (18).
3. Узел по п.1, отличающийся тем, что дополнительно содержит устройство, предназначенное для определения положения поршня (23) по углу поворота, а также скорости его вращения.
4. Узел по п.1, отличающийся тем, что дополнительно содержит устройство, предназначенное для определения положения поршня (23) по углу поворота, а также скорости его вращения, при этом в состав устройства входят:
зубчатый ремень (39) и кодирующее устройство (40).
5. Узел по п.1, отличающийся тем, что дополнительно содержит темпосонический стержень (20), который крепится к задней части (26) корпуса и предназначается для определения положения упомянутого поршня (23) в продольном направлении внутри гидравлического цилиндра.
6. Узел по п.1, отличающийся тем, что дополнительно содержит крепежное средство (28), выполненное в виде штифтов, между упомянутой второй цилиндрической стенкой (22) и задней частью (26) корпуса упомянутого гидравлического цилиндра, причем упомянутое крепежное средство (28), выполненное в виде штифтов, предотвращает какое-либо вращательное движение упомянутой второй цилиндрической стенки (22) относительно упомянутой задней части (26) корпуса.
7. Узел по п.1, отличающийся тем, что дополнительно содержит крепежное средство (27), выполненное в виде штифтов, между корпусной деталью полого электродвигателя (30) и кольцом цилиндра, на которое опирается упомянутая корпусная деталь, исключая тем самым возможность для статора (12) совершать вращательное движение относительно упомянутого кольца цилиндра, при этом статор (12) входит в состав полого электродвигателя (30).
8. Узел по п.1, отличающийся тем, что упомянутый ротор (16) крепится к упомянутой первой цилиндрической стенке (18).
9. Узел по п.1, отличающийся тем, что упомянутая первая цилиндрическая стенка (18) совершает вращательное движение на роликовых (13) подшипниках и шариковых (14) подшипниках.
10. Узел по п.1, отличающийся тем, что упомянутый поршень (23) дополнительно содержит головку (24) поршня.
11. Узел по п.10, отличающийся тем, что упомянутый поршень (23) выполнен полым и включает головку (24) поршня, а в упомянутой головке (24) поршня выполнено проходное отверстие (37), служащее в качестве канала, ведущего из первой полости (32) во вторую полость (33).
12. Узел по п.1, отличающийся тем, что в упомянутой шлицевой вставке (15) дополнительно выполнен паз, служащий в качестве канала, ведущего из третьей полости (34) в четвертую полость (35).
13. Инжекционный узел машины для инжекционного прессования, причем в состав упомянутого инжекционного узла входят:
полый электродвигатель (30) и
гидравлический цилиндр, причем первая цилиндрическая стенка (18) гидравлического цилиндра соединена с ротором (16) упомянутого полого электродвигателя (30), а вторая цилиндрическая стенка (22) упомянутого гидравлического цилиндра соединена с неподвижной частью упомянутого полого электродвигателя (30),
поршень (23) указанного гидравлического цилиндра, установленный в нем с обеспечением возможности скользящего перемещения вдоль внутренних поверхностей первой цилиндрической стенки (18) и второй цилиндрической стенки (22), причем первая торцевая часть упомянутого поршня (23) контактирует с первой цилиндрической стенкой (18), а вторая торцевая часть поршня (23) контактирует со второй цилиндрической стенкой (22),
вращающееся устройство, крепящееся к ротору (16) и сообщающее вращательное движение поршню (23), причем вращающееся устройство обеспечивает возможность скользящего перемещения поршня (23) вдоль первой цилиндрической стенки (18) и второй цилиндрической стенки (22), первое средство (25), выполненное в виде канала, предназначенного для подачи гидравлической жидкости таким образом, чтобы обеспечивать перемещение поршня (23) в переднем направлении, и
второе средство, выполненное в виде канала, предназначенного для подачи гидравлической жидкости таким образом, чтобы обеспечивать перемещение поршня (23) в обратном направлении, а также средство, предназначенное для крепления инжекционного шнека (29) к поршню (23),
отличающийся тем, что поршень (23) перемещается со скольжением в продольном направлении вдоль первой цилиндрической стенки (18) и второй цилиндрической стенки (22) под гидравлическим воздействием и совершает вращательное движение под воздействием вращающегося устройства, когда включается в действие упомянутый электродвигатель (30), обеспечивающий вращательное движение ротора (16).
14. Узел по п.13, отличающийся тем, что в состав вращающегося устройства входит первая цилиндрическая стенка (18).
15. Узел по п.13, отличающийся тем, что вторая цилиндрическая стенка (22) имеет больший диаметр, чем первая цилиндрическая стенка (18).
16. Узел по п.13, отличающийся тем, что дополнительно содержит устройство, предназначенное для определения положения упомянутого поршня (23) по углу поворота, а также скорости его вращения.
17. Узел по п.13, отличающийся тем, что дополнительно содержит устройство, предназначенное для определения положения поршня (23) по углу поворота, а также скорости его вращения, при этом в состав устройства входят зубчатый ремень (39) и кодирующее устройство (40).
18. Узел по п.13, отличающийся тем, что дополнительно содержит темпосонический стержень (20), который крепится к задней части (26) корпуса и предназначается для определения положения поршня (23) в продольном направлении внутри цилиндра.
19. Узел по п.13, отличающийся тем, что дополнительно содержит крепежное средство (28), выполненное в виде штифтов, между второй цилиндрической стенкой (22) и задней частью (26) корпуса гидравлического цилиндра, причем крепежное средство (28), выполненное в виде штифтов, предотвращает вращательное движение второй цилиндрической стенки (22) относительно задней части (26) корпуса.
20. Узел по п.13, отличающийся тем, что дополнительно содержит крепежное средство (27), выполненное в виде штифтов, между корпусной деталью полого электродвигателя (30) и кольцом цилиндра, на которое опирается корпусная деталь, исключая тем самым возможность для статора (12) совершать вращательное движение относительно кольца цилиндра, при этом статор (12) входит в состав полого электродвигателя (30).
21. Узел по п.13, отличающийся тем, что ротор (16) крепится к первой цилиндрической стенке (18).
22. Узел по п.13, отличающийся тем, что первая цилиндрическая стенка (18) совершает вращательное движение на роликовых (13) подшипниках и шариковых (14) подшипниках.
23. Узел по п.13, отличающийся тем, что упомянутый поршень (23) дополнительно содержит головку (24) поршня.
24. Узел по п.23, отличающийся тем, что упомянутый поршень (23) выполнен полым, а в упомянутой головке (24) поршня выполнено проходное отверстие (37), служащее в качестве канала, ведущего из первой полости (32) во вторую полость (33).
25. Узел машины для инжекционного прессования, причем в состав инжекционного узла входят:
полый электродвигатель (30) и
гидравлический цилиндр, причем первая цилиндрическая стенка (18) соединена с ротором (16) полого электродвигателя (30), а вторая цилиндрическая стенка (22) соединена с неподвижной частью полого электродвигателя (30),
поршень (23) гидравлического цилиндра, установленный в нем с обеспечением возможности скользящего перемещения вдоль внутренних поверхностей первой цилиндрической стенки (18) и второй цилиндрической стенки (22), причем первая торцевая часть поршня (23) контактирует с первой цилиндрической стенкой (18), а вторая торцевая часть поршня (23) контактирует с упомянутой второй цилиндрической стенкой (22),
вращающееся устройство, крепящееся к упомянутому ротору (16) и сообщающее вращательное движение упомянутому поршню (23), причем упомянутое вращающееся устройство обеспечивает возможность скользящего перемещения упомянутого поршня (23) вдоль первой цилиндрической стенки (18) и второй цилиндрической стенки (22), средство, предназначенное для подачи гидравлической жидкости таким образом, чтобы обеспечивать перемещение поршня (23) вдоль первой цилиндрической стенки (18) и второй цилиндрической стенки (22), а также средство, предназначенное для крепления инжекционного шнека к поршню (23),
отличающийся тем, что поршень (23) перемещается со скольжением в продольном направлении вдоль упомянутых первой цилиндрической стенки (18) и второй цилиндрической стенки (22) под гидравлическим воздействием и совершает вращательное движение под воздействием вращающегося устройства, когда включается в действие полый электродвигатель (30), обеспечивающий вращательное движение ротора (16).
26. Узел по п.25, отличающийся тем, что в состав упомянутого вращающегося устройства входит шлицевая вставка (15), находящаяся в зацеплении со шлицами (17), выполненными на упомянутом поршне (23).
27. Узел по п.25, отличающийся тем, что в состав вращающегося устройства входит первая цилиндрическая стенка (18).
28. Узел по п.25, отличающийся тем, что вторая цилиндрическая стенка (22) имеет больший диаметр, чем первая цилиндрическая стенка (18).
29. Узел по п.25, отличающийся тем, что дополнительно содержит устройство, предназначенное для определения положения поршня (23) по углу поворота, а также скорости его вращения.
30. Узел по п.25, отличающийся тем, что дополнительно содержит устройство, предназначенное для определения положения поршня (23) по углу поворота, а также скорости его вращения, при этом в состав устройства входят зубчатый ремень (39) и кодирующее устройство (40).
31. Узел по п.25, отличающийся тем, что дополнительно содержит темпосонический стержень (20), который крепится к поршню и предназначается для определения положения поршня (23) в продольном направлении внутри цилиндра.
32. Узел по п.25, отличающийся тем, что дополнительно содержит крепежное средство (28), выполненное в виде штифтов, соединяющих между собой вторую цилиндрическую стенку (22) и заднюю часть (26) корпуса гидравлического цилиндра, причем крепежное средство (28), выполненное в виде штифтов, предотвращает какое-либо вращательное движение упомянутой второй цилиндрической стенки (22) относительно упомянутой задней части (26) корпуса.
33. Узел по п.25, отличающийся тем, что дополнительно содержит соответствующие крепежные средства (27), выполненные в виде штифтов, соединяющих между собой корпусную деталь полого электродвигателя (30) и кольцо цилиндра, на которое опирается упомянутая корпусная деталь, исключая тем самым всякую возможность для статора (12) совершать какое-либо вращательное движение относительно кольца цилиндра, при этом статор (12) входит в состав полого электродвигателя (30).
34. Узел по п.25, отличающийся тем, что ротор (16) жестко крепится к первой цилиндрической стенке (18).
35. Узел по п.25, отличающийся тем, что первая цилиндрическая стенка (18) совершает вращательное движение на роликовых (13) подшипниках и шариковых (14) подшипниках.
36. Узел по п.25, отличающийся тем, что поршень (23) содержит головку (24) поршня.
37. Узел по п.36, отличающийся тем, что поршень (23) выполнен полым, а в головке (24) поршня выполнено проходное отверстие (37), служащее в качестве канала, ведущего из первой полости (32) во вторую полость (33).
38. Узел по п.26, отличающийся тем, что в шлицевой вставке (15) выполнен паз, служащий в качестве канала, ведущего из третьей полости (34) в четвертую полость (35).
39. Инжекционный узел машины для инжекционного прессования, причем в состав инжекционного узла входят:
полый электродвигатель (30) и
гидравлический цилиндр, причем первая цилиндрическая стенка (18) гидравлического цилиндра соединена с ротором (16) полого электродвигателя (30), вторая цилиндрическая стенка (22) гидравлического цилиндра соединена с неподвижной частью полого электродвигателя (30), поршень (23) гидравлического цилиндра, установленный в нем с обеспечением возможности перемещения вдоль внутренних поверхностей первой цилиндрической стенки (18) и второй цилиндрической стенки (22), причем первая торцевая часть поршня (23) контактирует с внутренней поверхностью первой цилиндрической стенки (18), а вторая торцевая часть поршня (23) контактирует с внутренней поверхностью второй цилиндрической стенки (23),
вращающееся устройство, крепящееся к ротору (16) и сообщающее вращательное движение поршню (23), причем вращающееся устройство обеспечивает возможность перемещения поршня (23) вдоль первой цилиндрической стенки (18) и второй цилиндрической стенки (22), а также средство, предназначенное для подачи гидравлической жидкости таким образом, чтобы обеспечивать перемещение поршня (23) вдоль внутренних поверхностей, и
средство, предназначенное для крепления инжекционного шнека (29) к поршню (23),
отличающийся тем, что поршень (23) перемещается в продольном направлении первой цилиндрической стенки (18) и второй цилиндрической стенки (22) под гидравлическим воздействием и совершает вращательное движение под воздействием вращающегося устройства, когда включается в действие полый электродвигатель (30), обеспечивающий вращательное движение ротора (16).
40. Узел по п.39, отличающийся тем, что в состав вращающегося устройства входит шлицевая вставка (15), находящаяся в зацеплении со шлицами (17), выполненными на поршне (23).
41. Узел по п.39, отличающийся тем, что в состав вращающегося устройства входит первая цилиндрическая стенка (18).
42. Узел по п.39, отличающийся тем, что вторая цилиндрическая стенка (22) имеет больший диаметр, чем первая цилиндрическая стенка (18).
43. Узел по п.39, отличающийся тем, что дополнительно содержит чувствительное устройство, предназначенное для определения положения поршня (23) по углу поворота, а также скорости его вращения.
44. Узел по п.39, отличающийся тем, что дополнительно содержит устройство, предназначенное для определения положения поршня (23) по углу поворота, а также скорости его вращения, при этом в состав чувствительного устройства входят зубчатый ремень (39) и кодирующее устройство (40).
45. Узел по п.39, отличающийся тем, что дополнительно содержит темпосонический стержень (20), который крепится к задней части (26) корпуса и предназначается для определения положения поршня (23) в продольном направлении внутри гидравлического цилиндра.
46. Узел по п.39, отличающийся тем, что дополнительно содержит соответствующее крепежное средство (28), выполненное в виде штифтов, соединяющих между собой вторую цилиндрическую стенку (22) и заднюю часть (26) корпуса гидравлического цилиндра, причем крепежное средство (28), выполненное в виде штифтов, предотвращает какое-либо вращательное движение второй цилиндрической стенки (22) относительно задней части (26) корпуса.
47. Узел по п.39, отличающийся тем, что дополнительно содержит крепежное средство (27), выполненные в виде штифтов, соединяющих между собой корпусную деталь полого электродвигателя (30) и кольцо цилиндра, на которое опирается корпусная деталь, исключая тем самым возможность для статора (12) совершать какое-либо вращательное движение относительно кольца цилиндра, при этом статор (12) входит в состав полого электродвигателя.
48. Узел по п.39, отличающийся тем, что ротор (16) крепится к первой цилиндрической стенке (18).
49. Узел по п.39, отличающийся тем, что первая цилиндрическая стенка (18) совершает вращательное движение на роликовых (13) подшипниках и шариковых (14) подшипниках.
50. Узел по п.39, отличающийся тем, что поршень (23) дополнительно содержит головку (24) поршня.
51. Узел по п.50, отличающийся тем, что поршень (23) выполнен полым, а в головке (24) поршня выполнено проходное отверстие (37), служащее в качестве канала, ведущего из первой полости (32) во вторую полость (33).
52. Приводной узел, предназначенный для сообщения валу поступательного и вращательного движения в машине для инжекционного прессования, причем приводной узел содержит:
полый электродвигатель (45),
гидравлический цилиндр (48),
соответствующее устройство, предназначенное для соединения, по меньшей мере, некоторой части вала с ротором (47) полого электродвигателя (45),
средство, обеспечивающее возможность перемещения вала в продольном направлении, выполненное на внутренней поверхности гидравлического цилиндра (48), и
устройство, предназначенное для соединения гидравлического цилиндра (48) с упомянутым валом,
отличающийся тем, что вал может совершать вращательное движение под воздействием полого электродвигателя (45) и перемещаться в продольном направлении под воздействием гидравлического цилиндра (48), при этом в состав средства, обеспечивающего возможность перемещения вала в продольном направлении, входят шлицевая вставка (15), установленная на стенке цилиндра, и шлицы (17), выполненные на валу.
53. Узел по п.52, отличающийся тем, что внутри гидравлического цилиндра (48) находится поршень (50), крепящийся к концу вала.
54. Узел по п.52, отличающийся тем, что ротор полого электродвигателя (45) жестко крепится к наружной стенке гидравлического цилиндра (48).
55. Узел по п.52, отличающийся тем, что шлицевая вставка (15), установленная на внутренней стенке гидравлического цилиндра (48), находится в промежуточном положении между концами гидравлического цилиндра (48).
56. Узел по п.52, отличающийся тем, что в состав полого электродвигателя (45) входит статор (46), а ширина упомянутого ротора существенно больше, чем ширина упомянутого статора (46).
57. Приводной узел по п.52, отличающийся тем, что полый электродвигатель (45) включает статор (46), при этом ширина ротора, по существу, равна сумме ширины статора (46) и хода поршня (50) гидравлического цилиндра (48).
58. Узел по п.56, отличающийся тем, что ротор жестко крепится к поршню (50) и перемещается в продольном направлении вместе с поршнем (50).
59. Узел по п.52, отличающийся тем, что в состав полого электродвигателя (45) входит статор (12), причем ширина статора (12) существенно больше, чем ширина ротора (16).
60. Узел по п.52, отличающийся тем, что полый электродвигатель (45) включает статор (12), причем ширина статора (12), по существу, равна сумме ширины ротора (16) и хода поршня (23) гидравлического цилиндра (18).
61. Узел по п.57, отличающийся тем, что ротор (16) жестко крепится к поршню (23) и перемещается в продольном направлении вместе с поршнем (23).
62. Узел по п.52, отличающийся тем, что гидравлический цилиндр (48) совершает вращательное движение на роликовых (13) подшипниках и шариковых (14) подшипниках, установленных в неподвижном корпусе электродвигателя.
63. Узел по п.62, отличающийся тем, что внутри гидравлического цилиндра (48) находится поршень (23), причем гидравлический цилиндр (48), поршень (23) и ротор совершают вращательное движение все вместе, как один единый узел, а поршень (23) еще перемещается в продольном направлении внутри гидравлического цилиндра (48).
64. Узел по п.62, отличающийся тем, что в состав полого электродвигателя (45) входит статор (12), причем ширина статора (12) существенно больше, чем ширина ротора (16).
65. Узел по п.62, отличающийся тем, что полый электродвигатель (45) включает статор (12), при этом ширина статора (12), по существу, равна сумме ширины ротора (16) и хода поршня (23) гидравлического цилиндра (48).
66. Узел по п.52, отличающийся тем, что в состав упомянутого узла входит также корпус (36) электродвигателя, причем вторая цилиндрическая стенка (22) крепится к наружной стенке упомянутого корпуса (36) электродвигателя.
67. Узел по п.66, отличающийся тем, что в состав полого электродвигателя (45) входит статор (12), причем ширина ротора (16) существенно больше, чем ширина статора (12).
68. Узел по п.66, отличающийся тем, что полый электродвигатель (45) включает статор (12), при этом ширина ротора (16), по существу, равна сумме ширины статора (12) и хода поршня (23) гидравлического цилиндра (48).
69. Узел по п.68, отличающийся тем, что ротор (16) жестко крепится к поршню (23) и перемещается в продольном направлении вместе с поршнем (23).
70. Узел по п.52, отличающийся тем, что гидравлический цилиндр (48) фактически представляет собой некоторое множество цилиндров.
71. Узел по п.70, отличающийся тем, что вал совершает вращательное движение на роликовых (13) подшипниках и шариковых (14) подшипниках, установленных в корпусе электродвигателя.
72. Узел по п.70, отличающийся тем, что в состав упомянутого узла входит корпус, а первая цилиндрическая стенка (18) и вторая цилиндрическая стенка (22) гидравлического цилиндра (48) располагаются вдоль периферийной стенки корпуса.
73. Узел по п.70, отличающийся тем, что ротор жестко крепится к валу и перемещается в продольном направлении вместе с упомянутым валом.
74. Узел по п.52, отличающийся тем, что гидравлический цилиндр (48) фактически представляет собой два цилиндра.
75. Узел по п.74, отличающийся тем, что вал совершает вращательное движение на роликовых (13) подшипниках и шариковых (14) подшипниках, установленных в корпусе электродвигателя.
76. Узел по п.74, отличающийся тем, что в состав упомянутого узла входит корпус, при этом первая цилиндрическая стенка (18) и вторая цилиндрическая стенка (22) гидравлического цилиндра (48) располагаются вдоль периферийной стенки корпуса.
77. Узел по п.74, отличающийся тем, что ротор (16) жестко крепится к валу и перемещается в продольном направлении вместе с валом.
78. Приводной узел, предназначенный для сообщения валу поступательного и вращательного движения в машине для инжекционного прессования, причем упомянутый приводной узел содержит:
полый электродвигатель (45),
гидравлический цилиндр (48),
устройство, предназначенное для соединения части упомянутого вала с ротором полого электродвигателя (45), причем в состав упомянутого соединительного устройства входит:
средство, обеспечивающее возможность перемещения вала в продольном направлении, выполненное на внутренней поверхности гидравлического цилиндра (48), и соответствующее устройство, предназначенное для соединения гидравлического цилиндра (48) с упомянутым валом,
отличающийся тем, что вал может совершать вращательное движение под воздействием полого электродвигателя (45) и перемещаться в продольном направлении под воздействием гидравлического цилиндра (48), при этом в состав соединительного устройства входят шлицевая вставка (15), установленная на стенке цилиндра (48), и шлицы (17), выполненные на валу.
79. Узел по п.78, отличающийся тем, что внутри гидравлического цилиндра (48) находится поршень (50), крепящийся к концу вала.
80. Узел по п.79, отличающийся тем, что ротор полого электродвигателя (45) жестко крепится к наружной стенке гидравлического цилиндра (48).
81. Узел по п.78, отличающийся тем, что шлицевая вставка (15), установленная на внутренней стенке гидравлического цилиндра (48), находится в промежуточном положении между концами гидравлического цилиндра (48).
82. Узел по п.78, отличающийся тем, что в состав полого электродвигателя (45) входит статор (46), а ширина ротора существенно больше, чем ширина упомянутого статора (46).
83. Приводной узел по п.78, отличающийся тем, что полый электродвигатель (45) содержит ротор, при этом ширина ротора, по существу, равна сумме ширины статора (46) и хода поршня (50) гидравлического цилиндра (48).
84. Узел по п.78, отличающийся тем, что в состав полого электродвигателя (45) входит статор (12), причем ширина статора (12) существенно больше, чем ширина ротора (16).
85. Узел по п.78, отличающийся тем, что полый электродвигатель (45) включает статор (12), при этом ширина статора (12), по существу, равна сумме ширины упомянутого ротора (16) и хода поршня (23) гидравлического цилиндра (48).
86. Узел по п.84, отличающийся тем, что ротор жестко крепится к упомянутому поршню (23) и перемещается в продольном направлении вместе с упомянутым поршнем (23).
87. Узел по п.78, отличающийся тем, что гидравлический цилиндр (48) совершает вращательное движение на роликовых (13) подшипниках и шариковых (14) подшипниках, установленных в неподвижном корпусе электродвигателя.
88. Узел по п.87, отличающийся тем, что внутри гидравлического цилиндра (48) находится поршень (23), причем гидравлический цилиндр (48), поршень (23) и ротор совершают вращательное движение все вместе, как один единый узел, а упомянутый поршень (23) еще перемещается в продольном направлении внутри гидравлического цилиндра (48).
89. Узел по п.87, отличающийся тем, что в состав полого электродвигателя (45) входит статор (46), причем ширина статора (46) существенно больше, чем ширина ротора.
90. Узел по п.87, отличающийся тем, что полый электродвигатель (45) содержит статор (46), при этом ширина статора (46), по существу, равна сумме ширины ротора и хода поршня (23) гидравлического цилиндра (48).
91. Приводной узел, предназначенный для сообщения валу поступательного и вращательного движения в машине для инжекционного прессования, причем упомянутый приводной узел содержит:
полый электродвигатель (45),
гидравлический цилиндр (48), охватывающий собой упомянутый полый электродвигатель (45),
устройство, предназначенное для соединения части вала с ротором полого электродвигателя (45), причем в состав соединительного устройства входит соответствующее средство, обеспечивающее возможность перемещения упомянутого вала в продольном направлении, и
устройство, предназначенное для соединения гидравлического цилиндра (48) с валом,
отличающийся тем, что вал может совершать вращательное движение под воздействием полого электродвигателя (45) и перемещаться в продольном направлении под воздействием гидравлического цилиндра (48).
92. Приводной узел, предназначенный для сообщения валу поступательного и вращательного движения в машине для инжекционного прессования, причем упомянутый приводной узел содержит:
полый электродвигатель (45),
гидравлический цилиндр (48),
устройство, предназначенное для соединения части вала с ротором полого электродвигателя (45), причем ротор охватывает собой гидравлический цилиндр (48), при этом в состав соединительного устройства входит средство, обеспечивающее возможность перемещения вала в продольном направлении, выполненное на внутренней поверхности гидравлического цилиндра(48), и
устройство, предназначенное для соединения гидравлического цилиндра (48) с валом,
отличающийся тем, что упомянутый вал может совершать вращательное движение под воздействием полого электродвигателя (45) и перемещаться в продольном направлении под воздействием гидравлического цилиндра (48).
93. Узел по п.92, отличающийся тем, что в состав соединительного устройства входят шлицевая вставка (15), установленная на стенке гидравлического цилиндра (48), и шлицы (17), выполненные на валу.
94. Узел по п.92, отличающийся тем, что внутри гидравлического цилиндра (48) находится поршень (50), крепящийся к концу вала.
95. Узел по п.92, отличающийся тем, что ротор полого электродвигателя (45) жестко крепится к наружной стенке гидравлического цилиндра (48).
96. Узел по п.93, отличающийся тем, что шлицевая вставка (15), установленная на внутренней стенке гидравлического цилиндра (48), находится в промежуточном положении между концами гидравлического цилиндра (48).
97. Узел по п.92, отличающийся тем, что гидравлический цилиндр (48) совершает вращательное движение на роликовых (13) подшипниках и шариковых (14) подшипниках, установленных в неподвижном корпусе электродвигателя.
98. Узел по п.92, отличающийся тем, что внутри гидравлического цилиндра (48) находится поршень (23), причем гидравлический цилиндр (48), поршень (23) и ротор совершают вращательное движение все вместе, как один единый узел, а поршень (23) еще перемещается в продольном направлении внутри гидравлического цилиндра (48).
99. Узел по п.92, отличающийся тем, что в состав полого электродвигателя (45) входит статор (46), причем ширина упомянутого статора (46) существенно больше, чем ширина ротора.
100. Узел по п.92, отличающийся тем, что полый электродвигатель (45) включает статор (46), при этом ширина упомянутого статора (46), по существу, равна сумме ширины упомянутого ротора и хода поршня (23) гидравлического цилиндра (48).
101. Узел по одному из пп.1-9, 13-22, 25-35, 39-49, 56-61, 66-69, 70-77, 78, 82-87, отличающийся тем, что цилиндр, по меньшей мере, частично располагается в пределах пространства, обозначенного границами упомянутого полого электродвигателя.
102. Узел по одному из пп.1, 13, 25, 39, отличающийся тем, что дополнительно включает в свой состав:
деталь, имеющую цилиндрическую форму и смонтированную на упомянутом инжекционном узле, а также шнек (1), соединенный с поршнем (23) при помощи средства, предназначенного для крепления инжекционного шнека (29).
РИСУНКИ
|
|