|
(21), (22) Заявка: 2007105758/03, 15.02.2007
(24) Дата начала отсчета срока действия патента:
15.02.2007
(46) Опубликовано: 10.10.2008
(56) Список документов, цитированных в отчете о поиске:
SU 1604472 А1, 07.11.1990. SU 1066641 А, 15.01.1984. US 3578251 А, 11.05.1971. GB 1218218 А, 06.01.1971. DE 19933995 А1, 01.03.2001.
Адрес для переписки:
644043, г.Омск, ул. Волочаевская, 15, корп.1, кв.84, И.Ф.Шлегелю
|
(72) Автор(ы):
Шлегель Игорь Феликсович (RU)
(73) Патентообладатель(и):
Шлегель Игорь Феликсович (RU)
|
(54) УСТРОЙСТВО ПОДГОТОВКИ ПРЕСС-ПОРОШКА
(57) Реферат:
Изобретение относится к области строительства, а именно к устройствам для приготовления пресс-порошка. Изобретение повышает надежность и долговечность устройства. Устройство содержит установленный на опорах с возможностью вращения и наклоненный в сторону разгрузочных отверстий цилиндрический барабан с мелющими стержнями, загрузочное устройство, привод и механизм продольного перемещения мелющих стержней. Механизм продольного перемещения мелющих стержней выполнен в виде соосно с зазором смонтированного на внутренней стороне торцовой крышки упорного диска, установленного с возможностью вращения и снабженного механизмом изменения угла наклона, причем разница между внутренним радиусом барабана и радиусом упорного диска меньше диаметра мелющего стержня. 9 з.п. ф-лы, 5 ил.
Область техники, к которой относится изобретение
Изобретение относится к промышленности строительных материалов, а именно к глиноперерабатывающему оборудованию для производства кирпича, и предназначено для смешивания материалов с различными добавками, измельчения и грануляции пресс-порошка. Изобретение также может быть использовано в литейном производстве для приготовления формовочной и стержневой смесей.
Уровень техники
Недостатком известных смесителей является низкая эффективность измельчения и ограниченные технологические возможности устройства, так как данная конструкция не позволяет интенсифицировать движение стержневой загрузки.
Указанный недостаток устраняется в принятом за прототип устройстве для обработки материала (авторское свидетельство SU № 1604472, МПК: В02С 17/04, опубл. 07.11.1990 г., бюл. № 41), содержащем вращающийся на опорах барабан со стержневой загрузкой, наклоненный в сторону разгрузочного устройства, глухую торцовую упорную крышку, загрузочное устройство и механизм продольного перемещения стержней, выполненный в виде направленных внутрь барабана выступов на торцовой крышке. При вращении барабана стержни совершают сложное движение, которое определяется перекатыванием их относительно друг друга и барабана в поперечной плоскости и возвратно-поступательным движением в продольном направлении за счет попадания их попеременно на выступы глухой торцовой упорной крышки и в промежуток между ними. Продольное перемещение стержней способствует интенсификации помола.
Однако в процессе работы данного устройства происходит сильный ударно-абразивный износ торцовой упорной крышки, что приводит к преждевременному ее разрушению.
Раскрытие изобретения
Заявляемым изобретением решается задача повышения эксплуатационной надежности и долговечности устройства за счет снижения абразивного износа торцовой крышки при одновременной интенсификации процесса измельчения и перемешивания смеси.
Поставленная задача решается тем, что в устройстве подготовки пресс-порошка, содержащем установленный на опорах с возможностью вращения и наклоненный в сторону разгрузочных отверстий цилиндрический барабан с мелющими стержнями, загрузочное устройство, механизм продольного перемещения мелющих стержней и привод, согласно заявляемому изобретению механизм продольного перемещения мелющих стержней выполнен в виде соосно с зазором смонтированного на внутренней стороне торцовой крышки упорного диска, установленного с возможностью вращения и снабженного механизмом изменения угла наклона, причем разница между внутренним радиусом барабана и радиусом упорного диска меньше диаметра мелющего стержня.
Технический результат, а именно снижение абразивного износа торцовой крышки, достигается за счет смонтированного на ее внутренней стороне упорного диска, установленного с возможностью вращения. При вращении барабана мелющие стержни под действием центробежной силы поднимаются вверх, прижимая своими торцами упорный диск и увлекая (прокручивая) его за собой. Достигнув определенной точки, в которой сила тяжести стержней оказывается больше центробежной силы, они скатываются по внутренней поверхности барабана, возвращая упорный диск в прежнее положение. Таким образом, не происходит интенсивного истирания рабочей поверхности упорного диска, поскольку практически отсутствует их взаимное перемещение с мелющими стержнями.
Интенсификация процесса измельчения и перемешивания смеси обеспечивается за счет снабжения упорного диска механизмом изменения угла наклона. Установленный с наклоном упорный диск при вращении совершает интенсивные колебательные движения, перемещая мелющие стержни в продольном направлении вперед-назад, при этом на обрабатываемый материал воздействуют не только ударные и раздавливающие, но также и истирающие нагрузки. Увеличивая угол наклона упорного диска, можно менять амплитуду взаимного перемещения мелющих стержней и, следовательно, интенсивность истирания материала, что позволяет эффективно измельчать материалы различной твердости, с наличием крупных комьев, скрапа и иных включений. В свою очередь это приводит к расширению технологических возможностей устройства и повышению его производительности.
Обязательным является условие, при котором разница между внутренним радиусом барабана и радиусом упорного диска меньше диаметра мелющего стержня, так как в противном случае стержни попадут в образованный зазор и процесс измельчения и перемешивания материала прекратится.
Сравнение предлагаемого изобретения с прототипом обнаружило у первого из них ряд отличительных признаков, что обуславливает соответствие изобретения критерию «новизна». Анализ других известных технических решений в данной области техники не выявил в них аналогичные отличительные признаки, направленные на решение поставленной задачи, что позволяет сделать вывод о соответствии заявляемого изобретения критерию «изобретательский уровень».
Предпочтительно коромысла и натяжные элементы механизма изменения угла наклона упорного диска выполнить в виде откидных регулировочных болтов и гаек, составляющих с последними винтовую пару, что приводит к упрощению конструкции.
С целью удобства обслуживания, при установке механизма изменения угла наклона на оси между упорным диском и торцовой крышкой, необходимо выполнить в торцовой крышке сквозные регулировочные отверстия.
Футеровка рабочей стороны упорного диска износостойким материалом дополнительно повышает эксплуатационную надежность и долговечность устройства.
Кроме того, для предотвращения прохода крупных кусков сырья разгрузочные отверстия выполнены в виде колосниковой решетки.
Целесообразно прикрыть разгрузочные отверстия защитным кожухом, выполненным с патрубком для присоединения к аспирационной системе, что улучшает санитарно-гигиенические условия труда.
Краткое описание чертежей
Устройство поясняется следующими чертежами, на которых представлено:
на фиг.1 – общий вид устройства;
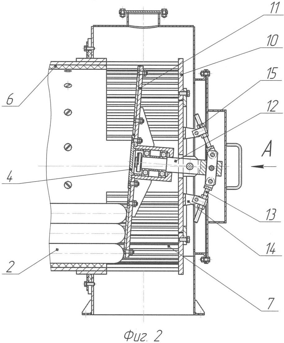
на фиг.2 – механизм продольного перемещения мелющих стержней при расположении кронштейнов на наружной стороне торцовой крышки;
на фиг.3 – вид А устройства на фиг.2;
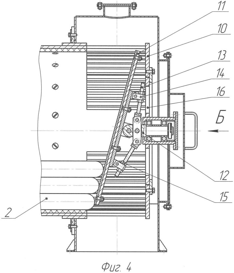
на фиг.4 – механизм продольного перемещения мелющих стержней при расположении кронштейнов на нерабочей стороне упорного диска;
на фиг.5 – вид Б устройства на фиг.4.
Осуществление изобретения
Устройство подготовки пресс-порошка, представленное на чертежах, содержит установленный на опорах с возможностью вращения и наклоненный в сторону разгрузочных отверстий цилиндрический барабан 1 с мелющими стержнями 2, загрузочное устройство 3, механизм продольного перемещения мелющих стержней 4 и привод 5. Внутренняя поверхность барабана облицована футеровочным слоем 6 из износостойкой резины. Разгрузочные отверстия 7 расположены по окружности периферийной части барабана, выполнены в виде колосниковой решетки и покрыты защитным кожухом 8, к которому в верхней части крепится аспирационный патрубок 9. Механизм продольного перемещения мелющих стержней 4 выполнен в виде соосно и с зазором смонтированного на внутренней стороне торцовой крышки 10 упорного диска 11, установленного с возможностью вращения и снабженного механизмом изменения угла наклона. Рабочая сторона упорного диска футерована износостойким материалом.
Ось 12 упорного диска 11 (см. фиг.2, 3) свободно пропущена через центральное отверстие в торцовой крышке 10 и выведена наружу барабана. На выведенном наружу конце оси упорного диска диаметрально смонтирована пара коромысел в виде откидных регулировочных болтов 13, которые свободными концами пропущены в отверстия кронштейнов 14, оппозитно расположенных на наружной стороне торцовой крышки, и закреплены посредством натяжных элементов 15, выполненных в виде гаек, составляющих винтовую пару с откидными регулировочными болтами.
В другом исполнении (см. фиг.4, 5) механизм изменения угла наклона выполнен в виде диаметрально смонтированных на оси 12 между упорным диском 11 и торцовой крышкой 10 пары откидных регулировочных болтов 13, свободными концами пропущенных в отверстия кронштейнов 14, оппозитно расположенных на нерабочей стороне упорного диска, и закрепленных посредством натяжных элементов 15, выполненных в виде гаек. В торцовой крышке выполнены оппозитно расположенные сквозные регулировочные отверстия 16.
Заявляемое устройство работает следующим образом.
Сырье загружается через загрузочное устройство 3, попадая в барабан 1, перемешивается и растирается при вращении барабана за счет свободно перемещающихся стальных мелющих стержней 2. Угол наклона барабана в сочетании с его вращением обеспечивает перемещение обрабатываемого сырья к разгрузочным отверстиям 7. Мелющие стержни 2 торцами прижимаются к упорному диску 11 и при подъеме на некоторую высоту прокручивают его. Достигнув определенной точки, в которой сила тяжести стержней оказывается больше центробежной силы, они скатываются по внутренней поверхности барабана, увлекая за собой упорный диск. Поскольку упорный диск 11 установлен с наклоном, то при его вращении величина зазора между торцовой крышкой и нижней периферийной частью упорного диска постоянно изменяется. Благодаря этому упорный диск в свою очередь также оказывает боковое давление на мелющие стержни, которые помимо перекатывания относительно друг друга и внутренней поверхности барабана, совершают при этом еще и возвратно-поступательное движение в продольном направлении, оказывая на обрабатываемый материал не только ударное и раздавливающее, но также и истирающее воздействие.
Таким образом, устройство, выполненное согласно заявляемому изобретению, характеризуется более высокой эксплуатационной надежностью и долговечностью. Кроме того, благодаря своим конструктивным особенностям оно обеспечивает активную механохимическую обработку смеси за счет воздействия на нее переменными нагрузками, многократно меняющимися в направлениях. При этом не происходит облипания мелющих тел стержней, и устройство подготовки пресс-порошка может также эффективно обрабатывать и пластичную сырьевую смесь с влажностью до 14%.
Формула изобретения
1. Устройство подготовки пресс-порошка, содержащее установленный на опорах с возможностью вращения и наклоненный в сторону разгрузочных отверстий цилиндрический барабан с мелющими стержнями, загрузочное устройство, механизм продольного перемещения мелющих стержней и привод, отличающееся тем, что механизм продольного перемещения мелющих стержней выполнен в виде соосно с зазором смонтированного на внутренней стороне торцовой крышки упорного диска, установленного с возможностью вращения и снабженного механизмом изменения угла наклона, причем разница между внутренним радиусом барабана и радиусом упорного диска меньше диаметра мелющего стержня.
2. Устройство по п.1, отличающееся тем, что ось упорного диска свободно пропущена через центральное отверстие в торцовой крышке и выведена наружу барабана, механизм изменения угла наклона выполнен в виде пары коромысел, диаметрально смонтированных на выведенном наружу конце оси упорного диска, свободными концами пропущенных в отверстия кронштейнов, оппозитно расположенных на наружной стороне торцовой крышки, и закрепленных посредством натяжных элементов.
3. Устройство по п.1, отличающееся тем, что механизм изменения угла наклона выполнен в виде пары коромысел, диаметрально смонтированных на оси между упорным диском и торцовой крышкой, свободными концами пропущенных в отверстия кронштейнов, оппозитно расположенных на нерабочей стороне упорного диска, и закрепленных посредством натяжных элементов.
4. Устройство по п.3, отличающееся тем, что в торцовой крышке выполнены оппозитно расположенные сквозные регулировочные отверстия.
5. Устройство по п.2 или 3, отличающееся тем, что коромысла выполнены в виде откидных регулировочных болтов.
6. Устройство по п.2 или 3, отличающееся тем, что натяжные элементы выполнены в виде гаек, составляющих винтовую пару с откидными регулировочными болтами.
7. Устройство по п.1, отличающееся тем, что рабочая сторона упорного диска футерована износостойким материалом.
8. Устройство по п.1, отличающееся тем, что разгрузочные отверстия расположены по окружности периферийной части барабана и выполнены в виде колосниковой решетки.
9. Устройство по п.8, отличающееся тем, что разгрузочные отверстия снабжены защитным кожухом.
10. Устройство по п.9, отличающееся тем, что защитный кожух выполнен с аспирационным патрубком.
РИСУНКИ
|