|
|
(21), (22) Заявка: 2006144677/02, 14.12.2006
(24) Дата начала отсчета срока действия патента:
14.12.2006
(46) Опубликовано: 10.10.2008
(56) Список документов, цитированных в отчете о поиске:
RU 2219057 C1, 08.01.2003. SU 317541, 19.10.1971. SU 1248830 A1, 07.08.1986.
Адрес для переписки:
423810, Республика Татарстан, г. Набережные Челны, а/я 166, Б.М. Колонтаевскому
|
(72) Автор(ы):
Блещевенко Андрей Николаевич (RU)
(73) Патентообладатель(и):
Общество с ограниченной ответственностью “КОРА Инжиниринг” (RU)
|
(54) ЗАЖИМ
(57) Реферат:
Зажим относится к машиностроению, конкретнее – к зажимным приспособлениям типа струбцин, в частности к зажимам для прижатия пуансона к матрице при изготовлении изделий из стеклопластика. Зажим содержит верхнюю полускобу, соединенную своим верхним концом с верхней опорной пятой, обращенной внутрь полускобы, а нижним концом – с рычагом, образующим нижнюю полускобу, соединенным с нижней плитой, обращенной внутрь полускобы. Зажим имеет рукоятку для зажима полускоб, причем оси частей зажима соединены параллельными шарнирами. Выполнен зажим из четырех частей. Рычаг состоит из полого корпуса, внутри которого коаксиально установлен палец, содержащий закрепленную у его верхнего конца ось, на которой установлена нижним концом верхняя полускоба. Концы оси размещены с возможностью перемещения в пазах, выполненных в стенках полого корпуса вдоль него. У нижнего торца пальца выполнена резьба, на которой установлена рукоятка, соединенная с полым корпусом кольцевыми элементами, обеспечивающими возможность вращения рукоятки без осевого перемещения, причем ось соединения рычага с нижней пятой установлена у его верхнего конца. Обеспечивается снижение трудоемкости процесса изготовления изделий из стеклопластика и сокращение затрат на изготовление зажима. 1 з.п. ф-лы, 1 ил.
Изобретение относится к машиностроению, конкретнее – к зажимным приспособлениям типа струбцин, в частности к зажимам для прижатия пуансона к матрице при изготовлении изделий из стеклопластика.
Известна струбцина [1], содержащая скобу с опорными пятами и зажимной винт с рукояткой. Струбцина может быть использована для слесарных и столярных работ при индивидуальном и мелкосерийном производствах. Новым в конструкции струбцины является ее плоский корпус типа плиты с многоугольным наружным контуром и с двумя перпендикулярными друг другу сторонами. В индивидуальном производстве устройство можно использовать в качестве струбцины, угольника и разметчика.
Конструкция данной струбцины обеспечивает ее универсальность, возможность использования не только в качестве зажимного приспособления, но и в виде шаблона, измерительного инструмента и разметчика. Недостаток указанной струбцины заключается в том, что ее применение неэффективно в серийном производстве из-за сравнительно долгой процедуры зажима-разжима стягиваемых деталей.
Известно также устройство для изготовления деталей из самотвердеющей пенообразующей смеси [2]. Устройство содержит зажим, включающий верхнюю полускобу, соединенную своим верхним концом с верхней опорной пятой, обращенной внутрь полускобы, а нижним концом с рычагом, образующим нижнюю полускобу. Рычаг соединен с нижней плитой, обращенной внутрь полускобы. Механизм содержит рукоятку для зажима полускоб. Оси частей зажима соединены параллельными шарнирами.
Устройство содержит рычажную систему, позволяющую надежно фиксировать пуансон относительно матрицы. Недостаток устройства заключается в сложной настройке и регулировке зажимного механизма.
Задача заявляемого изобретения состоит в упрощении конструкции устройства с сохранением минимального времени зажима-разжима стягиваемых деталей.
Технический результат заключается в сокращении затрат на изготовление зажима и снижении трудоемкости процесса изготовления изделий из стеклопластика.
Сущность изобретения заключается в следующем.
Зажим содержит верхнюю полускобу, соединенную своим верхним концом с верхней опорной пятой, обращенной внутрь полускобы. Нижним концом верхняя полускоба соединена с рычагом, образующим нижнюю полускобу. Рычаг соединен с нижней пятой, обращенной внутрь полускобы. Имеется рукоятка для зажима полускоб. Оси частей зажима соединены параллельными шарнирами.
Новое заключается в том, что зажим выполнен из четырех частей. Рычаг состоит из полого корпуса, внутри которого коаксиально установлен палец, содержащий закрепленную у его верхнего конца ось. На оси установлена нижним концом верхняя полускоба. Концы оси размещены с возможностью перемещения в пазах, выполненных в стенках полого корпуса вдоль него. У нижнего торца пальца выполнена резьба, на которой установлена рукоятка, соединенная с полым корпусом кольцевыми элементами, обеспечивающими возможность вращения рукоятки без осевого перемещения. Ось соединения рычага с нижней пятой установлена у его верхнего конца. Нижняя пята содержит элементы для присоединения ее к нижней из зажимаемых деталей.
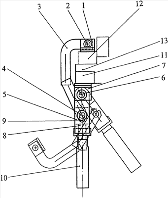
На чертеже представлено заявляемое устройство.
Зажим состоит из верхней пяты 1, с которой посредством оси 2 шарнирно соединена верхняя полускоба 3. Нижний конец полускобы 3 посредством оси 4 соединен с рычагом 5, образующим нижнюю полускобу. У верхнего конца рычага 5 установлена ось 6, посредством которой рычаг соединен с нижней пятой 7. Рычаг 5 состоит из полого корпуса, внутри которого коаксиально установлен палец 8, содержащий закрепленную у его верхнего торца ось 4. Концы оси размещены в пазах 9, выполненных в стенках полого корпуса рычага 5 вдоль него, с возможностью перемещения. У нижнего торца пальца 8 выполнена резьба, на которой установлена рукоятка 10. Рукоятка соединена с полым корпусом рычага 5 кольцевыми элементами (на чертеже не показаны), обеспечивающими возможность вращения рукоятки без осевого перемещения. Зажим используется при формовке изделий из стеклопластика, для чего с заданным усилием стягиваются друг с другом три детали: фланцы матрицы 11 и пуансона 12 и расположенный между матрицей и пуансоном полуфабрикат изделия 13.
Устройство работает следующим образом.
В исходном положении зажим открыт (в этом состоянии он изображен на чертеже тонкими линиями). Детали зажима (полускоба 3 и рычаг 5) свободно висят на осях 4 и 6, рычаг 5 отклонен от вертикали, а полускоба 3 находится внизу. Нижняя опорная пята 7 с помощью винтового крепления (на чертеже не показано) закреплена на нижней из стягиваемых деталей – на фланце 11 матрицы. На фланце установлено несколько зажимов. Они устанавливаются попарно-оппозитно в количестве, достаточном для надежного стягивания деталей пресс-формы.
Для осуществления операции стягивания деталей 11, 12 и 13 полускобу 3 поднимают вверх и устанавливают пяту 1 на верхней из стягиваемых деталей – фланце пуансона 12. Затем поворачивают рычаг 5 за рукоятку 10 вокруг оси 6 в вертикальное положение. Указанный поворот рычага происходит с некоторым усилием, т.к. рычаг тянет вниз полускобу 3 за ось 4.
Комбинация рукоятки 10, пальца 8 и оси 4 представляет собой регулировочный узел. Вращая рукоятку 10 по часовой стрелке, палец 8 заставляют смещаться вниз, т.к. он соединен с рукояткой резьбой, поэтому ввинчивается внутрь рукоятки. Вместе с пальцем вниз в пазах 9 смещается закрепленная на пальце ось 4. Так увеличивается расстояние между осями 4 и 6 и, соответственно, увеличивается стягивающее усилие между опорными пятами 1 и 7.
По окончании формовочного процесса, когда зажим нужно разблокировать, рычаг 5 отклоняют от вертикального положения за рукоятку 10 в исходное положение. Чтобы полускобу 3 с пятой 1 снять с фланца пуансона 12, рукоятку 10 вращают против часовой стрелки, тем самым, уменьшая расстояние между осями 4 и 6. Эта манипуляция приводит к появлению зазора между пятой 1 и деталью 12, вследствие чего полускоба 3 свободно вращается вокруг оси 4 и переводится вниз в исходное положение.
Источники информации
1. Патент РФ № 2090348.
2. Патент РФ № 2219057 – прототип.
Формула изобретения
1. Зажим, содержащий верхнюю полускобу, соединенную своим верхним концом с верхней опорной пятой, обращенной внутрь полускобы, а нижним концом – с рычагом, образующим нижнюю полускобу, соединенным с нижней плитой, обращенной внутрь полускобы, рукоятку для зажима полускоб, причем оси частей зажима соединены параллельными шарнирами, отличающийся тем, что он выполнен из четырех частей, а рычаг состоит из полого корпуса, внутри которого коаксиально установлен палец, содержащий закрепленную у его верхнего конца ось, на которой установлена нижним концом верхняя полускоба, при этом концы оси размещены с возможностью перемещения в пазах, выполненных в стенках полого корпуса вдоль него, у нижнего торца пальца выполнена резьба, на которой установлена рукоятка, соединенная с полым корпусом кольцевыми элементами, обеспечивающими возможность вращения рукоятки без осевого перемещения, причем ось соединения рычага с нижней пятой установлена у его верхнего конца.
2. Зажим по п.1, отличающийся тем, что нижняя пята содержит элементы для присоединения ее к нижней из зажимаемых деталей.
РИСУНКИ
|
|