|
|
(21), (22) Заявка: 2006135605/02, 09.10.2006
(24) Дата начала отсчета срока действия патента:
09.10.2006
(43) Дата публикации заявки: 20.04.2008
(46) Опубликовано: 10.10.2008
(56) Список документов, цитированных в отчете о поиске:
RU 2083328 С1, 10.07.1997. RU 2121410 C1, 10.11.1998. RU 2165336 С2, 20.04.2001. SU 921675 A, 23.04.1982. US 5129801 A, 14.07.1992. US 4255374 A, 10.05.1981.
Адрес для переписки:
607188, Нижегородская обл., г. Саров, пр. Мира, 37, ФГУП “РФЯЦ-ВНИИЭФ”, начальнику ОПИНТИ В.Е.Миронову
|
(72) Автор(ы):
Ботвинкин Анатолий Кириллович (RU), Хворостин Владимир Николаевич (RU)
(73) Патентообладатель(и):
Российская Федерация, от имени которой выступает государственный заказчик – Федеральное агентство по атомной энергии (RU), Федеральное государственное унитарное предприятие “Российский федеральный ядерный центр-Всероссийский научно-исследовательский институт экспериментальной физики”-ФГУП “РФЯЦ-ВНИИЭФ” (RU)
|
(54) УСТРОЙСТВО ДЛЯ УДАРНОГО ПРЕССОВАНИЯ ПОРОШКОВЫХ И ПОРИСТЫХ МАТЕРИАЛОВ
(57) Реферат:
Изобретение относится к области порошковой металлургии, в частности к устройствам для ударного прессования изделий из порошковых материалов. Устройство включает разборную матрицу с наружной конической поверхностью, заключенную в сопрягающуюся с ней по конической поверхности обойму, пуансон и разгонный отсек, состыкованный соосно с матрицей и являющийся направляющим для пуансона. Внутренний диаметр разгонного отсека соответствует внутреннему диаметру матрицы, а диаметр пуансона меньше диаметра разгонного отсека на минимальную величину, обеспечивающую возможность свободного полета пуансона в разгонном отсеке и матрице. Длина отверстия в матрице больше суммарной длины пуансона и высоты заложенного в матрицу прессуемого материала, а угол конической поверхности матрицы не меньше угла трения материалов, из которых изготовлены матрица и обойма. Такая конструкция обеспечивает возможность создания давлений прессования, существенно превышающих прочность материала пуансона. 3 ил.
Изобретение относится к порошковым технологиям, в частности к способам для прессования изделий из различных порошковых материалов, в том числе наноразмерных и пористых материалов, высоким импульсным давлением и устройствам для их реализации.
Известен способ прессования порошковых материалов взрывом (патент SU 1385392, опубл. 30.12.1994 г., МПК5 B22F 3/08), целью которого является повышение плотности и однородности получаемых изделий.
Принцип способа заключается в том, что прессуемый порошок помещали в ампулу, а между ампулами помещали демпфирующий наполнитель с акустической жесткостью, меньшей, чем у порошкового материала. После размещения пористого наполнителя между стенками ампул зазоры с двух сторон закрывали заглушками. Весь контейнер помещали в плоский заряд и производили подрыв.
Недостатком данного способа является относительно кратковременное воздействие нагрузки на прессуемый порошок, определяемое временем детонации заряда и разлета продуктов взрыва. Процесс прессования характеризуется также резким спадом нагрузки до нуля после снятия нагрузки. Вследствие этого в материале готового изделия происходит резкая разгрузка, результатом чего является образование микротрещин в материале готового изделия.
Известен также способ изготовления мелкодисперсного алмазного порошка (патент RU 2090499, опубл. 02.11.1994 г., С01В 31/06), целью которого является серийное получение алмазного порошка зернистостью более 1 мкм и с кристаллическими характеристиками зерен, примерно соответствующими свойствам природного алмаза. Предлагаемый способ реализуется с помощью взрыва навески ВВ внутри источника импульса – баллистической установки. В этой установке стальной ударник разгоняют до заданной скорости. Ударник сталкивают с элементом, воспринимающим импульс давления, – стальным пуансоном, который контактирует с помещенной в полости стальной матрицы навеской порошка. Под действием ударника пуансон вдавливают в полость матрицы и тем самым прессуют исходный порошок.
Недостатком данного способа является наличие элемента (пуансона), воспринимающего импульс давления от ударника. Поскольку независимо от материала, из которого выполнен пуансон, он имеет ограниченную прочность, определяемую пределом текучести материала ( T), то в полости не может быть создано давление (р), большее, чем предел текучести материала пуансона. Т.е. всегда р T.
Известны способ импульсного прессования твердых порошковых материалов и устройство для его осуществления, принятые за прототип (патент RU 2083328, опубл. 10.07.1997 г., МПК6 B22F 3/087), целью которых является увеличение годных изделий и повышение плотности прессуемых заготовок, что достигается способом прессования твердых порошковых материалов при одностороннем или двухстороннем приложении усилия, включающем освобождение изделия путем снятия обоймы с разъемной обечайки, осуществляющей фиксацию верхней и нижней торцевых поверхностей изделия, а перед снятием обоймы с разъемной обечайки к верхнему поршню и наковальне или нижнему поршню прикладывают стационарное усилие по оси прессования, после чего снимается обечайка. Затем снимают стационарное усилие.
Недостатком данного способа является ограниченная величина усилия прессования, определяемая прочностью материала пуансона, которая в предельном значении определяется прочностью материала, из которого изготовлена рабочая часть пуансона, непосредственно воздействующая на прессуемый порошок или пористый материал, что устанавливает естественный предел максимального давления на сжимаемый материал.
Решаемая техническая задача состоит в обеспечении усилия прессования, существенно превышающего прочность материала пуансона, и возможности освобождения изделия после завершения процесса прессования.
Указанная техническая задача решается способом, включающим заполнение устройства для прессования прессуемым материалом и последующим прессованием посредством удара за счет кинетической энергии ударного элемента, предлагается осуществлять разгон ударного элемента в виде пуансона в направляющем отсеке. Пуансон разгоняют до скорости, обеспечивающей кинетическую энергию, достаточную для создания необходимого давления при торможении в процессе соударения с контейнером, содержащим порошковый или пористый материал. Кинетическая энергия накапливается в свободном полете до соприкосновения с прессуемым материалом. При этом масса и диаметр пуансона, задаваемая скорость выбираются из условия создания необходимого давления внутри прессуемого материала.
Указанная техническая задача решается также устройством для ударного прессования, содержащим пуансон, разборную матрицу с наружной конической поверхностью, заключенную в сопрягающуюся с ней по конической поверхности обойму.
Согласно изобретению предлагается соосно матрице подстыковать разгонный отсек, являющийся направляющей для пуансона. Внутренний диаметр разгонного отсека соответствует внутреннему диаметру матрицы. Предлагается выполнять диаметр пуансона меньшим диаметра разгонного отсека и матрицы на минимальную величину, обеспечивающую возможность свободного полета пуансона в разгонном отсеке и матрице. Длину отверстия в матрице выполняют больше суммарной длины пуансона и высоты заложенного в матрицу прессуемого материала, при этом угол конической поверхности матрицы должен быть не менее угла трения материалов, из которых изготовлены матрица и обойма. Матрица выполнена разъемной, как минимум в одной продольной плоскости, а обойма – неразъемной. Торец сборного из матрицы и обоймы элемента опирается в массивную наковальню.
Применение летящего пуансона, имеющего диаметр, несколько меньший диаметра разгонного отсека, и длину, необходимую для обеспечения требуемой массы пуансона, движущегося со скоростью, необходимой для обеспечения кинетической энергии, позволяющей создать при соударении с контейнером силу давления, существенно превышающую прочность материала, из которого изготовлен летящий пуансон. Размещение матрицы в обойме по конической поверхности, имеющей угол конусности больше угла трения материала матрицы по материалу обоймы, позволяет после прессования извлечь матрицу из обоймы, а наличие одной или нескольких продольных плоскостей разъема матрицы позволяет извлечь контейнер с прессованным материалом. Диаметр летящего пуансона выбирается из условий движения его в разгонном отсеке с минимальным трением. Длина пуансона выбирается из условия обеспечения необходимой массы, а масса пуансона и скорость его движения до удара – из условия обеспечения необходимого давления прессования. Длина отверстия в матрице должна быть больше суммарной длины летящего пуансона и находящегося в матрице прессуемого материала.
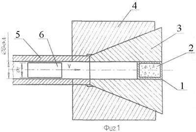
На фиг.1 показана предлагаемая установка до входа летящего пуансона в матрицу и соударения с контейнером, содержащим порошок или пористый материал, где:
1 – контейнер;
2 – порошок для прессования;
3 – матрица;
4 – обойма;
5 – разгонный отсек;
6 – пуансон.
На фиг.2 показана предлагаемая установка после соударения пуансона с контейнером, содержащим порошок или пористый материал.
На фиг.3 показано сечение установки в месте размещения контейнера на примере матрицы, имеющей три плоскости разъема.
Порошок 1, заключенный в контейнер 2, размещается в разъемной матрице 3, состоящей из трех частей и имеющей два разъема 7 в плоскостях, совпадающих с осью установки, которая, в свою очередь, установлена в обойму 4, состыкованную с разгонным отсеком 5, в котором движется летящий пуансон 6.
Установка работает следующим образом:
Пуансон 6 диаметром dп=27,5 мм и длиной Lп=250 мм устанавливается в разгонный отсек 5 с внутренним диаметром dp.o=28 мм. Диаметр отверстия в матрице 3 dм=28 мм. Для обеспечения движения пуансона 6 без помех по отверстиям разгонного отсека 5 и матрицы 3 разница в размерах диаметров составляет 0,5 мм. Разгоняют пуансон до скорости V=1000 мм/с, продуктами взрыва ВВ (можно осуществлять разгон, например, сжатым газом, пороховыми газами или любым иным способом, при этом изменяется скорость разгона), который долетает до контейнера 1 с порошком 2 (Lк=50 мм), и за счет части кинетической энергии летящего пуансона 6 происходит обжатие порошка 2 вместе с контейнером 1. При этом часть кинетической энергии расходуется на деформацию контейнера 1, часть – на деформацию летящего пуансона 6 и часть – на трение пуансона 6 по матрице 4 после деформации пуансона 6 под действием инерционных сил в процессе воздействия с контейнером 1. Диаметр летящего пуансона 6 dп выбирается из условий движения его в разгонном отсеке с минимальным трением. Длина пуансона выбирается из условия обеспечения необходимой массы, а масса пуансона 6 и скорость его движения до удара – из условия обеспечения необходимого давления прессования. Длина отверстия в матрице L=600 мм должна быть больше суммарной длины летящего пуансона и находящегося в матрице прессуемого материала.
Применение предлагаемого способа и устройства позволяет обеспечить прессование порошков или пористых материалов с усилиями, существенно превышающими прочность материала пуансона, использовать в качестве материала пуансона материалы, имеющие высокую плотность, но низкую прочность, а также увеличить время разгрузки сжимаемого изделия после сжатия, что исключает образование микротрещин.
Формула изобретения
Устройство для прессования порошковых материалов, содержащее разборную матрицу с наружной конической поверхностью, заключенную в сопрягающуюся с ней по конической поверхности обойму и пуансон, отличающееся тем, что оно дополнительно содержит разгонный отсек, состыкованный соосно с матрицей и являющийся направляющим для пуансона, причем внутренний диаметр разгонного отсека соответствует внутреннему диаметру матрицы, а диаметр пуансона меньше диаметра разгонного отсека на минимальную величину, обеспечивающую возможность свободного полета пуансона в разгонном отсеке и матрице, при этом длина отверстия в матрице больше суммарной длины пуансона и высоты заложенного в матрицу прессуемого материала, а угол конической поверхности матрицы не меньше угла трения материалов, из которых изготовлены матрица и обойма.
РИСУНКИ
|
|