|
|
(21), (22) Заявка: 2006139242/02, 07.11.2006
(24) Дата начала отсчета срока действия патента:
07.11.2006
(43) Дата публикации заявки: 20.05.2008
(46) Опубликовано: 10.10.2008
(56) Список документов, цитированных в отчете о поиске:
SU 1125090 A, 23.11.1984. SU 766734 A, 30.09.1980. DE 2408979 A, 09.01.1975. SU 1296281 A1, 15.03.1987.
Адрес для переписки:
681018, Хабаровский край, г. Комсомольск-на-Амуре, ул. Советская, 1, ОАО “КнААПО”, патентное бюро
|
(72) Автор(ы):
Иванов Виктор Валентинович (RU), Евстигнеев Алексей Иванович (RU), Якимов Виктор Иванович (RU), Зелинский Виктор Владимирович (RU), Марьин Борис Николаевич (RU), Иванов Юрий Леонидович (RU), Дмитриев Эдуард Анатольевич (RU), Могильников Евгений Владиславович (RU)
(73) Патентообладатель(и):
Открытое акционерное общество “Комсомольское-на-Амуре авиационное производственное объединение имени Ю.А. Гагарина” (RU)
|
(54) ОПОКА ДЛЯ ИЗГОТОВЛЕНИЯ ЛИТЕЙНЫХ ВАКУУМНО-ПЛЕНОЧНЫХ ФОРМ
(57) Реферат:
Изобретение относится к литейному производству. Опока содержит корпус с внутренними полостями по всему периметру, внутренние стенки с окнами и фильтрующими элементами, цапфы с отверстиями для соединения с вакуумирующей системой. Внутренние стенки образуют рабочую полость. Части внутренних стенок выполнены с наклоном от точки, находящейся в диапазоне середина высоты опоки ±10%. Части внутренних стенок наклонены к центру плоскости лада под углом 15-25°. Достигается снижение величины разрежения в вакуумно-пленочной форме с обеспечением требуемой прочности формы и повышение качества отливок. 1 з.п. ф-лы, 2 ил.
Изобретение относится к литейному производству, в частности к конструкции опок для вакуумно-пленочной формовки.
Известны конструкции опок [1], корпус которых содержит внутреннюю полость, выполненную по всему периметру опоки, и которая через отверстие в цапфах посредством гибкого вакуумпровода соединяется с вакуумирующей системой. Во внутренних вертикальных стенках опоки выполнены окна с фильтрующими элементами, через которые посредством внутренней полости в стенках опок, отверстий в цапфах, гибкого вакуумпровода и вакуумирующей системы создается разрежение Р в песчаном наполнителе формы, придавая ему некоторую прочность, характеризуемую его напряженным состоянием.
Это напряженное состояние обеспечивается одноосным, одновременным, двухсторонним сжатием со стороны атмосферного давления в виде равномерно распределенной нагрузки, действующей на песчаный наполнитель формы через полимерную пленку, ограничивающую форму со стороны ее лада и контрлада. При этом распределение главных больших (сжимающих) напряжений в массиве песчаного наполнителя, подобно распределению напряжений в песчано-глинистой форме при двухстороннем последовательном прессовании [2], подчинено экспоненциальной зависимости, описываемой в [3] и зависит от величины разрежения Р, создаваемого вакуумирующей системой. Критерием прочности песчаного наполнителя вакуумно-пленочной формы является точка перегиба кривой распределения напряжений по высоте формы. В указанной точке как главные большие 1, так и главные меньшие 2 напряжения имеют минимальное значение.
Известно [4], что главные меньшие напряжения 2 связаны с главными большими 1 зависимостью:

где – коэффициент бокового давления, который в сыпучих средах может достигать значения 0,4.
В свою очередь 2, действуя на стенки опоки, обуславливает наличие силы трения в паре стенка опоки – песчаный наполнитель, которая удерживает вес песка в опоке в статическом состоянии и может быть определена по формуле:

где f – коэффициент трения в паре стенка опоки – песчаный наполнитель.
При вертикальных стенках опоки ( =0) сила трения имеет минимальное значение.
Недостатком этих опок (опок с вертикальными стенками) является то, что для удержания в них веса песчаного наполнителя в статическом состоянии необходимо создать в нем разрежение Р, которое сформировало бы в песке такие главные меньшие напряжения 2, которые, в свою очередь, в паре стенка опоки – песчаный наполнитель, вызовут действие сил трения, способных удержать вес песка в статическом состоянии. При этом, чем больше габариты опоки, тем большее разрежение необходимо создать в песчаном наполнителе формы, так как его вес при этом увеличивается. Однако увеличение величины разрежения как технологического фактора отрицательно сказывается на качестве отливок [5].
Известна опока [6], которая по технической сущности и назначению наиболее близка к заявляемому техническому решению и принята за прототип, корпус которой содержит внутренние вертикальные стенки, внутри корпуса по всему периметру опоки выполнена внутренняя полость, которая посредством отверстия, выполненного в цапфе, и гибкого вакуумпровода соединяется с вакуумирующей системой. Во внутренних стенках опоки выполнены окна с фильтрующими элементами, через которые посредством внутренней полости в стенках опоки, отверстий в цапфах, гибкого вакуумпровода и вакуумирующей системы создается разрежение в песчаном наполнителе формы. Внутренние стенки указанной опоки выполнены вертикальными.
Недостатком известной опоки является то, что вес песчаного наполнителя, засыпанного в опоку, удерживается в статическом состоянии только за счет сжимающей разности давлений Р – атмосферного и остаточного в поровом объеме наполнителя.
Известно, что основным силовым фактором, удерживающим вес песчаного наполнителя в опоке, предназначенной для вакуумно-пленочной формовки, является сила трения. Поскольку внутренняя стенка известной опоки вертикальна, то компонента от действия веса песчаного наполнителя не принимает участия в формировании главных меньших напряжений 2, соответственно и сила трения в паре стенка опоки – песчаный наполнитель от данной составляющей отсутствует. Для удержания общего веса песчаного наполнителя в известной опоке при прочих равных условиях необходимо создать повышенное разрежение Р, что отрицательно скажется на качестве отливок.
Техническим результатом заявляемого изобретения является снижение величины разрежения в поровом объеме песчаного наполнителя вакуумно-пленочной формы при сохранении ее прочности, что приводит к повышению качества отливок.
Указанный результат достигается тем, что в опоке для изготовления литейных вакуумно-пленочных форм, содержащей корпус с внутренними полостями по всему периметру, лад, образующие рабочую полость внутренние вертикальные стенки с окнами и фильтрующими элементами, цапфы с отверстиями для соединения с вакуумирующей системой, внутренние стенки от середины их высоты ±10% выполнены с наклоном к центру плоскости лада.
Кроме того, нижние части внутренних стенок опоки наклонены к вертикали под углом 15-25°.
При такой геометрии внутренних стенок опоки в формировании сил трения в паре стенка опоки – песчаный наполнитель участвуют компоненты главных меньших напряжений 2. Эти напряжения действуют в «скелете» песчаного наполнителя, а их величина зависит от сжимающих главных больших напряжений 1, которые представлены в выражении (2) первым слагаемым. При этом величина напряжений 1 обуславливается величиной разрежения Р. Кроме этого, на величину указанной силы трения будет оказывать влияние и составляющая от веса песчаного наполнителя в опоке, которая входит в выражение (2) вторым слагаемым. Таким образом, величина силы трения на стенках опоки с наклоном от вертикали к центру плоскости лада будет складываться из компонент двух силовых факторов – главных меньших напряжений 2 и горизонтальной составляющей от веса песчаного наполнителя, засыпанного в опоку. Предлагаемая опока с изменяющейся геометрией внутренней стенки, выполненной наклонной к центру плоскости лада от точки, находящейся в диапазоне середина высоты опоки ±10%, позволяет снизить величину разрежения Р при прочих равных условиях по сравнению с опокой с вертикальными стенками на 20-25%, что позволяет повысить качество отливок без потери прочностных свойств самой формы.
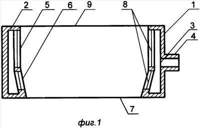
Изобретение поясняется чертежами. На фиг.1 представлена опока в разрезе, на фиг.2 – схема сил, действующих на наклонную стенку опоки со стороны песчаного наполнителя, где
G – вес наполнителя,
Р – сила действия наполнителя на вертикальную стенку,
Р’ – нормальная составляющая веса наполнителя на наклонную стенку,
Р” – нормальная составляющая от 2 или главного меньшего напряжения,
Т’ – касательная составляющая на наклонную стенку от действия 2,
Т” – касательная составляющая на наклонную стенку от веса наполнителя G.
Опока содержит корпус 1, внутри которого по его периметру выполнена полость 2, сообщающаяся через отверстие 3 в цапфах 4 с вакуумирующей системой (не показана). Внутренние стенки опоки, содержащие вертикальные части 5 и наклонные части 6 образуют рабочую полость для размещения песчаного наполнителя. Наклонные части 6 внутренних стенок 1 от середины высоты опоки ±10% выполнены с наклоном к центру плоскости лада 7. Наклонные части 6 внутренних стенок наклонены к вертикали под углом 15-25° в частном случае выполнения опоки. В вертикальных частях 5 и наклонных частях 6 внутренних стенок опоки выполнены окна 8 с фильтрующими элементами (не показаны). Через окна 8 с фильтрующими элементами посредством внутренней полости 2 в корпусе опоки 1, отверстий 3 в цапфах 4 вакуумирующей системой создается разрежение Р в поровом объеме песчаного наполнителя, размещенного в рабочей полости опоки. Объем опоки замыкается контрладом 9.
Опока работает следующим образом. После заполнения опоки 1 песчаным наполнителем, герметизации ее лада 7 и контрлада 9 полимерными пленками вакуумирующей системой через полость 2 в стенках опоки, отверстие 3 в цапфе 4 и окно 8 с фильтрующими элементами во внутренних стенках опоки в поровом объеме песчаного наполнителя создается разрежение Р. Разрежение Р формирует главные меньшие напряжения 2 на вертикальных 5 и наклонных 6 частях внутренних стенок опоки. Величина напряжений 2 зависит от величины главных больших напряжений 1 (см. уравнение (1)), нормальных к горизонтальным поверхностям лада 7 и контрлада 9, которые зависят от величины разрежения Р. Кроме этого, на наклонную часть 6 внутренней стенки опоки будет действовать компонента от силы веса песчаного наполнителя (см. фиг.2).
Суммарное действие от компонент 2 и веса песчаного наполнителя формы формирует максимальное значение силы трения на наклонной части внутренних стенок опоки (см. уравнение (2)), что при прочих равных условиях в сравнении с опоками с вертикальными внутренними стенками и с опокой с выпуклыми во внутрь стенками позволяет уменьшить величину разрежения в поровом объеме песчаного наполнителя формы на 20-25% и 30-42% соответственно.
Уменьшение величины разрежения Р в предлагаемой опоке при сохранении необходимой прочности песчаного наполнителя вакуумно-пленочной формы позволяет уменьшить (исключить) вероятность появления брака отливок, в частности, по газовым дефектам и пригару из-за неоправданно завышенной степени разрежения.
Использованные источники
1. Минвев А.А., Ноткин Е.Б., Сазонов В.А. Вакуумная формовка. – М.: «Машиностроение». 1984, с.138.
2. Рабинович Б.В. Последовательное прессование. «Литейное производство», №4, 1974, с.27.
3. Иванов В.В. Критерии оценки прочности вакуумно-пленочных форм. «Литейное производство», 1993, №10, с.22.
4. Цытович Н.А. Механика грунтов. – М.: «Высшая школа», 1979, с.115.
5. Иванов В.В. и др. Брак отливок, изготавливаемых в вакуумно-пленочных формах, и меры по его предупреждению. «Литейное производство», 2005, №5, с.20.
6. Литейное производство: Учебник для металлургических специальностей вузов. – 2-е изд., перераб. и доп. – М.: Машиностроение, 1987, с.96, рис.40.
Формула изобретения
1. Опока для изготовления литейных вакуумно-пленочных форм, содержащая корпус с внутренней полостью по всему периметру, лад, образующие рабочую полость внутренние стенки с окнами и фильтрующими элементами, цапфы с отверстиями для соединения полости корпуса с вакуумирующей системой, отличающаяся тем, что части внутренних стенок от середины их высоты ±10% наклонены от вертикали к центру лада.
2. Опока по п.1, отличающаяся тем, что наклонные части внутренних стенок составляют с вертикалью угол 15-25°.
РИСУНКИ
|
|