|
|
(21), (22) Заявка: 2006128566/02, 26.07.2006
(24) Дата начала отсчета срока действия патента:
26.07.2006
(43) Дата публикации заявки: 10.02.2008
(46) Опубликовано: 10.10.2008
(56) Список документов, цитированных в отчете о поиске:
SU 1319966 A1, 30.06.1987. SU 940946 A, 07.07.1982. RU 2104114 C1, 10.02.1998. GB 1255390 A, 01.12.1987.
Адрес для переписки:
420043, г.Казань, Зеленая, 1, КГАСУ, ПИО, Ф.И. Давлетбаевой
|
(72) Автор(ы):
Алексеев Кирилл Петрович (RU), Строганов Виктор Федорович (RU), Замалетдинов Ильгиз Фаатович (RU), Строганов Илья Викторович (RU)
(73) Патентообладатель(и):
ФГОУ ВПО Казанский государственный архитектурно-строительный университет (RU), ООО “Ремпласт” (RU)
|
(54) УСТРОЙСТВО ДЛЯ РАЗДАЧИ ТРУБ
(57) Реферат:
Изобретение относится к области обработки металлов давлением и может быть использовано при раздаче труб. На штоке силового цилиндра закреплен стержень, поршни установлены с возможностью осевого перемещения относительно наружной поверхности стержня, а сегменты установлены с возможностью радиального перемещения. На силовом цилиндре жестко установлен внутренний цилиндр со ступенчатым фланцем, выполненным с двумя параллельными лысками, упругими элементами, двумя опорными втулками, контактирующими с наружными поверхностями цилиндрических поршней. Имеются также упругие элементы и промежуточная рубашка, надетая на наружную поверхность сегментов. Стержень выполнен в виде полого наружного цилиндра с возможностью осевого перемещения относительно внутреннего цилиндра и имеет фланец на одном конце и паз, контактирующий с лысками ступенчатого фланца внутреннего цилиндра, – на другом конце. Поршни выполнены цилиндрическими с фланцами, а сегменты – с торцевыми расточками для размещения в них опорных втулок и зафиксированы на наружной поверхности опорных втулок кольцевыми пружинами. Полость между наружной поверхностью наружного цилиндра и внутренними поверхностями опорных втулок и сегментов заполнена упругими элементами. Расширяются технологические возможности и обеспечивается его универсальность. 3 з.п. ф-лы, 2 ил.
Изобретение относится к машиностроению, точнее к оборудованию для раздачи труб из разнородных материалов, например для соединения труб.
Известно устройство для раздачи труб, содержащее расположенное на основании ползун с приводом перемещения, смонтированный в сквозном отверстии ползуна стержень с цанговым дорном на конце и установленную в стержне с возможностью осевого перемещения оправку, на одном конце которой размещена втулка, а на другом конический хвостовик, взаимодействующий с дорном, устройство дополнительно снабжено толкателем, установленным в ползуне (а.с. СССР №679285, МПК В21D 39/20, 1979).
Недостатком данного устройства является сложность его изготовления, ограниченность применения, отсутствие нагревательной камеры и промежуточной рубашки.
Известно устройство для раздачи полых изделий, состоящее из штока с двумя конусами, один из которых закреплен на конце штока неподвижно, а другой насажен на него с зазором, и секционный пуансон, расположенный между конусами и подпружиненный в поперечном направлении к оси штока (патент РФ №2104114, МПК 6 В21D 41/07, 1998).
Недостатком данного устройства является невозможность раздачи тонкостенных труб из материала, армированного высокопрочными волокнами без их повреждения.
Прототипом изобретения является устройство для раздачи труб, содержащее силовой цилиндр, на штоке которого закреплен стержень и поршни, установленные с возможностью осевого перемещения относительно наружной поверхности стержня, а также установленные с возможностью радиального перемещения сегменты (а.с. СССР №1319966 А1, МПК В21D 3/12, В21D 39/20, 30.06.1987).
Однако известное устройство не позволяет производить равномерную раздачу труб по всей длине раздаваемой части, раздачу труб разных диаметров, не обеспечивает возможность нагрева материала заготовки и предохранение деталей от теплового потока, поступающего для нагрева заготовки.
Задачей изобретения является создание универсального устройства, позволяющего раздавать трубы из разных материалов равномерно по всей длине раздаваемой части труб разных диаметров, без нагрева исходных заготовок и с нагревом материала труб до заданных температур (например, труб и муфт из композиционных материалов армированных высокопрочными волокнами).
Сущность изобретения заключается в том, что устройство для раздачи труб, содержащее силовой цилиндр, на штоке которого закреплен стержень и поршни, установленные с возможностью осевого перемещения относительно наружной поверхности стержня, а также установленные с возможностью радиального перемещения сегменты, согласно изобретению снабжено жестко установленным на силовом цилиндре внутренним цилиндром со ступенчатым фланцем, выполненным с двумя параллельными лысками, упругими элементами, двумя опорными втулками, контактирующими с наружными поверхностями цилиндрических поршней и упругих элементов и промежуточной рубашкой, надетой на наружную поверхность сегментов, стержень выполнен в виде полого наружного цилиндра с возможностью осевого перемещения относительно внутреннего цилиндра и имеет фланец на одном конце и паз, контактирующий с лысками ступенчатого фланца внутреннего цилиндра – на другом конце, поршни выполнены цилиндрическими с фланцами, сегменты выполнены с торцевыми расточками для размещения в них опорных втулок и зафиксированы на наружной поверхности опорных втулок кольцевыми пружинами, полость между наружной поверхностью наружного цилиндра и внутренними поверхностями опорных втулок и сегментов заполнена упругими элементами.
Результат достигается также тем, что количество сегментов не менее трех и возрастает в зависимости от степени увеличения диаметра трубы.
Результат достигается также тем, что сегменты выполнены в виде комплектов с заданными толщинами, а промежуточная рубашка выполнена соответствующего размера под каждый комплект.
Результат достигается также тем, что устройство снабжено нагревательной камерой, установленной на фланец внутреннего цилиндра и закрепленной на фланце силового цилиндра.
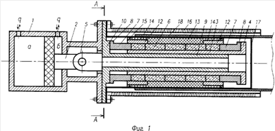
На фиг.1 изображена принципиальная схема устройства; на фиг.2 – разрез А-А на фиг.1.
Устройство содержит силовой цилиндр 1 и поршень со штоком 2. Стержень 3 выполнен в виде полого цилиндра и имеет фланец 4 на одном конце, паз 5 – на другом конце. Стержень 3 закреплен на штоке 2 цилиндра 1 с возможностью осевого перемещения, на наружной поверхности стержня 3 установлены упругие элементы 6. Уплотнительные кольца выполнены в виде цилиндрических поршней 7 с фланцами 8 и установлены с возможностью осевого перемещения относительно наружной поверхности стержня 3. Кроме того, устройство содержит жестко установленный на силовом цилиндре 1 внутренний цилиндр 9 с фланцем 10, выполненным с двумя параллельными лысками 11 (см. разр.А-А), которые контактируют со стенками паза 5 стержня 3. Устройство дополнительно снабжено опорными втулками 12, контактирующими с наружными поверхностями цилиндрических поршней 7 и упругих элементов 6, сборными сегментами 13, имеющими торцевые расточки 14 и зафиксированными на наружной поверхности опорных втулок 12 кольцевыми пружинами 15. Устройство также снабжено нагревательной камерой 16 и промежуточной рубашкой 17, служащей также теплоизоляцией при раздаче труб 18 с нагреванием. Количество сборных сегментов 13 в сборке не менее 3-х и возрастает в зависимости от степени увеличения диаметра раздачи трубы 18.
Устройство работает следующим образом (на примере раздачи труб из композиционных материалов).
На торец фланца 4 наружного цилиндра 3 устанавливают один из цилиндрических поршней 7, на который надевают одну из опорных втулок 12, на наружную поверхность которой устанавливают сборные сегменты 13 и скрепляют их одной из пружин 15. В торцевую расточку 14 сборных сегментов 13 вставляют другую опорную втулку 12 и скрепляют их второй кольцевой пружиной 15. Полость между наружной поверхностью наружного цилиндра 3 и внутренними поверхностями опорных втулок 12 и сборных сегментов 13 заполнена упругими элементами 6, выполненными из полиуретана, резиновых колец и др. Затем вставляют второй цилиндрический поршень 7. После чего во внутреннюю полость наружного цилиндра 3 вставляют внутренний цилиндр 9. При этом лыски 11 внутреннего цилиндра 9 входят в зацепление со стенками паза 5 наружного цилиндра 3. Собранную таким образом сборку (3, 6, 7, 9, 12, 13, 15 и 17) устанавливают на фланец корпуса силового цилиндра 1. Полки паза 5 наружного цилиндра 3 скрепляют со штоком 2 силового цилиндра 1. Далее на наружную поверхность сборных сегментов 13 надевают промежуточную рубашку 17, на фланец внутреннего цилиндра 9 устанавливают нагревательную камеру 16 и закрепляют на фланце силового цилиндра 1.
Собранное таким образом устройство вставляют во внутреннюю полость трубы 18. При раздаче трубы из композиционного материала включают нагревательную камеру 16. При достижении температуры внутри камеры 16 выше температуры стеклования материала трубы 18 на 15-20°С нагревательную камеру 16 выключают. При этом в полость “б” силового цилиндра 1 подают рабочее тело, поршень силового цилиндра 1 посредством штока 2 перемещает в осевом направлении наружный цилиндр 3 относительно внутреннего цилиндра 9, фланец 4 которого воздействует на цилиндрический поршень 7, который, перемещаясь во внутренних полостях опорных втулок 12, передает усилие на упругие элементы 6 и второй цилиндрический поршень 7. Внутри сборных сегментов 13 создается избыточное давление и передается через промежуточную рубашку 17 на раздаваемую трубу 18. Величина избыточного давления регулируется объемом упругих элементов 6 и величиной рабочего давления силового цилиндра 1 в зависимости от требуемой величины раздачи трубы 18 в пределах одного диаметра раздаваемых труб. Максимальная величина диаметра при раздаче трубы 18 достигается при упоре фланцев 8 цилиндрических поршней 7 в торцы опорных втулок 12.
После охлаждения трубы 18 вместе с устройством до температуры ниже температуры стеклования на 20-25°С, подают рабочее тело в полость “а” силового цилиндра 1. При этом наружный цилиндр 3, цилиндрические поршни 7, сборные сегменты 13 под воздействием упругих элементов 6 и кольцевых пружин 15 возвращаются в исходное положение. Труба 18 освобождается от воздействия внутреннего давления, а устройство выключается и вынимается из нее. При этом достигнутая величина диаметра трубы 18 при раздаче сохраняется.
Устройство позволяет также раздавать тонкостенные трубы и муфты из композиционных материалов, армированных высокопрочными волокнами без их разрушения. Их устанавливают на наружную поверхность промежуточной рубашки 17 в пределах рабочей части сборных сегментов 13, при этом обеспечивается равномерная раздача муфты по всей ее длине.
При раздаче труб из традиционных материалов с разогревом материала трубы устройство работает также с установленной нагревательной камерой. При этом материал раздаваемой трубы разогревают до требуемой технологическим процессом температуры.
При раздаче труб из традиционных материалов без предварительного их разогрева нагревательную камеру 16 не устанавливают, а в остальном устройство работает так же, как при раздаче труб из композиционных материалов.
Изобретение позволяет раздавать трубы и муфты в широком диапазоне их диаметров за счет использования комплектов сборных сегментов, имеющих разные заданные размеры по их толщине. При этом каждый комплект сборных сегментов снабжен промежуточной рубашкой соответствующего размера.
Универсальность устройства обеспечена за счет возможности использования его в стационарном и переносном вариантах.
Устройство позволяет осуществлять раздачу труб из разных материалов, как без их предварительного разогрева, так и с разогревом до требуемых температур.
Формула изобретения
1. Устройство для раздачи труб, содержащее силовой цилиндр, на штоке которого закреплен стержень и поршни, установленные с возможностью осевого перемещения относительно наружной поверхности стержня, а также установленные с возможностью радиального перемещения сегменты, отличающееся тем, что оно снабжено жестко установленным на силовом цилиндре внутренним цилиндром со ступенчатым фланцем, выполненным с двумя параллельными лысками, упругими элементами, двумя опорными втулками, контактирующими с наружными поверхностями цилиндрических поршней и упругих элементов, и промежуточной рубашкой, надетой на наружную поверхность сегментов, стержень выполнен в виде полого наружного цилиндра с возможностью осевого перемещения относительно внутреннего цилиндра и имеет фланец на одном конце и паз, контактирующий с лысками ступенчатого фланца внутреннего цилиндра, – на другом конце, поршни выполнены цилиндрическими с фланцами, сегменты выполнены с торцевыми расточками для размещения в них опорных втулок и зафиксированы на наружной поверхности опорных втулок кольцевыми пружинами, полость между наружной поверхностью наружного цилиндра и внутренними поверхностями опорных втулок и сегментов заполнена упругими элементами.
2. Устройство по п.1, отличающееся тем, что количество сегментов не менее трех и возрастает в зависимости от степени увеличения диаметра трубы.
3. Устройство по п.1, отличающееся тем, что сегменты выполнены в виде комплектов с заданными толщинами, а промежуточная рубашка выполнена соответствующего размера под каждый комплект.
4. Устройство по п.1, отличающееся тем, что оно снабжено нагревательной камерой, установленной на фланец внутреннего цилиндра и закрепленной на фланце силового цилиндра.
РИСУНКИ
MM4A – Досрочное прекращение действия патента СССР или патента Российской Федерации на изобретение из-за неуплаты в установленный срок пошлины за поддержание патента в силе
Дата прекращения действия патента: 27.07.2008
Извещение опубликовано: 10.07.2010 БИ: 19/2010
|
|