|
|
(21), (22) Заявка: 2006137083/02, 19.10.2006
(24) Дата начала отсчета срока действия патента:
19.10.2006
(43) Дата публикации заявки: 10.05.2008
(46) Опубликовано: 10.10.2008
(56) Список документов, цитированных в отчете о поиске:
SU 1303212 A1, 15.04.1987. SU 270155 A, 14.08.1970. RU 2220017 C1, 27.12.2003. US 4176539 A1, 04.12.1979.
Адрес для переписки:
455002, Челябинская обл., г. Магнитогорск, ул. Кирова, 93, ОАО “ММК”, отдел рационализации, изобретательства и патентной работы
|
(72) Автор(ы):
Антипанов Вадим Григорьевич (RU), Архандеев Александр Владимирович (RU), Урмацких Анатолий Васильевич (RU), Корнилов Владимир Леонидович (RU)
(73) Патентообладатель(и):
Открытое акционерное общество “Магнитогорский металлургический комбинат” (RU)
|
(54) КЛЕТЬ ПРОФИЛЕГИБОЧНОГО СТАНА
(57) Реферат:
Изобретение относится к оборудованию для обработки металлов давлением, в частности к рабочим клетям профилегибочных станов. Клеть для гофрированных полос содержит установленные один над другим с зазором верхний и нижний валки, образующие калибр заданной конфигурации, закрытый коническими ребордами нижнего валка. На нижнем валке расположены круговые проточки, бочка верхнего валка выполнена с гуммированной поверхностью. При этом выполняют межвалковый зазор в зависимости от глубины проточек и от толщины формуемой полосы. Внутренние грани реборд нижнего валка наклонены к горизонтали под определенным углом 83…85°. Расширяется сортамент профилегибочного стана и сокращаются производственные затраты. 3 з.п. ф-лы, 1 ил.
Изобретение относится к оборудованию для обработки металлов давлением и может быть использовано на станах, профилирующих гофрированные полосы.
Такие профилегибочные станы характеризуются наличием большого количества рабочих клетей (до 30), содержащих обычно два горизонтальных валка, образующих калибр заданной конфигурации. Конструкции клетей профилегибочных станов для формовки гофрированных полос описаны, например, в книге И.С.Тришевского и др. Производство гнутых профилей (оборудование и технология). М.: Металлургия, 1982, с.98-102.
Так как гофрированные полосы формуются с гофрами, направленными вверх (для предотвращения травмирования их вершин при движении по рольгангам стана), то верхний валок существующих клетей выполняется с круговыми проточками соответствующей формы (их общее число зависит от количества гофров, формуемых в данной клети), а нижний – с круговыми выступами такой же формы.
Известна рабочая клеть профилегибочного стана для формовки гофрированных полос, содержащая верхний и нижний валки, каждый из которых выполнен из формующих, катающих и вспомогательных элементов, образующих бочки валков, причем диаметр вспомогательных элементов меньше диаметра катающих элементов на определенную величину (см. а.с. СССР №1381810, кл. В21D 5/06 от 30.04.86). Однако такая клеть непригодна при производстве соединяемых в одно целое гофрированных листов с разнонаправленными (продольными и поперечными) гофрами.
Наиболее близким аналогом к заявляемому объекту является клеть профилегибочного стана, описанная в пат. РФ №2056191, кл. В21D 5/06, опубл. в БИ №8, 1996 г.
Эта клеть содержит установленные с заданным зазором верхний и нижний валки, образующие калибр заданной конфигурации, и характеризуется тем, что этот калибр закрыт ребордами нижнего валка, которые выполнены коническими с образующими, наклоненными к горизонтали под углом 78…81°. Известная клеть также неприемлема для производства соединяемых в одно целое гофрированных листов с разнонаправленными гофрами.
Технической задачей настоящего изобретения являются расширение сортамента профилегибочного стана, производящего гофрированные листовые профили, и сокращение производственных затрат.
Для решения этой задачи клеть профилегибочного стана для образования панели-кассеты из двух гофрированных полос характеризуется тем, что она содержит установленные один над другим с зазором «Н» верхний и нижний валки, образующие калибр заданной конфигурации, закрытый коническими ребордами нижнего валка, нижний валок выполнен с круговыми проточками под продольные гофры нижней полосы, а бочка верхнего валка, контактирующая с вершинами поперечных гофров верхней полосы, выполнена с гуммированной поверхностью, при этом величина межвалкового зазора клети равна: Н=(h+S), где h – глубина проточек, S – толщина формуемой полосы; внутренние грани реборд нижнего валка наклонены к горизонтали под углом 83…85°, величина h=(10…40)S, а количество проточек на нижнем валке равно 3…9.
Сущность заявляемого технического решения состоит в том, что нижний валок клети выполнен с круговыми проточками, а верхний валок – с гладкой цилиндрической гуммированной бочкой. При этом межвалковый зазор несколько больше двойной глубины проточек. Это позволяет задавать в калибр, образуемый валками, наложенные друг на друга гофрированные полосы с гофрами одинаковой высоты, но противоположного направления. Наличие конических реборд на нижнем валке предотвращает поперечное смещение полос, а выбранная величина наклона внутренних граней реборд нижнего валка, во-первых, способствует точному совмещению двух полос и, во-вторых, позволяет осуществлять начатую в предыдущих клетях подгибку боковых кромок нижней полосы с целью образования замкового соединения полос.
Выбранная величина межвалкового зазора предусматривает прохождение через калибр полос только с гофрами одинаковой высоты. Необходимость гуммирования бочки верхнего валка обусловлена тем, что эта бочка контактирует с вершиной поперечных гофров (т.е. контактная площадь весьма незначительна), а это требует усилий сцепления полосы с валком, которое обеспечивается повышенным коэффициентом трения пары «резина – сталь»
В результате этого становится возможным образование панели-кассеты, составленной из двух гофрированных листов.
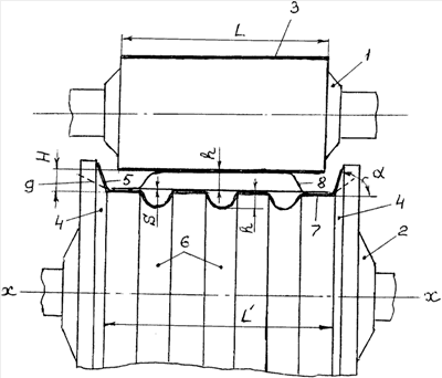
На чертеже схематично показана предлагаемая профилегибочная клеть.
Клеть содержит верхний 1 и нижний 2 валки, установленные с зазором Н=2(h+S). Бочка верхнего валка выполнена с гуммированной поверхностью 3, а ее длина L соответствует расстоянию L’ между основаниями конических реборд 4 нижнего валка или несколько меньше него. Конические грани 5 реборд наклонены к оси хх этого валка под углом =83…85°.
На горизонтальном участке нижнего валка выполнены 3…9 круговых проточек 6 дугообразного сечения. Этот валок контактирует с нижней полосой 7, содержащей продольные гофры, а верхний валок – с верхней полосой, имеющей поперечные замкнутые гофры 8. Боковые кромки 9 заходящей в калибр нижней полосы (они показаны пунктиром) подгибаются ребордами 4 на заданный угол.
Высота всех гофров – одинаковая и составляет: h=(10…40)S.
Клеть работает следующим образом.
Нижняя гофрированная полоса, находящаяся во всех клетях на одном уровне, заходит в калибр с одновременной подгибкой боковых кромок на угол . Верхняя полоса после формообразования в предыдущей четырехвалковой клети поперечных гофров с помощью специального перегибающего роликового устройства опускается до уровня нижней полосы и в калибре накладывается на нее – происходит образование панели-кассеты.
При необходимости величина межвалкового зазора регулируется путем перемещения верхнего валка нажимными винтами известной конструкции (с уменьшением зазора возрастает сцепление верхнего валка с полосой).
Опытную проверку заявляемой клети осуществляли на профилегибочном стане 0,5…2,5×300…1500 ОАО «Магнитогорский металлургический комбинат».
С этой целью на стане была установлена клеть предлагаемой конструкции, параметры которой определялись параметрами изготовляемой панели-кассеты. Толщина формуемых полос S=0,7…2,0 мм, а величина h соединяемых в клети гофрированных полос составляла: h1=10·07=7 мм, h2=10·2=20 мм, h3=40·0,7=28 мм и h4=40·2=80 мм. Количество формуемых продольных гофров полукруглой формы было равно 3, 6 и 9. Опробовались нижние валки с коническими ребордами и углом =80…88°.
Диаметры обоих валков были одинаковы – 350 мм; толщина гуммированного слоя на бочке верхнего валка – 20 мм.
При вышеприведенных параметрах валков и =83…85° каких-либо затруднений при работе клети не возникало, а до 98,5% панелей-кассет шириной 1000 мм из ст. 10 кп соответствовали требуемым показателям. При =80…82° наблюдалось взаимное поперечное смещение совмещаемых полос с ухудшением замкового их соединения. При =86…88° затруднялся заход нижней полосы в калибр, что вызывало остановку стана с необходимостью ручного поперечного смещения этой полосы.
Клеть, выбранная в качестве ближайшего аналога, в опытах не использовалась ввиду ее явной непригодности для соединения двух гофрированных полос. Таким образом, опытная проверка подтвердила приемлемость найденного технического решения для достижения поставленной цели и его преимущество перед известным объектом.
По данным технико-экономических исследований, проведенных в Центральной лаборатории ОАО «ММК», использование заявляемого изобретения позволит расширить сортамент профилегибочных станов, производящих листовые гофрированные профили и снизить производственные затраты (по сравнению с раздельной формовкой двух полос и последующим соединением их в единое целое) не менее чем в 1,5 раза.
Пример конкретного выполнения
Клеть профилегибочного стана имеет вид, показанный на фиг.1, и предназначена для полос толщиной 0,7…2,0 мм и шириной 500…1200 мм из стали с dв 450 МПа.
Диаметр обоих валков – 350 мм, длина бочки верхнего валка L=1000 мм, толщина гуммированного слоя – 20 мм.
На нижнем валке выполнено 6 круговых дугообразных проточек с h=40 мм. Величина межвалкового зазора H=2h+S=2 (40+0,7…2,0)=81,4…84,0 мм.
Величина угла наклона внутренних граней конических реборд нижнего валка к горизонтали =84°.
Формула изобретения
1. Клеть профилегибочного стана для образования панели-кассеты из двух гофрированных полос, характеризующаяся тем, что она содержит установленные один над другим с зазором «Н» верхний и нижний валки, образующие калибр заданной конфигурации, закрытый коническими ребордами нижнего валка, нижний валок выполнен с круговыми проточками под продольные гофры нижней полосы, а бочка верхнего валка, контактирующая с вершинами поперечных гофров верхней полосы выполнена с гуммированной поверхностью, при этом величина межвалкового зазора клети равна H=(h+S), где h -глубина проточек, S – толщина формуемой полосы.
2. Клеть по п.1, характеризующаяся тем, что внутренние грани реборд нижнего валка наклонены к горизонтали под углом =83…85°.
3. Клеть по п.1, характеризующаяся тем, что величина h=(10…40)S.
4. Клеть по п.1, характеризующаяся тем, что количество проточек под продольные гофры нижней полосы на нижнем валке равно 3…9.
РИСУНКИ
|
|