|
(21), (22) Заявка: 2005122256/02, 10.12.2003
(24) Дата начала отсчета срока действия патента:
10.12.2003
(30) Конвенционный приоритет:
14.12.2002 DE 10258539.3
(43) Дата публикации заявки: 20.01.2006
(46) Опубликовано: 10.10.2008
(56) Список документов, цитированных в отчете о поиске:
DE 19803091 A, 29.07.1999. СА 2339380 А1, 17.02.2000. WO 0007747 A1, 17.02.2000. GB 851382, 19.10.1960. ЕР 1226886 А1, 29.01.2002. RU 2068314 C1, 27.10.1996. RU 2013156 C1, 30.05.1994.
(85) Дата перевода заявки PCT на национальную фазу:
14.07.2005
(86) Заявка PCT:
EP 03/14002 (10.12.2003)
(87) Публикация PCT:
WO 2004/054731 (01.07.2004)
Адрес для переписки:
129010, Москва, ул. Б. Спасская, 25, стр.3, ООО “Юридическая фирма Городисский и Партнеры”, пат.пов. Ю.Д.Кузнецову, рег.№ 595
|
(72) Автор(ы):
ХАЙТЦЕ Герхард (DE), БОЙМЕР Клаус (DE)
(73) Патентообладатель(и):
СМС ДЕМАГ АКЦИЕНГЕЗЕЛЛЬШАФТ (DE)
|
(54) НАМАТЫВАЮЩЕЕ УСТРОЙСТВО ДЛЯ КАТАНОЙ ПОЛОСЫ
(57) Реферат:
Изобретение относится к наматывающему устройству для катаной полосы. Устройство для отклонения полос, в частности металлических полос, в моталке от начального направляющего канала в конечный направляющий канал и наоборот содержит тянущее устройство с парой тянущих роликов и расположенными по направлению (В) движения полосы исполнительными элементами, включающими установленную с возможностью отклонения к начальному и конечному направляющим каналам стрелку, шарнирно установленную на выходном конце связанного с ней рольганга для транспортировки полосы с возможностью освобождения начального направляющего канала в ее приподнятом положении, и направляющий стол, установленный под ней с возможностью поворота и позиционируемый в качестве скребка у нижнего тянущего ролика, при этом и стрелка, и направляющий стол оснащены соответствующими исполнительными органами, и верхняя, и нижняя стороны стрелки выполнены выпуклыми и направляющий стол выполнен в соответствии с нижней стороной стрелки вогнутым. Обеспечивается хорошее поддержание по ширине рулона с надежным избежанием следов, особенно у тонких полос, за счет более хорошего приспособления желобчатого ролика к бочкообразному рулону. 10 з.п. ф-лы, 4 ил.
Изобретение относится к наматывающему устройству для катаной полосы, содержащему, по меньшей мере, один соединенный с приводом желобчатый ролик для вращения рулона при наматывании и разматывании катаной полосы, а также расположенный до или после моталки рольганг.
Наматывающие устройства с желобчатыми роликами используют обычно на выходе горячекатаной широкой полосы или при транспортировке горячекатаной полосы. Задачей желобчатого ролика, соединенного с приводом, является вращение посредством него рулона и подача катаной полосы к ножницам, расположенным под прямым углом рядом с транспортным трактом. На ножницах рулон обрезают и из катаной полосы вырезают образцы.
Используемые до сих пор в уровне технике желобчатые ролики выполняют постоянного диаметра для приблизительной подгонки по радиусу к изготовленной полой контактной поверхности рулона. При вращении бочкообразных рулонов это приводит к следам на периферии рулона вследствие эффекта линейного касания. Также в известных выполнениях желобчатые ролики очень жесткие из-за своих габаритов и не допускают прогиба.
В документе DE-OS 2412747 описана тянуще-правильная машина для рулонов горячекатаных листов с парой опорных роликов для рулонов и удерживающим устройством для конца листа, с помощью которого лист тянут через изгибающей ролик.
Оба опорных ролика и расположенный между ними подъемный стол установлены на передвижной тележке для рулонов. Тележка выполнена с возможностью соединения с перемещаемой относительно неподвижного удерживающего устройства тянущей тележкой. Тянущая тележка несет дополнительный, снабженный приводом опорный ролик, который с лежащим ближе к нему опорным роликом тележки для рулонов образует дополнительную пару опорных роликов. На обеих тележках перед и за опорными роликами предусмотрено по одному регулируемому в своем положении поддерживающему ролику, при этом поддерживающий ролик, установленный на тянущей тележке служит также изгибающим роликом.
В документе DE 19745653 А1 описано разматывающее устройство для разматывания смотанной в рулон полосы с разматывателем и расположенным за ним рольгангом, причем рольганг содержит основную раму с нижним тянуще-правильным роликом и насадную раму с верхним тянущим роликом с верхней осью и верхним правильным роликом. Насадная рама содержит на своей обращенной к разматывателю стороне отгибатель для отгибания конца рулона, причем насадная рама установлена с возможностью перемещения к разматывателю.
Кроме того, отгибатель установлен с возможностью реверсивного поворота вокруг оси поворота между рабочим и исходным положениями.
В документе DE 19803091 А1 раскрыт способ эксплуатации установки для переноса полос, содержащей намоточную секцию с намоточными роликами с входной и выходной сторон и размоточную секцию с размоточными роликами с входной и выходной сторон, причем полосу в намоточной секции наматывают в рулон или рулон устанавливают на намоточные ролики и причем рулон при наматывании или после установки опирается на намоточные ролики.
Для разматывания рулон транспортируют на размоточную секцию, и после транспортировки рулон при разматывании опирается на размоточные ролики. Для транспортировки рулона секции сближают и намоточный ролик со стороны входа приподнимают.
Установка для переноса полос, предусмотренная в соответствии со способом эксплуатации, содержащая намоточную секцию с намоточными роликами с входной и выходной сторон и размоточную секцию с размоточными роликами с входной и выходной сторон, выполнена с возможностью сближения секций и подъема намоточного ролика со стороны входа.
В документе DE 3031825 С2 описано устройство для передачи намотанных в рулоны, горячих металлических полос после черновой прокатки с приданной черновому прокатному стану намоточной секции на приданную чистовому прокатному стану размоточную секцию. Передающее устройство состоит из тележки, перемещаемой по пути поперек направлению движения полосы и содержащей в рабочем положении приблизительно вертикальную консоль с выступающей вбок опорной поверхностью для рулона. Консоль является составной частью расположенной на основной раме верхней части тележки. Для обеспечения размещения и снятия рулона тракт выполнен с возможностью перемещения. Путь для тележки проложен в прокатной установке под полом. Верхняя часть тележки состоит из шарнирных рычагов и в сложенном состоянии может двигаться под размоточной секцией чистового прокатного стана.
Исходя из вышеприведенного уровня техники, в основе изобретения лежит задача создания нового конструктивного решения для выполнения желобчатого ролика наматывающего устройства, чтобы он лучше мог приспосабливаться к бочкообразному рулону и обеспечивал хорошее поддержание по ширине рулона и чтобы можно было надежно избежать следов, особенно у тонких полос.
Для решения задачи у наматывающего устройства, по меньшей мере, с одним соединенным с приводом желобчатым роликом согласно ограничительной части п.1 формулы предусмотрено выполнение ролика с упруго деформируемым оболочковым кольцом.
В отношении другого выполнения желобчатого ролика предложено, что его рабочая поверхность снабжена рядом примыкающих друг к другу оболочковых колец, которые, охватывая сердечник желобчатого ролика с разностью диаметров, равномерно поддерживаются посредством подпружиненных изнутри к оболочковым кольцам опорных тел с возможностью нагружения ими поверхности контактирования желобчатого ролика с рулоном по всей ее продольной протяженности равномерным давлением прижима.
Другое выполнение наматывающего устройства согласно изобретению с желобчатым роликом предусматривает, что опорные тела выполнены бочкообразными на своих поверхностях контактирования в соответствии с внутренней окружностью оболочковых колец.
Далее изобретение предусматривает, что каждое опорное тело снабжено сзади пакетом тарельчатых пружин с задаваемым усилием натяжения. При этом может быть предусмотрено, что опорные тела с заданным натяжением пружин зажаты в оболочковых кольцах.
Для образования плавных переходов между оболочковыми кольцами изобретение предусматривает далее, что примыкающие друг к другу оболочковые кольца примыкают с косой фаской к соседним оболочковым кольцам, в частности к оболочковым кольцам с разным диаметром.
Согласно другому выполнению желобчатого ролика ходовые поверхности оболочковых колец выполнены с небольшой бочкообразностью, которая, однако, не превышает величину разности диаметров.
Наматывающее устройство усовершенствовано за счет того, что каждые два желобчатых ролика, располагаемые на задаваемом параллельном расстоянии между осями друг от друга, взаимодействуют между собой с образованием желобчатого между ними углубления для восприятия цилиндрообразной нагрузки от рулона. По меньшей мере, один из этих желобчатых роликов соединен с приводом вращения. Желобчатый ролик включает в себя предпочтительным образом массивный центральный вал, расположенное на валу среднее кольцо для размещения подпружиниваемых опорных тел и оболочковое кольцо с внешним ходовым кольцом для восприятия нагрузки в виде рулона.
Наконец, желобчатый ролик наматывающего устройства имеет образующуюся при контакте с рулоном, в частности, вогнутую поверхность контактирования, которая может самопроизвольно приспосабливаться к обычно бочкообразной периферии рулона посредством упругоподпружиненных оболочковых колец.
Другие подробности, признаки и преимущества изобретения приведены в нижеследующем пояснении на примере его осуществления, схематично изображенном на чертеже, на котором представлено:
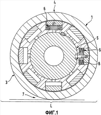
Фиг.1 – разрез желобчатого ролика в плоскости перпендикулярно оси вращения;
Фиг.1а – вид спереди двух расположенных на расстоянии друг от друга желобчатых роликов с восприятием нагрузки от двух рулонов разной величины;
Фиг.1b – желобчатый ролик при виде сбоку с обозначенным воздействием нагрузки;
Фиг.2 – частичный вид желобчатого ролика в частичном разрезе в плоскости, параллельной центральной линии.
На фигурах видно, что рабочая поверхность 3 желобчатого ролика 1 выполнена с рядом примыкающих друг к другу оболочковых колец 4, которые охватывают сердечник 5 желобчатого ролика 1 и имеют разный диаметр. Посредством выступающих изнутри из сердечника 5 к оболочковым кольцам 4 подпружиненных опорных тел 6 рабочая поверхность 3 равномерно поддерживается. При этом линия 7 контактирования желобчатого ролика 1 нагружена по всей ее продольной протяженности L равномерным давлением прижима.
Опорные тела 6 выполнены на своих поверхностях контактирования с оболочковыми кольцами 4 бочкообразными в соответствии с внутренней окружностью последних. Каждое из этих опорных тел снабжено сзади пакетом тарельчатых пружин 8 с задаваемым усилием натяжения. Для достижения этого опорные тела 6 с заданным натяжением пружин зажаты в оболочковых кольцах 4.
Далее предусмотрено, что для компенсации рассчитываемого или вычисляемого по опыту, обусловленного нагрузкой прогиба желобчатого ролика 1 оболочковые кольца 4 выполнены с увеличенным наружным диаметром к его середине.
На фиг.1а изображены рулон 2 большего и рулон 2′ меньшего диаметров, опирающиеся на два желобчатых ролика 1,1′, установленных неподвижно на заданном расстоянии между их осями.
На фиг.1а видно, что кривизна поверхностей рулонов 2, 2′ значительно варьируется в зависимости от величины их диаметра. Уже частично размотанный рулон 2′ имеет между желобчатыми роликами 1, 1′ бóльшую кривизну своей поверхности между обоими роликами, тогда как рулон 2 существенно большего диаметра имеет более плоскую форму кривизны своей поверхности между обоими роликами 1, 1′. Также точки или линии контактирования смещены по отношению друг к другу.
На фиг.1b изображен вид сбоку желобчатого ролика 1 с равномерным распределением нагрузки по его длине в продольном направлении с отдельными нагрузочными усилиями, действующими на расположенные рядом друг с другом оболочковые кольца 4. Эти нагрузочные усилия вызывают согласно изобретению ограниченный прогиб желобчатого ролика 1, который, будучи обусловлен массой, проявляется при воздействии целого рулона сильнее, чем при почти размотанном рулоне. Посредством изображенных желобчатых роликов эти отличия могут быть компенсированы.
У примера на фиг.1а правый желобчатый ролик 1′ выполнен с электроприводом и изображен соответственно.
Фиг.2 показывает, что примыкающие друг к другу оболочковые кольца 4, имеющие небольшую разность диаметров с соответственно косой фаской, примыкают к соответственно соседнему оболочковому кольцу 4. Также его поверхности выполнены с незначительной бочкообразностью 9, которая, однако, не превышает величину разности диаметров.
На фиг.2 внизу в разрезе хорошо видно внутреннее строение желобчатого ролика 1 согласно изобретению. При этом оболочковые кольца 4 желобчатого ролика 1 охватывают массивный центральный вал 5. Он несет среднее кольцо 11 для размещения подпружиниваемых опорных тел 6 и внешнее ходовое кольцо 12 для восприятия нагрузки.
Благодаря этой конструкции желобчатого ролика 1 согласно изобретению неожиданно целесообразно и просто достигается то, что желобчатый ролик также приспосабливается к бочкообразному рулону, обеспечивает хорошее поддержание по ширине рулона и предотвращает возникновение нежелательных следов, особенно у тонких полос.
Перечень ссылочных позиций
1 – желобчатый ролик
2 – рулон
3 – рабочая поверхность
4 – оболочковое кольцо
5 – сердечник желобчатого ролика
6 – опорное тело
7 – линия контактирования
8 – тарельчатая пружина
9 – бочкообразность
10 – желобчатое углубление
11 – среднее кольцо.
Формула изобретения
1. Наматывающее устройство для катаной полосы, содержащее, по меньшей мере, один соединенный с приводом желобчатый ролик (1) для вращения рулона (2) при наматывании и разматывании катаной полосы и расположенный до или после моталки рольганг, отличающееся тем, что желобчатый ролик (1) снабжен упругодеформируемыми оболочковыми кольцами (4), при этом рабочая поверхность (3) желобчатого ролика (1) образована рядом примыкающих друг к другу оболочковых колец (4), которые охватывают сердечник (5) желобчатого ролика (1) и имеют разный диаметр, причем они равномерно поддерживаются подпружинеными изнутри к оболочковым кольцам (4) опорными телами (6) с возможностью нагружения поверхности (7) контактирования желобчатого ролика (1) с рулоном (2) по всей ее продольной протяженности (L) равномерным давлением.
2. Устройство по п.1, отличающееся тем, что опорные тела (6) выполнены бочкообразными на своих поверхностях контактирования в соответствии с внутренней окружностью оболочковых колец (4).
3. Устройство по любому из п.1 или 2, отличающееся тем, что каждое опорное тело (6) снабжено сзади пакетом тарельчатых пружин (8) с задаваемым усилием натяжения.
4. Устройство по любому из п.1 или 2, отличающееся тем, что опорные тела (6) с заданным натяжением пружин зажаты в оболочковых кольцах (4).
5. Устройство по любому из п.1 или 2, отличающееся тем, что для компенсации рассчитываемого или вычисляемого по опыту, обусловленного нагрузкой прогиба желобчатого ролика (1) оболочковые кольца (4) выполнены с увеличенным наружным диаметром к его середине.
6. Устройство по любому из п.1 или 2, отличающееся тем, что примыкающие друг к другу оболочковые кольца (4) снабжены косой фаской к соседним оболочковым кольцам (4).
7. Устройство по любому из п.1 или 2, отличающееся тем, что поверхности оболочковых колец (4) выполнены с небольшой бочкообразностью (9), которая не превышает величину разности их диаметров.
8. Устройство по любому из п.1 или 2, отличающееся тем, что каждые два желобчатых ролика (1,1′), располагаемых на задаваемом параллельном расстоянии между осями друг друга, взаимодействуют между собой для восприятия нагрузки от рулона (2).
9. Устройство по п.8, отличающееся тем, что, по меньшей мере, один желобчатый ролик (1) соединен с приводом вращения.
10. Устройство по любому из п.1 или 2, отличающееся тем, что желобчатый ролик (1) содержит массивный центральный вал (5), при этом на валу (5) предусмотрено среднее кольцо (11) для размещения подпружиненных опорных тел (6) и оболочковые кольца (4) с внешним ходовым кольцом (12) для восприятия нагрузки.
11. Устройство по любому из п.1 или 2, отличающееся тем, что образующаяся при взаимодействии с рулоном (2), в частности, вогнутая поверхность (7) контактирования выполнена с возможностью самопроизвольного приспосабливания к обычно бочкообразной периферии рулона (2) посредством упругоподпружиненных оболочковых колец (4).
РИСУНКИ
|