|
|
(21), (22) Заявка: 2007100774/12, 09.01.2007
(24) Дата начала отсчета срока действия патента:
09.01.2007
(46) Опубликовано: 10.10.2008
(56) Список документов, цитированных в отчете о поиске:
RU 2262392 C1, 20.10.2005. RU 2196010 C2, 10.01.2005. SU 676147 A, 25.07.1979. SU 788509 A1, 30.10.1992. DE 2818304 A1, 16.11.1978. EP 0282310 A2, 14.09.1988.
Адрес для переписки:
656038, Алтайский край, г.Барнаул, пр. Ленина, 46, АлтГТУ, ОИПС
|
(72) Автор(ы):
Галышкин Николай Васильевич (RU), Коротких Владимир Михайлович (RU)
(73) Патентообладатель(и):
Государственное образовательное учреждение высшего профессионального образования “Алтайский государственный технический университет им. И.И. Ползунова” (АлтГТУ) (RU)
|
(54) УСТАНОВКА ПЛАЗМЕННОГО НАПЫЛЕНИЯ
(57) Реферат:
Установка относится к плазменному нанесению покрытий из порошковых материалов на рабочие поверхности различных изделий для придания этим поверхностям заданных свойств. В корпусе размещены катод и анод, имеющий сквозное отверстие, симметричное относительно оси корпуса. Основной источник электрического питания подключен к катоду и аноду. Система подачи плазмообразующего газа выполнена в виде отверстий, расположенных вокруг катода в держателе катода. Система подачи напыляемого порошкового материала также выполнена в виде отверстий и расположена в стенке сопла. Сопло установлено последовательно с анодом и шайбой из жаропрочного материала с образованием цилиндрического канала транспортировки плазмы к системе подачи напыляемого порошкового материала. Сопло связано с анодом дополнительного источника электрического питания, катод которого предназначен для присоединения к напыляемой поверхности. Использование изобретения способствует повышению качества напыляемого покрытия и снижению потерь порошкового материала. 1 ил.
Изобретение относится к устройствам плазменного нанесения покрытий из порошковых материалов на рабочие поверхности различных изделий для придания этим поверхностям заданных свойств.
Известна установка плазменного напыления, содержащая основной и дополнительный источники электрического питания, корпус с катодом и анодом, имеющим сквозное отверстие, симметричное относительно оси корпуса, системы подачи плазмообразующего газа и подачи напыляемого порошкового материала, выполненные в виде отверстий, расположенных вокруг катода в держателе катода, шайбу из жаропрочного материала. Анод подключен к основному источнику электрического питания, а катод – к дополнительному источнику электрического питания, в свою очередь связанному с основным источником электрического питания. Шайба электрически соединена с анодом и установлена последовательно с ним с образованием электрического канала транспортировки плазмы и порошкового материала из области электрического разряда к напыляемой поверхности. В качестве плазмообразующего газа использован воздух (патент RU 2196010, МПК7 В05В 7/22).
Недостатком описанной установки плазменного напыления является неудовлетворительное качество получаемого покрытия и большие потери порошкового материала. Неудовлетворительное качество покрытия обусловлено неоднородностью напыляемой смеси плазмообразующего газа и порошкового материала, получаемой в условиях больших градиентов температур в области электрического разряда и поступления порошкового материала, то есть в условиях неоднородного и неравномерного нагрева порошкового материала в области электрического разряда. Большие потери порошкового материала обусловлены его оседанием на стенках корпусов в области электрического разряда и генерации плазмы, а также на внутренних поверхностях установки при дальнейшей транспортировке смеси плазмообразующего газа и порошкового материала.
Известна установка плазменного напыления, выбранная в качестве наиболее близкого аналога, содержащая основной источник электрического питания, корпус с катодом и анодом, имеющим сквозное отверстие, системой подачи плазмообразующего газа, выполненной в виде отверстий, расположенных вокруг катода в держателе катода, шайбу из жаропрочного материала, систему подачи напыляемого порошкового материала, выполненную в виде отверстий, сопло, установленное последовательно с анодом и шайбой с образованием цилиндрического канала транспортировки плазмы к системе подачи порошкового материала, расположенной в стенке сопла. Катод и анод подключены к основному источнику электрического питания. Отверстие анода размещено симметрично относительно оси корпуса (патент RU 2262392, МПК7 В05В 7/22).
Недостатком этой установки является пониженное качество нанесенного покрытия и повышенные потери порошкового материала вследствие неравномерности напыления, обусловленной не достаточно высокой скоростью истечения из сопла напыляемой смеси.
Задачей изобретения является повышение качества напыляемого покрытия и снижение потерь порошкового материала.
Эта задача решается тем, что в установке плазменного напыления, содержащей основной источник электрического питания, корпус с катодом и анодом, имеющим сквозное отверстие, системой подачи плазмообразующего газа, выполненной в виде отверстий, расположенных вокруг катода в держателе катода, шайбу из жаропрочного материала, систему подачи напыляемого порошкового материала, выполненную в виде отверстий, сопло, установленное последовательно с анодом и шайбой с образованием цилиндрического канала транспортировки плазмы к системе подачи напыляемого порошкового материала, расположенной в стенке сопла, причем катод и анод подключены к основному источнику электрического питания, а отверстие анода размещено симметрично относительно оси корпуса, согласно изобретению сопло связано с анодом дополнительного источника электрического питания, катод которого предназначен для присоединения к напыляемой поверхности.
Повышение качества покрытия, получаемого посредством предложенной установки плазменного напыления, и снижение потерь порошкового материала достигаются за счет повышения скорости истечения из сопла образовавшейся напыляемой смеси, причем ионизация этой смеси позволяет улучшить равномерность напыления и сократить потери порошкового материала вследствие создания разности потенциалов между напыляемым порошковым материалом и напыляемой поверхностью благодаря введению дополнительного источника питания, анод которого присоединен к соплу, а катод предназначен для подсоединения к напыляемой поверхности.
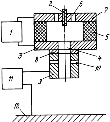
Изобретение поясняется чертежом, на котором изображен общий вид установки плазменного напыления.
Установка плазменного напыления содержит основной источник 1 электрического питания, катод 2 и анод 3 со сквозным отверстием 4. Катод 2 и анод 3 размещены в корпусе 5 и подключены к основному источнику 1 электрического питания. Отверстие 4 анода 3 симметрично относительно оси корпуса 5. В корпусе 5 расположена и система подачи плазмообразующего газа, выполненная в виде отверстий 6, размещенных вокруг катода 2 и держателя катода 7. Последовательно с анодом 3 и шайбой 8, выполненной из жаропрочного электрически изолирующего материала, установлено сопло 9 с образованием цилиндрического канала транспортировки плазмы к системе подачи напыляемого порошкового материала, выполненной в виде отверстий 10 и расположенной в боковой стенке сопла 9. Анод дополнительного источника 11 электрического питания присоединен к соплу 9, а катод дополнительного источника 11 электрического питания предназначен для присоединения к напыляемой поверхности 12.
Предлагаемая установка плазменного напыления работает следующим образом.
Основной источник 1 электрического питания инициирует электрический межэлектродный дуговой разряд между катодом 2 и анодом 3. При этом одновременно через отверстия 6 осуществляется подача плазмообразующего газа. Мощность дугового разряда зависит от свойств напыляемого порошкового материала, напыляемой поверхности, расхода плазмообразующего газа и других факторов. Плазмообразующий газ в виде ионизированной плазменной струи проходит через отверстие 4 в аноде 3 и через отверстие шайбы 8 попадает в сопло 9, где захватывает порошковый материал, поступающий через отверстия 10, выполненные в стенке сопла 9. Отверстия анода 3, шайбы 8 и сопла 9 образуют цилиндрический канал транспортировки плазмы. Плазма локализуется в объеме канала транспортировки плазмы, который обеспечивает обмен энергией между составляющими плазменного потока и порошковым материалом, способствует равномерной подаче порошкового материала во все области плазменного потока, концентрирует и направляет энергию плазменного потока в направлении напыляемой поверхности 12. Разность потенциалов между ионизированной плазмой и напыляемой поверхностью 12, благодаря введению дополнительного источника 11 электрического питания, приводит к существенному ускорению плазменного потока в направлении обрабатываемой детали, на поверхность 12 которой наносится покрытие. В связи с этим достигается более прочное сцепление напыляемого порошкового материала с напыляемой поверхностью 12; частицы плазмы, имеющие одноименный заряд, равномернее распределяются по напыляемой поверхности 12, и за счет сил притяжения разноименных зарядов напыляемый порошковый материал полностью осаждается на напыляемой поверхности 12.
Таким образом, предложенное изобретение позволяет повысить качество напыляемого покрытия и уменьшить потери порошкового материала.
Формула изобретения
Установка плазменного напыления, содержащая основной источник электрического питания, корпус с катодом и анодом, имеющим сквозное отверстие, системой подачи плазмообразующего газа, выполненной в виде отверстий, расположенных вокруг катода в держателе катода, шайбу из жаропрочного материала, систему подачи напыляемого порошкового материала, выполненную в виде отверстий, сопло, установленное последовательно с анодом и шайбой с образованием цилиндрического канала транспортировки плазмы к системе подачи порошкового материала, расположенной в стенке сопла, причем катод и анод подключены к основному источнику электрического питания, а отверстие анода размещено симметрично относительно оси корпуса, отличающаяся тем, что сопло связано с анодом дополнительного источника электрического питания, катод которого предназначен для присоединения к напыляемой поверхности.
РИСУНКИ
|
|