|
|
(21), (22) Заявка: 2004133327/15, 12.04.2002
(24) Дата начала отсчета срока действия патента:
12.04.2002
(43) Дата публикации заявки: 10.09.2005
(46) Опубликовано: 10.10.2008
(56) Список документов, цитированных в отчете о поиске:
JP 2001321697 А, 20.11.2001. US 4052303 А, 04.10.1977. US 4997575 А, 05.03.1991.
(85) Дата перевода заявки PCT на национальную фазу:
12.11.2004
(86) Заявка PCT:
US 02/11318 (12.04.2002)
(87) Публикация PCT:
WO 03/086571 (23.10.2003)
Адрес для переписки:
119034, Москва, Пречистенский пер., 14, стр.1, 4 этаж, “Гоулингз Интернэшнл Инк.”, В.Н.Дементьеву
|
(72) Автор(ы):
ЮН Рое-Хоан (US), АСМАТУЛУ Рамазан (US)
(73) Патентообладатель(и):
ВИРГИНИА ТЕК ИНТЕЛЛЕКЧУАЛ ПРОПЕРТИЗ, ИНК. (US)
|
(54) СПОСОБЫ УЛУЧШЕНИЯ ЦЕНТРОБЕЖНОЙ ФИЛЬТРАЦИИ
(57) Реферат:
Изобретение относится к способам повышения эффективности разделения твердой и жидкой фаз в ходе центробежной фильтрации, проводимой в резервуаре (1) для центробежной фильтрации. Эти способы заключаются в увеличении перепада давлений через фильтровальный осадок (6) с использованием внешнего воздействия, такого как введение газа через впускную трубу (9) для сжатого воздуха, чтобы увеличить давление газа внутри фильтровальной камеры, и/или приложение вакуума к внешней стороне фильтровальной камеры. Внешнее средство увеличения перепада давлений спроектировано таким образом, чтобы увеличивать скорость удаления воды во время периода дренирования при центробежной фильтрации и, следовательно, понижать количество остаточной воды. Техническим результатом является существенное снижение влажности отфильтрованного осадка за счет синергетического эффекта, которым обладает предлагаемый способ. 3 н. и 13 з.п. ф-лы, 2 ил., 12 табл.
Центробежные фильтры широко используют для разделения твердой и жидкой фаз различных порошковых материалов. В угольной и горнодобывающей промышленности производят разделение одного типа порошкового материала от другого с использованием различных способов разделения твердой и жидкой фаз. Так как разделение обычно проводят в водной среде, необходимо производить обезвоживание (осушение) продуктов перед тем, как отправлять их потребителям или направлять на дополнительную обработку. В угольной промышленности используют корзиночные центрифуги для обезвоживания частиц, размер которых ориентировочно превышает 1 мм, в то время как более мелкие частицы обезвоживают при помощи центрифуг с сетчатым барабаном. Последние позволяют обеспечить значительно меньшую влажность частиц, чем традиционные вакуумные фильтры, в частности за счет потери мелких частиц фильтрата в ходе фильтрации. Вообще говоря, влажность обезвоженного продукта возрастает при снижении размера частиц за счет увеличения площади поверхности. Следовательно, устранение самых мелких частиц фильтрата помогает уменьшить влажность обезвоженного продукта; однако при этом происходит потеря ценного продукта, что нежелательно.
В том случае, когда водную суспензию частиц вводят в центрифугу с разовой загрузкой, стенка которой изготовлена из пористого материала, более тяжелые твердые частицы быстро осаждаются на этом материале и образуют осадок, в то время как более легкая вода образует слой поверх этого осадка. Если продолжить центрифугирование, то вода начинает просачиваться через осадок. Начальный процесс обезвоживания, в котором вода протекает через осадок, в то время как осадок покрыт слоем воды, называют фильтрацией. Со временем слой воды исчезает с поверхности осадка, и капилляры в осадке становятся насыщенными водой. Процесс обезвоживания, который протекает, когда нет воды поверх осадка, называют дренированием. По причинам, которые приведены здесь ниже, процесс дренирования протекает намного медленнее, чем процесс фильтрации. Управление скоростью дренирования является критическим для контроля окончательной влажности осадка.
Скорость дренирования через осадок можно прогнозировать по закону Дарси:

где Q представляет собой скорость потока, К – проницаемость осадка, Р – перепад давлений через осадок, А – область фильтрации, – динамическую вязкость воды и L – толщину осадка. В ходе фильтрации перепад давлений через осадок может быть определен в соответствии со следующим выражением:

где представляет собой плотность жидкости, -угловую скорость, а rо и rs представляют собой радиальные расстояния свободной воды и поверхности осадка от оси вращения центрифуги соответственно. Из выражений [1] и [2] можно сделать вывод о том, что скорость фильтрации будет возрастать при увеличении и толщины слоя воды (rs-rо) поверх фильтровального осадка.
В соответствии с выражением [2] Р становится равно нулю, когда вода поверх осадка исчезает, то есть rо=rs. По мере дальнейшего снижения уровня воды в осадке, то есть при rо>rs, давление в осадке становится ниже давления окружающей среды, как это показано в математической модели, приведенной в публикации Zeitsch (in Solid-liquid Separation, 3rd Edition, edited by L.Svarovsky, Buttreworth, London, 1990. P.476). Расчеты в соответствии с этой моделью показывают, что давление в осадке становится все более отрицательным при возрастании толщины осадка.
Несмотря на отсутствие положительного перепада давлений в осадке, обезвоживание во время периода дренирования протекает, поскольку центробежная сила в осадке превышает сумму сил, удерживающих воду в капиллярах, сил, созданных за счет отрицательного давления, и сил, вызванных гидродинамическим сопротивлением. Процесс дренирования, который основан исключительно на использовании центробежной силы, связан с большим потреблением энергии и требует больших эксплуатационных расходов для получения низкой влажности осадка. Таким образом, высокое потребление энергии и большие эксплуатационные расходы являются главными недостатками при использовании центробежных фильтров для разделения твердой и жидкой фаз. В соответствии с настоящим изобретением предлагаются способы решения этих проблем. Эти способы предусматривают увеличение газового давления внутри центрифуги и/или снижение воздушного давления вне нее. Такие технические решения направлены на увеличение перепада давлений через фильтровальный осадок, так как в соответствии с законом Дарси [1] скорость обезвоживания возрастает при возрастании перепада давлений. Внешние способы увеличения перепада давлений в соответствии с настоящим изобретением являются особенно полезными для повышения скорости обезвоживания во время периода дренирования, которая является критической для достижения низкой влажности осадка. Способы, раскрытые в настоящем изобретении, позволяют получать низкую влажность осадка без излишнего потребления энергии и больших эксплуатационных расходов.
В патентах США №№3,943,056 и 4,052,303 раскрыт способ создания отрицательного давления на внешней стенке центрифуги, за счет чего можно увеличить скорость фильтрации. Это реализовано за счет создания камеры снаружи от фильтрующей среды, в которой собирают воду фильтрата. Так как вода в этой камере подвергается воздействию более значительной центробежной силы, чем вода, остающаяся в осадке, то создается отрицательное (или вакуумное) давление за счет сифонного эффекта. Поэтому указанный способ называют способом с использованием вращающегося сифона. Однако эффективность этого способа уменьшается при поступлении воздуха в камеру фильтрата через фильтровальный осадок. Это не позволяет иметь достаточно продолжительный период дренирования, что часто необходимо для обеспечения низкой влажности осадка.
В патенте США №4,997,575 описан способ использования вращающихся сифонов в напорном кожухе с давлением выше атмосферного, которое контролируется за счет разности уровней жидкости фильтрата в камере жидкости фильтрата и в кольцевом пространстве вокруг фильтра. Такой контроль жидкости предотвращает проникновение жидкости фильтрата в линию выпуска газа.
В патентах США №№5,771,601 и 5,956,854 описан способ вдувания потока газа, такого как воздух, в слой частиц в ходе центрифугирования, за счет чего снижается поверхностная влажность частиц. Турбулентное течение, созданное потоком газа, снимает слой воды с поверхности частиц. Такой способ полезен для частиц в диапазоне размеров от 0.5 до 30 мм, которые обезвоживают в корзиночных центрифугах. В соответствии с этими патентами поток газа вдувают в открытое пространство. Следовательно, он не может существенно увеличить перепад давлений через слой частиц. Кроме того, достаточно трудно увеличить перепад давлений, когда осадок непрерывно перемешивается при помощи шнека, который широко используется для перемешивания частиц в корзиночных центрифугах. Более того, в этом случае воздушный поток создается скорее при помощи воздуходувки, а не компрессора, что затрудняет создание высокого перепада давлений через фильтровальный осадок.
Краткое изложение изобретения
В соответствии с приведенными здесь выше теоретическими соображениями скорость обезвоживания является низкой во время периода дренирования при центробежной фильтрации, что может быть связано с отсутствием положительного перепада давлений через фильтровальный осадок. Эта проблема может быть решена за счет увеличения перепада давлений с использованием внешнего средства, например, такого, которое позволяет увеличить давление газа внутри центробежного фильтра и/или понизить давление газа (воздуха) снаружи. Было обнаружено, что такие меры существенно повышают скорость дренирования и, следовательно, снижают влажность осадка.
В соответствии с настоящим изобретением предлагаются способы объединения обычной центробежной фильтрации с фильтрацией с использованием давления и/или вакуума. Однако снижение влажности, которое можно достичь за счет использования объединенного способа, существенно выше, чем сумма снижения влажностей, которая может быть получена при отдельном использовании различных способов обезвоживания. Таким образом, объединенный способ обладает синергетическим эффектом. Несмотря на то, что увеличение скорости дренирования, достигаемое при помощи внешнего средства увеличения перепада давлений, может служить объяснением наблюдаемого улучшения обезвоживания, имеются и другие механизмы, которые отвечают за синергизм.
В номинальном режиме работы суспензия поступает в центрифугу корзиночного типа, боковая стенка которой изготовлена из пористого материала (например, из сетки, пористого (спеченного) стекла, спеченной керамики, металлокерамики или фильтровальной ткани, натянутой на сетку). Верхняя часть и дно центрифуги изготовлены из сплошного материала (материалов), так что воздух, введенный в резервуар центробежного фильтра, может выходить только через пористую боковую стенку. Центрифуга может быть установлена вертикально, горизонтально, перевернута вверх дном или установлена с поворотом на любой угол, так как сила тяготения ничтожно мала по сравнению с центробежной силой. Питающая суспензия может быть введена как разведенная суспензия или как сгущенная суспензия (пульпа).
Центрифуга может работать как блок разделения твердой и жидкой фаз, работающий при одноразовой загрузке или в непрерывном режиме. При работе с одноразовой загрузкой частицы в суспензии быстро образуют осадок поверх пористого материала и жидкость (вода) начинает протекать через осадок. Скорость протекания воды через осадок является высокой, когда осадок покрыт слоем воды, так как перепад давлений через осадок является положительным в соответствии с выражением [2]. Когда слой воды исчезает с поверхности осадка, то есть при rs=ro, перепад давлений становится равным нулю, что приводит к снижению скорости дренирования. Однако вода продолжает протекать через осадок и в таких условиях, поскольку центробежная сила в осадке превышает сумму капиллярной силы, которая удерживает воду на стенке капилляра, и гидродинамической силы лобового сопротивления. Предлагаемые в соответствии с настоящим изобретением решения, то есть увеличение перепада давлений при помощи внешнего средства, позволяют увеличить скорость дренирования и, следовательно, снизить влажность осадка.
В соответствии с первым вариантом осуществления настоящего изобретения давление внутри резервуара центробежного фильтра повышают за счет введения потока сжатого воздуха. Это будет увеличивать перепад давлений через фильтровальный осадок и, следовательно, увеличивать скорости фильтрации и дренирования. Реальное преимущество использования сжатого воздуха проявляется во время периода дренирования. Как уже было упомянуто ранее, давление внутри осадка становится равным нулю или становится отрицательным в зависимости от толщины осадка и угловой скорости. Приложенное давление воздуха будет создавать четкий положительный перепад давлений, который существенно повышает скорость дренирования и снижает конечную влажность осадка.
В соответствии с другим вариантом осуществления настоящего изобретения перепад давлений через фильтровальный осадок увеличивают за счет приложения давления вакуума к внешней стенке описанного выше центробежного фильтра.
В соответствии с еще одним вариантом осуществления настоящего изобретения вводят сжатый воздух внутрь резервуара центробежного фильтра и одновременно прикладывают вакуум с наружной стороны. Однако такой способ может быть использован только в случаях обезвоживания материалов, трудных для обработки. Способ с использованием только сжатого воздуха или только вакуумного давления может быть достаточен для обезвоживания самой разной угольной мелочи и рудной мелочи, что показано в примерах, приведенных в описании изобретения.
В соответствии с еще одним вариантом осуществления настоящего изобретения повышают гидрофобность порошковых материалов для того, чтобы увеличить скорость дренирования во время центробежного обезвоживания. В соответствии с уравнением Лапласа повышение гидрофобности приводит к снижению капиллярного давления, что помогает повысить скорость дренирования. Это особенно важно для материалов с затрудненным обезвоживанием, таких как осажденный карбонат кальция (РСС).
Способ увеличения перепада давлений через осадок с использованием внешнего воздействия в соответствии с настоящим изобретением имеет преимущества по сравнению со способом использования вращения сифонов, которые заключаются в том, что увеличенный перепад давлений сохраняется в течение всего периода дренирования. Напротив, способ с использованием вращения сифонов прекращает работать как только воздух начинает проходить через осадок. Обычно считают, что фильтровальный осадок имеет капилляры с различными диаметрами. Вода из более крупных капилляров удаляется легче, чем из более мелких капилляров. Следовательно, воздух начинает проходить через осадок очень быстро, используя крупные капилляры, что сводит на нет перепад давлений, созданный за счет вращения сифонов. Это создает трудности при удалении воды из мелких капилляров. С другой стороны, способ приложения воздушного давления или вакуумного давления в соответствии с настоящим изобретением является эффективным в течение всего периода дренирования. Это создает возможности для удаления воды, захваченной в мелких капиллярах, что приводит к снижению влажности осадка.
Краткое описание чертежей
Концепция изобретения и варианты его осуществления будут более ясны из последующего детального описания, данного в качестве примера, не имеющего ограничительного характера и приведенного со ссылкой на сопроводительные чертежи, на которых показаны лабораторные центробежные фильтры.
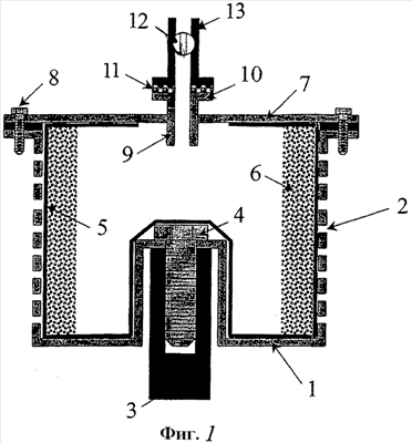
На фиг.1 схематично показан резервуар центробежного фильтра, который был использован в испытаниях на обезвоживание при одноразовой загрузке в условиях приложения давления воздуха.
На фиг.2 схематично показан центробежный фильтр, который был использован в испытаниях на фильтрацию при одноразовой загрузке в условиях приложения воздушного давления и/или вакуума.
Подробное описание предпочтительных вариантов
Далее будут описаны варианты осуществления настоящего изобретения в лабораторных экспериментах. Испытания были проведены с использованием угольной суспензии и рудной суспензии (суспензии минералов), полученной из работающих шахт. Ранее проведения серии экспериментов на обезвоживание полученную суспензию подвергали безнапорной фильтрации с использованием широкой разделительной воронки. Эта процедура аналогична процессу сгущения, который протекает в секции отстойника сетчатой барабанной центрифуги. Сгущенная суспензия (пульпа), которая имеет влажность от 40 до 45% в случае угольной мелочи и от 20 до 72% в случае рудной мелочи и пигментов, была использована в качестве сырья в лабораторных испытаниях на центробежную фильтрацию.
На фиг.1 показан резервуар 1 для центробежной фильтрации, который был использован для проведения испытаний на фильтрацию, в условиях приложения давления воздуха. Резервуар 1 изготовлен из нержавеющей стали и имеет внутренний диаметр 3.4 дюйма и высоту 3 дюйма. Он был помещен вертикально внутри центрифуги, которая позволяет регулировать скорость вращения резервуара. Боковая стенка резервуара была изготовлена из перфорированного листа из нержавеющей стали, имеющего круглые отверстия 2 с размерами 1/8, 3/32 и 1/16 дюйма. Резервуар был закреплен на роторе 3 центрифуги при помощи винта 4. Фильтровальная ткань 5 была помещена внутри резервуара 1 плотно по его контуру. Сгущенная суспензия была нанесена в виде пасты (намазана) на фильтровальную ткань 5 и боковую стенку резервуара фильтра, при этом образуется осадок 6. Резервуар фильтра закрыт крышкой 7, которая закреплена на корпусе резервуара 1 при помощи винтов 8. В центре крышки 7 предусмотрено отверстие для подключения впускной трубы 9 для ввода сжатого воздуха. Эта труба заканчивается плоско отполированной поверхностью 10. Соединитель 11 с двойным подшипником был использован для подключения впускной трубы 9 сжатого воздуха к внешней линии 12 сжатого воздуха, которая снабжена клапаном 13 включения и выключения. Несмотря на то что это и не показано на фиг.1, в линии 12 установлены также расходомер воздуха и манометр.
На фиг.2 показано устройство, которое было использовано для проведения испытаний на фильтрацию в условиях приложения давления сжатого воздуха и/или давления вакуума. В этих экспериментах был использован резервуар 1 центробежного фильтра, описанный здесь выше и показанный на фиг.1. После нанесения пасты сгущенной суспензии на фильтрующий материал, аналогичный описанному здесь выше со ссылкой на фиг.1, вакуумная камера 14 была установлена поверх резервуара 1 центробежного фильтра. Камера 14 была герметизирована от окружающей среды при помощи резиновой прокладки 15 и плиты основания 16, стянутой с вакуумной камерой 14 при помощи винтов 17. Затем вакуумная камера была подключена к вакуумному насосу при помощи трубы 18 и герметично установлена на роторе 3 при помощи уплотнения 19 на шарикоподшипниках.
Испытания на центробежное обезвоживание были проведены с использованием изменения центробежной силы, воздушного давления, вакуумного давления, толщины осадка и времени вращения (или времени центрифугирования). Центробежную силу изменяли за счет изменения скорости вращения (или угловой скорости, ) резервуара фильтра, которая связана с ускорением свободного падения g в соответствии со следующим выражением:

где r представляет собой радиус резервуара для центробежного обезвоживания. Толщину осадка измеряли после каждого эксперимента. Затем осадок извлекали из резервуара фильтра, взвешивали, сушили в обычной печи для сушки при температуре 105°С в течение ночи и затем опять взвешивали, чтобы определить остаточную влажность в осадке.
Пример 1
Смесь концентрата, обогащенного на винтовых сепараторах, и продукта флотации получали в виде влажной суспензии в сосуде емкостью 5 галлонов с завода в Питтсбурге (США), где производили очистку угольного пласта. Представительную порцию суспензии отделяли и фильтровали самотеком на фильтровальной бумаге грубой очистки. Сгущенную пробу, которая имеет 35.9% влаги, наносили в виде пасты (намазывали) на фильтровальную ткань, помещенную внутри лабораторного центробежного фильтра, показанного на фиг.1. Измеренная после проведения центрифугирования толщина фильтровального осадка составила 0.7 дюйма. Испытания проводили при различных скоростях вращения, временах вращения и воздушных давлениях.
Таблица 1 содержит результаты, полученные для образца из угольного пласта в Питтсбурге (США), при 2000 G. Вообще говоря, влажность осадка снижается при увеличении времени вращения. В контрольных экспериментах, в которых не прикладывали воздушного давления, влажность снижалась от 35.9 до 21.0% по истечении 150 сек времени вращения. Когда эксперименты на центробежную фильтрацию проводили с приложением воздушного давления, то влажность снижалась в большей степени. При 100, 200 и 300 кПа воздушного давления по истечении 150 сек времени вращения влажность осадка снижалась соответственно до 12.1, 9.9 и 9.3%.
| Таблица 1 |
| Результаты, полученные для образца из угольного пласта в Питтсбурге (США), с использованием различных воздушных давлений при 2000 G |
| Влажность осадка (вес.%) |
| Давление воздуха (кПа) |
| Время вращения (сек) |
|
|
|
|
| |
нет |
100 |
200 |
300 |
| 0 |
35.9 |
35,9- |
35.9 |
35.9 |
| 30 |
22.5 |
15.3 |
14.2 |
13.5 |
| 60 |
21.3 |
13.9 |
12.5 |
11.3 |
| 90 |
21.1 |
13.2 |
11.5 |
10.4 |
| 120 |
21.0 |
12.4 |
10.6 |
9.5 |
| 150 |
20.6 |
12.1 |
9.9 |
9.3 |
Пример 2
В этом примере производили просеивание образца из угольного пласта в Питтсбурге (США) Примера 1 через сито 200 меш и фракцию (-0.074 мм ×0) использовали для экспериментов на центробежную фильтрацию. В таблице 2 приведены результаты, полученные за счет изменения воздушного давления и времени вращения, при 2000 G и толщине осадка 0.5 дюйма. Снижение влажности в контрольном эксперименте было незначительным из-за малого размера частиц. По истечении 30 секунд вращения влажность снижалась от 42.3 до 37.1%, причем влажность дополнительно существенно не снижается при увеличении времени вращения. Однако при приложении воздушного давления удается дополнительно снизить влажность осадка. Степень снижения влажности за счет использования сжатого воздуха увеличивается при увеличении воздушного давления и времени вращения. При воздушном давлении 400 кПа и времени вращения 150 сек влажность осадка снижалась до такого низкого значения, как 16.8%.
| Таблица 2 |
| Результаты, полученные для мелкого (-0.074 мм) образца из угольного пласта в Питтсбурге (США), при 2000 G и толщине осадка 0.5 дюйма |
| Влажность осадка (вес.%) |
| Давление воздуха (кПа) |
| Время вращения (сек) |
|
|
|
|
|
| |
нет |
100 |
200 |
300 |
400 |
| 0 |
42.3 |
42.3 |
42.3 |
42.3 |
42.3 |
| 30 |
37.1 |
31.9 |
27.6 |
24.5 |
22.5 |
| 60 |
36.9 |
31.2 |
24.6 |
21.2 |
19.7 |
| 90 |
36.7 |
30.2 |
23.8 |
20.2 |
18.4 |
| 120 |
36.6 |
29.7 |
23.0 |
19.1 |
17.8 |
| 150 |
36.5 |
28.5 |
.5 |
18.8 |
16.8 |
Пример 3
Продукт флотации, полученный из флотационной колонки Microcel на обогатительной фабрике угля в Middle Fork, Virginia (США), был просеян через сито 400 меш для удаления частиц мельче чем 0.038 мм, и фракция (-0.3+0.038 мм) была использована для проведения испытаний на центробежную фильтрацию при 2500 G и толщине осадка 0,5 дюйма. В таблице 3 приведены результаты, полученные за счет изменения воздушного давления и времени вращения. Снижение влажности в контрольном эксперименте составило от 41.1 до 25.0% по истечении 150 секунд вращения. Влажность осадка, полученная по истечении 30 секунд вращения, составила 27.5%. Таким образом, центробежная фильтрация без приложения воздушного давления не является эффективной для снижения остаточной влажности, даже после обесшламливания. Однако, когда используют сжатый воздух, удается понизить влажность осадка до уровня менее 10%. При воздушном давлении 250 кПа и времени вращения 150 сек влажность осадка снижалась до такого низкого значения, как 3.9%.
| Таблица 3 |
Результаты, полученные для флотационного продукта Microcel после обесшламливания, при 2500 G и переменном воздушном давлении |
| Влажность осадка (вес.%) |
| Время вращения (сек) |
Нет |
Давление воздуха (кПа) |
| 50 |
150 |
250 |
| 0 |
41.1 |
41.1 |
41.1 |
41.1 |
| 30 |
27.5 |
12.2 |
10.0 |
9.1 |
| 60 |
26.2 |
10.9 |
8.0 |
7.1 |
| 90 |
25.9 |
8.9 |
7.1 |
6.1 |
| 120 |
25.4 |
8.0 |
6.3 |
4.6 |
| 150 |
25.0 |
7.6 |
6.0 |
3.9 |
Пример 4
Концентрат бленды, полученный при помощи флотации на действующей обогатительной фабрике, был использован для испытаний на центробежную фильтрацию в соответствии с настоящим изобретением. Проба концентрата бленды (0.15 мм ×0) была осушена до влажности 20.3% ранее проведения испытаний на центробежную фильтрацию, проводимых при 2000 G и толщине осадка 0.62 дюйма. Результаты, приведенные в таблице 4, показывают, что влажность осадка была снижена до 3.3% при воздушном давлении 300 кПа и времени вращения 120 сек. По истечении 30 секунд вращения при воздушном давлении 100 кПа влажность снижалась до 7.2%, что достаточно для практического применения.
| Таблица 4 |
| Результаты, полученные для концентрата бленды, при 2000 G и толщине осадка 0.62 дюйма |
| Влажность осадка (вес.%) |
| Время вращения (сек) |
Давление воздуха (кПа) |
| |
нет |
50 |
100 |
200 |
300 |
| 0 |
20.3 |
20.3 |
20.3 |
20.3 |
20.3 |
| 30 |
13.2 |
8.4 |
7.2 |
5.8 |
5.0 |
| 60 |
13.1 |
8.1 |
6.5 |
4.7 |
4.2 |
| 90 |
12.8 |
7.2 |
6,1 |
4.5 |
3.5 |
| 120 |
12.4 |
7.1 |
5.9 |
4.2 |
3.3 |
Пример 5
В таблице 5 приведены результаты испытаний на центробежную фильтрацию, проведенных с использованием образца концентрата халькопирита (0.15 мм ×0), полученного с действующей обогатительной фабрики. Испытания проводили при 2000 G и при толщине осадка 0.7 дюйма. Испытания, проведенные без использования воздушного давления, позволяют снижать влажность осадка от 22.9 до 14.1% после 90 секунд центрифугирования. Увеличение времени вращения не приводит к существенному дополнительному снижению влажности. Однако за счет приложения воздушного давления удается получить весьма низкие влажности осадка. При воздушном давлении 100 кПа влажность снижается до 6.9% по истечении всего только 30 секунд времени вращения.
| Таблица 5 |
| Результаты, полученные для концентрата халькопирита, при 2000 G и толщине осадка 0,7 дюйма |
| Влажность осадка (вес.%) |
| Время вращения (сек) |
Давление воздуха (кПа) |
| |
нет |
50 |
100 |
200 |
300 |
| 0 |
22.9 |
22.9 |
22.9 |
22.9 |
22.9 |
| 30 |
15.1 |
9.5 |
6.9 |
6.1 |
6.0 |
| 60 |
14.5 |
9.0 |
5.8 |
5.1 |
4.9 |
| 90 |
14.1 |
8.4 |
5.7 |
4.6 |
4.1 |
| 120 |
14.0 |
8.0 |
5.5 |
4.0 |
3.1 |
| 150 |
13.9 |
7.8 |
5.1 |
3.6 |
2.5 |
Пример 6
Одним из самых трудных для обезвоживания материалов является мелкий (95% мельче чем 2 мкм) каолин из восточной Джорджии (США). Производили обезвоживание образца до 62% влажности за счет сгущения в присутствии 300 г/ Т Super Ploc 214, после чего проводили эксперименты на центробежную фильтрацию при 2000 G и толщине осадка 0.4 дюйма. Полученные результаты приведены в таблице 6. При отсутствии воздушного давления влажность снижалась до 47.9% после 210 секунд вращения. При воздушном давлении 600 кПа и 210 секундах вращения влажность осадка снижалась до 25.7%. Несмотря на то, что давление является высоким, скорость потока воздуха составляет всего только 2 scfm (стандартных фута в минуту). Такая низкая полученная влажность позволяет исключить необходимость проведения распылительной сутки, которая является дорогостоящей.
| Таблица 6 |
| Результаты, полученные для каолина из восточной Джорджии (США), при 2000 G и толщине осадка 0.4 дюйма |
| Влажность осадка (вес.%) |
| Время вращения (сек) |
Давление воздуха (кПа) |
| Нет |
150 |
300 |
450 |
600 |
| 0 |
62.0 |
62.0 |
62.0 |
62.0 |
62.0 |
| 30 |
52.1 |
43.2 |
40.8 |
38.5 |
34.6 |
| 90 |
50.3 |
39.1 |
35.6 |
34.4 |
31.3 |
| 150 |
48.4 |
35.4 |
32.5 |
30.1 |
28.9 |
| 210 |
47.9 |
33.6 |
30.1 |
27.6 |
25.7 |
Пример 7
Осажденный карбонат кальция (РСС) является другим материалом, трудным для обезвоживания. В этом Примере был использован образец РСС-2 мкм для проведения испытаний на центробежную фильтрацию. Регулировали рН до значения 9.5 за счет введения извести перед тем, как добавить небольшое количество (500 г/ Т) олеата натрия, чтобы сделать поверхность гидрофобной, что должно облегчить обезвоживание. Суспензию сгущали до 70.3% влажности ранее проведения экспериментов на фильтрацию. Испытания проводили при 2000 G и толщине осадка 0.35 дюйма. Как это показано в таблице 7, влажность осадка снижалась до 57.8% по истечении 3 минут вращения. При воздушном давлении 600 кПа влажность дополнительно снижалась до 34.2%, что представляет собой ориентировочно 52% снижение влажности. Обнаружили, что происходит дробление осадка в ходе фильтрации при воздушном давлении. Если найти способ исключения проблемы дробления осадка, которое вызывается усадкой осадка, то влажность осадка может быть снижена еще больше.
| Таблица 7 |
| Результаты, полученные с использованием образца РСС, при 2000 G и толщине осадка 0.35 дюйма |
| Влажность осадка (вес.%) |
| Время вращения (сек) |
Нет |
Давление воздуха (кПа) |
| 150 |
300 |
450 |
600 |
| 0 |
|
70.3 |
70.3 |
70.3 |
70.3 |
70.3 |
| 30 |
|
62.1 |
51.2 |
46.7 |
41.6 |
37.9 |
| 60 |
|
60.6 |
49.3 |
43.6 |
38.5 |
36.3 |
| 120 |
|
58.3 |
47.3 |
41.1 |
36.9 |
35.1 |
| 180 |
|
57.8 |
46.7 |
40.0 |
35.5 |
34.2 |
Пример 8
Фосфатная руда (-0.42+0.038 мм) из Флориды подвергалась флотации с использованием талловых жирных кислот в качестве коллектора и мазута в качестве разбавителя при нейтральном рН. Полученный концентрат был использован для проведения испытаний на центробежную фильтрацию. Одну серию испытаний проводили при приложении давления сжатого воздуха с использованием устройства, показанного на фиг.1, в то время как другую серию испытаний проводили при приложении вакуумного давления с использованием устройства, показанного на фиг.2. Полученные результаты приведены в таблице 8. В контрольных испытаниях влажность осадка снижалась от 40.4 до 17.2% после 2 минут вращения. При вакуумном давлении 80 кПа и воздушном давлении 80 кПа влажности снижались соответственно до 9,3 и 8,8%. Различия между двумя сериями испытаний являются незначительными, что свидетельствует о том, что для улучшения характеристик центробежной фильтрации требуется прежде всего только перепад давлений ( Р) через осадок вне зависимости от того, создается этот перепад при помощи сжатого воздуха внутри фильтровального резервуара, или же при помощи вакуумного давления снаружи.
| Таблица 8 |
| Сравнение результатов центробежной фильтрации с использованием вакуумного давления и воздушного давления, для образца фосфата при 2000 G |
| Влажность осадка (вес.%) |
| Время вращения (сек) |
нет |
Давление вакуума (кПа) |
Давление воздуха (кПа) |
| -40 |
-80 |
40 |
80 |
| 0 |
|
40.4 |
40.4 |
40,4 |
40.4 |
40.4 |
| 30 |
|
19.7 |
14.1 |
12.3 |
13.3 |
12.6 |
| 60 |
|
18.2 |
12.6 |
10.2 |
12.9 |
10.3 |
| 90 |
|
17.9 |
12.2 |
916 |
11.9 |
9.5 |
| 120 |
|
17.2 |
11.8 |
9J3 |
11,6 |
8.8 |
Пример 9
Была проведена флотация образца (-0.6 мм ×0) угля из Питтсбурга с использованием 1 фунта/Т керосина и 100 г/Т MIBC. Продукт флотации был использован при проведении испытаний на центробежную фильтрацию при 2000 G и толщине осадка 0,45 дюйма. Испытания проводились как со средством улучшения обезвоживания (2 фунта/Т Span 80), растворенным в 4 частях дизельного топлива, так и без него. Полученные результаты приведены в таблице 9. Можно видеть, что использование поверхностно-активного вещества с низким HLB дополнительно снижает влажность осадка по сравнению с центробежной фильтрацией при наличии воздушного давления.
| Таблица 9 |
| Влияние использования средства улучшения обезвоживания для образца угля из Питтсбурга, при различных воздушных давлениях |
| Время вращения (сек) |
Влажность осадка (вес.%) |
| Без реагента |
Span 80 2 фунта/Т |
Без реагента |
Span 80 2 фунта/Т |
Без реагента |
Span 80 2 фунта/Т |
| 0 |
36.5 |
36.5 |
36.5 |
36.5 |
36.5 |
36.5 |
| 30 |
18.3 |
14.9 |
14.2 |
11.1 |
13.2 |
10.1 |
| 60 |
16.3 |
13.6 |
12.9 |
10.5 |
10.6 |
8.2 |
| 120 |
15.1 |
12.8 |
10.6 |
8.6 |
9.1 |
7.3 |
Пример 10
Образец (-28 меш ×0) угля из Питтсбурга был подвергнут сериям i) испытаний на фильтрацию при приложении воздушного давления 100 кПа, ii) испытаний на центробежную фильтрацию при 2000 G, и iii) испытаний на центробежную фильтрацию при приложении воздушного давления 100 кПа. Результаты, полученные при различном времени обезвоживания или центрифугирования, приведены в таблице 10 для сравнения. Результаты, полученные при комбинации высокого G и воздушного давления, позволяют получить намного лучшее обезвоживание, чем при изолированном использовании только воздушного давления или только центробежной силы. Улучшения, полученные за счет комбинации, превышают результаты, полученные с использованием только воздушного давления или G-силы, что свидетельствует о синергетическом эффекте.
| Таблица 10 |
| Синергетические эффекты за счет совместного использования центробежной силы и сжатого воздуха для обезвоживания образца угля3 из Питтсбурга |
| Время цикла сушки или центрифугирования (сек) |
Влажность осадка (вес.%) |
| Только воздушное давление1 |
Только центробежная сила2 |
Центробежная сила&воздушное давление |
| 30 |
27,5 |
24.4 |
14.2 |
| 60 |
25.8 |
22.6 |
12.9 |
| 120 |
23.8 |
21.0 |
10.6 |
| 1. Воздушное давление 100 кПа; 2. 2000 G;3. Толщина осадка 0,45 дюйма. |
Пример 11
В этом примере синергетический эффект за счет использования комбинации воздушного давления и G-силы при фильтрации был продемонстрирован для образца талька – 100 меш. Испытания проводились при толщине осадка 0,46 дюйма за счет изменения времени цикла сушки или времени вращения. Как это уже было показано для образца угля, использование воздушного давления во время центробежной фильтрации дает синергетический эффект улучшения обезвоживания мелких частиц.
| Таблица 11 |
| Синергетический эффект за счет совместного использования центробежной силы и сжатого воздуха для обезвоживания образца талька3 |
| Время цикла сушки или центрифугирования (сек) |
Влажность осадка (вес.%) |
| Только воздушное давление1 |
Только центробежная сила 2 |
Центробежная сила&воздушное давление |
| |
100 |
200 |
1000G |
2000G |
1001&1000G2 |
2001&2000G2 |
| 30 |
30.2 |
25.7 |
26.0 |
25.1 |
19.1 |
15.4 |
| 60 |
27.2 |
22.3 |
25.8 |
24.8 |
16.8 |
13.2 |
| 120 |
25.8 |
21.9 |
25.5 |
24,6 |
15.2 |
11.6 |
| 1. Воздушное давление, кПа; 2. G – сила; 3. Толщина осадка 0,46 дюйма. |
Пример 12
В этом Примере испытания на центробежную фильтрацию были проведены с использованием как сжатого воздуха внутри фильтровального резервуара, так и вакуума снаружи (фиг.2). Испытания проводились с использованием образца концентрата фосфата из Флориды (-0.42+0.038 мм), полученного при помощи флотации с использованием таллового масла и топочного мазута при нейтральном рН. Полученные результаты приведены в таблице 12. В этой таблице положительные давления относятся к воздушному давлению, а отрицательные числа относятся к вакуумному давлению.
| Таблица 12 |
| Результаты, полученные для образца концентрата фосфата, с использованием как сжатого воздуха, так и вакуумного давления, при 2000G1 |
| Влажность осадка (вес.%) |
| Время вращения (сек) |
Давление воздуха и давление вакуума (кПа) |
| Нет |
40&40 |
80&80 |
| 0 |
40.4 |
40.4 |
40.4 |
| 30 |
19.7 |
11.9 |
8.7 |
| 60 |
18.2 |
10.2 |
7.3 |
| 90 |
17.9 |
9.5 |
7.6 |
| 120 |
17.2 |
9.0 |
6.4 |
| 1. Толщина осадка 0,45 дюйма. |
Можно видеть, что комбинация воздушного и вакуумного давлений дает великолепные результаты, а это демонстрирует, что необходимым является только увеличенный перепад давлений через осадок. Не имеет значения, как получен этот перепад давлений – за счет воздушного давления, вакуумного давления или же их комбинации.
Формула изобретения
1. Способ разделения твердой и жидкой фаз в ходе центробежной фильтрации, который включает в себя следующие операции: подачу суспензии в фильтровальную камеру, причем суспензия содержит по меньшей мере порошковый компонент и жидкий компонент; вращение фильтровальной камеры для того, чтобы приложить центробежную силу, которая ориентировочно в 50-5000 раз превышает ускорение свободного падения, по меньшей мере к части суспензии, за счет чего порошковый компонент образует осадок на пористом элементе; подачу сжатого газа в фильтровальную камеру под давлением 40-600 кПа, за счет чего создается положительный градиент давления через толщу осадка, для удаления жидкости из внутреннего пространства осадка; и проникновение жидкости через внутреннюю поверхность осадка, до тех пор, пока жидкость не будет по существу удалена с внутренней поверхности осадка.
2. Способ по п.1, в котором сжатый газ представляет собой сжатый воздух.
3. Способ по п.1, в котором подачу суспензии в фильтровальную камеру производят при помощи одноразовой загрузки, прерывисто или непрерывно.
4. Способ по п.1, в котором сжатый газ подают в импульсном режиме, прерывисто или непрерывно.
5. Способ разделения твердой и жидкой фаз в ходе центробежной фильтрации, который включает в себя следующие операции: заключение по меньшей мере части фильтровальной камеры в вакуумную камеру, причем фильтровальная камера сообщается с внешней атмосферой; подачу суспензии в фильтровальную камеру, причем суспензия содержит по меньшей мере порошковый компонент и жидкий компонент; вращение фильтровальной камеры для того, чтобы приложить центробежную силу по меньшей мере к части суспензии, за счет чего порошковый компонент образует осадок на пористом элементе; откачивание вакуумной камеры, за счет чего создается положительный градиент давления через толщу осадка для удаления жидкости из внутреннего пространства осадка; и проникновение жидкости через внутреннюю поверхность осадка до тех пор, пока жидкость не будет по существу удалена с внутренней поверхности осадка.
6. Способ по п.5, в котором вращение фильтровальной камеры дополнительно предусматривает вращение вакуумной камеры.
7. Способ по п.5, в котором центробежная сила ориентировочно в 50-5000 раз превышает ускорение свободного падения.
8. Способ по п.5, в котором подачу суспензии в фильтровальную камеру производят при помощи одноразовой загрузки, прерывисто или непрерывно.
9. Способ по п.5, в котором заключение фильтровальной камеры в вакуумную камеру представляет собой размещение вакуумной камеры вокруг внешней стенки фильтровальной камеры.
10. Способ по п.5, в котором вакуумную камеру откачивают в импульсном режиме, прерывисто или непрерывно.
11. Способ разделения твердой и жидкой фаз в ходе центробежной фильтрации, который включает в себя следующие операции: заключение фильтровальной камеры в вакуумную камеру, причем фильтровальная камера сообщается с внешней атмосферой; подачу суспензии в фильтровальную камеру, причем суспензия содержит по меньшей мере порошковый компонент и жидкий компонент; вращение фильтровальной камеры, для того, чтобы приложить центробежную силу по меньшей мере к части суспензии, в результате чего порошковый компонент образует осадок на пористом элементе; подачу сжатого газа в фильтровальную камеру; откачивание вакуумной камеры, за счет чего создается положительный градиент давления через толщу осадка для удаления жидкости из внутреннего пространства осадка; и проникновение жидкости через внутреннюю поверхность осадка до тех пор, пока жидкость не будет по существу удалена с внутренней поверхности осадка.
12. Способ по п.11, в котором центробежная сила ориентировочно в 50-5000 раз превышает ускорение свободного падения.
13. Способ по п.11, в котором сжатый газ представляет собой сжатый воздух.
14. Способ по п.11, в котором подачу суспензии в фильтровальную камеру производят при помощи одноразовой загрузки, прерывисто или непрерывно.
15. Способ по п.11, в котором сжатый воздух подают в импульсном режиме, прерывисто или непрерывно.
16. Способ по п.11, в котором вакуумную камеру откачивают в импульсном режиме, прерывисто или непрерывно.
РИСУНКИ
|
|