|
|
(21), (22) Заявка: 2007112728/11, 05.04.2007
(24) Дата начала отсчета срока действия патента:
05.04.2007
(46) Опубликовано: 10.10.2008
(56) Список документов, цитированных в отчете о поиске:
RU 2242272 С2, 20.12.2003. RU 2246343 C1, 20.02.2005. US 3986706 А, 19.10.1976. SU 1278239 A1, 23.12.1986.
Адрес для переписки:
150023, г.Ярославль, Московский пр., 88, ЯГТУ
|
(72) Автор(ы):
Зайцев Анатолий Иванович (RU), Лебедев Антон Евгеньевич (RU), Капранова Анна Борисовна (RU), Кузьмин Илья Олегович (RU)
(73) Патентообладатель(и):
Ярославский государственный технический университет (RU)
|
(54) АГРЕГАТ ДЛЯ СМЕШЕНИЯ СЫПУЧИХ МАТЕРИАЛОВ
(57) Реферат:
Агрегат для смешения и уплотнения сыпучих материалов предназначен для применения в химической промышленности и других отраслях, где требуется получение высококачественных смесей. Агрегат содержит дозаторы, устройство выгрузки, привод, корпус, во внутреннем объеме которого размещены отбойник и вал с диском, к которому прикреплены лопасти с окнами. Причем на поверхности отбойника установлены ребра, а над диском размещена коническая насадка, имеющая на внешней поверхности эластичные элементы. Окна в лопастях расположены в шахматном порядке. Достигается упрощение конструкции, повышение качества смешивания и уплотнения. 2 ил.
Предлагаемое изобретение предназначено для применения в химической промышленности, агропромышленном комплексе, производстве строительных материалов и других отраслях промышленности.
Известен агрегат для смешения сыпучих материалов, содержащий дозаторы, смесительное устройство в виде расположенного в корпусе лопастного вала и ленточного транспортера [Патент РФ №2132723, БИ №19, 1999, МПК 6 А01С 1/00]. К недостаткам этого устройства следует отнести сложность конструкции, а также трение лопастей о ленту, приводящее к быстрому износу.
Наиболее близким к предлагаемому изобретению является агрегат для смешения сыпучих материалов, содержащий дозаторы, устройство выгрузки, привод, корпус, во внутреннем объеме которого размещен отбойник и вал с диском, к которому прикреплены лопасти с окнами. Агрегат содержит также воронку и барабаны с параллельными осями, на поверхности одного из которых имеются радиальные эластичные элементы [Патент РФ №2242272, БИ №35, 2004, МПК В01F 3/18]. К недостаткам этого устройства следует отнести сложность конструкции и невысокое качество смешения.
К недостаткам данного агрегата следует отнести сложность конструкции и низкую эффективность смешения.
Задачей данного изобретения является создание агрегата для смешения сыпучих материалов, имеющего несложную конструкцию, высокое качество смешения и уплотнения и небольшие размеры.
Поставленная задача достигается тем, что в агрегате для смешения и уплотнения сыпучих материалов, содержащем дозаторы, устройство выгрузки, привод, корпус, во внутреннем объеме которого размещен отбойник и вал с диском, к которому прикреплены лопасти с окнами, что на поверхности отбойника установлены ребра, а над диском размещена коническая насадка, имеющая на внешней поверхности эластичные элементы, причем окна в лопастях расположены в шахматном порядке.
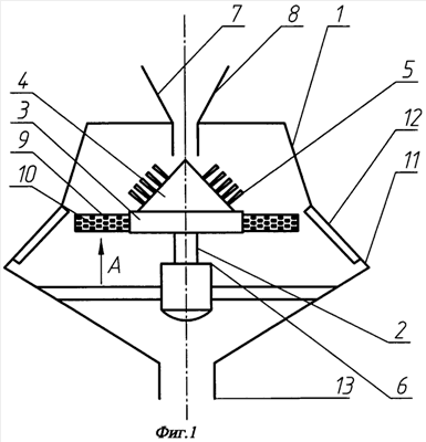
На Фиг.1 изображен агрегат для смешения сыпучих материалов.
На Фиг.2 изображен вид А.
Агрегат для смешения сыпучих материалов содержит корпус 1, во внутреннем объеме которого расположен отбойник 11 с ребрами 12, а также вал 2, с установленным на нем диском 3 с лопастями 9 и конической насадкой 4. На поверхности конической насадки размещены эластичные элементы 5. В лопастях 9 размещены окна 10, расположенные в шахматном порядке. Вал 2 снабжен приводом 6. В верхней части корпуса 1 расположены дозаторы сыпучих материалов 7 и 8, а в нижней устройство выгрузки 13.
Агрегат для смешения сыпучих материалов работает следующим образом.
Подлежащие переработке сыпучие материалы подаются дозаторами 7 и 8 внутрь корпуса 1, на поверхность вращающейся конической насадки 4, где под действием центробежной силы движутся к ее основанию, взаимодействуя при этом с эластичными элементами 5. При движении материалов сквозь эластичные элементы происходит их смешение. Далее частицы материалов поступают на поверхность лопастей 9 и движутся по ним, проходят через окна 10 и попадают на поверхность следующей лопатки. С лопаток частицы срываются и ударяются о поверхность отбойника 11 с ребрами 12, направляются к устройству выгрузки 13.
Высокое качество смеси в устройстве смешения достигается за счет совместной переработки сыпучих материалов при их взаимодействии с поверхностью отбойника и ребрами, движении в разреженном состоянии в виде факела и движении по поверхностям лопаток, перелетая с лопатки на лопатку через окна, а также при движении сквозь эластичные элементы, расположенные на поверхности конической насадки.
Заявленный агрегат для смешения сыпучих материалов имеет небольшие габариты, конструктивно прост, может обеспечивать высокую производительность.
Формула изобретения
Агрегат для смешения сыпучих материалов, содержащий дозаторы, устройство выгрузки, привод, корпус, во внутреннем объеме которого размещен отбойник и вал с диском, к которому прикреплены лопасти с окнами, отличающийся тем, что на поверхности отбойника установлены ребра, а над диском размещена коническая насадка, имеющая на внешней поверхности эластичные элементы, причем окна в лопастях расположены в шахматном порядке.
РИСУНКИ
|
|