|
|
(21), (22) Заявка: 2004110221/15, 06.04.2004
(24) Дата начала отсчета срока действия патента:
06.04.2004
(43) Дата публикации заявки: 27.10.2005
(46) Опубликовано: 10.10.2008
(56) Список документов, цитированных в отчете о поиске:
US 2003/0192822 A1, 16.10.2003. SU 1241036 A1, 30.06.1986. SU 1622729 A1, 23.01.1991. SU 1086314 A, 15.04.1984. SU 1231327 A1, 15.05.1986. RU 2049966 C1, 10.12.1995. GB 566605 A, 05.01.1945. US 4175936 A, 27.11.1979.
Адрес для переписки:
142380, Московская обл., Чеховский р-н, пос. Любучаны, ул. Заводская, 4, кв.14, В.В. Григорьеву
|
(72) Автор(ы):
Григорьев Валерий Васильевич (RU)
(73) Патентообладатель(и):
Григорьев Валерий Васильевич (RU)
|
(54) ПОТОЛОЧНАЯ ФИЛЬТР-КАМЕРА
(57) Реферат:
Изобретение относится к фармацевтической, медицинской и микробиологической технике. Потолочная фильтр-камера содержит корпус, присоединенный к входному патрубку, барьерную перегородку, расположенный внутри корпуса фильтрующий элемент, прикрепленный к барьерной перегородке, фланец, выполненный на нижней части корпуса. Входной патрубок включает верхнюю, переднюю и две боковые стенки. Верхняя стенка выполнена наклонной и присоединена к барьерной перегородке, установленной на верхнюю часть корпуса и образующей со стороны входного патрубка грязную, а со стороны корпуса чистую полости. Фильтрующий элемент прикреплен к барьерной перегородке прижимными пластинами. Внутри входного патрубка на расстоянии от его передней стенки установлена наклонная сепарирующая лопасть, к нижней части фланца корпуса закреплена с зазором диафрагма, в отверстии которой установлен воздухораспределитель диффузорного типа. Технический результат: высокая эффективность, минимальное сопротивление, равномерное воздухораспределение потока в рабочей зоне помещения. 4 з.п. ф-лы, 4 ил.
Изобретение относится к фармацевтической, медицинской и микробиологической технике.
Известна конструкция корпуса фильтра для очистки вентиляционного воздуха, подаваемого в «чистые» помещения. Фильтр имеет металлический корпус, внутри которого установлен фильтрующий элемент, входной и выходной патрубок [1].
Недостатком этого устройства является то, что он имеет значительный вес и габариты. Обладает большим сопротивлением.
Известна конструкция корпуса фильтра с острой кромкой, уплотненной гелем, содержащая каркас потолка из алюминиевого профиля с гелем, корпуса фильтра с острой кромкой и фильтрующего элемента [2].
Недостатком данного устройства является сложность его конструкции и значительные трудозатраты при его эксплуатации.
Наиболее близким по сути изобретения является конструкция корпуса фильтра [3, 4] содержащего корпус, фланец для крепления воздухораспределителя. Внутри корпуса установлена барьерная перегородка с опорной поверхностью, разделяющая корпус на чистую и грязную полости. На барьерной перегородке установлен фильтр.
Недостатком данного корпуса фильтра является то, что он имеет большое сопротивление воздушному потоку за счет эффекта внезапного расширения воздушного потока и аэродинамического удара, большой габаритный размер, в том числе высоты.
Техническим результатом настоящего изобретения является создание компактной высокоэффективной потолочной фильтр-камеры, с минимальным сопротивлением и равномерным воздухораспределением воздушного потока в рабочей зоне помещения.
Указанный технический результат достигается тем, что потолочная фильтр-камера содержит корпус, присоединенный к входному патрубку, барьерную перегородку, расположенный внутри корпуса фильтрующий элемент, прикрепленный к барьерной перегородке, фланец, выполненный на нижней части корпуса.
Для достижения вышеуказанных целей выполнены следующие конструктивные изменения устройств.
Входной патрубок включают верхнюю, переднюю и две боковые стенки, при этом верхняя стенка выполнена наклонной и присоединена к барьерной перегородке, установленной на верхней части корпуса и образующей со стороны входного патрубка грязную, а со стороны корпуса чистую полости. Фильтрующий элемент прикреплен к барьерной перегородке прижимными пластинами, внутри входного патрубка. На расстоянии от его передней стенки установлена наклонная сепарирующая лопасть. К нижней части фланца корпуса закреплена с зазором диафрагма. В отверстии диафрагмы установлен воздухораспределитель диффузорного типа.
Нижняя часть сепарирующей лопасти расположена на уровне верха передней стенки входного патрубка и наклонена относительно плоскости фильтрующего элемента под углом навстречу воздушному потоку.
Наружный размер диафрагмы выполнен больше габаритного размера корпуса, а площадь ее внутреннего отверстия меньше площади фильтрующего элемента.
В углах плоскости барьерной перегородки внутри плоскости корпуса установлены направляющие уголки, фиксирующие положение фильтрующего элемента на чистой стороне барьерной перегородки.
В верхней части направляющих уголков установлены сухари с резьбовыми отверстиями для крепления болтов прижимных пластин.
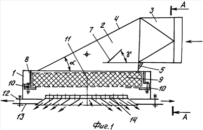
На приведенном чертеже (фиг.1; фиг.2; фиг.3; фиг.4) изображена потолочная фильтр-камера.
Потолочная фильтр-камера содержит корпус 1, грязную полость 2, входной патрубок 3, верхнюю наклонную стенку 4, переднюю стенку 5, две боковые стенки 6, сепарирующую лопасть 7, барьерную перегородку 8, фильтрующий элемент 9, прижимные пластины 10, штуцера контроля величины запыленности (сопротивления воздушному потоку) фильтрующего элемента 11, фланец 12, диафрагму 13, воздухораспределитель 14, направляющие уголки 15, сухари 16, крепящие болты 17.
Потолочная фильтр-камера работает следующим образом. Неочищенный воздух поступает через входной патрубок 3 в грязную полость 2, где он разделяется на два потока; верхний поток воздуха движется в полости 2, ограниченной двумя боковыми стенками 6 и наклонной верхней стенкой 4. Наклонная верхняя стенка 4 грязной полости 2 и ее боковые стенки 6 выполняют роль воздуховода равномерной подачи воздуха на поверхность фильтра 9. Для предотвращения создания в районе передней стенки 5 зоны отрицательного давления (эжекционного эффекта) нижняя часть воздушного потока за счет сепарирующей лопасти 7 изменяет свое горизонтальное движение и направляется на поверхность фильтрующего элемента 9. Пройдя фильтрующий элемент 9, очищенный воздушный поток поступает в полость корпуса 1, откуда часть воздушного потока направляется вниз через диффузорный воздухораспределитель 14 в форме веерных струй, другая его часть через воздушный зазор, образованный фланцем 12 и плоскостью диафрагмы 13, настилается на горизонтальную плоскость потолка, то есть происходит равномерное распределение воздушного потока по всей полости обслуживаемой зоны помещения. При этом кратность воздухообмена в обслуживаемом фильтр-камерой помещении достигается до 100 крат в час, а скорость воздушного потока в рабочей зоне указанного помещения не превысит нормативную величину 0,2 м/с.
Данные технические решения позволили скомпенсировать аэродинамический удар в грязной полости 2, свести к минимуму турбулентные завихрения и эжекционный эффект (разрежение) в грязной полости 2, за ее передней стенкой 5. За счет указанных технических решений значительно снижено сопротивление воздушному потоку воздуха потолочной фильтр-камеры в грязной полости 2 и достигнута равномерность распределения воздушного потока по всей плоскости фильтрующего элемента 9.
Веерно-настилающиеся воздушные струи чистого приточного воздуха потолочной фильтр-камеры обеспечили возможность формирования равномерно распределенного воздушного потока чистого воздуха в расчетной зоне действия указанных воздушных струй, то есть ликвидировать застойные зоны в обслуживаемом ими помещении.
Малая высота конструкции потолочной фильтр-камеры позволяют устанавливать ее в подвесных потолках при минимальной высоте полости между подвесным потолком и перекрытием основного потолка.
Сопротивление потолочной фильтр-камеры воздушному потоку при номинальной нагрузке в несколько раз ниже сопротивления отечественных и зарубежных аналогов.
Источники информации
1. Дроздов С.Г и др. Основы техники безопасности в микробиологических и вирусологических лабораториях. – М.: Медицина, 1987 г., с.109.
2. В.Уайт. Технология чистых помещений. – М.: Клинрум, 2002 г., с.116.
3. Журнал. Арктический СНиП №4, 2001 г., с.24.
4. Каталог оборудования НПП» ФОЛТЕР, 2007 г. – «Модули воздухораспределительные типа MB» (новинка), стр 29.
Формула изобретения
1. Потолочная фильтр-камера, содержащая корпус, присоединенный к входному патрубку, барьерную перегородку, расположенный внутри корпуса фильтрующий элемент, прикрепленный к барьерной перегородке, фланец, выполненный на нижней части корпуса, отличающаяся тем, что входной патрубок включает верхнюю, переднюю и две боковые стенки, при этом верхняя стенка выполнена наклонной и присоединена к барьерной перегородке, установленной на верхнюю часть корпуса и образующей со стороны входного патрубка грязную, а со стороны корпуса чистую полости, фильтрующий элемент прикреплен к барьерной перегородке прижимными пластинами, внутри входного патрубка на расстоянии от его передней стенки установлена наклонная сепарирующая лопасть, к нижней части фланца корпуса закреплена с зазором диафрагма, в отверстии которой установлен воздухораспределитель диффузорного типа.
2. Потолочная фильтр-камера по п.1, отличающаяся тем, что нижняя часть сепарирующей лопасти находится на уровне верха передней стенки входного патрубка и наклонена относительно плоскости фильтрующего элемента под углом навстречу воздушному потоку.
3. Потолочная фильтр-камера по п.1, отличающаяся тем, что наружный размер диафрагмы больше габаритного размера корпуса, а площадь ее внутреннего отверстия меньше площади фильтрующего элемента.
4. Потолочная фильтр-камера по п.1, отличающаяся тем, что в углах плоскости барьерной перегородки внутри полости корпуса установлены направляющие уголки, фиксирующие положение фильтрующего элемента на чистой стороне барьерной перегородки.
5. Потолочная фильтр-камера по п.4, отличающаяся тем, что в верхней части направляющих уголков установлены сухари с резьбовыми отверстиями для крепящих болтов прижимных пластин.
РИСУНКИ
|
|