|
|
(21), (22) Заявка: 2006144398/12, 12.12.2006
(24) Дата начала отсчета срока действия патента:
12.12.2006
(46) Опубликовано: 10.10.2008
(56) Список документов, цитированных в отчете о поиске:
RU 2266768 С2, 27.12.2005. SU 1417891 А, 23.08.1988. US 3428311 A, 18.02.1969. US 1535391 A, 28.04.1925. US 3782721 A, 01.01.1974.
Адрес для переписки:
360004, КБР, г.Нальчик, ул. Тургенева, 72, В.П. Черкесовой
|
(72) Автор(ы):
Афанасенко Василий Васильевич (RU), Черкесов Тимур Юрьевич (RU), Черкесова Вера Петровна (RU), Свечкарев Виталий Геннадьевич (RU), Пискунова Елена Витальевна (RU), Козлов Сергей Иванович (RU), Макухо Валентина Павловна (RU), Бершадский Юрий Пантелеевич (RU)
(73) Патентообладатель(и):
Афанасенко Василий Васильевич (RU), Черкесов Тимур Юрьевич (RU), Черкесова Вера Петровна (RU)
|
(54) УСТРОЙСТВО С ЭЛЕКТРОПРИВОДОМ ДЛЯ ТРЕНИРОВКИ МЫШЦ
(57) Реферат:
Устройство предназначено для использования в спортивных тренажерах, компьютерных играх и различных физических воздействиях при реабилитации детей и взрослых и позволяет расширить диапазон регулировки. Устройство для тренировки мышц содержит игровой стержень, несколько модификаций сменных рукояток для присоединения к одному концу игрового стержня с кнопками, электрический кабель для подключения к системному блоку персонального компьютера, основание для крепления на нем устройства, оптическую «мышь», клавиши которой электрическими отводами соединены с кнопками задействованной рукоятки, при этом другой конец игрового стержня выполнен в виде шара, который размещен в стакане со средой регулируемого трения для шара, которая обеспечивается с помощью стягивающего узла и трущихся о шар элементов, которые расположены в верхних и нижних частях стакана, нижний из них размещен на неподвижной пластине и на него опирается упомянутый шар, а верхний трущийся элемент с помощью первой подвижной пластины прижимается к шару по средством тяговых стержней, соединяющих первую подвижную пластину со второй подвижной пластиной, причем в верхнем трущемся элементе и первой подвижной пластине, а также в нижнем трущемся элементе и нижней неподвижной пластине выполнены сквозные круговые отверстия: в верхнем трущемся элементе и первой подвижной пластине для перемещения игрового стержня, а в нижнем трущемся элементе и неподвижной пластине – для сканирования поверхности шара оптической «мышью», прикрепленной снизу к неподвижной пластине, стягивающий узел включает в себя введенные дополнительно четыре конусообразные пружины, надетые на четырех тяговых стержнях и расположенные между первой подвижной пластиной и верхним трущимся элементом на суммирующей пластине со сквозными круговыми отверстиями, шток, который закреплен во второй подвижной пластине равноудаленно от крепления в ней тяговых стержней и расположенный ниже оптической «мыши», рычаг, закрепленный на уголках, которые установлены на внутренней боковой стенке стакана и соединенный одним концом со штоком, а другим концом через прорезь в стенке стакана и соединительную гибкую нерастяжимую нить – с валом мини-ворота, который образован осью шестерни, которая закреплена на двух стойках, шестерня соединена с червяком с образованием червячной передачи, червяк которой соединен с якорем реверсивного электродвигателя постоянного тока электропривода, который установлен со смещением относительно оси центральной симметрии устройства, при этом в продолжении червяка размещен датчик оборотов якоря электродвигателя, сигнал с которого подают в системный блок персонального компьютера, кроме того, имеется датчик нулевого положения и датчик максимального хода этого рычага, сигналы с которых подают в системный блок персонального компьютера. 1 з.п. ф-лы, 6 ил.
Изобретение относится к спортивным и игровым тренажерам и может быть использовано для тренировки мышц и специальных тренировок (в тяговых, координационных двигательных действиях, в том числе в компьютерных играх), а также для обеспечения возможности автоматического задания величины сопротивления нагрузки с помощью электрического привода постоянного тока и ее задания и изменения с помощью персонального компьютера.
Известно устройство – «силовой джойстик» [1], имеющий практически все элементы электрической схемы обычного «джойстика», но сама конструкция рассчитана на приложение значительных усилий к рычагу «игрового стержня», выполненному на возможность изменения величин оказываемого сопротивления, для чего используются спиральные рессорные пружины, закрепляемые на массивном основании. Изменение величин сопротивления усилиям занимающегося обеспечивается как посредством изменения длины рычага (рабочей части «игрового стержня»), так и путем управления «жесткостью» спиральной пружины.
Достоинство этого технического решения заключается в том, что осуществляется управление перемещениями фигурок на экране монитора (дисплея), подключаемого к компьютеру посредством этого силового устройства, полностью выполняющего функции «джойстика» при приложении к нему дозируемых по величине и направлениям усилий.
Недостатком данного устройства является то, что нет возможности плавно регулировать дозированное сопротивление нагрузки, поэтому используются съемные рукоятки, обеспечивающие разные условия захвата и приложения силы, и, кроме того, наибольшая сила проявляется при максимальном отведении «игрового стержня» от положения равновесия.
Наиболее близким техническим решением, выбранным в качестве прототипа, является «Устройство для тренировки мышц» [2], содержащее игровой стержень, выполненный с возможностью изменения величины оказываемого сопротивления, обеспечиваемого посредством изменения длины рычага – рабочей части игрового стержня, несколько модификаций съемных рукояток для присоединения к одному концу игрового стержня, каждая из которых оснащена кнопками, электрический кабель для подключения к системному блоку персонального компьютера и основание для крепления на нем устройства с помощью крепежных элементов, оптическую «мышь», управляющую положением курсора на экране монитора компьютера в зависимости от перемещения игрового стержня, клавиши которой электрическими отводами соединены с кнопками каждой рукоятки, при этом другой конец игрового стержня выполнен в виде шара, размещенного в стакане, образующем среду регулируемого трения для шара, причем среда регулируемого трения обеспечивается с помощью стягивающего узла и трущихся о шар элементов, расположенных в верхней и нижней частях стакана, стягивающий узел включает в себя верхнюю подвижную пластину, нижнюю неподвижную пластину и резиновую демпферную пластину, в верхнем трущемся элементе, в верхней подвижной пластине и демпферной резиновой пластине, а также нижнем трущемся элементе и неподвижной пластине выполнены круговые сквозные отверстия для перемещения игрового стержня, а оптическая «мышь» сканирует поверхность шара через отверстия в неподвижной пластине и нижнем трущемся элементе.
Достоинством данного устройства является создание равномерно сопротивления игровому стержню в пределах заданного сектора его перемещения и плавная регулировка этого сопротивления.
Недостатком этого устройства является узкий диапазон регулировки, обеспечиваемый стягивающим механическим узлом, и связанная с этим трудность задания требуемой величины оказываемого дозированного сопротивления.
Задача данного изобретения – расширение диапазона регулировки стягивающим электромеханическим узлом и обеспечение задания требуемой величины дозированного сопротивления при сохранении равномерного сопротивления игровому стержню в пределах всего заданного сектора его перемещения и плавной регулировки этого сопротивления и обеспечение автоматического задания сопротивления с помощью электрического привода постоянного тока, задания и изменения сопротивления с помощью персонального компьютера.
Технический результат, заключающийся в устранении указанных недостатков в устройстве для тренировки мышц, содержащее игровой стержень, выполненный с возможностью изменения величины оказываемого сопротивления, обеспечиваемого посредством изменения длины рабочей части игрового стержня, несколько модификаций сменных рукояток для присоединения к одному концу игрового стержня, каждая из которых оснащена кнопками, электрический кабель для подключения к системному блоку персонального компьютера, основание для крепления на нем устройства с помощью крепежных элементов, оптическую «мышь», управляющую положением курсора на экране монитора персонального компьютера в зависимости от перемещения игрового стержня, клавиши которой электрическими отводами соединены с кнопками задействованной рукоятки, при этом другой конец игрового стержня выполнен в виде шара, размещенного в стакане, образующем среду регулируемого трения для шара, обеспечиваемого с помощью стягивающего узла и трущихся о шар элементов, расположенных в верхних и нижних частях стакана, нижний из них размещен на неподвижной пластине и на него опирается упомянутый шар, а верхний трущийся элемент с помощью первой подвижной пластины прижимается к шару по средством тяговых стержней, соединяющих первую подвижную пластину со второй подвижной пластиной, причем в верхнем трущемся элементе и первой подвижной пластине, а также в нижнем трущемся элементе и нижней неподвижной пластине выполнены сквозные круговые отверстия: в верхнем трущемся элементе и первой подвижной пластине для перемещения игрового стержня, а в нижнем трущемся элементе и неподвижной пластине – для сканирования поверхности шара оптической «мышью», прикрепленной снизу к неподвижной пластине, отличающееся тем, что в нем стягивающий узел включает в себя введенные дополнительно четыре конусообразные пружины, надетые на четырех тяговых стержнях и расположенные между первой подвижной пластиной и верхним трущимся элементом на суммирующей пластине со сквозными круговыми отверстиями, шток, закрепленный во второй подвижной пластине равноудалено от крепления в ней тяговых стержней и расположенной ниже оптической «мыши», рычаг, закрепленный на уголках, установленных на внутренней боковой стенке стакана и соединенный одним концом со штоком, а другим концом через прорезь в стенке стакана и соединительную гибкую нерастяжимую нить – с валом мини-ворота, образованного осью шестерни, закрепленной на двух стойках с использованием подшипников, и шестерня соединена с червяком, с образованием червячную зубчатой передачи, червяк которой соединен с якорем реверсивного электродвигателя постоянного тока электропривода, установленного со смещением относительно оси центральной симметрии устройства, при этом в продолжении червяка размещен датчик оборотов якоря электродвигателя, сигнал с которого подают в системный блок персонального компьютера, кроме того, имеется датчик нулевого положения и датчик максимального хода этого рычага, сигналы с которых подают в системный блок персонального компьютера.
Гибкая нерастяжимая нить закреплена на валу мини-ворота с возможностью ее приближения к центральной оси устройства по мере ее намотки на вал мини-ворота.
Отличительными признаками заявленного технического решения являются следующее:
Во-первых, введены новые элементы; рычаг, мини-ворот, привод с электродвигателем постоянного тока, гибкая нерастяжимая нить;
Во-вторых, соответственно введены новые связи между ними и другими узлами;
В-третьих, в нем изменен стягивающий узел, который включает в себя введенные дополнительно четыре конусообразных пружины, надетых на четыре тяговых стержня и расположенных между первой подвижной пластиной и верхним трущимся элементом на суммирующей пластине со сквозным круглым отверстием, шток, закрепленный по оси центральной симметрии во второй подвижной пластине равноудалено от крепления в ней тяговых стержней и расположенной ниже оптической мыши, рычаг, закрепленный на уголках, установленных на внутренней боковой стенке стакана и соединенный одним концом со штоком, а другим концом через прорезь в стенке стакана и соединительную гибкую нерастяжимую нить – с валом мини-ворота, образованного осью шестерни, закрепленной на двух стойках с применением подшипников, а шестерня соединена с червяком, образуя червячную зубчатую передачу, червяк которой соединен с якорем реверсивного электродвигателя постоянного тока электропривода, установленного со смещением относительно центральной оси симметрии, при этом в соединительном элементе червяка с якорем электродвигателя размещен датчик оборотов якоря электродвигателя, сигнал с которого подается в системный блок персонального компьютера и, кроме того, относительно указанного рычага установлены датчик его нулевого положения и датчик максимального хода этого рычага, сигналы с этих датчиков также подаются в системный блок персонального компьютера.
В заявленном устройстве отличительные признаки проявляют известные в других областях науки и техники свойства, а взятые в совокупности с признаками прототипа проявляют свойства, которые позволяют расширить в несколько раз (в зависимости от соотношения рычага) диапазон регулировки, обеспечиваемый новым стягивающим электромеханическим узлом, и соответствующее облегчение задания требуемой величины дозируемого оказываемого сопротивления при сохранении равномерного сопротивления игровому стержню в пределах всего заданного сектора его перемещения и плавной регулировки этого сопротивления, а также обеспечения возможности автоматического или по программе задания величины указанного сопротивления с помощью электрического привода постоянного тока и его задания и изменения с помощью персонального компьютера, что указывает на соответствие заявляемого решения критерию «существенного отличия».
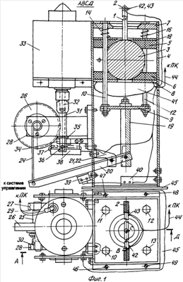
Заявляемое устройство поясняют схематические чертежи: на фиг.1 и фиг.2 изображены вид спереди, сверху и вид сбоку слева устройства со стаканом, выполненным в виде прямоугольной призмы с квадратом в поперечном сечении, и оптическая «мышь» размещена на неподвижной пластине устройства.
На фиг.3 представлено устройство со стаканом, выполненным в виде призмы прямоугольного четырехугольника в поперечном сечении, и оптическая «мышь» прикреплена к большей наружной поверхности призмы, а на противоположной поверхности призмы – реверсивный электродвигатель привода постоянного тока.
На фиг.4 показаны возможные типы рукояток.
На фиг.5 изображение сочленение червяка с якорем электродвигателя.
На фиг.6 представлен оптический электронный датчик оборотов якоря электродвигателя.
Устройство включает (фиг.1 и фиг.2): прочный «игровой стержень» 1 с несколькими модификациями сменных рукояток 2, подсоединяемых к одному концу «игрового стержня» 1, другой конец которого выполнен в виде шара 3 и помещен в стакан 4, в котором образована среда регулируемого трения для шара 3, например, с помощью верхнего 5 и нижнего 6 трущихся элементов и стягивающего электромеханического узла, состоящего из верхней первой подвижной пластины 7 и нижней 8 неподвижной пластины, второй подвижной пластины 9, стягиваемых четырьмя тяговыми стержнями 10, 11, 12, 13 с крепежными гайками, стакана 4, выполненного в виде призмы с квадратным поперечным сечением, четырех конусообразных пружин 14, 15, 16, 17 (14 и 16 показаны на фиг.1, 15 и 17 – не показаны, но они надеты на тяговые стержни 11 и 13), размещенных между первой подвижной пластиной 7 и верхним 5 трущимся элементом на суммирующей пластине 18, штока 19 с крепежной гайкой, закрепленного на оси центральной симметрии во второй подвижной пластине 9 равноудалено от крепления в ней указанных тяговых стержней, рычага 20, закрепленного на двух уголках 21 и 22, установленных на внутренней боковой стенке стакана 4, и соединенного одним концом со штоком 19, а другим концом через прорезь 23 (см. фиг.2) в стенке стакана 4 и соединительную гибкую нерастяжимую нить 24 с валом 25 мини-ворота, образованного осью 25, являющейся валом мини-ворота, шестерни 26, закрепленной на двух стойках 27 и 28 с применением, например, подшипников скольжения 29 и 30. Сама шестерня 26 соединена с червяком 31, образуя червячную зубчатую передачу, червяк 31 которой соединен с одной стороны с якорем 32 реверсивного электродвигателя постоянного тока 33 электропривода, установленного со смещением относительно центральной оси симметрии (см. фиг.2), а с другой стороны – на упорной стойке 34 с применением подшипника скольжения 35. В продолжении червяка 31 сделано сквозное отверстие 36 датчика оборотов якоря 32 электродвигателя 33, оптического датчика 37 с согласующим и усилительным каскадом 38, сигнал с которого подается в системный блок персонального компьютера. Кроме того, относительно указанного рычага 20 установлены датчик его нулевого положения 39 и датчик максимального хода 40 этого рычага. Сигналы с этих датчиков также подаются в системный блок персонального компьютера. К нижней 8 неподвижной пластине прикрепляется оптическая «мышь»41, сканирующая поверхность шара 3. От клавиш оптической «мыши» 41 сделаны электрические отводы, оканчивающиеся кнопками 42, 43, соответственно от левой и правой клавиш. Оптическая «мышь» 41 соединяется также с системным блоком персонального компьютера с помощью электрического кабеля 44. В верхнем 5 трущемся элементе, в верхней 7 подвижной пластине и суммирующей пластине 18 сделаны сквозные круговые отверстия для перемещения «игрового стержня» 1. В нижнем 6 трущемся элементе и нижней 8 неподвижной пластине также сделаны сквозные круговые отверстия для сканирования поверхности шара 3. Устройство крепится на основании 45 с помощью, например, винтов или шурупов 46, 47, 48, 49.
Работают с устройством следующим образом.
С помощью шурупов или винтов 46, 47, 48, 49 закрепляют устройство на основании 45. С помощью кабеля 44 подключают устройство непосредственно к системному блоку персонального компьютера, а с помощью проводов и схемы управления подключают электродвигатель 33 постоянного тока электропривода к персональному компьютеру. Задав с помощью персонального компьютера или схемы управления положения якоря 32 электродвигателя 33, начинают перемещать «игровой стержень» 1, управляя положением курсора на экране дисплея. Перемещая «игровой стержень» 1 от себя к себе, передвигают курсор в вертикальной плоскости экрана дисплея. Передвигая “игровой стержень” 1 влево, а затем вправо, перемещают курсор в горизонтальной плоскости экрана, соответственно. Таким образом, передвигая «игровой стержень» 1 в пространстве, перемещают курсор по экрану дисплея, тем самым задают физические нагрузки на мышцы плечевого пояса, частично, на мышцы спины, и ягодичные мышцы.
Вторая модификация устройства содержит (фиг.3): «игровой стержень» 1 с несколькими модификациями сменных рукояток 2, подсоединяемых к одному концу «игрового стержня» 1, другой конец которого выполнен в виде шара 3 и помещен в стакан 50, в котором образована среда регулируемого трения для шара 3, например, с помощью верхнего 51 и нижнего 52 трущихся элементов и стягивающего электромеханического узла, состоящего из верхней первой подвижной пластины 53 и нижней 54 неподвижной пластины, второй подвижной пластины 55, стягиваемых четырьмя тяговыми стержнями 10, 11, 12, 13 с крепежными гайками, стакана 50, выполненного в виде призмы с прямоугольным четырехугольником в поперечном сечении, четырех конусообразных пружин 14, 15, 16, 17 (14 и 16 показаны на фиг.3, 15 и 17 не показаны, но они надеты на тяговые стержни 11 и 13), размещенные между первой подвижной пластиной 53 и верхним 51 трущимся элементом на суммирующей пластине 56, штока 19 с крепежной гайкой, закрепленного по оси центральной симметрии устройства во второй подвижной пластине 55 равноудаленно от крепления в ней указанных тяговых стержней, рычага 20, закрепленного на 2 уголках 21 и 22, установленных на внутренней боковой стенке 50, и соединенный одним концом со штоком 19, а другим концом через прорезь 23 (см. фиг.2) в стенке стакана 50 и соединитебльную гибкую нерастяжимую нить 24 (см. фиг.3) – с валом 25 мини-ворота, образованного осью 25 (являющееся валом мини-ворота) шестерни 26, закрепленной на двух стойках 27 и 28 с применением, например, подшипников скольжения 29 и 30. Сама шестерня 26 соединена с червяком 31, образуя червячную зубчатую передачу, червяк 31 которой соединен с одной стороны с якорем 32 реверсивного электродвигателя постоянного тока 33 электропривода, установленного со смещением относительно оси центральной симметрии устройства (см. фиг 2), например, с помощью цангового зажима, а с другой стороны – на упорной стойке 34 с применением подшипника скольжения 35. В продолжении червяка 31 сделано сквозное отверстие 36, перпендикулярно оси червяка 31 датчика оборотов якоря 32 электродвигателя 33, оптического датчика 37 с согласующим и усилительным каскадом 38, сигнал с которого подается в системный блок через усилитель персонального компьютера. Кроме того, относительно рычага 20 установлены датчик его нулевого положения 39 и датчик его максимального хода 40. Сигнал с этих датчиков также подается в системный блок персонального компьютера. К стакану 50 в его верхней части прикрепляется оптическая «мышь» 57, сканирующая поверхность шара 3 через окно 58 в стенке стакана 50. От клавиш оптической «мыши» 57 сделаны электрические отводы, оканчивающиеся кнопками 42, 43, соответственно от левой и правой клавиши. Оптическая «мышь» 57 соединяется также с системным блоком персонального компьютера с помощью электрического кабеля 44. В верхнем 51 трущемся элементе, в верхней 53 подвижной пластине и суммирующей пластине 56 сделаны сквозные круговые отверстия для перемещения «игрового стержня» 1. Устройство крепится на основании 45 с помощью, например, винтов или шурупов 46, 47, 48, 49.
Работают с устройством следующим образом.
С помощью винтов или шурупов 46, 47, 48, 49 закрепляют устройство на основании 45. С помощью кабеля 44 подключают устройство непосредственно к системному блоку персонального компьютера, а с помощью проводов и схемы управления подключают электродвигатель 33 постоянного тока электропривода к персональному компьютеру (ПК). Задав с помощью ПК или схемы управления положение якоря 33 (определенное количество его оборотов), начинают перемещать «игровой стержень» 1, управляя положением курсора на экране дисплея. Перемещая «игровой стержень» 1 от себя – к себе, передвигают курсор в вертикальной плоскости экрана дисплея. Поворачивая «игровой стержень» 1 влево, а за тем вправо, перемещают курсор в горизонтальной плоскости экрана дисплея, соответственно. Таким образом, перемещая «игровой стержень» 1 в пространстве, передвигают курсор по экрану дисплея, тем самым задают физические нагрузки на мышцы плечевого пояса, частично на мышцы спины и ягодичные мышцы. Задействовав с помощью программного обеспечения органы чувств, можно воздействовать на интеллект человека, то есть осуществлять взаимозависимое воздействие интеллектуальных и физических нагрузок.
Если твердое тело перемещается относительно другого твердого тела, причем их поверхности соприкасаются, то возникает сила, препятствующая этому перемещению. Такая сила называется силой трения. Она объясняется неровностью трущихся поверхностей, а также силами молекулярного взаимодействия. Если между поверхностями соприкасающихся твердых тел отсутствует прослойка жидкости, то такое трение называют сухим. Сухое трение разделяется по характеру движения на трение скольжения (одно тело скользит по поверхности другого) и трение качения (одно тело катится по поверхности другого). Нас будет интересовать сухое трение скольжения.
Величина силы трения (Fтр) скольжения зависит от природы и качества обработки соприкасающихся поверхностей, а также от величины силы, прижимающей трущиеся поверхности (силы нормального давления Fн.д) и не зависит от величины поверхности соприкосновения

где k – коэффициент трения, зависящий от природы и качества обработки трущихся поверхностей и незначительно – от скорости движения (этой зависимостью обычно пренебрегают).
Таким образом, силу нормального давления Fн.д находят по формуле

Под воздействием внешних сил всякое твердое тело изменяет свою форму – деформируется. Деформация, исчезающая с прекращением действия сил, называется упругой. При упругой деформации тела возникают внутренние силы упругости, стремящиеся вернуть телу первоначальную форму. Величина этих сил пропорциональна деформации тела. Возникающее удлинение образца ( l) под действием внешней силы (F) пропорционально величине действующей силы, первоначальной длине l и обратно пропорционально площади сечения (S):

где – коэффициент пропорциональности.
Формула (3) выражает закон Гука.
Величина Е называется модулем упругости первого рода или модулем Юнга и характеризует упругие свойства материала.
В нашем случае Fн.д=F, т.е. подставив в формулу (3) все величины, получим укорочение пружины ( l) (поскольку она работает на сжатие). Это перемещение увеличивается с помощью рычага, в котором точка опоры находится между точками приложения действующих на него сил, т.е.

где Fy – уравновешивающая сила, создаваемая рычагом,
а – второе плечо рычага.
Условия равенства моментов сил применяются к равновесию ворота. В нашем случае

где F3 – сила воздействующая на шестерню со стороны червячной передачи;
R – радиус шестерни червячной передачи;
Fy – уравновешивающая сила, создаваемая рычагом;
r – радиус вала ворота.
С помощью формул (1)÷(5) можно рассчитать физические параметры заявляемого устройства, а также руководствоваться в выборе материала и обработке поверхности соприкасаемых тел и рационально регулировать величину сопротивления.
Поскольку в устройстве применяются подшипники, то целесообразно применить подшипник скольжения при смазке, так как его коэффициент трения лежит в пределах 0,02 до 0,08. Это возможно использовать в червячной передаче и в вороте.
Рассмотрим подробнее отдельные узлы.
Сменные рукоятки 2 могут быть разной формы, например, такие, как представленные на фиг.4 рукоятки 59, 60, соответственно. Для удобства с работы с ними введены запараллеленные кнопки: для левой руки кнопки 61, 62 на рукоятке 59, на рукоятке 60 – кнопки 63, 64 от левой клавиши.
Отводы от правой клавиши оптической «мыши», сделанные на правую руку, заканчиваются кнопками 65, 66 на рукоятке 59 и 67, 68 на рукоятке 60. На обеих рукоятках соединительные провода выведены на миниатюрный разъем 69 на рукоятке 59 и 70 – на рукоятке 60.
В мини-вороте шестерня 26 соединена с червяком 31, образуя червячную зубчатую передачу, червяк 31, которой соединен с одной стороны с якорем реверсивного электродвигателя постоянного тока 33, например с помощью цангового разъема 71 (фиг.5) (гайка с резьбой на фиг.5 не показана), а с другой стороны – на упорной стойке 34 (см. фиг.1). Сама червячная часть 72 червяка 31 следует за цанговым разъемом 71. В продолжении червячной части 72 сделано сквозное отверстие 36 перпендикулярно оси червяка 31 (см. фиг.5) для оптического датчика оборотов якоря 32 электродвигателя 33.
Важной характеристикой является уровень нагрузки, который определяется положением пружин 10, 11, 12, 13 (фиг.1). Прямое измерение возможно, но затруднительно. Проще об уровне нагрузки судить, например, по вращению якоря 32 электродвигателя 33 с использованием программных средств персонального компьютера и узла выявления нулевого 39 и максимального 40 хода рычага. Рассмотрим состав и принцип действия определителя уровня нагрузки. Узел содержит (см. фиг.6а) оптический датчик 37, в котором светоизлучающий элемент 73 и световоспринимающий элемент (светодиод) 74 расположены на одной линии друг относительно друга, обеспечивающей засвечивание световоспринимающего элемента 74 только при прохождении отверстия 36 в продолжении червяка 31 между ними. Это выполнено механически в виде колодочки 37, где соответствующим образом просверлены два канальца, в которых размещены указанные элементы. Эти элементы электрически связаны с согласующим и усилительным каскадами 38 и подключены к персональному компьютеру (ПК).
На фиг.6б показана одна из возможных электрических схем данного узла. Излучающий элемент 73 включен в прямом направлении. Ток через него задается резистором 75. Световоспринимающий элемент (светодиод) 74 включен в обратном направлении, и ток через него в освещенном состоянии задается резистором 76. Изменения потенциала в темновом и световом состоянии точки соединения резистора 75 и световоспринимающего элемента 74 воспринимается усилительным каскадом 77, коллектор выходного ключевого транзисторного каскада 78 подключен к ПК с помощью электрического кабеля 44.
Работа данного узла осуществляется следующим образом. При вращении якоря и, соответственно, червяка 31 световое окно в нем периодически оказывается между световоспринимающим элементом 74 и светоизлучающим элементом 73, на которые он реагирует скачкообразным изменением потенциала на входе усилительного каскада 77 и на выходе ключевого транзисторного каскада 78. И этот потенциал передается в ПК.
По сравнению с прототипом предлагаемое устройство обладает расширенным диапазоном регулировки, обеспечиваемым новым стягивающим электромеханическим узлом, соответствующим облегчением задания требуемой величины дозированного оказываемого сопротивления при сохранении равномерного сопротивления «игровому стержню» в пределах всего заданного сектора его перемещения и плавной регулировки этого сопротивления, а также обеспечивает возможность автоматического задания с помощью электрического привода постоянного тока величины указанного сопротивления и его задания и изменения с помощью персонального компьютера.
Источники информации
Формула изобретения
1. Устройство для тренировки мышц, содержащее игровой стержень, выполненный с возможностью изменения величины оказываемого сопротивления, обеспечиваемого посредством изменения длины рабочей части игрового стержня, несколько модификаций сменных рукояток для присоединения к одному концу игрового стержня, каждая из которых оснащена кнопками, электрический кабель для подключения к системному блоку персонального компьютера, основание для крепления на нем устройства с помощью крепежных элементов, оптическую «мышь», управляющую положением курсора на экране монитора персонального компьютера в зависимости от перемещения игрового стержня, клавиши которой электрическими отводами соединены с кнопками задействованной рукоятки, при этом другой конец игрового стержня выполнен в виде шара, размещенного в стакане, образующем среду регулируемого трения для шара, обеспечиваемого с помощью стягивающего узла и трущихся о шар элементов, расположенных в верхней и нижней частях стакана, нижний из них размещен на неподвижной пластине и на него опирается упомянутый шар, а верхний трущийся элемент с помощью первой подвижной пластины прижимается к шару посредством тяговых стержней, соединяющих первую подвижную пластину со второй подвижной пластиной, причем в верхнем трущемся элементе и первой подвижной пластине, а также в нижнем трущемся элементе и нижней неподвижной пластине выполнены сквозные круговые отверстия: в верхнем трущемся элементе и первой подвижной пластине для перемещения игрового стержня, а в нижнем трущемся элементе и неподвижной пластине – для сканирования поверхности шара оптической «мышью», прикрепленной снизу к неподвижной пластине, отличающееся тем, что в нем стягивающий узел включает в себя введенные дополнительно четыре конусообразные пружины, одетые на четырех тяговых стержнях и расположенные между первой подвижной пластиной и верхним трущимся элементом на суммирующей пластине со сквозными круговыми отверстиями, шток, закрепленный во второй подвижной пластине равноудаленно от крепления в ней тяговых стержней и расположенный ниже оптической «мыши», рычаг, закрепленный на уголках, установленных на внутренней боковой стенке стакана и соединенный одним концом со штоком, а другим концом через прорезь в стенке стакана и соединительную гибкую нерастяжимую нить – с валом миниворота, образованного осью шестерни, закрепленной на двух стойках с использованием подшипников, шестерня соединена с червяком с образованием червячную зубчатой передачи, червяк которой соединен с якорем реверсивного электродвигателя постоянного тока электропривода, установленного со смещением относительно центральной оси симметрии устройства, при этом в продолжении червяка размещен датчик оборотов якоря электродвигателя, сигнал с которого подают в системный блок персонального компьютера, кроме того, имеется датчик нулевого положения и датчик максимального хода этого рычага, сигналы с которых подают в системный блок персонального компьютера.
2. Устройство по п.1, отличающееся тем, что гибкая нерастяжимая нить закреплена на валу миниворота с возможностью ее приближения к центральной оси симметрии устройства по мере ее намотки на вал миниворота.
РИСУНКИ
|
|