|
| На основании пункта 1 статьи 1366 части четвертой Гражданского кодекса Российской Федерации патентообладатель обязуется заключить договор об отчуждении патента на условиях, соответствующих установившейся практике, с любым гражданином Российской Федерации или российским юридическим лицом, кто первым изъявил такое желание и уведомил об этом патентообладателя и федеральный орган исполнительной власти по интеллектуальной собственности. |
|
(21), (22) Заявка: 2007124196/14, 28.06.2007
(24) Дата начала отсчета срока действия патента:
28.06.2007
(43) Дата публикации заявки: 27.10.2007
(46) Опубликовано: 10.10.2008
(56) Список документов, цитированных в отчете о поиске:
RU 2057477 С1, 10.04.1996. US 3772714 А, 20.11.1973. RU 2257882 С1, 10.08.2005. Олефиренко В. Водотеплолечение. – М.: Медицина, 1986, с.81. WO 87/07499 А, 17.12.1987.
Адрес для переписки:
115446, Москва, ул. Акад. Миллионщикова, 16, кв.239, Л.Ф. Порядкову
|
(72) Автор(ы):
Порядков Леонид Федорович (RU)
(73) Патентообладатель(и):
Порядков Леонид Федорович (RU)
|
(54) ЦИРКУЛЯРНЫЙ ДУШ
(57) Реферат:
Изобретение относится к области медицинской техники и предназначено для оздоровительно-лечебных водных процедур. Циркулярный душ содержит смонтированную на стойке рабочую водонесущую трубу в форме горизонтально расположенного кольца, которая посредством гибкого шланга подсоединена к источнику воды, а в стенках рабочей трубы выполнены направленные в сторону рабочей зоны многочисленные выпускные отверстия. Рабочая водонесущая труба выполнена в виде замкнутого кольца, укрепленного на обойме с возможностью перемещения вдоль стойки, на верхнем конце имеющей блок с перекинутым через него тросом, один конец которого закреплен на обойме, а на другом его конце укреплена ручка. На верхнем конце стойки смонтирован дополнительный блок с перекинутым через него тросом, один конец которого закреплен на обойме, а на другом его конце укреплен противовес. Технический результат – расширение функциональных возможностей циркулярного душа и более экономный расход воды, а также расширение арсенала оздоровительно-лечебных душевых установок. 1 з.п. ф-лы, 3 ил.
Изобретение относится к оборудованию для оздоровительно-лечебных водных процедур.
Гидротерапия издавна и широко используется в лечебно-оздоровительной практике. В основе гидротерапевтических процедур лежат варьирующие по разным параметрам механические и температурные воздействия и их сочетания. Оздоравливающее и общеукрепляющее действие наружных водных процедур обусловливается повышением резистентности организма к неблагоприятным факторам внешней среды и достигается путем тренировки и закаливания.
Известен циркулярный душ, включающий каркас в виде вертикальных стоек, на которых укреплен гибкий шланг, изогнутый по форме винтовой цилиндрической спирали. Шланг снабжен установленными в его стенках форсунками, отверстия которых радиально ориентированы в направлении продольной оси душа. Один конец шланга заглушен, а другой его конец адаптирован для подсоединения к источнику воды [RU 2257882 С1, 10.08.2005]. Аналогичный по технической сущности циркулярный душ защищен патентом US 4749130, 07.06.1988.
Недостатком этих душевых установок является то, что в их конструкции используется довольно длинный (от 10 до 20 м) шланг. При том, что вода в него поступает только с одного конца, а вытекает через многочисленные отверстия, рассредоточенные вдоль всего шланга, неизбежен большой перепад давления и мощности водяных струй между верхним и нижним отделами душевой установки. Вследствие этого будут наблюдаться существенные различия в эффективности терапевтического воздействия на разные участки тела пациента.
Известен циркулярный душ, состоящий из вертикальных стоек, на которых горизонтально расположено и соосно смонтировано несколько (до пяти) рабочих водонесущих труб в виде разомкнутых колец, в стенках которых сделаны многочисленные отверстия, обращенные в сторону рабочей зоны, к продольной оси душевой установки. При этом одни концы рабочих труб заглушены, а другие – сообщены с магистралью подачи воды посредством вертикально установленной коллекторной трубы [RU 2057477 С1, 10.04.1996].
Данный циркулярный душ оказывает одинаково интенсивное, массированное воздействие водными струями одновременно и в течение всей процедуры сразу на многие участки на поверхности тела пациента. Это ограничивает возможности индивидуализации водной процедуры с учетом особенностей функционального состояния каждого конкретного пациента. Кроме того, одновременное и интенсивное воздействие водных струй сразу на многие участки на поверхности тела обусловливает “жесткость” воздействия, и поэтому такая процедура для многих пациентов оказывается неприемлемой. В частности, “лица с резким преобладанием возбудительных процессов над тормозными, с явлениями раздражительной слабости, а также с выраженной астенизацией плохо переносят такой душ” [Олефиренко В.Т. Водотеплолечение. М.: Медицина, 1986, с.81].
Как на недостаток следует указать также и на то, что кольцевидные рабочие трубы выполнены разомкнутыми, причем с довольно большим расстоянием между их концами для того, чтобы пациент мог свободно зайти в рабочую зону душевой установки. При таком выполнении водонесущих рабочих труб значительная по размеру площадь поверхности тела пациента оказывается в зоне малоэффективного воздействия водных струй, т.к. последние в этом месте оказываются направленными к поверхности тела не перпендикулярно, а под острым углом или по касательной (см. фиг.2 в описании к патенту SU 1806719). Кроме того, поскольку в известном циркулярном душе водонесущие рабочие трубы расположены на значительном и постоянном расстоянии друг от друга и жестко фиксированы относительно основания душевой установки, исходящие из них горизонтальные водные струи оказывают свое воздействие лишь на те узкие зоны на теле пациента, которые соответствуют уровню расположения рабочих труб. При этом значительные участки поверхности тела, находящиеся между указанными уровнями, оказываются вне зоны активного воздействия водных струй, что существенно снижает общую эффективность соответствующей душевой водной процедуры.
Следует указать также и на то, что водная процедура, проводимая с использованием рассматриваемого циркулярного душа с несколькими водонесущими рабочими трубами, требует большого количества воды и, в связи с этим, обусловливает повышенную нагрузку на систему канализации.
Циркулярный душ по патенту RU 2057477 рассматривается в качестве прототипа для заявленного изобретения.
Технический результат изобретения заключается в расширении функциональных возможностей циркулярного душа, в более экономном расходовании воды и в расширении арсенала оздоровительно-лечебных душевых установок.
Указанный технический результат достигается за счет того, что в циркулярном душе, содержащем смонтированную на стойке рабочую водонесущую трубу в форме горизонтально расположенного кольца, которая посредством гибкого шланга подсоединена к источнику воды, а в стенках рабочей трубы выполнены направленные в сторону рабочей зоны многочисленные выпускные отверстия, согласно изобретению рабочая водонесущая труба выполнена в виде замкнутого кольца, укрепленного на обойме с возможностью перемещения вдоль стойки, на верхнем конце имеющей блок с перекинутым через него тросом, один конец которого закреплен на обойме, а на другом его конце укреплена ручка. На верхнем конце стойки может быть смонтирован еще один блок с перекинутым через него тросом, один конец которого закреплен на обойме, а на другом его конце укреплен противовес.
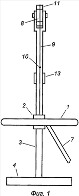
Сущность изобретения поясняется чертежами, где на фиг.1 показан общий вид циркулярного душа, вид спереди; на фиг.2 – циркулярный душ, вид сбоку; на фиг.3 – циркулярный душ, вид сверху.
Циркулярный душ содержит рабочую водонесущую трубу 1 (фиг.1-3) в форме горизонтально расположенного замкнутого кольца, укрепленную на обойме 2 с возможностью перемещения вдоль стойки 3, установленной на основании 4. Для предотвращения возможного вращения обоймы 2 вокруг стойки 3 на последней может быть укреплена рейка (не показана), а на внутренней поверхности обоймы соответственно ей сделан вертикальный паз. С этой же целью могут быть использованы и другие известные решения. В стенках рабочей трубы 1 выполнены направленные в сторону рабочей зоны многочисленные выпускные отверстия 5, и она через патрубок 6 с помощью гибкого шланга 7 подсоединена к душевой кафедре (не показана), посредством которой обеспечивается подведение к душу воды под определенным давлением и с заданной температурой. На верхнем конце стойки 3 имеется блок 8 с перекинутым через него тросом 9, один конец которого закреплен на обойме 2, а на другом его конце укреплена ручка 10. Ручное перемещение рабочей трубы вверх с помощью троса 9 и блока 8 может быть приемлемым для пациента, если перемещаемые вверх вдоль стойки элементы душевой установки достаточно легки, будучи изготовленными, например, из алюминиевого сплава. В том же случае, если перемещаемые вверх элементы циркулярного душа имеют неприемлемо большой суммарный вес, будучи изготовленными, например, из нержавеющей стали, то в этом случае на верхнем конце стойки может быть смонтирован еще один блок 11 с перекинутым через него тросом 12, один конец которого закреплен на обойме 2, а на другом его конце укреплен противовес 13 для перемещаемых вверх обоймы 2 и водонесущей рабочей трубы 1 с гибким шлангом при их заполненности водой. При этом вес противовеса должен быть несколько меньше, чем вес перемещаемых вверх элементов циркулярного душа с тем, чтобы рабочая труба могла опускаться с верхнего конца стойки 3 вниз под действием гравитационных сил. Противовес 13 может быть выполнен в виде емкости, заполняемой водой, что позволит, в случае необходимости, легко откорректировать его вес.
При проведении душевой процедуры пациент встает в центр рабочей зоны внутри кольцевидной рабочей трубы 1, исходно расположенной у основания 4, ухватившись при этом за ручку 10. Затем оператор через пульт управления (душевую кафедру) направляет в циркулярный душ воду с заданной температурой и под определенным давлением. После этого пациент за ручку 10 начинает подтягивать трос 9 вниз, в результате чего рабочая водонесущая труба 1 начнет перемещаться вверх, а тело пациента при этом будет подвергаться перемещаемому в том же направлении воздействию опоясывающих водных струй. Перемещение водонесущей рабочей трубы вниз осуществляется за счет гравитационных сил. На этом этапе водной процедуры оператор может ограничивать или же совсем прекращать подачу воды в рабочую трубу.
Пациент в зависимости от своих ощущений и с учетом возможных врачебных рекомендаций может сам изменять скорость вертикального перемещения опоясывающих водных струй на отдельных участках своего тела и тем самым регулировать интенсивность водно-термического воздействия на биологически активные зоны.
В предлагаемом циркулярном душе в качестве физической среды, с помощью которой реализуется непосредственное водно-термическое воздействие, вместо воды может использоваться также воздух и пар, в том числе и в различных сочетаниях с водой.
Изобретение расширяет функциональные возможности циркулярного душа. Представляется возможным избежать одновременного интенсивного водно-термического воздействия сразу на всю поверхность тела, что, как указывалось выше, для многих пациентов оказывается неприемлемым. Можно в более широком диапазоне регулировать основные параметры водно-термической процедуры, что позволяет адаптировать ее к индивидуальным особенностям функционального состояния каждого конкретного пациента. Существенно снижается расход воды, а также уменьшается нагрузка на канализационную систему. Расширяется арсенал оздоровительно-лечебных душей.
Формула изобретения
1. Циркулярный душ, содержащий смонтированную на стойке рабочую водонесущую трубу в форме горизонтально расположенного кольца, которая посредством гибкого шланга подсоединена к источнику воды, а в стенках рабочей трубы выполнены направленные в сторону рабочей зоны многочисленные выпускные отверстия, отличающийся тем, что рабочая водонесущая труба выполнена в виде замкнутого кольца, укрепленного на обойме с возможностью перемещения вдоль стойки, на верхнем конце имеющей блок с перекинутым через него тросом, один конец которого закреплен на обойме, а на другом его конце укреплена ручка.
2. Циркулярный душ по п.1, отличающийся тем, что на верхнем конце стойки смонтирован дополнительный блок с перекинутым через него тросом, один конец которого закреплен на обойме, а на другом его конце укреплен противовес.
РИСУНКИ
|
|