|
|
(21), (22) Заявка: 2005131009/14, 23.02.2004
(24) Дата начала отсчета срока действия патента:
23.02.2004
(30) Конвенционный приоритет:
07.03.2003 SE 0300592-3
(43) Дата публикации заявки: 10.05.2006
(46) Опубликовано: 10.10.2008
(56) Список документов, цитированных в отчете о поиске:
US 5440764 А, 15.08.1995. EP 0588367 A1, 23.03.1994. WO 97/00654 A1, 09.01.1997. EP 1249214 А2, 16.10.2002. RU 2090172 C1, 20.09.1997.
(85) Дата перевода заявки PCT на национальную фазу:
07.10.2005
(86) Заявка PCT:
SE 2004/000237 (23.02.2004)
(87) Публикация PCT:
WO 2004/078083 (16.09.2004)
Адрес для переписки:
129090, Москва, ул. Б.Спасская, 25, стр.3, ООО Юридическая фирма “Городисский и партнеры”, пат.пов. С.А.Дорофееву, рег.№ 146
|
(72) Автор(ы):
НОРРБЮ Никлас (SE)
(73) Патентообладатель(и):
СКА ХАЙДЖИН ПРОДАКТС АБ (SE)
|
(54) СПОСОБ УКЛАДКИ ЭЛАСТИЧНЫХ ЭЛЕМЕНТОВ НА АДСОРБИРУЮЩЕЕ ИЗДЕЛИЕ В ФОРМЕ ТРУСОВ
(57) Реферат:
Изобретение относится к гигиене. Способ включает следующие этапы: – обеспечение эластичного полотна материала (2), перемещаемого в направлении транспортирования;
– нанесение связующего (6) в виде предварительно заданного рисунка связующего на полотно материала (2);
– укладка непрерывного эластичного элемента (4) в рисунок на связующее (6), при которой эластичный элемент (4) укладывают в направлении растяжения, отличающемся от направления транспортирования по меньшей мере в пределах участков эластичного элемента (4);
– укладка неэластичного полотна материала (3) поверх эластичного полотна материала (2), причем неэластичным полотном материала накрывают рисунок связующего (6), посредством чего эластичный элемент (4) фиксируют между эластичным полотном материала (2) и неэластичным полотном материала (3) в положении укладки на рисунок связующего. Неэластичному полотну материала (3) придают форму ленты с первым криволинейным краем (8) и вторым криволинейным краем (9), при этом форму неэластичного полотна материала (3), по существу, совмещают с формой рисунка связующего (6). Изобретение обеспечивает минимальное негативное воздействие на упругие свойства эластичного полотна материала. 10 з.п. ф-лы, 4 ил.
Область использования изобретения
Изобретение относится к способу укладки эластичного элемента на эластичное полотно материала, включающему следующие этапы:
– обеспечение эластичного полотна материала, перемещаемого в направлении транспортирования;
– нанесение связующего в виде предварительно заданного рисунка связующего на полотно материала;
– укладка непрерывного эластичного элемента в рисунок на связующее, при которой эластичный элемент укладывают в направлении растяжения, отличающемся от направления транспортирования по меньшей мере в пределах участков эластичного элемента;
– укладка неэластичного полотна материала поверх эластичного полотна материала, при которой неэластичным полотном материала накрывают рисунок связующего, посредством чего эластичный элемент фиксируют между эластичным полотном материала и неэластичным полотном материала в положении укладки на рисунок связующего. Задачей изобретения является предложение способа изготовления эластичных памперсов.
Предпосылки к созданию изобретения
Становится все более обычным явлением изготовление защитных средств для людей, страдающих недержанием, в форме памперсов. Такие памперсы состоят из наружных трусов, содержащих выполненную за одно целое с ними внутреннюю адсорбирующую часть. Альтернативно наружные трусы можно использовать вместе с отдельным защитным средством от недержания, временно прикрепленным внутри наружных трусов, которое, таким образом, можно заменять на новое защитное средство от недержания, сохраняя при этом те же наружные трусы. Оба вида защитных средств от недержания изготавливают для детей, а также для пожилых людей, страдающих недержанием.
Трусы, о которых здесь идет речь, представляют собой изделия краткосрочного использования, что предполагает выбрасывание их в отходы после использования, а не стирку или восстановление каким-либо другим способом для повторного использования. Это означает, что применяемые материалы и способы изготовления должны быть экономически эффективны и не должны приводить к тому, чтобы изделия имели слишком высокую стоимость. В частности, должно быть возможным выполнение различных операций процесса на высоких скоростях, что накладывает определенные ограничения на выбор способа изготовления.
Для обеспечения хорошей посадки и достижения хорошего уплотнения при ношении памперсов их часто изготавливают по меньшей мере частично из эластичных материалов. Например, вся часть, которой охватывают живот, или только боковые планки могут быть изготовлены из эластичного нетканого материала. Таким образом обеспечивают возможность хорошей посадки и точной подгонки изделий по размеру. Эластичный материал в самих трусах обычно дополняют определенными эластичными элементами, которые располагают вокруг отверстий для ног и отверстия по талии трусов. Такими эластичными элементами обеспечивают местное более плотное прилегание и гарантируют то, что трусы не будут соскальзывать. Кроме того, эластичными элементами обеспечивают уплотнение, предотвращая протечки через отверстия трусов. Однако возникают проблемы, когда эластичные элементы надлежит прикрепить к материалу, который сам по себе является эластичным. Для удержания эластичных элементов на месте обычно наносят связующее на эластичный материал, после чего эластичные элементы укладывают на связующее. Затем эластичные элементы закрепляют в уложенном положении путем наложения и закрепления (ламинирования) дополнительного слоя материала поверх слоя эластичного материала и эластичных элементов. По стоимостным соображениям нежелательно использовать дополнительно слой эластичного материала в качестве фиксирующего. Вместо этого используют обычный неэластичный слой материала, например нетканый материал. Это означает, что упругие свойства слоя эластичного материала сильно сокращаются и в некоторых случаях в действительности полностью гасятся в областях ламинирования, что, конечно, является нежелательным результатом ламинирования.
Патент США №5440764 раскрывает одноразовые трусы и способ их получения, которые используют эластично растягиваемый лист для того, чтобы минимизировать движение вниз трусов под весом выделений, аккумулированных в области промежности. Эта проблема решается при помощи одноразовых трусов, имеющих переднюю часть, выполненную из листа с эластичной растягиваемостью по меньшей мере в поперечном направлении, и заднюю часть, выполненную из листа, по существу, не способного к растяжению, которые связаны друг с другом с меньшим поперечным размером передней части, чем поперечный размер задней части, так, что боковые противоположные стороны талии пользователя, носящего трусы, могут быть покрыты частью задней части. Техническое решение, раскрытое в этом патенте США, является ближайшим аналогом заявленного изобретения.
Также известны документы ЕР №0588367 и WO 9700654, описывающие способ и устройство наложения эластичного элемента на движущееся полотно подложки.
Следовательно, задачей изобретения является создание способа укладки эластичных элементов на эластичное полотно материала, в котором эластичные элементы фиксируют на эластичном полотне материала путем оказания минимального негативного воздействия на упругие свойства эластичного полотна материала.
Описание изобретения
Согласно изобретению создан способ такого типа, который упомянут во вводной части, причем благодаря этому способу, по существу, исключают проблемы, с которыми сталкивались в известных способах укладки эластичных элементов на эластичное полотно материала.
Способ согласно изобретению главным образом отличается тем, что неэластичному полотну материала придают форму ленты с первым криволинейным краем и вторым криволинейным краем, в котором форму неэластичного полотна материала совмещают с формой рисунка связующего.
Первый криволинейный край неэластичного полотна материала предпочтительно формируют путем вырезания полотна материала до укладки неэластичного полотна материала на эластичное полотно материала.
Второй криволинейный край неэластичного полотна материала формируют после укладки неэластичного полотна материала на эластичное полотно материала.
Эластичное полотно материала может представлять собой компонент полотна-основы для изготовления гигиенических трусов, в котором вырезают отверстие для ног. Следовательно, второй криволинейный край неэластичного полотна материала образуют при вырезании отверстий для ног.
Гигиенические трусы могут быть адсорбирующими гигиеническими трусами или памперсами, причем адсорбирующие заполнители укладывают на полотно-основу между отверстиями для ног.
Эластичный элемент, согласно одному варианту исполнения изобретения, укладывают на эластичное полотно материала в виде синусоиды.
Можно также укладывать эластичный элемент так, чтобы он располагался вдоль частей его длины вне эластичного полотна материала. Таким образом, части эластичного элемента, которые укладывают вне эластичного полотна материала, можно отрезать после укладки неэластичного полотна материала.
Эластичный элемент может быть единичным эластичным элементом, например эластичной лентой или эластичной нитью. Альтернативно эластичный элемент может содержать по меньшей мере два частичных элемента.
Согласно изобретению неэластичное полотно материала может быть предпочтительно представлено нетканым материалом.
Эластичное полотно материала может быть предпочтительно представлено трехслойным ламинатом, содержащим слои нетканого материала, прикрепленные к каждой стороне перфорированной эластичной пленки.
Краткое описание чертежей
Ниже изобретение описано более подробно со ссылками на фигуры, показанные на прилагаемых чертежах, на которых изображено:
на фиг.1 – полотно-основа согласно изобретению;
на фиг.2 – адсорбирующая прокладка;
на фиг.3 – памперсы, изготовленные согласно способу в соответствии с изобретением;
на фиг.4 – полотно-основа согласно альтернативному варианту исполнения изобретения.
Описание вариантов исполнения изобретения
Полотно-основа 1 (см. фиг.1) изготовлено из эластичного полотна материала 2, неэластичного полотна материала 3, эластичного элемента 4 и ряда прокладок 5 с заполнителем, расположенных на эластичном полотне материала на предварительно заданном расстоянии друг от друга. Полотно-основа показано на фиг.1 в стадии, когда все компоненты собраны, но до того, как полотно преобразовано в отдельные изделия. Показанное полотно-основа 1 предназначено для преобразования в памперсы в последующих этапах производственного процесса.
Полотно-основа 1 формируют в непрерывном процессе, в котором эластичное полотно материала 2 подают в направлении транспортирования, совпадающем с продольным направлением эластичного полотна материала. На эластичное полотно материала 2 наносят покрытие из связующего 6 в криволинейной области, после чего к связующему прикрепляют эластичный элемент 4. В показанном примере связующее наносят, по существу, вдоль синусоиды. Связующее можно наносить любым способом, пригодным для данной цели, например напылением или нанесением покрытия. Используемое связующее предпочтительно является расплавленным связующим, которое наносят в расплавленном состоянии и которое затвердевает при охлаждении. Для удержания эластичного элемента на месте в форме криволинейного рисунка поверх поверхностей, на которые было нанесено связующее, и поверх эластичного элемента 4 укладывают затем неэластичное полотно материала 3, в результате чего эластичный элемент прочно закрепляют между двумя полотнами материала 2, 3.
Перед укладкой неэластичного полотна материала 3 на эластичное полотно материала 2 крайний участок 7 вырезают вдоль кривой линии 8 выреза, которая, в общем, совпадает с соответствующим криволинейным краем криволинейной области связующего. Линию 8 выреза выполняют таким образом, чтобы неэластичное полотно материала 3 полностью покрывало криволинейную область связующего при укладке неэластичного полотна материала 3 на эластичное полотно материала 2. Участок 7, который вырезают до укладки, помечен на фиг.1 наклонной штриховкой.
После закрепления эластичного элемента 4 между эластичным полотном материала 2 и неэластичным полотном материала 3 на эластичное полотно материала 2 укладывают прокладки 5 с заполнителем на предварительно заданном расстоянии друг от друга.
Прокладка 5 с заполнителем может быть прикреплена к полотну-основе 1 по всей общей поверхности или только по ее части. Например, прокладки 5 с заполнителем могут быть прикреплены только вдоль линии или области в форме ленты, проходящей симметрично поверх каждой прокладки 5 с заполнителем в продольном направлении прокладок с заполнителем, которое совмещено с поперечным направлением полотна-основы. Альтернативно прокладки 5 с заполнителем могут быть прикреплены вдоль одного или нескольких поперечных или продольно проходящих линий или областей в форме лент. Прокладку 5 с заполнителем можно также прикреплять с помощью ряда расположенных на расстоянии точек или областей прикрепления. Прикрепление прокладок 5 с заполнителем может быть выполнено любым подходящим способом, например привариванием или приклеиванием.
После укладки прокладок 5 с заполнителем в полотне-основе 1 вырезают отверстия для ног между каждой прокладкой 5 с заполнителем в форме, которая соответствует форме эластичного элемента 4 и криволинейной области связующего 6. При вырезании отверстий 10 для ног неэластичному полотну материала 3 одновременно придают форму путем удаления, по существу, треугольных частей неэластичного полотна материала 3. Таким образом, остальная часть неэластичного полотна материала 3 представляет собой форму ленты, которая соответствует форме криволинейной области связующего 6. Окончательно вырезанное неэластичное полотно материала 3 (см. фиг.1) имеет криволинейную форму с первым криволинейным вырезанным краем 8 с одной стороны эластичного элемента 4 и вторым криволинейным краем 9, проходящим вдоль части края каждого отверстия 10 для ноги, и с прямым сегментом между отверстиями 10 для ног. Соответственно, неэластичному полотну материала 3 придают форму, которая приспособлена к форме эластичного элемента 4 и при которой этим полотном накрывают только эластичный элемент 4 и окружающую криволинейную область связующего 6. Это означает, что неэластичное полотно материала 3 только по краям оказывает влияние на упругость эластичного полотна материала 2.
После вырезания отверстий 10 для ног и удаления вырезанных частей полотно-основу 1 складывают пополам в направлении изготовления так, чтобы были образованы сложенный край и открытый край. Сложенное полотно-основу 1 соединяют вместе периодически в направлении, поперечном к направлению изготовления, причем соединения выполняют от открытого края полотна-основы 1 к краю каждого из отверстий 10 для ног. Соединения выполняют способом, известным в рассматриваемой области, например свариванием или склеиванием, и они, соответственно, выполнены раскрываемыми. Это означает, что соединение должно быть разорвано раньше, чем будет разорван окружающий материал, при растяжении соединенных частей в направлении друг от друга. Однако естественно, необходимо, чтобы соединения были достаточно прочными, чтобы удерживать готовые памперсы в целом состоянии во время носки.
Сложенное и соединенное полотно-основу 1 затем делят путем разрезания по средней линии каждого соединения так, чтобы отдельные памперсы были отделены от полотна-основы 1. Готовые адсорбирующие памперсы можно затем подвергать последующим этапам изготовления, например складыванию и упаковке.
Естественно, также, что во время изготовления памперсов имеется возможность укладки дополнительных компонентов, не описанных здесь, например поднятых барьеров для предотвращения утечек и т.п. Такие компоненты обычно используют в адсорбирующих изделиях, но они не являются существенной частью настоящего изобретения.
Прокладка 5 с заполнителем, пригодная для памперсов, лучше всего показана на фиг.2, и она содержит непроницаемый для жидкости слой 12, адсорбирующий заполнитель 13 и проницаемый для жидкости внутренний слой 14. Прокладку 5 с заполнителем прикрепляют непроницаемым для жидкости слоем 12 к эластичному полотну материала 2. На фиг.2 показан адсорбирующий заполнитель 13, состоящий из двух наложенных один на другой адсорбирующих слоев 15, 16, из которых нижний адсорбирующий слой 15, расположенный наиболее близко к непроницаемому для жидкости слою 12, имеет несколько больший размер, чем верхний адсорбирующий слой 16, расположенный наиболее близко к проницаемому для жидкости внутреннему слою 14. В изображенном примере прокладка 5 с заполнителем имеет прямоугольную плоскую форму, определенную формой непроницаемого для жидкости слоя 12 и проницаемого для жидкости внутреннего слоя 14, между которыми заключен адсорбирующий заполнитель 13. Когда прокладки 5 с заполнителем уложены на полотно-основу 1 (как показано на фиг.1), части проницаемого для жидкости внутреннего слоя 14 и непроницаемого для жидкости слоя 12 отрезают при вырезании отверстий 10 для ног, в результате чего прокладке 5 с заполнителем придают форму, в плоском состоянии, более схожую с формой песочных часов. Можно, естественно, использовать прокладки 5 с заполнителем, имеющие другую форму в плоском состоянии, в которых непроницаемому для жидкости слою 12 и проницаемому для жидкости внутреннему слою 14 может быть, например, уже с самого начала придана форма, соответствующая форме прокладки после вырезания отверстий для ног в памперсах. Можно также использовать прокладки 5 с заполнителем, имеющие форму трапеции или овальную форму и т.д. Кроме того, прокладка 5 с заполнителем не обязательно должна иметь форму, изображенную на фигуре. Например, в адсорбирующих памперсах, предназначенных для использования в качестве защитных средств для лиц, страдающих легкой формой недержания, или в качестве гигиенических прокладок, может быть достаточным помещение адсорбирующего заполнителя 13 в основном в области промежности адсорбирующих памперсов.
Проницаемый для жидкости внутренний слой 14 может состоять из любого материала, о котором известно, что его используют для этой цели, например, из слоев нетканого материала, перфорированной пластиковой пленки, сетки, очесов и т.п. Внутренний слой 14 может, конечно, также состоять из ламината из двух или более слоев одного и того же или различных материалов.
Непроницаемый для жидкости слой 12 может состоять из непроницаемой для жидкости пластиковой пленки, слоя гидрофобного нетканого материала или слоя нетканого материала, обработанного таким образом, чтобы он обладал свойствами непроницаемости для жидкости, или из слоя любого другого гибкого материала, обладающего способностью противостоять проникновению жидкости. Однако непроницаемый для жидкости слой 12 может обладать определенной воздухопроницаемостью, т.е. пропускать сквозь себя пары воды, что может рассматриваться как преимущество этого материала.
Адсорбирующий заполнитель 13 может быть сформирован из адсорбирующих материалов, например распушенного целлюлозного волокна, тонкой туалетной бумаги, адсорбирующего вспененного материала и т.д. Обычным также является то, что адсорбирующий заполнитель 13 содержит суперадсорбенты, т.е. полимерные материалы, которые могут поглощать жидкие выделения человека в количествах, соответствующих нескольким их собственным весам, и превращать их в водный гель. Такие суперадсорбенты обычно существуют в форме частиц, но также могут быть в форме волокон, чешуек, гранул и пленки. Кроме того, адсорбирующий заполнитель 13 может содержать не адсорбирующие компоненты, например элементы, придающие твердость, форму, скрепляющие вещества и т.д. В прокладку 5 с заполнителем могут также быть включены различные виды структур для приема и распределения жидкости, например волокнистые набивочные материалы, вспененные материалы с открытыми ячейками, поглощающие капиллярные слои и т.п.
Различные компоненты, включенные в прокладку 5 с заполнителем, могут быть скреплены друг с другом обычным способом, например путем склеивания или сваривания с использованием тепла или ультразвука. Несомненно, прокладка 5 с заполнителем может содержать дополнительные компоненты, помимо тех, которые описаны здесь, например, прокладка 5 с заполнителем может содержать слои для переноса жидкости, эластичные элементы, элементы для стабилизации формы, элементы для придания формы и т.п. Хотя было сказано, что адсорбирующий заполнитель содержит два адсорбирующих слоя 15, 16, могут быть использованы альтернативные структуры. Для некоторых применений может быть, например, достаточна прокладка 5 с заполнителем с одним адсорбирующим слоем, тогда как для других применений может требоваться более двух адсорбирующих слоев. Таким образом, структура адсорбирующего заполнителя может быть приспособлена к количеству жидкости, которое адсорбирующий заполнитель по предположениям может адсорбировать. Аналогично этому вид выделений человека, которые надлежит поглощать, и способ, которым жидкие выделения человека подаются в адсорбирующий заполнитель, являются, естественно, важными факторами, влияющими на выбор размеров и свойств адсорбирующего заполнителя.
Памперсы 20, изображенные на фиг.3, содержат эластично растяжимые наружные трусы 21, которые выполнены из эластичного полотна материала 2. Подходящие эластичные материалы являются различными видами эластичных нетканых материалов. Кроме того, эластичный материал наружных трусов 21 может состоять из ламината. Эластичный нетканый материал, пригодный для использования в адсорбирующих трусах согласно изобретению, должен обладать способностью эластично растягиваться по меньшей мере на 80%, а предпочтительно по меньшей мере на 100% в поперечном направлении трусов для того, чтобы обеспечить достаточное эластичное уплотнение по краям отверстий для ног с передней стороны адсорбирующих памперсов. Кроме того, предпочтительно, чтобы эластичный нетканый материал был эластично растяжимым также и в продольном направлении адсорбирующих памперсов, т.е. в направлении, перпендикулярном поперечному направлению.
В растянутом плоском, но собранном состоянии, как показано на фиг.3, передняя часть 23 памперсов 20 соединена с соответствующей задней частью памперсов вдоль двух боковых соединений 25. Таким образом формируют отверстие 26 по талии и два отверстия 27 для ног.
Как уже было упомянуто ранее, боковые соединения 25 выполняют соответствующим образом так, чтобы они могли противостоять силам растяжения, которые возрастают во время надевания и носки памперсов, но так, чтобы их можно было разорвать при растяжении в стороны при удалении использованных памперсов.
Эластичные элементы 4 располагают как резинку в отверстие для ноги на задней части 24 памперсов и прокладывают вдоль заднего края отверстий 27 для ног. Таким образом, эластичные элементы 4 вокруг отверстий для ног располагают только в задней части 24 памперсов, тогда как часть края 15 отверстия для ноги, которая проходит по верхней части 23, свободна от специальных эластичных элементов. Так как наружные трусы 21 содержат эластичный материал, то нет необходимости в том, чтобы отверстие 26 по талии было снабжено специальными эластичными элементами; эластичность наружных трусов 21 для многих применений является достаточной для того, чтобы памперсы 21 сидели надежно и удобно на месте и герметично прилегали вокруг талии потребителя. Альтернативой для достижения улучшенного эластического эффекта вокруг отверстия 26 по талии потребителя может служить выполнение складок эластичного материала в наружных трусах так, чтобы в отверстии 26 по талии была сформирована подкладка, имеющая повышенную стойкость к растяжению. В объеме изобретения также, естественно, можно расположить эластичные элементы вокруг отверстия по талии. Такие эластичные элементы прокладывают вдоль одной или обеих кромок полотна-основы 1, показанного на фиг.1.
Эластичные элементы 4 для обеспечения эластичности в области отверстий для ноги и в области талии могут быть в форме эластичных нитей, лент и т.п. Если используют эластичные нити или ленты, то две или их большее число часто располагают параллельно друг другу; и они могут представлять собой частичные элементы в эластичном элементе. Материал эластичного элемента может быть резиной, вспененным эластиком и т.п.
Хотя описанные памперсы снабжены только эластичными элементами вдоль задних частей отверстий для ног, естественно, можно представить расположение эластика вокруг передних частей отверстий для ног либо как альтернативный вариант, либо как дополнение.
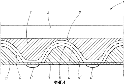
На фиг.4 показано полотно-основа 1, содержащее эластичное полотно материала 2, неэластичное полотно материала 3 и эластичный элемент 4. Эластичный элемент 4 прикреплен между эластичным полотном материала 2 и неэластичным полотном материала 3 в области связующего 6. Части 4′ эластичного элемента 4 выступают наружу за край полотна-основы, и их отрезают вдоль криволинейного отрезанного края 8 вместе с отрезанной частью неэластичного полотна материала 3 и эластичного полотна материала 2. Отрезание предпочтительно выполняют в два этапа: на первом этапе отрезают тонкий прямой краевой сегмент 11′, а остальные нежелательные части отрезают на более позднем этапе изготовления, возможно, после соединения полотна-основы 1 с дополнительными компонентами изготовления. Противоположному краю неэластичного полотна материала также придают криволинейную форму отрезанного края 9. Эту операцию соответствующим образом выполняют перед тем, как неэластичное полотно материала 3 соединяют с эластичным полотном материала. Удаленные части 7, 11 неэластичного полотна материала 3 обозначены штриховкой на фиг.4.
Полотно-основа 1, показанное на фиг.4, предназначено к включению его в виде компонента при изготовлении адсорбирующих изделий, когда нежелательно, чтобы эластичный элемент 4 выступал в неоторванном состоянии из изделия. Кроме того, может быть желательным изготовление адсорбирующих изделий, содержащих только некоторые части, которые являются эластично растяжимыми. Например, обычным является конструирование памперсов с эластичными частями, окружающими нижнюю часть торса, но имеющими неэластичную шаговую часть. С этой целью упругое эластичное полотно-основа (см. фиг.4) может быть скомбинировано с дополнительными полотнами материала для образования комплексного полотна-основы.
Формула изобретения
1. Способ укладки эластичного элемента (4) на эластичное полотно материала (2), включающий следующие этапы: обеспечение эластичного полотна материала (2), перемещаемого в направлении транспортирования; нанесение связующего (6) в виде предварительно заданного рисунка связующего на полотно материала (2); укладка непрерывного эластичного элемента (4) в рисунок на связующее (6), при которой эластичный элемент (4) укладывают в направлении растяжения, отличающемся от направления транспортирования по меньшей мере в пределах участков эластичного элемента (4); укладка неэластичного полотна материала (3) поверх эластичного полотна материала (2), причем неэластичным полотном материала накрывают рисунок связующего (6), посредством чего эластичный элемент (4) фиксируют между эластичным полотном материала (2) и неэластичным полотном материала (3) в положении укладки на рисунок связующего, отличающийся тем, что неэластичному полотну материала (3) придают форму ленты с первым криволинейным краем (8) и вторым криволинейным краем (9), при этом форму неэластичного полотна материала (3), по существу, совмещают с формой рисунка связующего (6).
2. Способ по п.1, отличающийся тем, что первый криволинейный край неэластичного полотна (3) материала предпочтительно формируют путем вырезания полотна (3) материала до укладки неэластичного полотна (3) материала на эластичное полотно (2) материала.
3. Способ по п.1 или 2, отличающийся тем, что второй криволинейный край (9) неэластичного полотна (3) материала формируют после укладки неэластичного полотна (3) материала на эластичное полотно (2) материала.
4. Способ по п.3, отличающийся тем, что эластичное полотно (2) материала представляет собой компонент полотна-основы (1) для изготовления гигиенических трусов (20), при этом отверстие (10) для ног вырезают в полотне-основе (1), причем второй криволинейный край (9) неэластичного полотна (3) материала формируют при вырезании отверстий (10) для ног.
5. Способ по п.4, отличающийся тем, что адсорбирующие заполнители (13) укладывают на полотно-основу (1) между отверстиями (10) для ног.
6. Способ по п.1, отличающийся тем, что эластичный элемент (4) укладывают на эластичное полотно (2) материала в виде синусоиды.
7. Способ по п.1, отличающийся тем, что эластичный элемент (4) вдоль его частей (4′) укладывают вне эластичного полотна (2) материала.
8. Способ по п.7, отличающийся тем, что части (4′) эластичного элемента (4), которые укладывают вне эластичного полотна (2) материала, отрезают после укладки неэластичного полотна материала (3).
9. Способ по п.1, отличающийся тем, что эластичный элемент (4) содержит по меньшей мере два частичных элемента.
10. Способ по п.1, отличающийся тем, что неэластичное полотно материала (3) представляет собой нетканый материал.
11. Способ по п.1, отличающийся тем, что эластичное полотно материала (2) представляет собой трехслойный ламинат, в котором слой нетканого материала прикреплен к каждой стороне перфорированной эластичной пленки.
РИСУНКИ
|
|