|
|
(21), (22) Заявка: 2005137689/14, 30.04.2004
(24) Дата начала отсчета срока действия патента:
30.04.2004
(30) Конвенционный приоритет:
03.05.2003 GB 0310280.3
(43) Дата публикации заявки: 27.07.2006
(46) Опубликовано: 10.10.2008
(56) Список документов, цитированных в отчете о поиске:
DE 29909783 U, 23.12.1999. DE 20108346 U, 27.09.2001. DE 19962148 А, 26.12.2001. ЕР 0557701 А, 01.09.1993. RU 94031166 А1, 27.09.1996.
(85) Дата перевода заявки PCT на национальную фазу:
05.12.2005
(86) Заявка PCT:
GB 2004/001875 (30.04.2004)
(87) Публикация PCT:
WO 2004/098429 (18.11.2004)
Адрес для переписки:
129090, Москва, ул. Б.Спасская, 25, стр. 3, ООО “Юридическая фирма Городисский и Партнеры”, пат.пов. С.Р.Абубакирову, рег.№ 931
|
(72) Автор(ы):
БАНКРОФТ Ричард (GB)
(73) Патентообладатель(и):
АЛБЕРТ БРАУН ЛИМИТЕД (GB)
|
(54) УСТРОЙСТВО ДЛЯ ТЕСТИРОВАНИЯ ЭФФЕКТИВНОСТИ ПРОМЫВАНИЯ ТЕСТОВОГО ОБРАЗЦА ЗАГРЯЗНЕНИЯ И УДЕРЖИВАЮЩЕЕ УСТРОЙСТВО ДЛЯ ИСПОЛЬЗОВАНИЯ В ТАКОМ УСТРОЙСТВЕ
(57) Реферат:
Изобретения относятся к медицинской диагностике. Устройство для тестирования содержит держатель и устройство с тестовым образцом загрязнения для размещения на указанном держателе. Тестирующее устройство с загрязнителем представлено в виде листового материала с тестовым веществом-загрязнителем, находящимся на нем. Держатель включает в себя два элемента, между которыми устройство с тестовым образцом загрязнения прикрепляется с возможностью отсоединения таким образом, что устройство с тестовым образцом может быть легко удалено для осмотра и поддержания требуемой ориентации в промывочном устройстве во время работы. Изобретения позволяют облегчить удержание тестового образца загрязнения. 2 н. и 29 з.п. ф-лы, 10 ил.
Данное изобретение относится к устройству для тестирования эффективности промывания/очистки, и, конкретно, но не обязательно, исключительно к устройству для тестирования эффективности промывания/очистки для клинического и/или лабораторного использования.
Хирургические инструменты и другие медицинские устройства, использованные для клинических или лабораторных целей, должны быть подвергнуты повторной обработке или дезинфекции, если они не являются одноразовыми, для предотвращения инфицирования и вторичного заражения. Процесс дезинфекции обычно включает в себя стадию промывания/очистки для удаления крови, белков и других биологических загрязнений с инструментов и/или устройств, затем следует стадия дезинфекции для того, чтобы сделать возможным безопасное обращение с устройствами/инструментами и их осмотр перед упаковыванием, и завершающую стадию стерилизации. Если устройства/инструменты будут стерилизоваться без эффективного промывания/очистки или дезинфекции, стерилизация, вероятнее всего, может оказаться неэффективной.
Стадии промывания/очистки и дезинфекции являются двумя разными стадиями процесса обеззараживания, однако часто осуществляются в одном промывочном устройстве (промывочно-дезинфицирующем устройстве) циклическим образом с использованием различных программируемых циклов. Эффективность стадии дезинфекции (термический процесс) может быть подтверждена посредством измерения температуры, однако эффективность стадии промывания/очистки не может быть легко оценена параметрически. По существу, тестовое вещество, известное как «тестовый загрязнитель», используется как опознавательный сигнал в промывочном аппарате и включает в себя заранее определенный уровень загрязняющих веществ на нем для того, чтобы смоделировать типичное загрязнение хирургических инструментов и медицинских устройств при обычном использовании. Тестовый загрязнитель наносят на выбранные хирургические инструменты и/или медицинские устройства и предоставляют возможность высохнуть на нем в течение определенного промежутка времени. Инструменты и/или медицинские устройства затем подвергаются обработке в промывочном аппарате или промывочно-дезинфицирующем устройстве для тестирования эффективности промывания/очистки. Удаление «тестового загрязнения» с инструмента или устройства может определяться визуально, поскольку большинство «тестовых загрязнений» содержат кровь или красители, чтобы сделать их видимыми. Альтернативно может быть использован химический способ определения, такой как способ с использованием нингидрина (1,2,3-индантриона моногидрат). Способ с применением нингидрина использует реакцию аминокислот, пептидов и белков с нингидрином для образования сильно окрашенного соединения. Выбранные инструменты протирают тампоном, смоченным водой, затем тампон обрабатывается нингидрином. Если белок присутствует на инструментах, т.е. если инструмент не является чистым, тампон приобретает пурпурный цвет.
Традиционные тестовые загрязнения типично включают в себя кровь животных или компоненты крови или другие животные продукты, такие как яйцо или компоненты яйца. Однако естественное разнообразие компонентов тестового загрязнения может означать, что тестовые загрязнения могут не проявлять постоянно требуемых качеств от партии к партии. Кроме того, тестовое загрязнение требует нанесения на ряд инструментов и оставления для высыхания в течение от 30 минут до двух часов перед промыванием. Это требует затрат времени и обычно является главным неудобством для загруженных отделений больниц. Также имеются проблемы, связанные с доступностью свежих компонентов тестового загрязнения, и в связи с вышеупомянутыми проблемами тест обычно проводится периодически, в некоторых случаях с частотой не более четырех раз в год. По существу, любые проблемы, которые могут возникнуть в связи с процессом промывания, выявляются нечасто. Кроме того, вследствие хорошо известного риска, связанного с использованием компонентов крови, нежелательно их использование описанным выше образом.
Пример традиционного устройства с тестовым образцом загрязнения, которое используется в постоянном контроле эффективности очистки промывочно-дезинфицирующего устройства, включает в себя стандартное тестовое вещество-загрязнитель, которое помещают в количестве 20 мг на небольшую стальную нержавеющую пластину. Тестовый образец загрязнения состоит на 95% из водорастворимых компонентов и 5% водонерастворимых фибриновых волокон, которые соответствуют свернувшейся крови человека.
Устройство с тестовым образцом загрязнения такого типа, как описанный выше, может быть установлен на держателе для поддержания его в заданном положении. Один из таких держателей раскрыт в DE 29909783, в котором жесткая пластина с тестовым образцом загрязнения расположена между двумя гибкими фиксаторами натяжного приспособления. Еще один пример держателя раскрыт в DE 20108346, в котором жесткий тестовый образец введен в полость между первым и вторым компонентами. Предусмотрено отверстие в области любого из концов компонентов для того, чтобы позволить промывочной жидкости пройти через него.
Проблема, связанная с подобными традиционными тест-устройствами, состоит в том, что они в целом являются однонаправленными и подвергаются промыванию и очистке только в одном направлении. Однако поскольку эффективность процесса промывания и очистки зависит от таких факторов, как используемый рабочий цикл, температура и давление воды, расположение тест-устройства в промывочном аппарате, загрузка промывочного аппарата, а также от того, прилегает ли тест-устройство к струе воды/жидкости в промывочном аппарате, если только одна поверхность тест-устройства имеет тестовое вещество-загрязнитель, предоставленное на нем, обеспечение точного отображения эффективности промывания и очистки промывочного аппарата является маловероятным.
Другой пример промывочного тест-устройства раскрыт в DE 19962148. Это устройство включает в себя аппликатор, снабженный находящимся на нем тестовым загрязнителем. Аппликатор прикреплен к пластине-носителю, и эта пластина-носитель и аппликатор могут быть образованы из эластичного материала таким образом, чтобы прикрепляться к шероховатой поверхности. Пластина-носитель может быть приклеена к поверхности или прикреплена винтами к поверхности. Проблема, связанная с этим устройством, состоит в том, что адгезив может быть смыт во время процесса промывания таким образом, что аппликатор с оставшимся загрязнителем, находящимся на нем, не будет поддерживаться в заданном положении внутри аппарата. Использование винтов для закрепления устройства в заданном положении обуславливает то, что процесс закрепления устройства в промывочном аппарате требует затрат времени, специального приспособления, позволяющего закрепить устройство к подходящей поверхности и также требует выполнения винтовых отверстий в промывочном аппарате, в котором расположено устройство для тестирования эффективности промывания во время использования, что может повредить промывочный аппарат и/или ограничить положение устройства в аппарате при использовании.
Следовательно, задача настоящего изобретения заключается в создании устройства для тестирования эффективности промывания тестового образца загрязнения, которое устраняет необходимость в покрытии инструментов тестовым веществом-загрязнителем.
Дополнительной задачей настоящего изобретения является создание устройства для тестирования эффективности промывания тестового образца загрязнения, которое является быстрым и простым в исполнении, тем самым обеспечивающим регулярное использование аппарата.
Еще одной дополнительной задачей настоящего изобретения является создание устройства для тестирования эффективности промывания тестового образца загрязнения, обеспечивающего более точные и многонаправленные признаки, характеризующие эффективность очистки/промывания в промывочном аппарате.
Задачей настоящего изобретения является предоставление удерживающего средства для использования с тестовым образцом загрязнения.
Дополнительной задачей настоящего изобретения является предоставление устройства с тестовым образцом загрязнения для использования с удерживающим средством.
В соответствии с первым аспектом настоящего изобретения, представлено устройство для тестирования эффективности промывания тестового образца загрязнения, где указанное устройство включает в себя удерживающее средство и одно или более устройств с тестовыми образцами загрязнения для размещения на удерживающем средстве для того, чтобы сделать возможным тестирование эффективности процесса промывания, где удерживающее средство включает в себя, по меньшей мере, первый и второй удерживающие элементы, причем, по меньшей мере, часть первого и/или второго удерживающих элементов способна к относительному перемещению, для того чтобы позволить одному или более устройствам с тестовым образцом загрязнения размещаться между ними, отличающееся тем, что часть первого и второго удерживающих элементов, между которыми расположены во время использования устройства с тестовым образцом загрязнения, включает в себя две или более поверхности, расположенные в различных направлениях, под различными углами и/или с различной ориентацией друг относительно друга, причем устройство с тестовыми образцами загрязнения повторяет контуры указанных поверхностей при расположении между ними для того, чтобы сделать возможным многонаправленное тестирование эффективности промывания и для поддержания устройств с тестовым образцом загрязнения в установленном положении во время использования.
В одном воплощении, по меньшей мере, первый и второй удерживающие элементы представлены разделенными на заданное небольшое расстояние, и устройство с тестовым образцом загрязнения во время использования помещено между удерживающими элементами. Часть устройства с тестовым образцом загрязнения типично выступает от удерживающих элементов при нахождении между ними для того, чтобы сделать возможным легкое удаление устройства, как требуется.
Предпочтительно указанные, по меньшей мере, первый и второй удерживающие элементы поворотно-перемещаемы друг относительно друга. Например, первый и второй удерживающие элементы могут быть соединены друг с другом посредством шарнирной оси или точки поворота.
Первый и второй удерживающие элементы выполнены подвижными между первым закрытым положением, в котором элементы параллельны и, по существу, прилегают друг к другу, и вторым открытым положением, в котором, по меньшей мере, часть удерживающих элементов разнесена друг от друга достаточно, чтобы сделать возможным вставку тест-устройства между ними или удаление его оттуда. Тест-устройство расположено между удерживающими элементами при закрытом положении во время использования, и удерживающие элементы расположены таким образом, чтобы тест-устройство не могло выпасть из положения между удерживающими элементами в закрытом положении.
В одном воплощении первый и второй удерживающие элементы включают в себя манипуляционную часть и часть, удерживающую устройство с тестовым образцом загрязнения. Удерживающая часть устройства с тестовым образцом загрязнения перемещается между открытым и закрытым положениями. Манипуляционная часть типично захватывается пользователем для того, чтобы позволить пользователю перемещать удерживающую часть устройства с тестовым образцом загрязнения между открытым и закрытым положениями.
Предпочтительно удерживающая часть устройства с тестовым образцом загрязнения одного или более из первого и/или второго удерживающих элементов включает в себя две или более поверхности, которые делают возможным прикрепление к ним устройства с тестовым образцом загрязнения. Две или более поверхности типично расположены под различными углами или ориентированы в разных направлениях, обеспечивая, таким образом, многонаправленное устройство для тестирования эффективности промывания. Кроме того, эти расположенные под различными углами поверхности позволяют закрепить устройство с тестовым образцом загрязнения между первым и вторым удерживающими элементами.
Альтернативно удерживающие части устройства с тестовым образцом загрязнения являются, по существу, линейными или прямыми по форме.
В одном воплощении две или более поверхности включают в себя противостоящие поверхности удерживающих частей устройства с тестовым образцом загрязнения (т.е. поверхности первого и второго удерживающих элементов).
В другом воплощении две или более поверхности включают в себя поверхности, предоставленные под углом по отношению друг к другу на первом и/или втором удерживающем элементе. Например, в одном примере две или более поверхности предоставлены, по существу, перпендикулярно друг другу на каждом удерживающем элементе.
Предпочтительно, по меньшей мере, удерживающая часть устройства с тестовым образцом загрязнения, поверхности, к которым прикрепляется устройство с тестовым образцом загрязнения или между которыми прикрепляется устройство с тестовым образцом загрязнения, снабжены одним или двумя отверстиями в них для увеличения экспозиции устройства с тестовым образцом загрязнения для воздействия промывающей жидкости в промывочном устройстве.
В одном воплощении предоставленные отверстия (28, 29) размещены в виде решетки.
В другом воплощении отверстия имеют форму ячеек.
В любом воплощении отверстия и стенки удерживающего средства, определяющие отверстия, обеспечивают открытую поверхность и ограниченную поверхность для тестирования эффективности процесса промывания тестового образца загрязнения. Это обеспечивает хорошее моделирование типичной ситуации, связанной с хирургическим или медицинским оборудованием, например имеющие шарнирно связанные части инструменты, такие как ножницы или зажимы, которые представляют известную сложность с точки зрения очистки вследствие загрязнений, оказавшихся внутри соединений указанных инструментов.
Предпочтительно первый и второй удерживающие элементы упруго отклоняются к закрытому положению. Отклоняющее усилие является достаточным, чтобы закреплять, по меньшей мере, частично, устройство с тестовым образцом загрязнения между удерживающими элементами в закрытом положении.
Еще более предпочтительно, чтобы манипулируемая часть удерживающих элементов являлась отклоняемой к указанному закрытому положению. В этом положении манипулируемые части удерживающих элементов разнесены на расстояние друг от друга, и удерживающие части устройства с тестовым образцом загрязнения параллельны и примыкают друг к другу.
Пружина, пружинящее металлическое/пластмассовое или другое отклоняющее средство может быть предусмотрено для отклонения части удерживающих элементов/манипуляционной части к указанному закрытому положению.
Отклоняющее средство может также быть средством, посредством которого первый и второй удерживающие элементы прикрепляются друг к другу.
В одном воплощении удерживающее средство и/или удерживающая часть тестового образца загрязнения является любой или любой комбинацией из, по существу, круглой, по существу, цилиндрической, по существу, полукруглой и/или любой другой требуемой формы.
Первый и второй удерживающие элементы и/или удерживающие части устройства с тестовым образцом загрязнения при необходимости могут быть выполнены клиновидной формы.
В том воплощении, в котором удерживающее устройство является цилиндрическим, первый и второй элементы являются также, по существу, цилиндрическими, и первый внешний элемент имеет незначительно большие размеры, чем указанный внутренний элемент. По существу, второй элемент может быть размещен в канале, определенном цилиндрическими стенками первого элемента. Устройство с тестовым образцом загрязнения располагают между первым и вторым удерживающими элементами, и одно или более отверстий при необходимости могут быть предоставлены в стенках первого и второго удерживающих элементов.
Предпочтительно одно или более устройств с тестовым образцом загрязнения имеют форму листового материала с тестовым веществом-загрязнителем, предоставленным на них.
Предпочтительно тестовое вещество-загрязнитель или индикатор, предоставленный на устройстве с тестовым образцом загрязнения, отпечатан на поверхности листового материала, и более предпочтительно тестовое вещество-загрязнитель или индикатор отпечатано на обеих поверхностях листового материала. При предоставлении тестового вещества-загрязнителя на листовом материале, а не на покрытии инструментов или медицинских устройств, тестовым веществом-загрязнителем легче и надежнее манипулировать. Устройство с тестовым образцом загрязнения является заранее приготовленным, что, таким образом, сокращает время, необходимое пользователю для запуска теста в промывочном устройстве. Кроме того, поскольку устройство с тестовым образцом загрязнения прикреплено к держателю с возможностью отсоединения, оно может быть легко удалено для осмотра и поддерживается в требуемой ориентации в промывочном устройстве при использовании.
Предпочтительно листовой материал является, по существу, эластичным, позволяя вследствие этого устройству с тестовым образцом загрязнения огибать изогнутый под углом первый и/или второй удерживающие элементы, быть свернутым и располагаться в каналах или полостях медицинских или хирургических инструментов для обеспечения их адекватной очистки.
Предпочтительно листовой материал образован из пластичного материала, такого как полипропилен.
Тестовое вещество-загрязнитель или индикатор не содержит крови или продуктов, связанных с кровью, но может содержать любой из белков (типично из, по меньшей мере, двух источников), жиров и/или полисахаридов или их комбинацию. Каждый из компонентов индикатора представляет индивидуальный распознаваемый признак для процесса очистки промывания. Например, белки требуют холодной воды ниже 35 градусов Цельсия, тогда как жиры требуют более высокой температуры, предпочтительно в присутствии поверхностно-активного вещества.
Индикатор представлен такого цвета, посредством красителя или другого средства обеспечивающего четкую визуальную индикацию относительно присутствия там загрязнения. Если какое-либо остаточное вещество можно увидеть на тест-устройстве после промывания, тест показывает, что в процессе промывания/очистки не удалось обеспечить адекватный процесс очистки/промывания. Если не видно никакого остаточного вещества на тест-устройстве после промывания, тест показывает, что процесс промывания соответствует необходимым критериям очистки/промывания. Листовой материал может быть прозрачным или непрозрачным для того, чтобы обеспечить возможность визуализации индикатора на нем.
Степень, до которой компоненты индикатора приклеиваются к поверхности листового материала, может изменяться при необходимости, таким образом, отражая способность к устранению обычных загрязнений, которые высохли на инструментах в течение различного промежутка времени.
В соответствии со вторым независимым аспектом настоящего изобретения предоставлено устройство с тестовым образцом загрязнения для использования с удерживающим устройством.
Устройство с тестовым образцом загрязнения может быть использовано независимо от удерживающего устройства при необходимости.
В соответствии с дополнительным независимым аспектом настоящего изобретения предоставлено удерживающее средство для использования с устройством с тестовым образцом загрязнения.
Таким образом, можно видеть, что преимущества настоящего изобретения состоят в том, что устройство с тестовым образцом загрязнения является более легким и надежным для манипулирования. Кроме того, является быстрым и простым визуальный осмотр устройства после процесса промывания и очистки для обеспечения того, что процесс прошел успешно. Удерживающее устройство делает возможным легкое размещение и его поддержание в различных положениях под различными углами в промывочном устройстве для обеспечения более точного моделирования условий промывания по всему устройству.
Примеры воплощения настоящего изобретения будут далее описаны при ссылке на сопровождающие чертежи, в которых:
фигуры 1a и 1b являются изображениями в перспективе удерживающих средств в соответствии с воплощением настоящего изобретения в открытом и закрытом положениях;
фигуры 2а и 2b иллюстрируют боковые изображения удерживающего средства и устройства с тестовым образцом загрязнения в открытом и закрытом положениях соответственно;
фигура 2с представляет собой вид спереди удерживающего средства на фигурах 1а-2b;
фигура 3 иллюстрирует устройство с тестовым образцом загрязнения, используемое в устройстве на фигуре 2b;
фигуры 4-6 иллюстрируют размещение устройства для тестирования эффективности промывания в промывочном устройстве на трех разных примерах;
фигуры 7a-7d иллюстрируют дополнительные примеры удерживающих средств, в соответствии с настоящим изобретением;
фигура 8а иллюстрирует заготовку внешнего элемента, образующего удерживающее средство в одном воплощении;
фигуры 8b и 8е иллюстрируют вид сбоку, вид спереди, вид сзади и вид в перспективе удерживающего элемента на фигуре 8а после придания формы;
фигуры 9a-9d иллюстрируют изображения внутреннего элемента для скрепления с наружным элементом, показанным на фигуре 8а;
фигура 9е представляет собой увеличенное изображение верхнего края элемента, показанного на фигуре 9с; и
фигура 10 является видом в перспективе элементов на фигуре 8 и 9, соединенных вместе в закрытом положении.
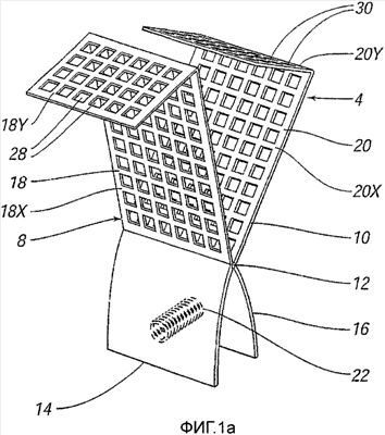
Со ссылкой на фигуры проиллюстрировано устройство 2 для тестирования эффективности промывания тестового образца загрязнения, включающее в себя держатель 4 и устройство 6 с тестовым образцом загрязнения.
Держатель 4 включает в себя первый и второй удерживающие элементы 8, 10, шарнирно соединенные друг с другом в области оси поворота 12. Первый и второй удерживающие элементы каждый имеют манипуляционные части 14, 16 и части 18, 20, удерживающие устройство с тестовым образцом загрязнения.
Пружина 22, которая отклоняет манипуляционные части к закрытому положению, как показано на фигуре 1b, прикреплена к противостоящим поверхностям 24, 26 манипуляционных частей 14, 16. В этом положении манипуляционные части разнесены на расстояние друг от друга, и удерживающие части 18, 20 примыкают и параллельны друг другу.
Первый и второй удерживающие элементы 8, 10 являются подвижными от закрытого положения, показанного на фигуре 1b, до открытого положения, показанного на фигуре 1а, посредством зажимающих манипуляционных частей 14, 16 и их перемещения по направлению друг к другу, таким образом, заставляя удерживающие части 18, 20 расходиться вокруг оси поворота 12.
Удерживающие части 18, 20 включают в себя внутренние участки 18Х, 18Y и 20Х, 20Y, где внутренние участи в пределах каждой удерживающей части являются, по существу, перпендикулярными друг другу. Внутренние участи 18Х и 20Х являются, по существу, параллельными и примыкают друг к другу в закрытом положении, и внутренние участи 18Y и 20Y являются, по существу, параллельными и примыкают друг к другу в закрытом положении. 18Х, 18Y. Обеспечение внутренних участков под различными углами увеличивает легкость, с которой держатель может быть размещен в необходимом положении во время процесса промывания и также предоставляет многонаправленное тестирование процесса промывания.
Каждый из указанных внутренних участков 18Х, 18У, 20Х, 20У снабжен множеством отверстий 28, 30, расположенных в форме решетки. Когда первый и второй удерживающие элементы 8, 10 находятся в закрытом положении, таким образом, что элементы являются параллельными или соприкасаются или, по меньшей мере, прилегают друг к другу, отверстия 28 на первом удерживающем элементе располагаются, по существу, на одной линии с отверстиями 30 на втором удерживающем элементе. Однако отверстия 28, 30 могут быть предоставлены не на одной линии при необходимости.
Устройство 6 с тестовым образцом загрязнения включает листовой материал, имеющий верхнюю поверхность 32 и нижнюю поверхность (не показана). Индикатор 34 предоставлен как на верхней, так и на нижней поверхности в виде заранее определенной конфигурации посредством процесса печатания и оставляется для высыхания на листовом материале. Представленный индикатор имеет цвет, контрастирующий с цветом листового материала, таким образом обеспечивающий легкую визуализацию индикатора.
Индикатор типично включает жиры, полисахариды и, по меньшей мере, два белка и представляет типичные вещества, располагающиеся на хирургических инструментах после использования в клинических или лабораторных процедурах.
При использовании устройства для тестирования эффективности промывания удерживающие части 18, 20 держателя 4 перемещаются к открытому положению посредством приложения сжимающего усилия к удерживающим частям 14, 16. Устройство 6 с тестовым образцом загрязнения вставляется между удерживающими частями 18, 20, и держатель 4 закрывается посредством устранения сжимающего усилия на удерживающие части, тем самым отклоняя удерживающие части, и, таким образом, удерживающие части 18, 20, к закрытому положению. Устройство 6 имеет несколько меньшую длину, чем длина вместе взятых внутренних участков 18Х и 18Y или 20Х, 20Y. По существу, когда держатель 4 перемещается в закрытое положение, устройство 6 сгибается вблизи с краем 36, 38, определяя внутренние участки 18Х и 18Y или 20Х, 20Y, и повторяет контуры (которые в этом примере находятся, по существу, одной плоскости) внутренних участков 18Х и 18Y или 20Х, 20Y, как показано на фигуре 2b. Следует отметить, что ряд отдельных устройств с тестовым образцом загрязнения может быть обеспечен и помещен смежно с внутренними участками 18Х и 18Y, 20Х, 20Y при необходимости.
Индикатор 34 предоставлен в центральной части листового материала таким образом, что образуется граница по периферии устройства 6. Данная граница соответствует наружному краю удерживающих частей 18, 20, которые не снабжены отверстиями 28, 30.
При локализации тест-устройства между удерживающими частями 18, 20 держателя 4 части индикатора 34 на обеих сторонах листового материала являются доступными для воды и других моющих средств или веществ посредством отверстий 28, 30. В частности, четыре поверхности 18Y, 20Y, 18Х или 18Y, обращенные к различным направлениям и установленные в различных ориентациях, представлены для промывания в этом примере, таким образом, обеспечивая более точную индикацию, касающуюся эффективности и процесса промывания по сравнению с традиционными однонаправленными устройствами.
Держатель может быть размещен в любом требуемом положении в промывочном устройстве при необходимости. Обеспечение расположенных под разными углами поверхностей позволяет держателю быть расположенным и сохранять равновесие в требуемом положении с большей легкостью, чем традиционные устройства.
Держатель обычно изготовлен из нержавеющей стали для моделирования типичной специфической теплоемкости хирургических инструментов и других медицинских устройств, а также для снижения риска их повреждения в результате использования экстремальных условий промывания или моющих средств.
С момента начала процесса промывания пользователь может быстро и просто удалить устройство с тестовым образцом загрязнения из держателя 4 посредством перемещения держателя в открытое положение. Если процесс промывания/очистки не прошел успешно, индикатор все равно будет присутствовать на устройстве.
Дополнительные примеры удерживающих средств, в соответствии с настоящим изобретением, проиллюстрированы на фигурах 7a-7d. На фигурах 7а и 7b предоставлено, по существу, цилиндрическое удерживающее устройство, которое включает в себя первый цилиндрический элемент 204 и второй цилиндрический элемент 206. Второй элемент 206 размещен с возможностью скольжения в канале 208, определенном стенками 210 первого элемента 204 между первым положением, в котором элемент 206, по существу, заключен внутри первого элемента 204, как показано на фигуре 7а, и вторым положением, в котором элемент 206 извлечен полностью или частично из канала 208 первого элемента 204 (фигура 7b иллюстрирует элемент 206, частично извлеченный из первого элемента 204). Устройство 212 с тестовым образцом загрязнения размещено и закреплено между первым и вторым удерживающими элементами 204, 206 при первом положении, как показано на фигуре 7а. Отверстия 214 могут быть предоставлены на обоих внутреннем и наружном элементах 204, 206 при необходимости. Удерживающее средство, в соответствии с этим воплощением, позволяет проверить эффективность промывания по всему его 360-градусному периметру. Первое и второе удерживающие средства могут также суживаться к концу при необходимости. Показанное удерживающее средство может включать, если требуется, в себя манипуляционную или захватываемую часть, хотя она и не показана для ясности.
Фигура 7d иллюстрирует полое сферическое удерживающее средство 216, в котором эффективность промывания в, по существу, всех направлениях может быть протестирована. В этом примере первый и второй удерживающие элементы могут быть по форме полусферическими и закреплены шарнирно или отсоединяемо прикреплены вдоль, по меньшей мере, дуги внешней поверхности, где устройство с тестовым образцом загрязнения типично размещается в сфере 216. Альтернативно первый удерживающий элемент может быть представлен в виде внешней сферы, и второй удерживающий элемент может быть представлен в форме внутренней сферы, размещенной во внешней сфере при использовании. Первый удерживающий элемент типично имеет средство для разделения частей сферы для обеспечения возможности размещения в нем второго удерживающего элемента. Устройство с тестовым образцом загрязнения в этом примере типично размещается между внешней и внутренней сферами.
При ссылке на фигуру 7с представлено удерживающее средство 218, в котором часть, удерживающая устройство с тестовым образцом загрязнения 220 первого и второго удерживающих элементов 222, 224, является, по существу, полусферической по форме. Устройство с тестовым образцом загрязнения 226 между первым и вторым удерживающими элементами работает обычным образом.
Пример использования устройства для тестирования эффективности промывания в процессе промывания будет далее описано при ссылке на фигуру 4. Промывочное устройство в виде промывочно-дезинфицирующего устройства, состоящего их четырех полок 102, 104, 106 108, где каждая полка имеет распылительную ручку для распыления очищающей жидкости в аппарат.
Промывочный цикл, используемый в первом примере, включает в себя следующие этапы:
– Предварительное полоскание холодной водой в течение 2-х минут
– Сушка
– Основное промывание при 60°С в течение 3-х минут
– Сушка
– Полоскание в течение 1-й минуты теплой водой
– Сушка
– Полоскание в течение 1-й минуты теплой водой
– Сушка
Множество устройств с тестовым образцом загрязнения располагают в держателях и оставляют незакрепленными на четырех полках по всему промывочному устройству. Устройства с тестовым образцом загрязнения в держателях/зажимах снабжены со ссылочными цифрами 1-3, 5-6, а устройства с тестовым образцом загрязнения, размещенные непосредственно на полках в промывочном устройстве, снабжены ссылочными цифрами 4, 7-12. Было обнаружено, что индикаторы всех устройств с тестовым образцом загрязнения были смыты за исключением таковых на устройствах с тестовым образцом загрязнения под номером 2, 5 и 6. В образце 12 индикатор на нем также исчез в том участке, где тест-устройство было скреплено скобой. По существу, это дает пользователю четкое указание на то, что определенные участки промывочного устройства обеспечивают большую эффективность промывания, чем другие участки. Таким образом, важно знать, что хирургические и медицинские инструменты во всех частях промывочного устройства являются адекватно промытыми и очищенными.
Во втором примере процесс промывания был повторен, причем было добавлено моющее средство во время основного промывания при температуре 40°С в дозе 5-10 мл на литр. Промывочное устройство типично вмещает в себя 15 литров воды и, таким образом, 100 мл моющего средства было использовано в процессе промывания. Все устройства с тестовым образцом загрязнения были размещены на держателях и помещены в промывочное устройство на их сторонах, в соответствии с фигурой 5, так, что ячейки или отверстия на держателях обращены к стенам камеры промывочного устройства. В целом является признанным, что области загрузки, обращенные к стенкам камеры, могут труднее поддаваться очистке, чем области загрузки, непосредственно обращенные к распылительным приспособлениям/головкам или струям.
Было обнаружено, что образцы 2, 3 и 4 – все имели остаточное количество индикатора, четко видимое после процесса промывания, и образцы 5 и 6 имели небольшое количество оставшегося индикатора. Эти результаты совпадали с ожиданиями, касающимися очищающей способности данной конкретной машины.
В третьем примере процесс промывания был повторен с наличием следующих стадий:
– Предварительное полоскание горячей водой при 60°С в течение 2-х минут
– Сушка
– Основное промывание при 60°С в течение 3-х минут
– Сушка
– Полоскание в течение 1-й минуты теплой водой
– Сушка
– Полоскание в течение 1-й минуты теплой водой
– Сушка
Моющее средство было использовано в процессе промывания в той же самой дозе, как и в примере 2, и при той же самой температуре. После предварительного промывания при 60°С температура воды опускалась до 30°С вследствие отсутствия подачи горячей воды, и затем температура воды медленно повышалась в течение 3,5 минут до 60°С перед началом основной стадии промывания. Устройства с тестовым образцом загрязнения были снова все предоставлены в держателях и помещены таким образом, чтобы быть обращенными к стенкам камеры промывающего устройства, в соответствии с фигурой 6.
Результаты этого третьего процесса промывания показывают, что все индикаторы по прежнему присутствуют и видны на устройствах с тестовым образцом загрязнения.
Таким образом, можно видеть, что устройство настоящего изобретения может быть использовано для обеспечения надежного уровня и степени промывания, которое осуществляется в промывочном аппарате при различных условиях промывания и при различном расположении в промывочном устройстве. Это является крайне важным, поскольку различные загрязнения требуют промывания при различной температуре, такие как белки, которые при условии, если они не будут промываться при температуре ниже 35°С, станут денатурированными и будут крайне трудно поддаваться удалению.
При ссылке на фигуры 8а и 8е в них проиллюстрирована заготовка 302 удерживающего элемента в одном воплощении настоящего изобретения. Заготовка 302 включает в себя первое размещение отверстий 4, расположенных в форме решетки, прилегающих к торцу 306, и второе размещение отверстий 308, расположенных в форме решетки. Вокруг каждого из размещений отверстий обеспечена граница. Отверстия разнесены на расстояние друг от друга от отверстий 304, и отверстие 310 предоставлено в области торца 312. Заготовке можно придать требуемую форму любым традиционным способом, таким как сгибание и/или тому подобное. Отверстия типично вырезают посредством резки азотным лазером, однако могут быть также применены другие традиционные способы.
Фигуры 8а и 8е иллюстрируют удерживающий элемент, после изготовление, и торец 306 изогнут таким образом, что отверстия 304, по существу, перпендикулярны отверстиям 308. Дополнительный, по существу, идентичный удерживающий элемент 302′ (фигуры 9а-9е, одни и те же признаки обозначены посредством штриха ‘) может быть затем прикреплен к удерживающему элементу 302 посредством его крепления, как часть пружинящего металла или металлического зажима 318, как показано на фигуре 10, который типично прикрепляется к одному из удерживающих элементов и фиксируется посредством отверстия 310 и 310′ на другом из указанных элементов. Этот зажим или часть может также действовать в качестве отклоняющего средства, при необходимости. Прорезь или паз 314 может быть обеспечен для того, чтобы обеспечить возможность закрепления в нем одного конца пружинящего металла или зажима. Удерживающий элемент 302 типично образует внешний элемент, и удерживающий элемент 302’ типично образует внутренний элемент, когда указанные элементы соединяются вместе.
Фигуры 9а-9е иллюстрируют различные примеры дополнительного удерживающего элемента 302′, образованного в соответствии с различным расположением по отношению к элементу, проиллюстрированному на фигурах 8а-8е. В этом расположении торец 312′ изогнут по отношению к поверхности удерживающего элемента 302′, на котором представлены отверстия 308′ в дополнение к изгибу торца 306′ для образования манипуляционной части. В заключительной компоновке торец 312′ обращен вовнутрь элемента к концу 306′. Ось поворота или ось шарнира 314′ предоставлена в виде мостика или выступающей части для того, чтобы обеспечить возможность вращения элемента 312′ по отношению к элементу 302.
Удерживающие элементы 302 и 302′ размещены в, по существу, перекрывающемся расположении при соединении друг с другом в первом закрытом положении, и отверстия 304, 308 располагаются, по существу, на одной линии и прилегают друг к другу. Часть 316′ разнесена на расстояние от части 316, таким образом, позволяя части 316′ захватываться пользователем при использовании и перемещаться к части 316. Зажим 318, соединяющий удерживающие элементы 302 и 302′ вместе, позволяет элементу 302′ поворачиваться от элемента 302, таким образом, позволяя устройству с тестовым образцом загрязнения быть размещенным между ними и/или быть удаленным.
Держатель, представленный в настоящем изобретении, может иметь любую необходимую форму, размер и/или конструкцию и может содержать разнообразие плоскостей, которые различаются по количеству, направлению или ориентации, при необходимости, таким образом, обеспечивая более точный тест для процесса дезинфекции, чем устройства предшествующего уровня техники. Устройства с тестовым образцом загрязнения могут использоваться отдельно, при необходимости, для обеспечения индикации, касающейся способа распыления и разбрызгивания внутри промывочного устройства. Устройства с тестовым образцом загрязнения могут также располагаться в подвешенном состоянии в устройствах для ультразвуковой очистки для обеспечения возможности идентификации низкой ультразвуковой активности. Кроме того, гибкость листового материала, из которого образованы устройства с тестовым образцом загрязнения, позволяет ему быть свернутым в, по существу, цилиндрическую форму для размещения в трубках или для того, чтобы отражать степень промывания в трубках или других, содержащих полость или канал инструментах. Преимущество свертывания индикаторного листового материала в трубку состоит в том, что индикаторный листовой материал может быть впоследствии развернут после завершения процесса. Это делает возможным визуальный осмотр внутренних поверхностей узкого канала или просвета, что обычно невозможно осуществить традиционным способом.
Формула изобретения
1. Устройство для тестирования эффективности промывания тестового образца загрязнения, включающее удерживающее устройство и одно или более устройств с тестовым образцом загрязнения для размещения в удерживающем устройстве для обеспечения возможности тестирования процесса промывания, причем удерживающее устройство включает в себя, по меньшей мере, первый и второй удерживающие элементы, по меньшей мере, часть первого и/или второго удерживающих элементов имеет возможность относительного перемещения для обеспечения размещения одного или более устройств с тестовым образцом загрязнения между ними, отличающееся тем, что часть первого и второго удерживающих элементов, между которыми устройства с тестовым образцом загрязнения расположены во время использования, включает в себя две или более поверхности, расположенные в различных направлениях, под различными углами и/или с различной ориентацией относительно друг друга, причем устройство с тестовыми образцами загрязнения повторяет контуры указанных поверхностей при расположении между ними для обеспечения многонаправленного тестирования для поддержания устройств с тестовым образцом загрязнения в установленном положении во время использования.
2. Устройство по п.1, отличающееся тем, что, по меньшей мере, часть первого и/или второго удерживающих элементов является подвижной между первым закрытым положением, в котором удерживающие элементы по существу параллельны и прилегают друг к другу, и вторым открытым, положением, в котором, по меньшей мере, часть удерживающих элементов расположена отстоящей на расстоянии.
3. Устройство, по п.1, отличающееся тем, что первый и второй удерживающие элементы выполнены с возможностью поворотного перемещения по отношению друг к другу.
4. Устройство по п.1, отличающееся тем, что первый и второй удерживающие элементы соединены друг с другом посредством шарнира.
5. Устройство по п.1, отличающееся тем, что первый и/или второй удерживающие элементы включают в себя манипуляционную часть и часть, удерживающую устройство с тестовым образцом загрязнения.
6. Устройство по п.5, отличающееся тем, что часть, удерживающая устройство с тестовым образцом загрязнения указанных удерживающих элементов, подвижна между открытым и закрытым положениями.
7. Устройство, по п.5, отличающееся тем, что часть, удерживающая устройство с тестовым образцом загрязнения, одного или обоих из первого и/или второго удерживающих элементов включает в себя две или более поверхности, на которых одно или более устройств с тестовым образцом загрязнения расположено при использовании.
8. Устройство по п.1, отличающееся тем, что две или более поверхности включают в себя противостоящие поверхности первого и второго удерживающих элементов.
9. Устройство по п.1, отличающееся тем, что часть, удерживающая тестовый образец загрязнения каждого из первого и второго удерживающих элементов, снабжена первой поверхностью и второй поверхностью, по существу, перпендикулярной ей.
10. Устройство по п.5, отличающееся тем, что, по меньшей мере, часть, удерживающая тестовый образец загрязнения указанных первого и/или второго удерживающих элементов, снабжена одним или более отверстиями, выполненными в них.
11. Устройство по п.10, отличающееся тем, что отверстия первого и второго удерживающих элементов расположены, по существу, по одной линии.
12. Устройство по п.10, отличающееся тем, что отверстия размещены в виде решетки.
13. Устройство по п.10, отличающееся тем, что отверстия выполнены в форме ячеек.
14. Устройство по п.2, отличающееся тем, что первый и второй удерживающие элементы имеют возможность упругого отклонения к закрытому положению при помощи отклоняющих средств.
15. Устройство по п.5, отличающееся тем, что манипуляционная часть первого и/или второго удерживающих элементов имеет возможность упругого отклонения к закрытому положению при помощи отклоняющих средств.
16. Устройство по п.14, отличающееся тем, что манипуляционная часть первого и/или второго удерживающих элементов имеет возможность упругого отклонения к закрытому положению при помощи отклоняющих средств.
17. Устройство по п.14, отличающееся тем, что отклоняющее средство является средством для прикрепления первого и второго удерживающих элементов друг к другу.
18. Устройство по любому из пп.14, 15 или 16, отличающееся тем, что отклоняющее средство включает в себя пружину или пружинящий материал.
19. Устройство по п.5, отличающееся тем, что часть, удерживающая устройство с тестовым образцом загрязнения, имеет круглую, цилиндрическую или полукруглую форму или представляет их комбинацию.
20. Устройство по п.5, отличающееся тем, что часть, удерживающая устройство с тестовым образцом загрязнения, выполнена клиновидной.
21. Устройство по п.1, отличающееся тем, что первый и второй удерживающие элементы являются по существу цилиндрическими, и первый элемент имеет большие размеры и расположен снаружи по отношению ко второму внутреннему элементу, причем устройство с тестовым образцом загрязнения расположено между ними.
22. Устройство по п.1, отличающееся тем, что форма первого и/или второго удерживающих элементов является круглой, цилиндрической или полукруглой или представляет их комбинацию.
23. Устройство по п.1, отличающееся тем, что одно или более устройств с тестовым образцом загрязнения имеют форму листового материала с предусмотренным на нем тестовым веществом загрязнителем.
24. Устройство по п.1, отличающееся тем, что тестовое вещество-загрязнитель, находящееся на устройстве с тестовым образцом загрязнения, отпечатано на его поверхности.
25. Устройство по п.23, отличающееся тем, что тестовое вещество-загрязнитель содержит белки, жиры, и/или полисахариды или их комбинацию.
26. Устройство по п.23, отличающееся тем, что тестовое вещество-загрязнитель имеет цвет, обеспечивающий четкую визуальную индикацию присутствия загрязняющих веществ.
27. Устройство по п.1, отличающееся тем, что устройство с тестовым образцом загрязнения выполнено из пластмассы.
28. Устройство по п.1, отличающееся тем, что устройство с тестовым образцом загрязнения является по существу прозрачным.
29. Устройство по п.1, отличающееся тем, что тестовый образец загрязнения является светонепроницаемым.
30. Устройство по п.1, отличающееся тем, что часть устройства с тестовым образцом загрязнения выступает от первого и/или второго удерживающих элементов при положении между ними при использовании.
31. Удерживающее устройство для использования в устройстве для тестирования эффективности промывания тестового образца загрязнения по п.1, содержащее, по меньшей мере, первый и второй удерживающие элементы, причем, по меньшей мере, часть первого и/или второго удерживающих элементов имеет возможность относительного перемещения, при этом часть первого и второго удерживающих элементов включает в себя две или более поверхности, расположенные в различных направлениях, под различными углами и/или с различной ориентацией друг относительно друга.
РИСУНКИ
|
|