|
|
(21), (22) Заявка: 2007121470/14, 18.05.2007
(24) Дата начала отсчета срока действия патента:
18.05.2007
(46) Опубликовано: 10.10.2008
(56) Список документов, цитированных в отчете о поиске:
RU 2236200 С1, 20.09.2004. RU 12962 U1, 20.03.2000. RU 2207883 С2, 10.07.2003. CN 1692890, 09.11.2005. JP 7191023, 28.07.1995. АЛЕШАЕВ М.И. и др. Устройство для забора слезной жидкости. Актуальные проблемы клинической офтальмологии. – Челябинск, 1999, с.328-329. ШАМШИНОВА A.M. и др. Функциональные методы исследования в офтальмологии. 2004,
Адрес для переписки:
450000, г.Уфа-Центр, Ленина, 3, БАШГОСМЕДУНИВЕРСИТЕТ, Патентный отдел
|
(72) Автор(ы):
Нафикова Винера Гумаровна (RU), Азнабаев Равиль Ахметзянович (RU), Бикбов Мухаррам Мухтарамович (RU), Сергеева Олеся Александровна (RU)
(73) Патентообладатель(и):
Государственное учреждение “Уфимский научно-исследовательский институт глазных болезней” Академии наук Республики Башкортостан (УфНИИ ГБ АН РБ) (RU)
|
(54) УСТРОЙСТВО ДЛЯ СБОРА СЛЕЗНОЙ ЖИДКОСТИ
(57) Реферат:
Изобретение относится к офтальмологии. Данное устройство содержит эппендорфф с колпачком. Устройство снабжено проводником, который выполнен из тонкой гибкой пленки, обеспечивающей плотное прилегание к нижнему веку, в форме усеченного конуса, верхнее основание которого имеет изгиб, повторяющий контур нижнего века. На его наружной стороне размещена двухсторонняя клейкая лента. По бокам выполнены бортики для стекания слезы. При этом проводник прикреплен к эппендорффу с помощью клейкой ленты за колпачок таким образом, что нижнее основание усеченного конуса входит в эппендорфф. Использование изобретения обеспечивает исключение механического воздействия на эпителий конъюнктивальной полости при сборе слезной жидкости, уменьшение потерь отбираемой слезной жидкости, возможность сбора слезной жидкости одновременно с обоих глаз, сокращение времени сбора. 2 з.п. ф-лы, 6 ил.
(56) (продолжение):
CLASS=”b560m”с.286-295. Esmaeli В. et al. Docetaxel secretion in tears: association with lacrimal drainage obstruction. Arch Ophthalmol. 2002 Sep; 120(9): 1180-2. Реферат в PubMed, PMID: 12215091. Choy C.K. et al. Is ascorbate in human tears from corneal leakage or from lacrimal secretion? Clin. Exp. Optom. 2004 Jan; 87(1):24-7. Реферат в PubMed, PMID: 14720117.
Изобретение относится к медицине, а именно к офтальмологии, и может быть использовано для сбора слезной жидкости.
Известен способ забора слезной жидкости с помощью адсорбента (фильтровальной бумаги, ваты, бинта и др.), вставленного в конъюнктивальный мешок (Терехина Н.А., Петрович Ю.А., Батуева Р.А. Лабораторное дело. – 1989. – №6. – С.27-30). Недостатком данного способа является то, что фильтровальная бумага адсорбирует не только слезу, но и содержимое эпителиальных клеток роговицы и конъюнктивы после микротравмы их адсорбентом. В зависимости от свойств адсорбента результаты анализов значительно различаются и могут быть недостоверными.
Известно устройство для отбора проб из полостей организма пациента, которое содержит цилиндрическую камеру, снабженную поршнем со штоком, механический привод выполнен в виде спиральной пружины, размещенной в подвижном клапане (патент RU 2207883, 2003 г.). Данное устройство является громоздким и сложным в изготовлении.
Прототипом изобретения является эппендорфф, в который собирают слезную жидкость с помощью микрокапилляра (пипетки) из конъюнктивального мешка или с наружной поверхности нижнего века или щеки после того, как она вытечет из глазной щели (Терехина Н.А., Петрович Ю.А. Лабораторное дело. – 1990. – №2. – С.13-18). Недостатками являются микротравма эпителия конъюнктивы при сборе, в результате чего к слезам примешивается содержимое эпителиальных клеток либо даже целиком поврежденные эпителиальные клетки, что изменяет биохимический состав и метаболизм слезы. Сбор слезной жидкости с кожи века связан с потерями ее объема. У детей младшего возраста процедура вызывает отрицательную эмоциональную реакцию, в результате она проводится с насильственным удержанием ребенка, и соответственно, перечисленные недостатки значительно усугубляются.
Задачей предлагаемого изобретения стала разработка устройства с улучшенными эксплуатационными характеристиками, обеспечивающего возможность применения у детей младшего возраста, возможность сбора слезной жидкости одновременно с обоих глаз.
Технический результат при использовании предлагаемого изобретения – исключение механического воздействия на эпителий конъюнктивальной полости при сборе слезной жидкости, как следствие максимальное сохранение биохимического состава и естественного метаболизма слезы; уменьшение потерь отбираемой слезной жидкости; сокращение времени сбора; возможность сбора слезной жидкости одновременно с обоих глаз; уменьшение отрицательной эмоциональной реакции пациента; возможность сбора слезы пациентом самостоятельно в домашних условиях.
Указанный технический результат достигается тем, что устройство, содержащее эппендорфф с колпачком, снабжено проводником, который выполнен из тонкой гибкой пленки толщиной 0,08 мм в форме усеченного конуса, верхнее основание которого имеет изгиб, повторяющий контур нижнего века, а на его наружной стороне размещена двухсторонняя клейкая лента, по бокам выполнены бортики для стекания слезы, при этом проводник прикреплен к эппендорффу с помощью клейкой ленты за колпачок таким образом, что нижнее основание усеченного конуса входит в эппендорфф.
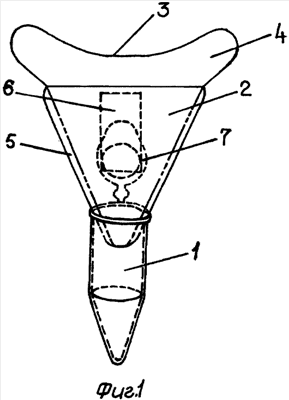
Предлагаемое устройство содержит эппендорфф 1, проводник 2 из тонкой гибкой пленки толщиной 0,08 мм, обеспечивающей плотное прилегание к наружной поверхности нижнего века, что исключает затекание слезы под пленку, например, флюорографической пленки, в виде усеченного конуса, верхнее основание которого имеет изгиб 3, повторяющий контур нижнего века. На наружной стороне верхнего основания размещена двухсторонняя клейкая лента 4 для приклеивания к нижнему веку. По бокам устройства имеются бортики 5 для стекания слезы в контейнер (эппендорфф). Углы верхнего основания и бортиков закруглены, что исключает риск травматизации. Эппендорфф крепится к проводнику с помощью односторонней клейкой ленты 6 за колпачок 7 таким образом, что нижнее основание усеченного конуса входит в эппендорфф (фиг.1-4).
Предлагаемое изобретение иллюстрируется следующими фигурами: на фиг.1 изображено предлагаемое устройство, вид спереди; на фиг.2 – то же, вид сзади; на фиг.3 – то же, вид сбоку; на фиг.4 – отдельные части устройства; на фиг.5-6 – устройство в использовании.
Предлагаемое устройство используется следующим образом. До начала сбора слезной жидкости к проводнику с помощью односторонней клейкой ленты крепят эппендорфф за колпачок. Далее отклеивают клейкую ленту на верхнем основании проводника и устройство прикрепляют к наружной поверхности нижнего века. Слеза через проводник накапливается в эппендорффе. Стимулировать секрецию слезы можно различными способами: химическими, эмоциональными и др. После сбора слезы проводник отклеивают, эппендорфф закрывают колпачком и передают на исследование. Проводник промывают проточной водой, обрабатывают 70% раствором спирта, проводят замену клейкой ленты на верхнем основании. Таким образом, возможно его многоразовое использование.
Предлагаемое устройство было использовано при сборе слезной жидкости у 20 больных (40 глаз).
Приводим примеры клинического использования.
Пример 1. Больной Нафиков Б.А. 2 года 4 месяца доставлен в детскую поликлинику Уфимского НИИ глазных болезней с острым конъюнктивитом неясной этиологии, предположительно аденовирусной. Из анамнеза: 2 недели назад мальчик переболел ОРВИ с температурой до 39,5°С. Затем у него покраснел левый глаз, появилась отечность век, через 2 дня присоединился правый глаз. Проведено обследование: биомикроскопия конъюнктивы век, глазного яблока, переходных складок; мазок с конъюнктивы на флору и соскоб на цитологию; бактериальный посев на флору с определением чувствительности к антибиотикам. С целью исследования состава слезы, для прогнозирования исхода конъюнктивита была попытка собрать слезу традиционным способом с помощью микрокапилляра и эппендорффа. Вид микрокапилляра, приближающегося к глазам ребенка, вызвал отрицательную психоэмоциональную реакцию, испуг, крик. Это в свою очередь вызвало риск травматизации глаза при неожиданном движении ребенка, отсутствие слезной жидкости и отрицательное отношение мамы ребенка к процедуре.
Для сбора слезы было предложено данное устройство, ребенок был заинтересован, ему понравилось. Он получил возможность потрогать устройство своими руками, примерить на маме и охотно согласился применить данное устройство. Отклеив клейкую ленту на верхнем основании проводника, устройство прикрепили к наружной поверхности нижнего века ребенка. После чего был применен эмоциональный способ стимуляции слезоотделения: ребенку было сказано, что мама оставит его на некоторое время в кабинете у врача, ребенок расстроился и заплакал. Слеза в количестве 0,5 мл с обоих глаз была собрана за 15 минут (фиг.5). Устройство аккуратно отклеили, закрыли колпачок эппендорффа. На эппендорфф наклеили № пробирки с указанием глаза (правый OD и левый OS). Слеза готова для исследования.
Пример 2. Больной Валитов И.Р. 10 лет доставлен в детскую поликлинику Уфимского НИИ глазных болезней с диагнозом хронический конъюнктивит неясной этиологии. Были проведены биомикроскопия конъюнктивы век, глазного яблока, переходных складок; мазок с конъюнктивы на флору и соскоб на цитологию; бактериальный посев на флору с определением чувствительности к антибиотикам. Для сбора слезы было предложено данное устройство, устройство вызвало положительные эмоции у мальчика и он охотно согласился. Стимуляция слезоотделения в данном случае проводилась самим больным с помощью репчатого лука. Слезная жидкость с обоих глаз в объеме 0,5 мл была собрана за 20 минут (фиг.6).
Формула изобретения
1. Устройство для сбора слезной жидкости, содержащее эппендорфф с колпачком, отличающееся тем, что оно снабжено проводником, который выполнен из тонкой гибкой пленки, обеспечивающей плотное прилегание к нижнему веку, в форме усеченного конуса, верхнее основание которого имеет изгиб, повторяющий контур нижнего века, а на его наружной стороне размещена двухсторонняя клейкая лента, по бокам выполнены бортики для стекания слезы, при этом проводник прикреплен к эппендорффу с помощью клейкой ленты за колпачок таким образом, что нижнее основание усеченного конуса входит в эппендорфф.
2. Устройство по п.1, отличающееся тем, что проводник выполнен из флюорографической пленки.
3. Устройство по п.1 или 2, отличающееся тем, что углы верхнего основания и бортиков закруглены.
РИСУНКИ
|
|