|
|
(21), (22) Заявка: 2006124197/12, 22.11.2004
(24) Дата начала отсчета срока действия патента:
22.11.2004
(30) Конвенционный приоритет:
19.12.2003 DE 10359845.6
(43) Дата публикации заявки: 20.01.2008
(46) Опубликовано: 10.10.2008
(56) Список документов, цитированных в отчете о поиске:
ЕР 0699404 A1, 06.03.1996. CH 683231 A5, 15.02.1994. DE 8910033.6 U1, 14.12.1989. DE 9111454.3 U1, 12.12.1991. US 2833081 А, 06.05.1958. RU 2199257 C1, 27.02.2003.
(85) Дата перевода заявки PCT на национальную фазу:
05.07.2006
(86) Заявка PCT:
EP 2004/013217 (22.11.2004)
(87) Публикация PCT:
WO 2005/063081 (14.07.2005)
Адрес для переписки:
129090, Москва, ул. Б.Спасская, 25, стр. 3, ООО “Юридическая фирма Городисский и Партнеры”, пат.пов. С.А.Дорофееву, рег.№ 146
|
(72) Автор(ы):
ЛООЗЕР Ханс (DE)
(73) Патентообладатель(и):
МОЛЛЬ ФУНКЦИОНСМЕБЕЛЬ ГМБХ (DE)
|
(54) УСТРОЙСТВО ДЛЯ УСТАНОВКИ УГЛОВОГО ПОЛОЖЕНИЯ ДЛЯ ПРЕДМЕТОВ МЕБЕЛИ
(57) Реферат:
Изобретение относится к устройствам для установки предметов мебели под углом и может быть использовано в рабочих столах, рабочая панель которых выполнена с возможностью изменения угла установки. Устройство содержит направляющий элемент, закрепленный на корпусе мебели и имеющий продольную конфигурацию, размещенный в направляющем элементе с возможностью телескопического перемещения опорный элемент, имеющий продольную конфигурацию и выступающий из направляющего элемента, стопорное и исполнительное устройства. Опорный элемент выполнен с возможностью опоры на него детали мебели с бездействующим или по существу бездействующим стопорным устройством, предотвращающим движение опорного элемента в процессе его обратного хода в направляющий элемент. Исполнительное устройство выполнено с возможностью приведения в действие стопорного устройства пользователем, которое, в свою очередь, выполнено с возможностью регулирования стопорящего действия. В устройстве обеспечивается регулирование стопорящего действия. 19 з.п. ф-лы, 6 ил.
Изобретение касается устройства для установки углового положения для предметов мебели с выполненной с возможностью угловой установки вокруг горизонтальной поворотной оси деталью мебели, в частности, для рабочих столов с выполненной с возможностью угловой установки рабочей панелью, для опирания детали мебели в соответствующем угловом положении, с закрепляемым на корпусе мебели и имеющим продольную конфигурацию направляющим элементом и телескопически перемещаемым в направляющем элементе, имеющем продольную конфигурацию и выступающем из направляющего элемента опорным элементом для опирания выполненной с возможностью угловой установки детали мебели, бездействующим или по существу бездействующим в процессе выдвигания опорного элемента и предотвращающим движение опорного элемента в процессе его обратного вдвигания в направляющий элемент стопорным устройством, и с приводимым в действие пользователем исполнительным устройством для приведения в действие стопорного устройства.
Подобное устройство для установки углового положения известно, например, из немецкой заявки DE 10229617.0. Стопорное устройство позволяет комфортное фиксированное опускание детали мебели, например, выполненной с возможностью угловой установки рабочей панели (столешницы). Рабочая панель в процессе опускания не должна удерживаться вручную. Правда стопорящее действие стопорного устройства может по различным причинам прекращаться, например, за счет некоторых по-разному тяжелых рабочих панелей или нагруженных положенными предметами рабочих панелей, за счет производственных допусков, например, у опорного элемента и/или стопорного устройства или тому подобного.
Поэтому задачей настоящего изобретения является разработка устройства для установки углового положения названного вначале типа, оптимизирующего стопорящее действие стопорного устройства в различных случаях использования.
Эта задача решается посредством устройства для установки углового положения названного вначале типа, в котором стопорящее действие стопорного устройства является регулируемым.
Стопорящее действие стопорного устройства, которое более целесообразным образом представляет собой фрикционный стопор, может настраиваться на соответствующий случай применения так, что, например, рабочая панель всегда опускается с по существу одинаковой скоростью. При регулировании стопорного устройства могут приниматься во внимание, например, производственные допуски деталей стопорного устройства и/или по-разному тяжелые рабочие панели или подобные детали мебели.
Другие предпочтительные варианты осуществления изобретения следуют из зависимых пунктов формулы изобретения, а также из описания.
Стопорное устройство имеет по меньшей мере одно стопорящее тело, на которое непосредственно или опосредованно воздействует исполнительное устройство при своем приведении в действие так, что это стопорящее тело прижимается к опорному элементу. Одно или несколько стопорящих тел образуют так называемые стопорные колодки. Целесообразным образом имеется два или более расположенных на противоположных сторонах опорного элемента стопорящих тел. Это или эти стопорящие тела предпочтительным образом установлены в проходящем до опорного элемента приемном гнезде направляющего элемента.
Стопорящее тело или тела целесообразным образом расположены сбоку или по бокам на направляющем элементе. Исполнительное устройство имеет согласованные со стопорящими телами распорные части, которые проходят сбоку от стопорящего тела и мимо направляющего элемента. Система наклонных поверхностей на распорных частях воздействует при приведении в действие исполнительного устройства опосредованно или непосредственно на стопорящие тела и прижимает их к опорному элементу. Предпочтительный вариант изобретения предусматривает, что исполнительное устройство опосредованно, например, через тела качения, воздействует на стопорящее тело или тела. В качестве тел качения могли бы быть предусмотрены шарики или тому подобное. Этот вариант предпочтителен, в частности, в связи с установленным линейно подвижным исполнительным устройством.
Регулирование стопорящего действия стопорного устройства может осуществляться различными способами:
Целесообразным способом регулируется расстояние между распорными частями и направляющим элементом.
Предпочтительным образом имеется две проходящие мимо направляющего элемента распорные части, из которых по меньшей мере одна часть воздействует на по меньшей мере одно стопорящее тело. Стопорные части образуют, например, плечи вилки или противолежащие друг другу участки рамки, при этом вилка или соответственно рамка охватывает направляющий элемент с зазором, позволяющим исполнительное перемещение исполнительного устройства. Для регулирования стопорящего действия стопорного устройства регулируется, например, расстояние между распорными частями, для чего является предпочтительным винт или другое регулирующее средство. Винт может соединять друг с другом, например, свободные концы обеих распорных частей.
Для регулирования стопорящего действия стопорного устройства может также регулироваться, например, угол наклона системы наклонных поверхностей. Для этого могут быть предусмотрены, например, действующие по бокам снаружи на распорные части регулирующие устройства, например, выполненные с возможностью регулирования направляющие устройства для распорных частей на корпусе устройства для установки углового положения. Этот вариант, например, также возможен в том случае, если имеется только одно стопорящее тело и одна распорная часть.
Далее пример осуществления изобретения поясняется более подробно посредством чертежей, на которых:
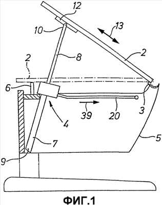
Фиг.1 – поперечное сечение рабочего стола, снабженного соответствующим изобретению устройством для установки углового положения, которое содержит исполнительное устройство и стопорное устройство,
Фиг.2 – вид в перспективе регулируемого исполнительного элемента исполнительного устройства, согласно фиг.1,
Фиг.3 – устройство для установки углового положения по фиг.1 в схематическом частичном изображении в наклоненном положении, причем одна половина корпуса устройства опущена, а исполнительное устройство показано в не приведенном в действие положении так, что опорный элемент застопорен от вдвигания в направляющий элемент, а стопорное устройство не приведено в действие,
Фиг.4 – устройство для установки углового положения по фиг.1, но с приведенным в действие исполнительным устройством и таким образом приведенным в действие стопорным устройством так, что опорный элемент может вдвигаться в направляющий элемент, который застопорен посредством стопорного устройства,
Фиг.5 – поперечное сечение устройства для установки углового положения согласно фиг.3 по линии IIIIII на фиг.3,
Фиг.6 – соответствующее фиг.5 поперечное сечение устройства для установки углового положения, но с приведенным в действие стопорным устройством.
У схематично показанного на фиг.1 рабочего стола, например, предназначенного для детей или подростков письменного стола, столешница или рабочая панель 2 выполнена с возможностью угловой установки из горизонтального, обозначенного штрихпунктиром исходного положения, в одно или более угловых положений, в которые она поднимается пользователем, если смотреть снизу вверх. На фиг.1 одно такое угловое положение рабочей панели 2 показано сплошными линиями. Рабочая панель 2 в области своей обращенной к пользователю передней стороны выполнена с возможностью поворота и вследствие этого с возможностью угловой установки вокруг поворотной оси 3, проходящей в горизонтальном направлении в корпусе 5 стола и в продольном направлении стола. Далее сзади на нижнюю сторону рабочей панели 2 воздействует устройство 4 для установки углового положения, которое удерживает рабочую панель 2 в соответствующем угловом положении. В своем горизонтальном исходном положении рабочая панель 2 может опираться на упор 6, расположенный на корпусе стола 5.
Устройство 4 для установки углового положения имеет направляющий элемент 7, который имеет продольную конфигурацию, и телескопически перемещаемый в направляющем элемента 7 и также имеющий продольную конфигурацию опорный элемент 8, которые совместно образуют телескопическую систему. Эта телескопическая система расположена в вертикальном направлении, причем она, как показано, может располагаться наклонно. Телескопическая система закреплена своим направляющим элементом 7, например, противолежащим опорному элементу 8 концом 9 направляющего элемента, на корпусе 5 стола и поддерживает рабочую панель 2 своим выступающим вверх из направляющего элемента 7 опорным элементом 8. С поддерживающим рабочую панель 2 концом 10 опорного элемента 8 согласован прикрепленный к рабочей панели 2 скользящий элемент 12 (показан только схематически), на котором установлен с возможностью смещения в нисходящем направлении 13 рабочей панели 2, то есть под прямым углом к поворотной оси 3, и с возможностью поворота опорный элемент 8.
Опорный элемент 8 установлен в направляющем элементе 7 без возможности вращения. Например, опорный элемент 8 и принимающее его продольное приемное гнездо 11 направляющего элемента 7 имеют прямоугольное или квадратное поперечное сечение. Длина опорного элемента 8 и направляющего элемента 7 выбраны так, что в случае углового расположения рабочей панели 2 с наибольшим углом опорный элемент 8 еще достаточно далеко входит в направляющий элемент 7, и при этом имеется надежное соединение. Максимальное выдвижение опорного элемента 8 из направляющего элемента 7 может быть ограничено посредством не показанной на чертежах системы упоров.
При повороте рабочей панели 2 опорный элемент 8 выдвигается из направляющего элемента 7 или вдвигается в направляющий элемент 7. Чтобы удерживать опорный элемент 8 в соответствующем желаемому угловому положению рабочей панели 2 продольном положении, предусмотрен зажимный элемент 14, который заклинивает друг с другом опорный элемент 8 и направляющий элемент 7 в угловом положении рабочей панели 2. Функционирование зажимного элемента 14 более подробно поясняется ниже. При вдвигании опорного элемента 8 в направляющий элемент 7 во всяком случае автоматически возникает зажимное действие, в то время как в обратном направлении опорный элемент 8 перемещается вместе с зажимным элементом 14 и таким образом зажимное действие прекращается.
В результате приведения в действие исполнительного устройства 17 против направления действия оказываемого пружинным устройством 19 пружинного усилия пользователь может поворачивать рабочую панель 2 вниз. Если достигнуто новое желаемое поворотное положение, то пользователь отпускает исполнительное устройство. В таком случае пружинное устройство 19 переводит исполнительное устройство 17 в его бездействующее положение и при этом зажимной элемент 14 и опорный элемент 8 вновь автоматически перекашиваются.
Опускание рабочей панели 2 стопорится посредством стопорного устройства 27, которое предотвращает перемещение опорного элемента 8. При приведении в действие исполнительного устройства 17 опорный элемент 8 свободно проходит по отношению к зажимному элементу 14 так, что в случае отсутствия стопорного устройства 27 рабочая панель 2 в процессе своего опускания должна была бы поддерживаться вручную. Стопорное устройство 27 бездействует при выдвигании опорного элемента 8 из направляющего элемента 7 и, наоборот, действует при обратном вдвигании опорного элемента 8 в направляющий элемент 7. Целесообразным образом одновременно с приведением в действие зажимного элемента 14 исполнительное устройство 17 также приводит в действие стопорное устройство 27 так, что оно становится действующим.
Исполнительное устройство 17 имеет исполнительный стержень 20, в обращенной к стопорному устройству 27 концевой области которого расположен исполнительный элемент 21, который бездействует при не приведенном в действие исполнительном стержне 20, а при приведении в действие исполнительного стержня 20 активизирует стопорное устройство 27. Исполнительный стержень 20 может захватываться пользователем. В варианте осуществления изобретения этот исполнительный стержень 20 проходит под рабочей панелью 2 от области стопорного устройства 27 до передней стороны рабочей панели 2, обращенной к пользователю. Исполнительный стержень 20 целесообразным образом проходит в линейном направлении, т.е. в своем продольном направлении, так что пользователь должен перемещать его в продольном направлении.
Линейное перемещение исполнительного элемента 17 осуществляется внутри корпуса 24 устройства, который окружает стопорное устройство 27, зажимный элемент 14, обращенную к нему концевую область направляющего элемента 7 с выступающей из нее областью опорного элемента 8 и обращенную к зажимному элементу 14 область исполнительного устройства 17. На фиг.3-6 удалена одна из двух половин корпуса 24 устройства, чтобы сделать видимыми содержащиеся в нем части. На одной или обеих боковых стенках корпуса 24 устройства находятся направляющие пазы 25, в которые входит направляющая часть 26 исполнительного устройства 21.
Исполнительный стержень 20 проходит через пружинное устройство 19, которое опирается на корпус 24 устройства, а также на исполнительный элемент 21.
Стопорное устройство 27 предпочтительным образом представляет собой фрикционный стопор и в одном варианте осуществления имеет два противолежащих друг с другом относительно опорного элемента 8 стопорящих тела 28, 29, которые установлены соответственно в проходящем через направляющий элемент 7 снаружи до опорного элемента 8 приемном гнезде 30 направляющего элемента 7. При приведении в действие исполнительного устройства 17 оно воздействует не только на зажимной элемент 14, но и прижимает стопорящие тела 28, 29 к опорному элементу 8 так, что на нем возникает сила трения. Стопорящие тела 28, 29 состоят, например, из резиноподобного фрикционного материала или тому подобного. Разумеется, что было бы достаточно только одного стопорящего тела 28 или 29, или что может быть предусмотрено также более двух стопорящих тел.
В принципе стопорящие тела 28, 29 могли бы нагружаться непосредственно исполнительным устройством 17. Однако целесообразнее, если исполнительное устройство 17 воздействует на стопорящие тела 28, 29 посредством также установленных в соответствующем приемном гнезде 30 и немного выступающих из него тел 31 качения.
Исполнительный элемент 21 охватывает направляющий элемент 7 с допускающим исполнительное движение исполнительного устройства зазором. Исполнительный элемент выполнен, например, в виде охватывающей направляющий элемент 7 рамки 35. Для приведения в действие обоих стопорящих тел 28, 29 исполнительный элемент 21 сбоку от каждого стопорящего тела 28, 29 имеет проходящие мимо направляющего элемента 7 распорные части 32, 33, на которых соответственно сформирована действующая в направлении соответствующего тела 31 качения структура 34 наклонных поверхностей. Если в течение исполнительного хода 39 (на чертеже вправо) перемещают исполнительный стержень 20 и тем самым исполнительный элемент 21, то наклонные поверхности 37 и позднее исполнительные поверхности 38 обеих наклонных поверхностных структур 34 одновременно достигают тел 31 качения так, что они прижимаются внутрь к опорному элементу 8. При этом, проходящие наклонно в направлении исполнительного движения и скошенно друг к другу наклонные поверхности 37 осуществляют по существу необходимый для вжатия внутрь тел качения ход. Проходящие по существу параллельно друг к другу, а в варианте осуществления изобретения также к направляющему элементу 7 исполнительные поверхности 38 удерживают тела 31 качения вжатыми внутрь по существу с постоянным давлением. Пока исполнительные поверхности 38 находятся в контакте с телами 31 качения, давление на стопорящие тела 28, 29 является по существу постоянным вне зависимости от величины исполнительного хода 39.
В случае не приведенного в действие исполнительного устройства 17 структура 34 наклонных поверхностей расположена на расстоянии от тел 31 качения так, что они не подвергаются нагружению и таким образом стопорящие тела 28, 29 не вдавливают внутрь.
Тела 31 качения обкатываются по наклонным поверхностным структурам 34. Тела 31 качения целесообразным образом имеют скользящие поверхности.
Стопорящее действие стопорящих тел 28, 29 зависит, в том числе, от соответствующего прижимного давления, с которым они прижимаются к опорному элементу 8. Прижимное давление, например, вследствие производственных допусков опорного элемента 8, стопорящих тел 28, 29 или тому подобного, может по разному ослабевать. Кроме того, стопорящее действие стопорного устройства 27 в случае тяжелой рабочей панели 2 и/или из-за лежащих на рабочей панели 2 предметов может быть очень незначительным. Поэтому, стопорящее действие стопорного устройства 27 в соответствии с изобретением является регулируемым посредством регулирующего устройства 40. Регулирующее устройство 40, которое на фиг.2 изображено подробно, а на фиг.3-6 – лишь схематически, содержит, например, винтовое устройство 41, с помощью которого регулируется расстояние между распорными частями 32, 33. За счет этого прижимное давление, которое распорные части 32, 33 прикладывают к стопорящим телам 28, 29, и тем самым стопорящее действие стопорного устройства 27 может регулироваться.
Винт 42 винтового устройства 41 проходит через сквозные отверстия 43 на свободных, обращенных от исполнительного стержня 20 концах распорных частей 32, 33. На винт 42 навинчена гайка 44. Целесообразным образом гайка 44 выполнена, по меньшей мере, частично рифленой для ручного манипулирования. Головка 45 винта 42 опирается без возможности поворота на упор 46, расположенный на свободном конце распорной части 32. Посредством затягивания или соответственно ослабления гайки 44 может регулироваться расстояние между распорными частями 32, 33 и вследствие этого стопорящее действие стопорного устройства 27.
На корпусе 24 устройства может быть предусмотрено не показанное на чертежах отверстие, через которое гайка 44 выходит наружу и доступна для управления снаружи. Это отверстие может быть, например, удлиненным отверстием, которое предусмотрено, например, вместо передней области направляющего паза 25.
За счет соединения с винтовым устройством 41 исполнительный элемент 21 образует своего рода рамку 35. Но в принципе не должна обязательно иметься замкнутая рамка. Распорные части 32, 33 могли бы также образовывать, например, U-образную скобу.
В случае отсутствия винтового устройства 41 для регулировки стопорящего действия стопорного устройства 27 расстояние между распорными частями 32, 33 также могло бы изменяться, например, посредством регулирования расстояния между направляющими пазами 25. Для этого, например, половины корпуса 24 устройства могли бы быть установлены с большим или меньшим расстоянием друг от друга.
Заклинивание опорного элемента 8 с зажимным элементом 14 осуществляется следующим образом: зажимной элемент 14, целесообразным образом элемент из листового металла, прилегает к верхнему торцу 18 направляющего элемента 7, в который входит опорный элемент 8, и имеет сквозное отверстие 15, через которое проходит опорный элемент 8. Сквозное отверстие 15 в поперечном сечении немного больше, чем опорный элемент 8 так, что зажимной элемент 14 прилегает к опорному элементу 8 с зазором для обеспечения перекашивания и может поворачиваться взад-вперед на опорном элементе 8 на определенный поворотный угол. Однако, в процессе вдвигания опорного элемента 8 в направляющий элемент 7 опорный элемент 8 перекашивается в сквозном отверстии 15 зажимного элемента 14, который при этом с одной стороны опорного элемента 8 опирается в точке 16 на направляющем элементе 7 и повернут вниз вокруг опорной точки 16 так, что становится ориентированным наклонно по отношению к продольному направлению телескопической системы 7, 8. Таким образом, опорный элемент 8 и расположенная над ним рабочая панель 2 удерживаются на соответствующем уровне.
Торец 18 является скошенным от опорной точки 16 к исполнительному устройству 17, а именно в направление от подпирающего рабочую панель 2 конца 10 опорного элемента 8 так, что на виде сбоку между зажимным элементом 14 и торцом 18 направляющего элемента имеется клиновидное промежуточное пространство. Зажимной элемент 14 подпирается по отношению к направляющему элементу 7 с одной стороны опорного элемента 8 в точке 16. Исполнительное устройство 17 воздействует на зажимной элемент 14 с другой стороны опорного элемента 8.
С тем чтобы иметь возможность смещать опорный элемент 8 и таким образом изменять угловое положение рабочей панели 2, необходимо уменьшить или соответственно устранить перекос между зажимным элементом 14 и опорным элементом 8. Это происходит автоматически, когда опорный элемент 8 выдвигается из направляющего элемента 7 при повороте вверх рабочей панели 2. Уже при небольшом увеличении (перемещении) зажимного элемента 14 в направлении выдвижения, когда он поворачивается вверх вокруг опорной точки 16, видимая в продольном направлении опорного элемента 8 проекция сквозного отверстия 15 увеличивается настолько, что опорный элемент 8 может перемещаться практически беспрепятственно. Если опорный элемент 8 напротив должен вдвигаться в направляющий элемент 7, то перекос уменьшается за счет приводимого в действие пользователем исполнительного элемента 17, с помощью которого зажимной элемент 14 поворачивается вокруг опорной точки 16. При этом, бездействовавший до сих пор при не приведенном в действие исполнительном стержне 20 исполнительный элемент 21 воздействует на зажимной элемент 14 и поворачивает его для уменьшения перекоса.
С помощью исполнительного устройства 17 зажимной элемент 14 может однонаправленно подниматься в направлении от направляющего элемента 7. В варианте осуществления изобретения исполнительный стержень 20 должен вытягиваться в направлении от зажимного элемента 14 с тем, чтобы уменьшить перекос. Линейное движение исполнительного стержня 20 посредством исполнительной части 36 исполнительного элемента 21 преобразуется, например, с помощью наклонной поверхности 22, в поворотное движение зажимного элемента 14. Наклонная поверхность 22 подхватывает снизу наклоненную наклонную часть 23 зажимного элемента 14. Наклонная поверхность 22 и наклонная часть 23 проходят под углом по отношению к продольному направлению исполнительного стержня 20. Наклонная поверхность 22 при вытягивании исполнительного стержня 20 входит в контакт с наклонной частью 23 и поворачивает зажимной элемент 14. Вследствие этого уменьшается перекос с опорным элементом 8.
Вместо линейно перемещаемого исполнительного стержня приведение в действие могло бы осуществляться также посредством поворотного рычага или тому подобного. Кроме того, вместо исполнительного стержня мог бы быть предусмотрен, например, трос Боудена.
Для стопорения опорного элемента 8 может служить другое стопорящее средство в виде зажимного элемента 14. Вместо зажимного элемента 14 мог бы иметься, например, установленный с возможностью перемещения относительно направляющего элемента 7 болт, который вставляется в приемное гнездо или отверстие в опорном элементе 8.
Понятно, что при регулировании стопорящего действия стопорного устройства 27 также могла бы быть предусмотрена, например, ступенчатая система наклонных поверхностей с несколькими ступенями. Ступени могли бы иметь, например, пары проходящих по существу параллельно друг к другу исполнительных поверхностей наподобие исполнительных поверхностей 38, причем расстояние между соответствующими исполнительными поверхностями от пары к паре постепенно сужается в процессе исполнительного хода. Переход от одной пары исполнительных плоскостей к следующей мог бы быть реализован посредством наклонных поверхностей наподобие наклонных поверхностей 37.
Формула изобретения
1. Устройство для установки углового положения для предметов мебели с выполненной с возможностью угловой установки вокруг горизонтальной поворотной оси деталью мебели для опирания детали мебели в соответствующем угловом положении, с закрепляемым на корпусе (5) мебели и имеющим продольную конфигурацию направляющим элементом (7) и с телескопически перемещаемым в направляющем элементе (7), имеющем продольную конфигурацию и выступающем из направляющего элемента (7) опорным элементом (8) для опирания выполненной с возможностью угловой установки детали мебели, с бездействующим или по существу бездействующим в процессе выдвигания опорного элемента (8) и предотвращающим движение опорного элемента (8) в процессе его обратного вдвигания в направляющий элемент (7) стопорным устройством (27) и с приводимым в действие пользователем исполнительным устройством (17) для приведения в действие стопорного устройства (27), отличающееся тем, что стопорящее действие стопорного устройства (27) является регулируемым.
2. Устройство для установки углового положения по п.1, отличающееся тем, что стопорное устройство (27) представляет собой фрикционный стопор.
3. Устройство для установки углового положения по п.1, отличающееся тем, что стопорное устройство (27) имеет по меньшей мере одно стопорящее тело (28, 29), на которое при своем приведении в действие непосредственно или опосредованно воздействует исполнительное устройство (17) так, что стопорящее тело прижимается к опорному элементу (8).
4. Устройство для установки углового положения по п.3, отличающееся тем, что по меньшей мере одно стопорящее тело (28, 29) установлено в проходящем до опорного элемента (8) приемном гнезде (30) направляющего элемента (7).
5. Устройство для установки углового положения по п.3, отличающееся тем, что по меньшей мере одно стопорящее тело (28, 29) расположено сбоку на направляющем элементе (7), а исполнительное устройство (17) имеет по меньшей мере одну проходящую сбоку от по меньшей мере одного стопорящего тела (28, 29) и мимо направляющего элемента (7) распорную часть (32, 33), которая имеет опосредованно или непосредственно воздействующую на стопорящее тело (28, 29) систему (34) наклонных поверхностей, которая при приведении в действие исполнительного устройства (17) прижимает по меньшей мере одно стопорящее тело (28, 29) к опорному элементу (8).
6. Устройство для установки углового положения по п.3, отличающееся тем, что исполнительное устройство (17) посредством тела качения воздействует по меньшей мере на одно стопорящее тело (28, 29).
7. Устройство для установки углового положения по п.6, отличающееся тем, что для регулирования стопорящего действия стопорного устройства (27) регулируется расстояние от по меньшей мере одной распорной части (32, 33) до направляющего элемента (7).
8. Устройство для установки углового положения по п.6, отличающееся тем, что для регулирования стопорящего действия стопорного устройства (27) регулируется угол наклона системы (34) наклонных поверхностей.
9. Устройство для установки углового положения по п.6, отличающееся тем, что исполнительное устройство (17) образует две проходящие мимо направляющего элемента (7) распорные части (32, 33), из которых по меньшей мере одна воздействует по меньшей мере на одно стопорящее тело (28, 29), и при этом для регулирования стопорящего действия стопорного устройства (27) регулируется расстояние между распорными частями (32, 33).
10. Устройство для установки углового положения по п.9, отличающееся тем, что расстояние между распорными частями (32, 33) регулируется посредством винта (42), соединяющего обе распорные части (32, 33).
11. Устройство для установки углового положения по п.9, отличающееся тем, что исполнительное устройство (17) охватывает по типу вилки или рамки направляющий элемент (7) с зазором, позволяющим исполнительное движение исполнительного устройства (17), причем распорные части (32, 33) образуют плечи вилки или соответственно противоположные друг другу участки рамки.
12. Устройство для установки углового положения по п.1, отличающееся тем, что исполнительное устройство (17) имеет исполнительный стержень (20), на обращенной к стопорному устройству (27) концевой области которого расположен исполнительный элемент (21), который при неприведенном в действие исполнительном стержне является бездействующим, а при приведении в действие исполнительного стержня активирует стопорное устройство (27).
13. Устройство для установки углового положения по п.12, отличающееся тем, что исполнительный стержень перемещается в линейном направлении и при его приведении в действие осуществляется линейное движение, в процессе которого система (34) наклонных поверхностей перемещает по меньшей мере одно стопорящее тело (28, 29) в направлении опорного элемента(8).
14. Устройство для установки углового положения по п.12, отличающееся тем, что исполнительный элемент (21) перемещается в корпусе (24) устройства в линейном направлении, который окружает стопорное устройство (27), обращенную к нему концевую область направляющего элемента (7) и исполнительный элемент (21).
15. Устройство для установки углового положения по п.1, отличающееся тем, что исполнительное устройство (17) приводится в действие против направления действия пружинного усилия.
16. Устройство для установки углового положения по п.1, отличающееся тем, что оно имеет стопорящее средство для стопорения опорного элемента (8) на направляющем элементе (7).
17. Устройство для установки углового положения по п.16, отличающееся тем, что стопорящие средства содержат предназначенный для заклинивания опорного элемента (8) с направляющим элементом (7) зажимной элемент (14), который автоматически освобождает опорный элемент (8) при его перемещении вниз и заклинивает опорный элемент (8) с направляющим элементом (7) при его перемещении вниз, и при этом исполнительное устройство (17) одновременно с приведением в действие стопорного устройства (27) освобождает зажимной элемент (14) для снятия его зажимного действия.
18. Устройство для установки углового положения по п.17, отличающееся тем, что опорный элемент (8) проходит с зазором для обеспечения перекашивания через зажимной элемент (14), который опирается на направляющий элемент (7) и выполнен с возможностью поворота на величину зазора для обеспечения перекашивания таким образом, что опорный элемент (8) выполнен с возможностью выдвигания с зажимным элементом (14) из направляющего элемента (7) при автоматическом снятии перекоса и застопорен в противоположном направлении вследствие автоматического перекашивания с помощью опирающегося на направляющий элемент (7) зажимного элемента (14).
19. Устройство для установки углового положения по п.16, отличающееся тем, что торец направляющего элемента (7), из которого выходит опорный элемент (8), является скошенным от опорной точки к исполнительному устройству (17) в направлении от поддерживающего выполненную с возможностью угловой установки деталь мебели конца опорного элемента (8).
20. Устройство для установки углового положения по п.1, отличающееся тем, что предмет мебели представляет собой рабочий стол (1), а выполненная с возможностью угловой установки деталь мебели представляет собой рабочую панель (2).
РИСУНКИ
|
|