|
|
(21), (22) Заявка: 2006142597/12, 01.12.2006
(24) Дата начала отсчета срока действия патента:
01.12.2006
(46) Опубликовано: 10.10.2008
(56) Список документов, цитированных в отчете о поиске:
RU 2220528 С1, 10.01.2004. SU 1155173 А, 15.05.1985. SU 1639457 А2, 07.04.1991. SU 865171 A, 23.09.1981.
Адрес для переписки:
347740, Ростовская обл., г. Зерноград, ул. Ленина, 21, ФГОУ ВПО АЧГАА
|
(72) Автор(ы):
Лобачевский Петр Яковлевич (RU), Несмиян Андрей Юрьевич (RU), Хижняк Владимир Иванович (RU)
(73) Патентообладатель(и):
Федеральное государственное образовательное учреждение высшего профессионального образования “Азово-Черноморская государственная агроинженерная академия” (ФГОУ ВПО АЧГАА) (RU)
|
(54) СОШНИК
(57) Реферат:
Изобретение относится к сельскохозяйственному машиностроению и может быть использовано для нарезания борозд и высева семян сельскохозяйственных культур. Сошник содержит наральник, уплотнитель и направитель семян. Уплотнитель выполнен в виде ролика, профиль поперечного сечения которого – ромб. По окружности внешней поверхности уплотнителя выполнены клиновидные зубья. Зубья выполнены в форме четырехугольных пирамид. Одна грань каждого зуба расположена радиально к центру уплотнителя. Боковые грани зубьев имеют форму прямоугольных треугольников. Острый угол в основании клиновидного зуба имеет значение не менее 27°. Использование изобретения позволит повысить равномерность распределения семян в рядке. 2 ил.
Изобретение относится к сельскохозяйственному машиностроению, в частности к машинам для посева семян сельскохозяйственных культур.
Известен сошник, включающий ножевидный наральник, переходящий сзади в параллельно расположенные удлиненные щеки, и клиновидный уплотнитель снизу /1/.
Недостатком данного сошника является то, что уплотнитель образует клиновидное семенное ложе с ровными стенками, которые незначительно предотвращают отскок, скольжение и перекатывание семян вдоль оси борозды, что ухудшает равномерность их распределения по длине рядка.
Наиболее близким техническим решением к предлагаемому изобретению, из известных, является сошник, содержащий наральник, уплотнитель в виде ролика, профиль поперечного сечения которого – ромб, и направитель семян /2/.
Недостатком данного сошника так же является то, что роликовый уплотнитель образует клиновидное семенное ложе с ровными стенками, которые незначительно предотвращают отскок, скольжение и перекатывание семян вдоль оси борозды, что ухудшает равномерность их распределения по длине рядка.
Задачей настоящего изобретения является повышение равномерности распределения семян в рядке, путем изменения профиля дна борозды, образуемой сошником.
Поставленная задача достигается тем, что в сошнике, содержащем наральник, уплотнитель в виде ролика, профиль поперечного сечения которого – ромб, и направитель семян, по окружности внешней поверхности уплотнителя выполнены клиновидные зубья в форме четырехугольных пирамид, при этом одна из граней каждого зуба расположена радиально к центру уплотнителя, боковые грани зубьев имеют форму прямоугольных треугольников, а острый угол в основании зуба имеет значение не менее 27°.
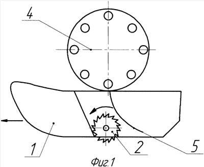
На фиг.1 изображен сошник, вид сбоку; на фиг.2 – предлагаемый уплотнитель.
Предлагаемый сошник (фиг.1) содержит наральник 1, уплотнитель 2 в виде ролика, профиль поперечного сечения которого – ромб. По окружности внешней поверхности уплотнителя 2 выполнены клиновидные зубья 3 (фиг.2) в форме четырехугольных пирамид. Причем, одна из граней каждого клиновидного зуба 3 расположена радиально к центру уплотнителя 2. Кроме того, боковые грани клиновидных зубьев 3 имеют форму прямоугольных треугольников, а острый угол а в основании клиновидного зуба 3 имеет значение не менее 27°, что соответствует максимальному углу трения большинства семян о технологические материалы (при f=0,5) /3/. В сошнике, под высевающим аппаратом 4 (фиг.1) так же расположен направитель семян 5.
Сошник работает следующим образом. При его движении в почве наральник 1 образует борозду, при этом уплотнитель 2 в виде ролика с клиновидными зубьями 3 вращается, за счет трения о почву и сцепления с ней. Причем уплотнитель 2 расположен в сошнике таким образом, что радиально расположенная грань клиновидных зубьев 3 обращена в сторону, обратную направлению вращения уплотнителя 2. Клиновидные зубья 3, погружаясь в почву, формируют уплотненное ячеистое семенное ложе, в котором одна из сторон каждой ячейки расположена вертикально, а другая – под углом к горизонту не менее 27°. При выпадении из высевающего аппарата 4 в сошник семена, за счет перемещения сеялки, приобретают скорость относительно поверхности почвы, направленную в сторону движения сошника. Вертикальные стенки ячеек предотвращают перемещение семян в данном направлении. После отскока от них расположение других граней ячеек под углом не менее 27° предотвращает скольжение семян в обратном направлении. Таким образом, семя остается в пределах ячейки, в которую попало изначально, что повышает равномерность их распределения вдоль оси рядка.
Источники информации
1. Сельскохозяйственные и мелиоративные машины / Г.Е.Листопад, Г.К.Демидов, Б.Д.Зонов и др. /Под общ. ред. Г.Е.Листопада. – М.: Агропромиздат, 1986. – С.70.
2. RU №2220528, кл. А01C 7/20, 2004 – прототип.
3. Сельскохозяйственные и мелиоративные машины / Г.Е.Листопад, Г.К.Демидов, Б.Д.Зонов и др. /Под общ. ред. Г.Е.Листопада. – М.: Агропромиздат, 1986. – С.474.
Формула изобретения
Сошник, содержащий наральник, уплотнитель в виде ролика, профиль поперечного сечения которого – ромб, и направитель семян, отличающийся тем, что по окружности внешней поверхности уплотнителя выполнены клиновидные зубья в форме четырехугольных пирамид, при этом одна грань каждого зуба расположена радиально к центру уплотнителя, боковые грани имеют форму прямоугольных треугольников, а острый угол в основании клиновидного зуба имеет значение не менее 27°.
РИСУНКИ
MM4A – Досрочное прекращение действия патента СССР или патента Российской Федерации на изобретение из-за неуплаты в установленный срок пошлины за поддержание патента в силе
Дата прекращения действия патента: 02.12.2008
Извещение опубликовано: 10.08.2010 БИ: 22/2010
|
|