|
|
(21), (22) Заявка: 2007113525/09, 11.04.2007
(24) Дата начала отсчета срока действия патента:
11.04.2007
(30) Конвенционный приоритет:
12.04.2006 DE 202006006132.0
(46) Опубликовано: 27.09.2008
(56) Список документов, цитированных в отчете о поиске:
SU 1739427 A1, 07.06.1992. SU 222279, 14.10.1968. GB 2372639, 28.08.2002. JP 2001-008327, 12.01.2001. US 6012683, 11.01.2000.
Адрес для переписки:
129090, Москва, ул. Б.Спасская, 25, стр.3, ООО “Юридическая фирма Городисский и Партнеры”, пат.пов. Е.И.Емельянову
|
(72) Автор(ы):
ЙЕШКЕ Франк (DE), ХИППЕЛЬ Штефан (DE)
(73) Патентообладатель(и):
ПУК-ВЕРКЕ КГ КУНСТШТОФФ-ШТАЛЬФЕРАРБАЙТУНГ ГМБХ УНД КО. (DE)
|
(54) ПОДПОЛЬНЫЙ КАНАЛ
(57) Реферат:
Изобретение относится к подпольному каналу (1), сооружению с подпольным каналом, комплекту конструктивных элементов для подпольного канала, в которых канал (1) выполнен с лотковым конструктивным элементом (2), по существу, U-образного сечения и надеваемой на лотковый конструктивный элемент (2) канала крышкой (3), причем на стенках (4, 4′) лоткового конструктивного элемента (2) канала размещены обращенные наружу, по существу, L-образные несущие уголки (5), имеющие на своей верхней стороне несущие поверхности (6) для крышки (3), и причем несущие уголки (5) и лотковый конструктивный элемент (2) канала содержат соответствующие друг другу крепежные средства, которые обеспечивают закрепление несущих уголков (5) на заданной и изменяемой высоте по отношению к дну лоткового конструктивного элемента (2) канала. Изобретение обеспечивает простоту изготовления канала, возможность передачи большой нагрузки, а также обеспечивает регулирование положения лотка. 3 н. и 5 з.п. ф-лы, 2 ил.
Изобретение относится к подпольному каналу с надеваемой крышкой. Изобретение относится далее к сооружению с таким подпольным каналом и к комплекту конструктивных элементов для изготовления такого подпольного канала.
Из практики известно изготовление подпольного канала за счет расположения на горизонтальной несущей поверхности сооружения, прежде всего опалубок, образующих ограничения канала. С внешней стороны опалубок затем заливают, например, бесшовное покрытие. После затвердения бесшовного покрытия опалубки удаляют и образовавшийся канал закрывают крышкой.
Этот известный способ изготовления подпольного канала сложен и дорог. К тому же требуется координация различных действий. Наконец, в частности, в случае тяжелых грузов, которые необходимо перемещать по подпольному каналу, требуется разместить в рамках подпольного канала опорные компоненты и компоненты жесткости.
Кроме того, из практики известна установка подпольного канала с U-образным лотковым конструктивным элементом канала на ножках на несущей поверхности сооружения и выравнивание с помощью этих ножек. Ножки могут быть закреплены на самом лотковом конструктивном элементе канала или на удерживающих уголках, размещенных на концах стенок лоткового конструктивного элемента канала. Этот известный подпольный канал требует в статическом отношении усовершенствования, поскольку использование ножек приводит, скорее, к точечным нагрузкам при воздействии на канал тяжелого груза. В частности, также точки закрепления ножек на лотковом конструктивном элементе канала и/или на удерживающих уголках должны быть выполнены соответственно стабильными. К тому же регулирование каждой отдельной ножки с целью выравнивания является затруднительным и продолжительным.
В основе изобретения лежит техническая задача создания подпольного канала, который прост в изготовлении и одновременно улучшен в отношении предельной допустимой нагрузки, в частности в отношении передачи нагрузки от тяжелых грузов в пол.
Эта техническая задача решается согласно изобретению посредством подпольного канала, содержащего лотковый конструктивный элемент канала, по существу, U-образного сечения и надеваемую на лотковый конструктивный элемент канала крышку, причем на стенках лоткового конструктивного элемента канала размещены обращенные наружу, по существу, L-образные несущие уголки, имеющие на своей верхней стороне несущие поверхности для крышки, причем несущие уголки и лотковый конструктивный элемент канала содержат соответствующие друг другу крепежные средства, которые обеспечивают закрепление несущих уголков на заданной и изменяемой высоте по отношению к дну лоткового конструктивного элемента канала.
При этом термин «несущий уголок» означает, что несущие уголки рассчитаны с возможностью передачи нагрузки от тяжелого груза предпочтительно через них в бесшовное покрытие и, следовательно, в пол. По сравнению с уровнем техники с использованием ножек происходит не вертикальное, а, по существу, горизонтальное распределение нагрузки.
Подпольный канал, в частности, свободен от ножек, а следовательно, отпадают также их монтаж и регулирование. Подпольный канал может быть расположен просто на несущей поверхности строительного элемента. Если за пределами лоткового конструктивного элемента канала со смонтированными несущими уголками заливают, например, бесшовное покрытие, то оно притекает к наружным стенкам канала и заделывает его. Несущие уголки воспринимают приложенную к крышке канала большую нагрузку и распределяют ее по поверхности (затвердевшего) бесшовного покрытия. В этом отношении достигаются не только возможность простого монтажа, но и особенно высокие стабильность и несущая способность. При следующих размерах канала, например ширине (внутри) 100-500 мм, в частности 200-400 мм, высоте (от пола до нижней стороны крышки) 80-300 мм, в частности 100-200 мм, с помощью крышек из стали толщиной 5-10 мм достигается грузоподъемность 5-25 кН. Речь, следовательно, идет о канале большой грузоподъемности.
За счет регулирования высоты несущих уголков по отношению к лотковому конструктивному элементу канала может быть легко осуществлена подгонка к заданной высоте материала пола, например, бесшовного покрытия, а именно таким образом, что верхняя сторона крышки канала находится в одной плоскости с затвердевшим материалом пола.
Крепежные средства могут иметь совпадающие между собой монтажные выемки в стенке лоткового конструктивного элемента канала и в несущем уголке, а также проходящие через монтажные выемки крепежные элементы, причем, по меньшей мере, одна из монтажных выемок выполнена в виде шлица, проходящего перпендикулярно продольной протяженности лоткового конструктивного элемента канала. Крепежные элементы могут включать в себя заклепки или резьбовые соединения. Монтажная выемка в стенке лоткового конструктивного элемента канала выполнена предпочтительно в виде шлица, открытого к концу стенки. При таком варианте осуществления изобретения возможно осуществление подгонки к неточно горизонтальным несущим поверхностям сооружения, так что крышка канала и материал пола могут располагаться точно горизонтально. В качестве альтернативы могут быть предусмотрены заданные наклоны крышки канала и материала пола.
Несущие уголки могут содержать проходящие наружу от стенок анкеры для полов, которые выполнены с возможностью заделки в текучий и затвердевающий материал пола. За счет этого достигается особенно стабильная анкеровка несущих уголков и, следовательно, также стенок U-образного лоткового конструктивного элемента канала в материале пола. Какие-либо опорные компоненты и компоненты жесткости, в частности ножки, являются излишними.
Предпочтительно лотковый конструктивный элемент канала и/или крышка канала выполнены из металлического материала, в частности стали, предпочтительно оцинкованной стали, например из листовой стали. Несущие уголки могут быть выполнены из того же материала и в виде листа или прессованного профиля. Помимо стали пригоден, в частности, также алюминиевый сплав, если крышка канала рассчитана на необходимую нагрузку.
В одном предпочтительном усовершенствовании изобретения несущая поверхность несущего уголка содержит с внешней стороны по отношению к лотковому конструктивному элементу канала направляющий элемент, по существу, с вертикальной направляющей поверхностью для сторон крышки канала. Направляющий элемент имеет высоту, предпочтительно соответствующую толщине крышки канала. Этим обеспечивается расположение крышки, направляющего элемента и материала пола в одной плоскости.
Изобретение относится также к сооружению с подпольным каналом, причем лотковый конструктивный элемент канала установлен на горизонтальной несущей поверхности сооружения (непосредственно, т.е. без использования ножек), на несущую поверхность с внешней стороны внутреннего пространства лоткового конструктивного элемента канала нанесен текучий и затвердевающий материал пола, и поверхность материала пола лежит в одной плоскости с верхней стороной подпольного канала, в частности направляющего элемента. Анкеры для полов несущих уголков заделаны в материал пола.
Наконец, изобретение относится к комплекту конструктивных элементов для подпольного канала, содержащему лотковый конструктивный элемент канала, по существу, U-образного сечения, надеваемую на канальный лоток крышку, два, по существу, L-образных несущих уголка, имеющих на своей верхней стороне несущие поверхности для крышки канала, и комплект крепежных элементов для закрепления несущих уголков на стенках U-образного лоткового конструктивного элемента канала. Вышеприведенные рассуждения аналогичным образом относятся к отдельным конструктивным элементам.
Изобретение поясняется ниже только на одном примере его осуществления с помощью чертежей, на которых изображают:
фиг. 1 – поперечное сечение подпольного канала согласно изобретению;
фиг. 2 – вид сбоку предмета по фиг. 1 в демонтированном состоянии.
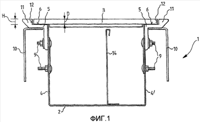
На фиг. 1 изображено поперечное сечение подпольного канала 1 с лотковым конструктивным элементом канала 2, по существу, U-образного сечения и надеваемой на лотковый конструктивный элемент 2 канала крышкой 3, причем на стенках 4, 4′ лоткового конструктивного элемента 2 канала размещены обращенные наружу, по существу, L-образные несущие уголки 5, имеющие на своей верхней стороне несущие поверхности 6 для крышки 3. Несущие уголки 5 и лотковый конструктивный элемент 2 канала содержат соответствующие друг другу крепежные средства, которые обеспечивают закрепление несущих уголков 5 на заданной и изменяемой высоте по отношению к дну лоткового конструктивного элемента 2 канала.
Из сравнительного рассмотрения фиг. 1 и 2 видно, что крепежные средства образованы совпадающими между собой монтажными выемками 7, 8 в стенках 4, 4′ лоткового конструктивного элемента 2 канала и крепежными элементами 9, проходящими через несущие уголки 5 и монтажные выемки 7, 8. Монтажные выемки 7 в стенках 4, 4′ лоткового конструктивного элемента 2 канала выполнены в виде шлицев, открытых к концам стенок 4, 4′. Шлицы проходят перпендикулярно продольной протяженности лоткового конструктивного элемента 2 канала.
В частности, на фиг. 1 видно, что несущие уголки 5 содержат проходящие наружу от стенок 4, 4′ анкеры 10 для полов, выполненные с возможностью заделки в текучий и затвердевающий материал пола.
Лотковый конструктивный элемент 2 канала и крышка 3 канала выполнены из оцинкованной стали. Несущие уголки 5 представляют собой оцинкованные стальные профили.
В частности, на фиг. 1 видно, что несущие поверхности 6 несущих уголков 5 содержат с внешней стороны по отношению к внутреннему пространству лоткового конструктивного элемента 2 канала противоположные друг другу направляющие элементы 11, по существу, с вертикальной направляющей поверхностью 12 для крышки 3. Направляющие элементы 11 имеют высоту Н, соответствующую толщине D крышки 3. Расстояние между противоположными друг другу направляющими поверхностями 12 чуть больше, например, на 0,1-5 мм, ширины крышки 3.
В частности, на фиг. 2 видно, что предусмотрены соединительные детали 13, например соединительные пластины 13, с помощью которых различные лотковые конструктивные элементы 2 канала могут быть соединены в ряд между собой. Соединительные детали 13 охватывают при этом сверху концевые участки расположенных в ряд лотковых конструктивных элементов 2 канала. Скрепление соединительных деталей 13 с расположенными в ряд лотковыми конструктивными элементами 2 канала происходит с помощью крепежных элементов 9 (для чего, при необходимости, соединительные детали 13 имеют шлицы 7′, совпадающие в смонтированном состоянии со шлицами 7) или отдельных крепежных элементов 9′ (которые проходят через монтажные выемки 7a 7b в соединительной детали 13 и лотковых конструктивных элементах 2 канала), для чего следует также сослаться на фиг. 1.
На фиг. 1 также видно, что на дне лоткового конструктивного элемента 2 канала может быть закреплена перегородка 14, образующая отделения в лотковом конструктивном элементе 2 канала. Закрепление может осуществляться, например, также точечной сваркой.
Формула изобретения
1. Подпольный канал (1) с лотковым конструктивным элементом (2) канала, по существу, U-образного сечения и надеваемой на лотковый конструктивный элемент (2) канала крышкой (3), причем на стенках (4, 4′) лоткового конструктивного элемента канала (2) размещены обращенные наружу, по существу, L-образные несущие уголки (5), имеющие на своей верхней стороне несущие поверхности (6) для крышки (3), и причем несущие уголки (5) и лотковый конструктивный элемент (2) канала содержат соответствующие друг другу крепежные средства, которые обеспечивают закрепление несущих уголков (5) на заданной и изменяемой высоте по отношению к дну лоткового конструктивного элемента (2) канала, причем крепежные средства имеют совпадающие между собой монтажные выемки (7, 8) в стенках (4, 4′) лоткового конструктивного элемента (2) канала и крепежные элементы (9), проходящие через несущие уголки (5) и монтажные выемки (7, 8), причем, по меньшей мере, одна из монтажных выемок (7, 8) выполнена в виде шлица, проходящего перпендикулярно продольной протяженности лоткового конструктивного элемента (2) канала.
2. Канал по п.1, причем монтажная выемка (7) в стенке (4, 4′) лоткового конструктивного элемента (2) канала выполнена в виде шлица, предпочтительно открытого к концу стенки (4, 4′).
3. Канал по п.1, причем несущие уголки (5) содержат проходящие наружу от стенок (4, 4′) анкеры (10) для полов, выполненные с возможностью заделки в текучий и затвердевающий материала пола.
4. Канал по п.1, причем лотковый конструктивный элемент (2) канала и/или крышка (3) канала выполнены из металлического материала, в частности стали, предпочтительно оцинкованной стали.
5. Канал по п.1, причем несущая поверхность (6) несущего уголка (5) содержит с внешней стороны по отношению к внутреннему пространству лоткового конструктивного элемента (2) канала направляющий элемент (11), по существу, с вертикальной направляющей поверхностью (12) для крышки (3), причем направляющий элемент (11) имеет высоту (Н), соответствующую толщине (D) крышки (3).
6. Сооружение с подпольным каналом (1) по любому из пп.1-5, причем лотковый конструктивный элемент (2) канала надет на горизонтальную несущую поверхность сооружения, причем на эту несущую поверхность нанесен текучий и затвердевающий материал пола, и причем поверхность материала пола лежит в одной плоскости с верхней стороной канала (1).
7. Сооружение по п.6, причем поверхность материала пола лежит в одной плоскости с верхней стороной направляющего элемента (11) и/или анкер (10) для пола заделан в материал пола.
8. Комплект конструктивных элементов для подпольного канала (1), содержащий лотковый конструктивный элемент (2) канала, по существу, U-образного сечения, надеваемую на лотковый конструктивный элемент (2) канала крышку (3), два, по существу, L-образных несущих уголка (5), имеющих на своей верхней стороне несущие поверхности (6) для крышки (3), и комплект (9) крепежных элементов для закрепления несущих уголков (5) на стенках (4, 4′) U-образного лоткового конструктивного элемента (2) канала на изменяемой и заданной высоте, причем канал (1) выполнен по одному из пп.1-5.
РИСУНКИ
|
|