|
(21), (22) Заявка: 2007100754/06, 09.01.2007
(24) Дата начала отсчета срока действия патента:
09.01.2007
(46) Опубликовано: 27.09.2008
(56) Список документов, цитированных в отчете о поиске:
RU 2246045 C1, 10.02.2005. US 4378194, 29.03.1983. US 2996992, 22.08.1961. SU 1631201 A1, 28.02.1991. SU 1698487 A1, 15.12.1991.
Адрес для переписки:
194100, Санкт-Петербург, ул. Кантемировская, 11, ОАО “Климов”, начальнику патентного отдела Н.М. Ситниковой
|
(72) Автор(ы):
Безымянников Михаил Валерьевич (RU), Литвиненко Эдуард Григорьевич (RU)
(73) Патентообладатель(и):
Открытое акционерное общество “Климов” (RU)
|
(54) СТУПЕНЬ ЦЕНТРОБЕЖНОГО КОМПРЕССОРА
(57) Реферат:
Изобретение относится к компрессоростроению, может быть использовано в конструкциях одно- или многоступенчатых центробежных компрессоров газотурбинных двигателей и повышает КПД ступени путем снижения одновременно кромочных потерь и потерь, связанных с поворотом потока. Ступень содержит расположенные по ходу движения рабочего потока рабочее колесо, безлопаточный и лопаточный диффузоры, спрямляющий аппарат, причем каждая лопатка лопаточного диффузора выполнена заодно целое с лопаткой спрямляющего аппарата таким образом, что лопатка спрямляющего аппарата является продолжением лопатки лопаточного диффузора, при этом совокупность средних линий профилей объединенных лопаток расположена в одной плоскости. 5 ил.
Изобретение относится к машиностроению, в частности к компрессоростроению, и может быть использовано в конструкциях одно- или многоступенчатых центробежных компрессоров газотурбинных двигателей.
Компрессор является одним из основных элементов газотурбинного двигателя, во многом определяющим его мощность, экономичность, габариты, массу и ряд других конструктивных показателей и особенностей двигателя.
Компрессор представляет собой лопаточную машину, в которой механическая энергия, подводимая от газовой турбины, идет на повышение величин полного и статического давления воздушного потока. Он обеспечивает сжатие поступающего из атмосферы воздуха и подачу его в камеру сгорания.
Эффективность работы компрессора зависит от уровня потерь в его проточной части, которая может быть разделена на две группы каналов, принципиально различных по характеру силового поля: каналы рабочих колес и неподвижные каналы различной конфигурации.
В каналах второй группы силовое поле складывается в основном из сил трения, сил инерции, появляющихся в местах, где скорости потока относительно стенок канала изменяются по величине или направлению, и сил, вызываемых соответствующими градиентами давления.
В каналах первой группы, где сообщается механическая энергия потоку, к перечисленным силам добавляются еще кориолисовые и центробежные силы от вращения среды в переносном движении.
Проточную часть центробежной компрессорной машины можно рассматривать как систему, состоящую из последовательно соединенных самостоятельных отсеков – ступеней. Под ступенью понимается комплекс неподвижных и вращающихся каналов, способных самостоятельно обеспечивать законченный процесс сжатия среды в определенных пределах давления.
Известна ступень центробежного компрессора, содержащая рабочее колесо и расположенный за ним по ходу потока лопаточный диффузор с лопатками, размещенными между передней и задней стенками [1].
В данной ступени использованы лопатки определенного профиля, что позволяет устранить обратные течения в пристеночных слоях.
Недостатком известной ступени является сложность изготовления и относительно малая экономичность при ограниченной зоне устойчивой работы.
Известен также центробежный компрессор, содержащий рабочее колесо и расположенный за ним по ходу потока лопаточный диффузор с криволинейными лопатками, размещенными между передней и задней стенками [2].
Лопаточный диффузор данного компрессора выполнен с параллельными стенками и укороченными по высоте лопатками, спрофилированными по логарифмической спирали.
Недостатком данного устройства является наличие увеличенных профильных потерь в диффузоре.
Известен центробежный компрессор, содержащий рабочее колесо с плоским основным и коническим покрывным дисками с лопатками между ними, безлопаточный и лопаточный диффузоры, поворотный канал [3].
Недостатком этого устройства является то, что смещение оси безлопаточного и лопаточного диффузоров приводит к сильному искривлению потока при течении его через безлопаточный диффузор и в момент вхождения его в лопаточный диффузор. Это приводит к увеличению потерь и общему снижению КПД ступени центробежного компрессора.
Известна выбранная в качестве прототипа ступень центробежного компрессора, содержащая расположенные по ходу движения рабочего потока рабочее колесо, безлопаточный и лопаточный диффузоры, спрямляющий аппарат [4].
В указанной ступени лопаточный диффузор отделен от спрямляющего аппарата кольцевым радиально-осевым безлопаточным каналом, в котором происходит изменение направления движения рабочего потока с радиального на осевое, т.е. поток поворачивается.
Недостатком известной ступени центробежного компрессора является ее низкий КПД из-за наличия в проточной части ступени существенных потерь.
Задачей предлагаемого изобретения является повышение КПД ступени центробежного компрессора за счет уменьшения потерь в проточной части ступени на участке, ограниченном с одной стороны входом лопаточного диффузора, а с другой – выходом спрямляющего аппарата.
Уменьшение потерь в проточной части ступени на участке, ограниченном входом лопаточного диффузора, с одной стороны, и выходом спрямляющего аппарата, с другой, достигается тем, что в ступени центробежного компрессора, содержащей расположенные по ходу движения рабочего потока рабочее колесо, безлопаточный и лопаточный диффузоры, спрямляющий аппарат, согласно изобретению, каждая лопатка лопаточного диффузора выполнена за одно целое с лопаткой спрямляющего аппарата таким образом, что лопатка спрямляющего аппарата является продолжением лопатки лопаточного диффузора, при этом совокупность средних линий профилей объединенных лопаток расположена в одной плоскости.
Выполнение лопатки лопаточного диффузора за одно целое с лопаткой спрямляющего аппарата таким образом, что лопатка спрямляющего аппарата является продолжением лопатки лопаточного диффузора, позволяет получить в проточной части, на участке от входа в лопаточный диффузор до выхода из спрямляющего аппарата, непрерывные межлопаточные каналы для прохода рабочего потока. Благодаря этому отсутствуют кромочные потери на выходе из лопаточного диффузора и на входе в спрямляющий аппарат, характерные для ступени-прототипа, где между лопаточным диффузором и спрямляющим аппаратом содержится кольцевой радиально-осевой безлопаточный канал.
Соблюдение при профилировании условия «расположение совокупности средних линий профилей объединенных лопаток в одной плоскости» обеспечивает в дальнейшем, при работе ступени центробежного компрессора, снижение потерь, связанных с поворотами потока.
В данном случае под профилем, как всегда, понимается форма сечения лопатки, а под его средней линией – геометрическое место центров окружностей, вписанных в профиль. При этом способ мысленного рассечения лопатки для получения профиля может быть осуществлен по-разному: поперек лопатки или, как вариант, при сечении лопатки любой плоскостью, перпендикулярной ее боковой поверхности.
Традиционно лопатки лопаточного диффузора и спрямляющего аппарата формируют с изгибом по ходу движения рабочего потока. Для изогнутой лопатки характерно то, что средняя линия любого профиля, полученного при мысленном рассечении лопатки, никогда не будет находиться в той же плоскости, что и средние линии как минимум двух иных профилей, которые могут быть получены при аналогичных сечениях лопатки в других местах. В диффузорах и спрямляющих аппаратах с изогнутыми лопатками углы входа и выхода потока не равны. Так, например, угол выхода потока из лопаточного диффузора всегда больше угла входа [5, 6]. Также угол между векторами скорости потока на входе в лопаточный диффузор и на выходе из него не равен нулю. Не равен нулю и аналогичный угол в спрямляющем аппарате. При движении по межлопаточным каналам таких диффузоров и спрямляющих аппаратов рабочий поток под воздействием изогнутых лопаток претерпевает повороты, а эти повороты сопровождаются потерями.
Кроме того, для выбранной за прототип ступени центробежного компрессора характерны еще и другие дополнительные потери, связанные с поворотами. Эти потери вызваны тем, что рабочий поток, выйдя из лопаточного диффузора в кольцевой радиально-осевой канал, продолжает сначала по инерции закручиваться, а затем, уже после смены направления движения с радиального на осевое, испытывает при входе в спрямляющий аппарат резкий поворот.
В предлагаемой ступени центробежного компрессора, благодаря выполнению объединенных лопаток лопаточного диффузора и спрямляющего аппарата с расположением совокупности средних линий их профилей в одной плоскости, угол между векторами скорости потока на входе в лопаточный диффузор и на выходе из него равен нулю. Также равен нулю и угол между векторами скорости на входе в сопловой аппарат и на выходе из него.
Указанная конструктивная особенность обеспечивает движение рабочего потока в проточной части на участке, ограниченном входом лопаточного диффузора и выходом спрямляющего аппарата, только с одним обязательным поворотом. Этот поворот происходит на границе между лопаточным диффузором и спрямляющим аппаратом и связан со сменой направления движения с радиального на осевое.
Сущность предложения поясняется чертежами, на которых представлены:
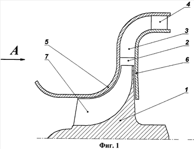
фиг.1 – ступень центробежного компрессора газотурбинного двигателя, продольный разрез;
фиг.2 – вид ступени без наружного корпуса по стрелке А на фиг.1;
фиг.3 – перспективный вид внутреннего корпуса с расположенными на нем лопатками лопаточного диффузора, каждая из которых выполнена за одно целое с лопатками спрямляющего аппарата;
фиг.4 – схема движения рабочего потока от входа в радиальный лопаточный диффузор до выхода из него;
Фиг 5 – схема движения рабочего потока от входа в спрямляющий аппарат до выхода из него.
Ступень центробежного компрессора включает рабочее колесо 1, безлопаточный диффузор 2, лопаточный диффузор 3, спрямляющий аппарат 4.
Проточная часть ступени ограничена наружным корпусом 5, ступицей рабочего колеса 1 и внутренним корпусом 6. При этом в области рабочего колеса 1 она разделена на каналы лопатками 7, в области лопаточного диффузора 3 – лопатками 8, а в области спрямляющего аппарата 4 – лопатками 9.
Каждая лопатка 8 лопаточного диффузора 3 выполнена за одно целое с лопаткой 9 спрямляющего аппарата 4 так, что лопатка 9 является продолжением лопатки 8. Кроме того, средняя линия профиля, полученного при воображаемом сечении любым выбранным способом лопатки 8 лопаточного диффузора или лопатки 9 спрямляющего аппарата, находится в той же плоскости, что и средние линии профилей, которые могут быть получены при аналогичных сечениях лопаток в других местах.
Устройство работает следующим образом.
Воздушный поток в осевом направлении поступает в рабочее колесо 1. Проходя по каналам, образованным лопатками 7, и вращаясь вместе с рабочим колесом 1, воздух сжимается и выходит из колеса со скоростью значительно большей, чем на входе. Закрученный поток сжатого воздуха, выходя из рабочего колеса 1, попадает в безлопаточный диффузор 2, несколько снижает свою скорость и входит в лопаточный диффузор 3.
В лопаточном диффузоре 3, где каналы между лопатками 8 в радиальной плоскости имеют расширение, происходит преобразование кинетической энергии движущегося потока в потенциальную энергию сжатого воздуха, т.е. скоростной напор преобразуется в давление. На границе между лопаточным диффузором 3 и спрямляющим аппаратом 4, которую можно определить по прекращению расширения межлопаточных каналов и изменению направления каналов с радиального на осевое, поток плавно и без скачков поворачивается. Затем он продвигается между лопатками 9 спрямляющего аппарата и выходит в камеру сгорания.
На фиг.4 представлена схема движения рабочего потока от входа в лопаточный диффузор до выхода из него в виде векторов скорости C1 и C2 соответственно. Из схемы видно, что угол вектора скорости не меняется (отсутствует поворот потока).
На фиг.5 показана схема движения рабочего потока после изменения направления его движения с радиального на осевое. Векторы скорости С3 и С4 – скорости потока на входе и выходе из спрямляющего аппарата. Из схемы видно, что и здесь также не происходит поворота потока.
Таким образом, благодаря выполнению определенным образом каждой лопатки 8 лопаточного диффузора за одно целое с лопаткой 9 спрямляющего аппарата, рабочий поток проходит путь от входа в лопаточный диффузор 3 до выхода из спрямляющего аппарата 4 без искривления траектории. Поток претерпевает поворот только при переходе из лопаточного диффузора в спрямляющий аппарат: направление его движения меняется с радиального на осевое.
Предлагаемая ступень центробежного компрессора помимо более высокого КПД за счет снижения потерь в проточной части имеет также и другие преимущества. Она превосходит ступень-прототип по надежности в работе и является менее трудоемкой в изготовлении.
Источники информации
1. Авторское свидетельство SU № 522343, F04D 17/08,1976.
2. Авторское свидетельство SU № 419639, F04D 29/44, 1974.
3. Авторское свидетельство SU № 896258, F04D 17/08, 1982.
4. Энциклопедия «Авиация». – М.: Научное изд-во «Большая российская энциклопедия», Центральн. аэрогидродинам. ин-т им. проф. Н.Е.Жуковского, 1994, стр.282.
5. А.Н.Шерстюк. Насосы, вентиляторы, компрессоры. – М.: Высшая школа, 1972, стр.252.
6. К.В.Холщевников, О.Н.Емин, В.Г.Митрохин. Теория и расчет авиационных лопаточных машин. – М.: Машиностроение, 1986, стр.204.
Формула изобретения
Ступень центробежного компрессора, содержащая расположенные по ходу движения рабочего потока рабочее колесо, безлопаточный и лопаточный диффузоры, спрямляющий аппарат, отличающаяся тем, что каждая лопатка лопаточного диффузора выполнена заодно целое с лопаткой спрямляющего аппарата таким образом, что лопатка спрямляющего аппарата является продолжением лопатки лопаточного диффузора, при этом совокупность средних линий профилей объединенных лопаток расположена в одной плоскости.
РИСУНКИ
|