|
| На основании пункта 1 статьи 1366 части четвертой Гражданского кодекса Российской Федерации патентообладатель обязуется заключить договор об отчуждении патента на условиях, соответствующих установившейся практике, с любым гражданином Российской Федерации или российским юридическим лицом, кто первым изъявил такое желание и уведомил об этом патентообладателя и федеральный орган исполнительной власти по интеллектуальной собственности. |
|
(21), (22) Заявка: 2007110588/06, 22.03.2007
(24) Дата начала отсчета срока действия патента:
22.03.2007
(46) Опубликовано: 27.09.2008
(56) Список документов, цитированных в отчете о поиске:
US 4147024 А, 03.04.1979. ЕР 0173774 А1, 12.03.1986. DE 2712136 A1, 28.09.1978. RU 1045686 C, 15.09.1994. SU 422296 A, 27.11.2005. SU 1464598 A1, 10.04.2001.
Адрес для переписки:
443112, г.Самара, ул. Крайняя, 18-17, Н.Б. Болотину
|
(72) Автор(ы):
Болотин Николай Борисович (RU)
(73) Патентообладатель(и):
Болотин Николай Борисович (RU)
|
(54) КОМБИНИРОВАННАЯ СИЛОВАЯ УСТАНОВКА С ОХЛАЖДАЕМОЙ ТУРБИНОЙ И РЕГЕНЕРАЦИЕЙ ТЕПЛА
(57) Реферат:
Комбинированная силовая установка с охлаждаемой турбиной и регенерацией тепла содержит два контура и установленные последовательно входное устройство двигателя, вентилятор, компрессор, камеру сгорания, турбины высокого и низкого давления, соединенные механически с вентилятором и компрессором соответственно теплообменник и силовой двигатель, соединенный с нагрузкой. Теплообменник выполнен кольцевым и установлен во втором контуре. Выход по газовой полости теплообменника осуществлен в выхлопное устройство продуктов сгорания, расположенное около входного устройства двигателя. Внутри выхлопного устройства продуктов сгорания установлен теплообменник-газификатор и теплообменник системы охлаждения турбины. Теплообменник-газификатор соединен по топливной линии с одной стороны с насосом сжиженного природного газа, а с другой – с форсунками камеры сгорания. Силовой двигатель выполнен в виде двигателя Стирлинга. Изобретение направлено на увеличение КПД, улучшение экологических свойств и повышение надежности двигателя. 4 з.п. ф-лы, 9 ил.
Изобретение относится к двигателестроению, в том числе к авиационным и стационарным двигателям ГТД, работающим на сжиженном природном газе – СПГ.
Известна силовая установка по патенту РФ №2189477, которая содержит газотурбинный двигатель – ГТД, газовый тракт, соединяющий этот газотурбинный двигатель со свободной турбиной и нагрузку в виде электрогенератора, вал которого подсоединен к валу свободной турбины через муфту.
Недостатком этой силовой установки является то, что она имеет низкий КПД около 20%, что почти в 2 раза меньше, чем у современных дизельных установок.
Известна силовая установка газотурбовоза по патенту РФ №2272916, которая содержит газотурбинный двигатель с турбиной и свободную турбину, за которой установлен регенеративный теплообменник, выход из которого соединен с газотурбинным двигателем, конкретно- с системой охлаждения турбины.
Недостатком этого двигателя является низкий КПД силовой установки.
Известен газотурбинный двигатель по патенту РФ №2252316 (прототип), который содержит турбокомпрессор, состоящий из компрессора, камеры сгорания и турбины, и не менее двух электрических машин (электрогенератора и электродвигателя, встроенных в турбокомпрессор). Система постоянных магнитов установлена на внутренней поверхности ротора турбокомпрессора, а статор электрической машины установлен на корпусе подшипниковой опоры, т.е. на малом диаметре.
Недостатки этого двигателя: очень маленькая мощность электрических машин, связанная с тем, что они размещены на малом диаметре и имеют по одной ступени. Кроме того, возникают проблемы с охлаждение обмоток статора, размещенных внутри двигателя. Эта конструкция применима для использования электрической машины в качестве стартера или в качестве вспомогательного электрогенератора для питания агрегатов газотурбинного двигателя и самолета.
Известен газотурбинный двигатель с регенерацией тепла по патенту РФ №2192551, который содержит компрессор, камеру сгорания, турбины высокого давления, турбину низкого давления, теплообменник и две свободные турбины, газовую и воздушную, установленные на общем валу с нагрузкой.
Предложенная схема двигателя имеет низкий КПД и надежность. Кроме того, она сложная по конструкции, т.к. имеет четыре неунифицированные турбины: высокого давления, низкого давления, свободную газовую турбину и свободную воздушную турбину. Установка обеих свободных турбин на одном валу приводит к несогласованности их работы в широком диапазоне режимов работы, т.к. если турбины спроектировать на один из режимов работы, расчетный режим, то при отклонении от этого режима турбины будут вращаться с одинаковыми угловыми скоростями, но КПД обеих турбин резко уменьшатся из-за несогласованности газодинамических характеристик работы этих турбин, т.к. расходы газа (продуктов сгорания) и воздуха не согласованы между собой для создания оптимальных углов атаки на рабочих лопатках обеих турбин. В результате общий КПД сдвоенной турбины будет значительно уменьшаться при отклонении режимов работы газовой и воздушной турбин от расчетного режима.
Задачи создания изобретения: повышение экономичности и надежности двигателя.
Задачи создания изобретения: увеличение КПД, улучшение экологических свойств и повышение надежности двигателя.
Решение указанных задач достигнуто за счет того, что комбинированная силовая установка с охлаждаемой турбиной и регенерацией тепла, содержащая два контура и установленные последовательно входное устройство двигателя, вентилятор, компрессор, камеру сгорания турбины высокого и низкого давления, соединенные механически с вентилятором и компрессором соответственно, теплообменник и силовой двигатель, соединенный с нагрузкой, отличающаяся тем, что теплообменник выполнен кольцевым и установлен во втором контуре, выход по газовой полости теплообменника осуществлен в выхлопное устройство газов, расположенное около входного устройства двигателя, внутри выхлопного устройства газов установлен теплообменник-газификатор и теплообменник системы охлаждения турбины, при этом теплообменник-газификатор соединен по топливной линии с одной стороны с насосом сжиженного природного газа, а с другой – с форсунками камеры сгорания, силовой двигатель выполнен в виде двигателя Стирлинга. Расширительные цилиндры двигателя Стирлинга установлены в первом контуре газотурбинного двигателя или во втором его контуре. Теплообменник-газификатор соединен с форсунками камеры сгорания через кольцевой коллектор. Теплообменник выполнен многосекционным, газовые секции теплообменника соединены последовательно, при этом каждая последующая секция размещена со смещением к входному устройству двигателя, а выхлопное устройство газов установлено около входного устройства двигателя.
Предложенное техническое решение обладает новизной, изобретательским уровнем и промышленной применимостью, т.е. всеми критериями изобретения.
Сущность изобретения поясняется на чертежах фиг.1…9, где:
на фиг.1 приведена схема комбинированной силовой установки,
на фиг.2 приведена схема силовой двигательной установки с перепуском воздуха из-за вентилятора в двигатель Стирлинга,
на фиг.3 приведен разрез по А-А,
на фиг.4 – схема двигателя Стирлинга,
на фиг.5 приведен вид по Б-Б,
на фиг.6 приведена схема комбинированной силовой установки с расположением расширительных цилиндров во втором контуре,
на фиг.7 приведен вид И-И,
на фиг.8 приведен вариант исполнения комбинированной силовой установки с двухтопливной системой,
на фиг.9 приведен вид К-К.
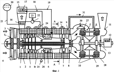
Предложенное техническое решение (фиг.1) содержит корпус первого контура 1, корпус второго контура 2, установленный концентрично ему с образованием второго контура, полость «В». Последовательно по потоку установлены: входное устройство 3, вентилятор 4, компрессор 5, камера сгорания 6, турбина высокого давления 7 и турбина низкого давления 8. Вентилятор 4 соединен механически валом с турбиной высокого давления 7, а компрессор 5 соединен другим валом с турбиной низкого давления 8. Далее по потоку по второму контуру идет теплообменник 9, двигатель Стирлинга 10 и выхлопное воздушное устройство 11.
Двигатель Стирлинга 10 соединен с нагрузкой 12 (компрессор, насос, электрогенератор и т.д.) валом двигателя Стирлинга 13. Теплообменник 9 целесообразно выполнить кольцевым (фиг.2) с заполнением от 70 до 100% от объема полости второго контура «Б». При этом целесообразно теплообменник 9 выполнить многосекционным и соединить секции теплообменника 9 по газовой полости трубопроводами 14, при этом каждая последующая секция должна быть размещена ближе к входному устройству 3, выхлопное устройство продуктов сгорания 15 установить около входного устройства 3. Такая конструкция увеличит площадь теплообмена теплообменника 9, обеспечит эффективную противоточную схему движения теплоносителей (газа и воздуха) и получить максимальный КПД теплообменника 9 и всей установки в целом. В выхлопном устройстве продуктов сгорания 15 установлены теплообменник-газификатор 16 и теплообменник системы охлаждения турбины 17, который соединен с одной стороны трубопроводом отбора 18 с выходом из компрессора 5, а с другой стороны – трубопроводом подачи воздуха 19 с системой охлаждения турбины высокого давления 7.
Газотурбинный двигатель содержит топливный бак 20, систему топливоподачи с топливопроводом низкого давления 21, подключенным к входу в топливный насос 22 (например, сжиженного природного газа), который имеет привод 23, топливопровод высокого давления 24, вход которого соединен с выходом из топливного насоса 22, а выход соединен с кольцевым коллектором 25, кольцевой коллектор 25 соединен патрубками, равномерно размещенными по окружности с форсунками 26 камеры сгорания 6.
Двигатель Стирлинга 10 содержит рабочие цилиндры 27, размещенные в полости «Г» и расширительные цилиндры 28, размещенные в полости «Д», внутренние полости этих цилиндров «Е» и «Ж» соединены трубопроводами 29 (фиг.1 и 3). Полость «Г» соединена с теплообменником 9 трубопроводом перепуска продуктов сгорания 30. Полости теплообменника 9 и полость «Д» соединяют трубопроводом перепуска воздуха.
К полости «В» подведен трубопровод охлаждения 32, подсоединенный к выходу из регулятора расхода 33. Ко входу регулятора расхода 33 подсоединен трубопровод отбора воздуха 34, другой конец которого подсоединен к полости за вентилятором 4.
На фиг.3 приведена схема двигателя Стирлинга 10, который содержит рабочие цилиндры 27, расширительные цилиндры 28 и соединяющие их внутренние полости «Е» и «Ж», трубопроводы перепуска 29. Каждый рабочий цилиндр 27 имеет оребрение 35, рабочий поршень 36, установленный внутри, шатун 37. Каждый раширительный цилиндр 28 имеет установленный внутри вытеснительный поршень 38 и шатун 39, соединенный с валом двигателя Стирлинга 13. Расширительные цилиндры также могут содержать эффективное оребрение.
Возможна установка в комбинированной силовой установке перед рабочими цилиндрами 27 дополнительной камеры сгорания 40 с форсунками 41 (фиг.8 и 9). К форсункам дополнительной камеры сгорания 41 подведена дополнительная топливная система 42, содержащая дополнительный топливный насос 43. В качестве дополнительного топлива для двигателя Стирлинга может быть использовано другое низкосортное, дешевое топливо.
При работе запускают газотурбинный двигатель при помощи стартера (стартер на фиг.1…9 не показан), подают топливо через форсунки 26 в камеру сгорания 6. Образовавшиеся продукты сгорания срабатывают энергетический потенциал на турбинах 7 и 8, далее достаточно горячие продукты сгорания, имеющие температуру около 500°С проходят через секции теплообменника 9, охлаждаются, отдавая энергию воздушному потоку второго контура, и сбрасываются в выхлопное устройство продуктов сгорания 15, а подогретый воздух второго контура проходит через двигатель Стирлинга 10 и сбрасывается в выхлопное воздушное устройство 11. При работе двигателя Стирлинга 10 рабочее тело перетекает поочередно из полости «Б» в полость «Ж» и обратно, при этом поршни 26 и 28 совершают возвратно-поступательное движение, вращая вал двигателя Стирлинга 13, подсоединенный с одной стороны к вентилятору 4, а с другой – к нагрузке 12. Вентилятор 4 сжимает атмосферный воздух и перемешает достаточно большой его расход по второму контуру, при этом он значительно подогревается. Энергетического потенциала подогретого воздуха второго контура достаточно для выработки при помощи двигателя Стирлинга 10 большой мощности. Если же этой мощности окажется не достаточно, то можно воспользоваться дополнительной топливной системой 42 для увеличения температуры воздуха перед рабочими цилиндрами 26.
Одновременно часть сжатого в компрессоре 5 воздуха (примерно от 1 до 5%) отбирается от компрессора 5 и по воздушной линии высокого давления 18 через теплообменник системы охлаждения турбины 17 подается к турбине высокого давления 7.
Весь расход выхлопных газов из полости «Г» перепускается по трубопроводу перепуска продуктов сгорания 30 в теплообменник 9, и пройдя все его секции, сбрасывается в выхлопное устройство газа 15, при этом в теплообменнике-газификаторе 16 газифицирует жидкое топливо (сжиженный природный газ), а в теплообменнике системы охлаждения турбины 17 охлаждают воздух, идущий на охлаждение турбины высокого давления 8.
В случае применения двухтопливной схемы (фиг.7) дополнительное топливо подают по дополнительной топливной системе 42 дополнительным топливным насосом 43 к форсункам 41 дополнительной камеры сгорания 40. При этом мощность двигателя Стирлинга 10 резко возрастает. Использование в качестве дополнительного топлива низкосортного дешевого топлива позволит уменьшить эксплуатационные расходы.
При работе правильно спроектированного двигателя, а именно, при большой эффективной поверхности теплообменника 9, температура сбрасываемого газа и воздуха практически не отличаются от температуры окружающей среды, а это значит, что может быть достигнут теоретически возможный КПД цикла.
Наличие теплообменника-газификатора 16 дополнительно уменьшает температуру газа на выхлопе. Вследствие подогрева выхлопных газов в теплообменнике системы охлаждения турбины повышается на несколько градусов (из-за относительно небольшого расхода воздуха на охлаждение турбины высокого давления 7), но это не влияет отрицательно на КПД установки. Зато появляется возможность повысить температуру газов на входе в турбину на 300…500°С, что позволит повысить КПД установки дополнительно на 5…7%.
Применение изобретения позволило:
1. Повысить КПД газотурбинного двигателя практически до теоретического за счет:
– больших габаритов теплообменника, наличия теплообменника-газификатора и за счет более рациональной компоновки двигателя и отсутствия жесткой кинематической связи между компрессором и турбиной, и свободной воздушной турбиной. Это позволило спроектировать оптимальные компрессор, турбины низкого давления и двигатель Стирлинга, например, на разные рабочие обороты (без редуктора и длинного вала, проходящего внутри камеры сгорания, т.е. в зоне чрезвычайно высоких температур) и оптимально согласовать их совместную работу,
– за счет увеличения температуры газа перед турбиной, что достигнуто применением ее эффективного охлаждения;
2. Уменьшить эмиссию в атмосферу вредных веществ за счет того, что двигатели Стирлинга имеют очень хорошие характеристики.
3. Улучшить надежность силовой установки за счет:
– отказа от свободной турбины,
– размещения нагрузки вне двигателя, в зоне низких температур.
4. Обеспечить запуск газотурбинного двигателя и питание электроэнергией очень энергоемких потребителей за счет практически неограниченной мощности нагрузки. Размещение теплообменника на большом диаметре позволит спроектировать одноступенчатую турбину большой мощности и уменьшить гидравлические потери на газоводах и воздуховодах, которые имеют место у прототипа.
5. Уменьшить вес и габариты силовой установки за счет:
– создания оптимальных турбин, вентилятора, компрессора и двигателя Стерлинга,
– размещения теплообменника во втором контуре двигателя, в котором давление, температуры и скорости потока относительно низкие, следовательно, меньше силовые нагрузки.
6. Реально обеспечить модульность конструкции двигателя за счет того, что каждый его основной узел может быть спроектирован независимо от характеристик сопрягаемого узла.
7. В случае применения двухтопливной схемы для силовой установки можно использовать для двигателя Стирлинга дешевое низкосортное топливо, тем самым уменьшить эксплуатационные расходы.
Формула изобретения
1. Комбинированная силовая установка с охлаждаемой турбиной и регенерацией тепла, содержащая два контура и установленные последовательно входное устройство двигателя, вентилятор, компрессор, камеру сгорания, турбины высокого и низкого давления, соединенные механически с вентилятором и компрессором, соответственно, теплообменник и силовой двигатель, соединенный с нагрузкой, отличающаяся тем, что теплообменник выполнен кольцевым и установлен во втором контуре, выход по газовой полости теплообменника осуществлен в выхлопное устройство продуктов сгорания, расположенное около входного устройства двигателя, внутри выхлопного устройства продуктов сгорания установлен теплообменник-газификатор и теплообменник системы охлаждения турбины, при этом теплообменник-газификатор соединен по топливной линии с одной стороны с насосом сжиженного природного газа, а с другой – с форсунками камеры сгорания, силовой двигатель выполнен в виде двигателя Стирлинга.
2. Комбинированная силовая установка по п.1, отличающаяся тем, что расширительные цилиндры двигателя Стирлинга установлены в первом контуре газотурбинного двигателя.
3. Комбинированная силовая установка по п.1 или 2, отличающаяся тем, что расширительные цилиндры двигателя Стирлинга установлены во втором контуре газотурбинного двигателя.
4. Комбинированная силовая установка с охлаждаемой турбиной и регенерацией тепла по п.1 или 2, отличающаяся тем, что теплообменник-газификатор соединен с форсунками камеры сгорания через кольцевой коллектор.
5. Комбинированная силовая установка с охлаждаемой турбиной и регенерацией тепла по п.1 или 2, отличающаяся тем, что теплообменник выполнен многосекционным, газовые секции теплообменника соединены последовательно, при этом каждая последующая секция размещена со смещением к входному устройству двигателя, а выхлопное устройство газов установлено около входного устройства двигателя.
РИСУНКИ
|
|