|
| На основании пункта 1 статьи 1366 части четвертой Гражданского кодекса Российской Федерации патентообладатель обязуется заключить договор об отчуждении патента на условиях, соответствующих установившейся практике, с любым гражданином Российской Федерации или российским юридическим лицом, кто первым изъявил такое желание и уведомил об этом патентообладателя и федеральный орган исполнительной власти по интеллектуальной собственности. |
|
(21), (22) Заявка: 2007104674/06, 06.02.2007
(24) Дата начала отсчета срока действия патента:
06.02.2007
(46) Опубликовано: 27.09.2008
(56) Список документов, цитированных в отчете о поиске:
US 4147024 А, 03.04.1979. EP 0173774 A1, 12.03.1986. DE 2712136 A1, 28.09.1978. RU 1045686 С, 15.09.1994. SU 422296 А, 27.11.2005. SU 1464598 A1, 10.04.2001.
Адрес для переписки:
443112, г.Самара, ул. Крайняя, 18-17, Н.Б. Болотину
|
(72) Автор(ы):
Болотин Николай Борисович (RU)
(73) Патентообладатель(и):
Болотин Николай Борисович (RU)
|
(54) ГАЗОТУРБИННАЯ СИЛОВАЯ УСТАНОВКА С РЕГЕНЕРАЦИЕЙ ТЕПЛА
(57) Реферат:
Газотурбинная силовая установка с регенерацией тепла содержит два контура и установленные последовательно входное устройство двигателя, вентилятор, компрессор, камеру сгорания, турбины высокого и низкого давления, соединенные механически с вентилятором и компрессором соответственно, теплообменник и воздушную свободную турбину. Теплообменник выполнен кольцевым и установлен во втором контуре. Выход по газовой полости теплообменника осуществлен в выхлопное устройство газов, расположенное около входного устройства двигателя. Внутри выхлопного устройства газов установлен теплообменник-газификатор, соединенный по топливной линии с одной стороны с насосом сжиженного природного газа, а с другой с форсунками камеры сгорания. Воздушная свободная турбина установлена также во втором контуре газотурбинного двигателя. Изобретение направлено на повышение КПД и надежности двигателя. 2 з.п. ф-лы, 2 ил.
Изобретение относится к двигателестроению, в том числе к авиационным и стационарным двигателям ГТД, работающим на сжиженном природном газе – СПГ.
Известна силовая установка по патенту РФ №2189477, которая содержит газотурбинный двигатель – ГТД, газовый тракт, соединяющий этот газотурбинный двигатель со свободной турбиной, и нагрузку в виде электрогенератора, вал которого подсоединен к валу свободной турбины через муфту.
Недостатком этой силовой установки является то, что она имеет низкий КПД, около 20%, что почти в 2 раза меньше, чем у современных дизельных установок.
Известна силовая установка газотурбовоза по патенту РФ №2272916, которая содержит газотурбинный двигатель с турбиной и свободную турбину, за которой установлен регенеративный теплообменник, выход из которого соединен с газотурбинным двигателем, конкретно с системой охлаждения турбины.
Недостатками этого двигателя является низкий КПД силовой установки.
Известен газотурбинный двигатель по патенту РФ №2252316 (прототип), который содержит турбокомпрессор, состоящий из компрессора, камеры сгорания, турбины и не менее двух электрических машин (электрогенератор и электродвигатель, встроенных в турбокомпрессор. Система постоянных магнитов установлена на внутренней поверхности ротора турбокомпрессора, а статор электрической машины установлен на корпусе подшипниковой опоры, т.е. на малом диаметре.
Недостатки этого двигателя: очень маленькая мощность электрических машин, связанная с тем, что они размещены на малом диаметре и имеют по одной ступени. Кроме того, возникают проблемы с охлаждением обмоток статора, размещенных внутри двигателя. Эта конструкция применима для использования электрической машины в качестве стартера или в качестве вспомогательного электрогенератора для питания агрегатов газотурбинного двигателя и самолета.
Известен газотурбинный двигатель с регенерацией тепла по патенту РФ №2192551, который содержит компрессор, камеру сгорания, турбины высокого давления, турбину низкого давления, теплообменник и две свободные турбины: газовую и воздушную, установленные на общем валу с нагрузкой.
Предложенная схема двигателя имеет низкий КПД и надежность. Кроме того, она сложная по конструкции, т.к. имеет четыре неунифицированные турбины: высокого давления, низкого давления, свободную газовую турбину и свободную воздушную турбину. Установка обеих свободных турбин на одном валу приводит к несогласованности их работы в широком диапазоне режимов работы, т.к. если турбины спроектировать на один из режимов работы, расчетный режим, то при отклонении от этого режима турбины будут вращаться с одинаковыми угловыми скоростями, но КПД обеих турбин резко уменьшатся из-за несогласованности газодинамических характеристик работы этих турбин, т.к. расходы газа (продуктов сгорания) и воздуха не согласованы между собой для создания оптимальных углов атаки на рабочих лопатках обеих турбин. В результате общий КПД сдвоенной турбины будет значительно уменьшаться при отклонении режимов работы газовой и воздушной турбин от расчетного режима.
Задачи создания изобретения: повышение экономичности и надежности двигателя.
Решение указанных задач достигнуто за счет того, что газотурбинная силовая установка с регенерацией тепла, содержащая два контура и установленные последовательно входное устройство двигателя, вентилятор, компрессор, камеру сгорания турбины высокого и низкого давления, соединенные механически с вентилятором и компрессором соответственно, теплообменник и воздушную свободную турбину, отличающается тем, что теплообменник выполнен кольцевым и установлен во втором контуре, выход по газовой полости теплообменника осуществлен в выхлопное устройство газов, расположенное около входного устройства двигателя, внутри выхлопного устройства газов установлен теплообменник-газификатор, соединенный по топливной линии с одной стороны с насосом сжиженного природного газа, а с другой с форсунками камеры сгорания, воздушная свободная турбина установлена также во втором контуре газотурбинного двигателя. Теплообменник-газификатор соединен с форсунками камеры сгорания через кольцевой коллектор. Теплообменник выполнен многосекционным, газовые секции теплообменника соединены последовательно, при этом каждая последующая секция размещена со смещением к входному устройству двигателя, а выхлопное устройство газов установлено около входного устройства двигателя.
Предложенное техническое решение обладает новизной, изобретательским уровнем и промышленной применимостью, т.е. всеми критериями изобретения.
Сущность изобретения поясняется чертежами, где:
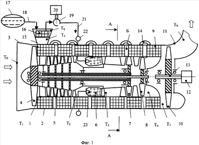
на фиг.1 приведена схема газотурбинного двигателя,
на фиг.2 приведен разрез по А-А.
Предложенное техническое решение (фиг.1) содержит корпус первого контура 1, корпус второго контура 2, установленный концентрично ему с образованием второго контура, полость «Б». Последовательно по потоку установлены входное устройство 3, вентилятор 4, компрессор 5, камеру сгорания 6 и турбину высокого давления 7, турбину низкого давления 8. Вентилятор 4 соединен механически валом с турбиной высокого давления 7, а компрессор 5 соединен другим валом с турбиной низкого давления 8. Далее по потоку (по второму контуру) идет теплообменник 9, свободная воздушная турбина 10 и выхлопное воздушное устройство 11.
Свободная воздушная турбина 10 соединена с нагрузкой 12 (компрессор, электрогенератор и т.д.) валом нагрузки 13. Теплообменник 9 целесообразно выполнить кольцевым (фиг.2) с заполнением от 70 до 100% от объема полости второго контура «Б». При этом целесообразно теплообменник 9 выполнить многосекционным и соединить секции теплообменника по газовой полости трубопроводами 14, при этом каждая последующая секция должна быть размещена ближе к входному устройству 3, в выхлопное газовое устройство установить около входного устройства 3. Такая конструкция увеличит площадь теплообмена теплообменника 9, обеспечит противоточную схему движения теплоносителя (газа) и воздуха и позволит получить максимальный КПД всей установки в целом. В выхлопном устройстве газа 15 установлен теплообменник-газификатор 16.
Газотурбинный двигатель содержит топливный бак 17, систему топливоподачи с топливопроводом низкого давления 18, подключенным к входу в насос сжиженного природного газа 19, имеющий привод 20, топливопровод высокого давления 21, вход которого соединен с топливным насосом 19, а выход соединен с кольцевым коллектором 20, кольцевой коллектор 22 соединен с форсунками 23 камеры сгорания 6.
При работе запускают газотурбинный двигатель при помощи стартера (стартер на фиг.1и 2 не показан), подают сжиженный природный газ через форсунки 23 в камеру сгорания. При образовании газа (продукты сгорания) срабатывает энергетический потенциал на турбинах 7 и 8, далее достаточно горячий газ, имеющий температуру около 500°С, проходит через секции теплообменника 9 и сбрасывается в выхлопное устройство газа 15, а подогретый воздух второго контура проходит через свободную воздушную турбину 10 и сбрасывается в выхлопное воздушное устройство 11.
При работе двигателя температура воздуха (газа) вдоль него распределится следующим образом:
Т0 – температура воздуха на входе в двигатель,
T1 – температура воздуха за вентилятором,
Т2 – температура воздуха за компрессором,
Т3 – температура газа (продуктов сгорания) на выходе из турбины,
Т4 – температура газа на выходе из турбины низкого давления.
Т5 – температура сбрасываемого газа до теплообменника-газификатора,
Т6 – температура сбрасываемого газа после теплообменника-газификатора,
Т7 – температура воздуха на входе в свободную воздушную турбину,
T8 – температура воздуха на выходе из двигателя.
При работе хорошо спроектированного двигателя, а именно при большой эффективной поверхности теплообменника 9, температура сбрасываемого газа и воздуха соответственно T6 и T8 практически не отличаются от Т0, а это значит, что может быть достигнут теоретически возможный КПД цикла.
Наличие теплообменника-газификатора дополнительно уменьшает температуру газа на выхлопе Т6.
Применение изобретения позволило:
1. Повысить кпд газотурбинного двигателя практически до теоретического в первую очередь за счет больших габаритов теплообменника, наличия теплообменника-газификатора и за счет более рациональной компоновки двигателя и отсутствия жесткой кинематической связи между компрессором и турбиной и свободной воздушной турбиной. Это позволило спроектировать оптимальные компрессор, турбины низкого давления и свободную воздушную турбину, например, на разные рабочие обороты (без редуктора и длинного вала, проходящего внутри камеры сгорания, т.е. в зоне чрезвычайно высоких температур) и оптимально согласовать их совместную работу.
2. Улучшить надежность силовой установки за счет:
– отказа от свободной газовой турбины,
– размещения нагрузки вне двигателя.
3. Обеспечить запуск газотурбинного двигателя и питание электроэнергией очень энергоемких потребителей за счет практически неограниченной мощности нагрузки. Размещение свободной воздушной турбины на большом диаметре позволит спроектировать одноступенчатую турбину большой мощности и уменьшить гидравлические потери на газоводах и воздуховодах, которые имеют место у прототипа.
4. Уменьшить вес и габариты силовой установки за счет:
– создания оптимальных турбины и компрессора, например, с расчетом работы на различных оборотах за счет различного числа полюсов обмоток статора на электродвигателе и электрогенераторе.
– отказа от громоздких опор с подшипниками, которые размещены в зоне высоких температур, систем смазки этих опор и систем охлаждения масла, применяющегося для смазки этих опор,
– размещения теплообменника во втором контуре двигателя.
5. Реально обеспечить модульность конструкции двигателя за счет того, что каждый его основной узел может быть спроектирован независимо от характеристик сопрягаемого узла.
Формула изобретения
1. Газотурбинная силовая установка с регенерацией тепла, содержащая два контура и установленные последовательно входное устройство двигателя, вентилятор, компрессор, камеру сгорания, турбины высокого и низкого давления, соединенные механически с вентилятором и компрессором соответственно, теплообменник и воздушную свободную турбину, отличающаяся тем, что теплообменник выполнен кольцевым и установлен во втором контуре, выход по газовой полости теплообменника осуществлен в выхлопное устройство газов, расположенное около входного устройства двигателя, внутри выхлопного устройства газов установлен теплообменник-газификатор, соединенный по топливной линии с одной стороны с насосом сжиженного природного газа, а с другой с форсунками камеры сгорания, воздушная свободная турбина установлена также во втором контуре газотурбинного двигателя.
2. Газотурбинная силовая установка с регенерацией тепла по п.1, отличающаяся тем, что теплообменник-газификатор соединен с форсунками камеры сгорания через кольцевой коллектор.
3. Газотурбинная силовая установка с регенерацией тепла по п.1, отличающаяся тем, что теплообменник выполнен многосекционным, газовые секции теплообменника соединены последовательно, при этом каждая последующая секция размещена со смещением к входному устройству двигателя, а выхлопное устройство газов установлено около входного устройства двигателя.
РИСУНКИ
|
|