|
|
(21), (22) Заявка: 2006141127/11, 20.11.2006
(24) Дата начала отсчета срока действия патента:
20.11.2006
(46) Опубликовано: 27.09.2008
(56) Список документов, цитированных в отчете о поиске:
SU 1124139 А1, 15.11.1984. SU 721598 А1, 15.03.1980. SU 709871 А1, 15.01.1980. SU 1796791 А1, 23.02.1993. SU 418645 А1, 05.03.1974. SU 370385 А1, 01.01.1973. DE 1172085 А, 15.01.1982.
Адрес для переписки:
354207, Краснодарский край, Лазаревский р-н, г. Сочи, пос. Дагомыс, Батумское ш., 67В, кв.6, О.С.Гладкевичу
|
(72) Автор(ы):
Гладкевич Олег Станиславович (RU)
(73) Патентообладатель(и):
Гладкевич Олег Станиславович (RU)
|
(54) ПРИВОД ОБГОННОГО КОЛЕСА
(57) Реферат:
Изобретение относится к области машиностроения, в частности к устройствам для передачи вращения. Привод обгонного колеса ведущего моста состоит из внутренней ведущей полуоси, наружной ведомой полуоси, центробежных регуляторов, ведущей и ведомой полумуфт, картера. Ведущая и ведомая полуоси (1) и (10) содержат шлицы, на которых подвижно сопряжены ведущая (4) и ведомая (8) полумуфты. Полумуфты составлены из ведущей (14) и ведомой (25) ступиц и концентрично расположенных на них каретках (20) и (24). В ступицах выполнены совмещенные пазы (32), в которых расположены пружины (17), одетые на упоры (33). Ведущая (1) и ведомая (10) полуоси соединены опорным подшипником (35) и шарнирно соединены с полумуфтами (4) и (8) рычагами (3) и (5) центробежных регуляторов с маховиками (2) и (13) и рычагами (11) и (12). Это позволяет упростить конструкцию, повысить эксплуатационную надежность машины, что способствует повышению использования ресурса машины, экономии материальных средств, улучшению экологической среды. 2 ил.
Предлагаемое изобретение относится к области машиностроения, в частности к устройствам для передачи принудительного и вместе с этим свободно-обгонного способа вращения валов. Наиболее эффективный результат по своим полезным качествам проявляется в использовании его в ведущих мостах автотракторной техники.
Известны ведущие мосты различных марок машин, содержащих неразъемные полуоси или ведущие приводы управляемых колес, которые не содержат устройств и связей между ними, обеспечивающих обгонный способ вращения колес, например, автомобиль “Нива” ВАЗ-2121. В.К.Вахламова, изд. “Транспорт” Москва, 1984 г. стр.45, рис.33 – задний мост, стр.47, рис.34 – передний мост [1].
Недостатками этих мостов являются невозможность прекращения работы элементов силовой передачи при движении автомобиля и использования в полном объеме инерции массы машины, что негативно отражается на эксплуатационной надежности всей системы силовой передачи и сравнительно с предложением практической невозможности экономить горючее.
Известны различного назначения муфты для сопряжения валов. Наиболее близкой по своим качествам является “Выключаемая муфта”, опубликованная 15.11.84 г. в бюл. №42 а.с. 1124139, Е16D 11/04 [2]. Эта муфта содержит две аналогичные по устройству полумуфты, одна из которых жестко, как и все известные полумуфты, соединена, как правило, с ведущим валом.
Недостатками этой муфты являются ее неподвижность в осевом направлении и невозможность автоматической стыковки и разобщения полумуфт.
Известны центробежные детали с односторонним направлением выполнения динамических функций.
Их недостатками является отсутствие сбалансированного возвратно-поступательного действия по регулированию вращательного стыковочно-разъемного процесса.
Задачей предлагаемого изобретения является ликвидация упомянутых недостатков, а также упрощение управлением машины, повышение надежности и на базе экономии горючего, уменьшение загрязнения угарными газами экологической среды.
Согласно предлагаемому изобретению поставленная задача достигается тем, что кожухи полуосей и полуоси ведущего моста выполнены разъемными, полуоси соединены посредством опорного подшипника и содержат дополнительные шлицы, на которых подвижно установлена и размещена в картере упругая выключаемая муфта, которая шарнирно соединена с центробежными регуляторами, а последние в свою очередь, шарнирно соединены с полуосями, обладающими способностью при различных крутящих моментах как принудительного, так и независимого вращения колес под воздействием инерции массы машины.
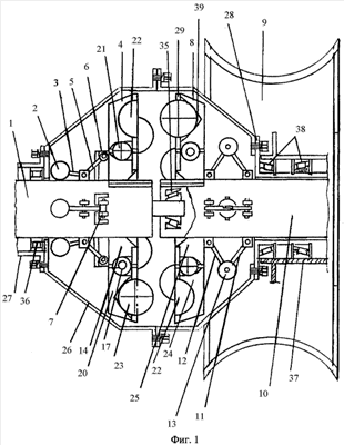
Предлагаемое изобретение изображено на чертежах, фиг.1-2, где на фиг.1 показан один из приводов обгонных колес в разобщенном состоянии, в разрезе и позициями обозначены:
1 – ведущая полуось;
2 – центробежный груз;
3 – шарнирный рычаг;
4 – ведущая полумуфта;
5 – шарнирный рычаг;
6 – желобок;
7 – ролик;
8 – ведомая полумуфта;
9 – колесо;
10 – ведомая полуось;
11 – шарнирный рычаг;
12 – шарнирный маховик;
13 – шарнирный рычаг;
14 – ступица;
17 – пружина;
20 – каретка;
21 – шарик;
22 – сферическая выемка;
23 – стыковочные шарики;
24 – каретка;
25 – ведомая ступица;
26 – картер;
27 – кожух;
28 – цапфа;
29 – сепаратор;
35 – опорный подшипник;
36 – подшипник;
37 – ступица;
38 – конический роликоподшипник;
39 – арочное гнездо.
На фиг.2 изображена одна из полумуфт с ее элементами в общем виде и позициями обозначены:
1 – полуось;
15 – лопасть ступицы;
17 – пружина;
19 – лопасть каретки;
20 – каретка;
22 – сферическая выемка;
23 – стыковочный шарик;
30 – болты с потайной головкой;
31 – лоток;
32 – пазы;
33 – упоры;
34 – кольцевая крышка.
Привод обгонного колеса ведущего моста состоит из внутренней ведущей полуоси 1 (фиг.1), наружной ведомой полуоси 10, центробежных регуляторов 2 и 13, ведущей 4 и ведомой 8 полумуфт, а также картера 26, соединенного с кожухом 27 ведущей полуоси 1 и цапфой 28 колеса 9.
Ведущая и ведомая полуоси 1 и 10 содержат шлицы, на которых подвижно сопряжены ведущая 4 и ведомая 8 полумуфты, составленные из ведущей 14 и ведомой 25 ступиц и концентрично расположенных на них каретках 20 и 24. В торцевых частях кареток выполнены сферические выемки (лунки) 22 и арочные гнезда 39, где расположены стыковочные шарики 23, заблокированные сепараторами 29, жестко соединенными с корпусами кареток болтами с потайной головкой 30 (фиг.2). Каретки 20 и 24 подвижно соединены со ступицами 14 и 25 посредством одиночных шариков 21, расположенных в лотках 31, ограниченных лопастями 15 ступиц и лопастями 19 кареток. Поочередно с лотками в каретках и ступицах выполнены совмещенные пазы 32, в которых расположены пружины 17, одетые на упоры 33. Шарики, пружины и упоры закрыты кольцевыми крышками 34, закрепленными в корпусах ступиц болтами 30 с потайной головкой. Ведущая 1 и ведомая 10 полуоси соединены опорным подшипником 35 и шарнирно соединены с полумуфтами 4 и 8 рычагами 3 и 5 центробежных регуляторов с маховиками 2 и 13 и рычагами 11 и 12, при чем шарнирный маховик 13 расположен между рычагами 11 и 12, а рычаг 5 имеет Т-образный вид, на котором размещен ролик 7, расположенный в желобке 6 ведущей полумуфты 4. Ведущая полуразгруженная полуось 1 внешним концом опирается на подшипник 36, а ведомая полностью разгруженная полуось 10 соединена со ступицей 37, установленной на двух конических роликоподшипниках 38, размещенных на цапфе 28.
Работает привод обгонного колеса следующим образом. При вращении ведущей полуоси 1 под воздействием центробежных сил маховик 2 регулятора совместно с рычагом 3 отклоняется от полуоси 1 в сторону ведущей полумуфты 4, а рычаг 5 перемещается в крайнее нижнее положение по желобку 6 и роликом 7 передвигает полумуфты 4 и 8, находящиеся в состыкованном положении, в сторону колеса 9 до упора в концы шлицев ведомой полумуфты 10. При этом рычаги 11 и 12 центробежного регулятора сближаются и поднимают маховик 13 в крайнее верхнее положение. Одновременно с ведущей полуосью 1 вращается и ведущая ступица 14, а усилие от ее лопастей 15 (фиг.2) через упоры 33 пружины 17 передается на лопасти 19 каретки 20, которая, перекатываясь по соединительным шарикам 21, сжимает пружины 17 до упора и начинает поворачиваться совместно с полуосью 1 и ступицей 14. Последующее усилие от ведущей каретки 20 через стыковочные выемки 22 и стыковочные шарики 23 передается на ведомую каретку 24, ведомую ступицу 25 и ведомую полуось 10, которая начинает вращаться совместно с элементами колеса 9.
При снятии вращательной нагрузки на ведущей полуоси 1 путем педали подачи горючего, маховик 2 совместно с рычагом 3 под воздействием центробежных сил опускается в крайнее нижнее положение и ролик 7 рычага 5 передвигает ведущую полумуфту 4 на себя, а ведомая полумуфта 8 удерживается центробежными силами маховика 13 в прежнем положении. Происходит расстыковка полумуфт 4 и 8, а колесо 9 совместно с ведомой полуосью 10 продолжает вращаться до полного использования усилий инерции массы машины, после чего ведомая полумуфта 8 постепенно, под воздействием маховика 13, рычагов 11 и 12 передвигается в сторону ведущей полумуфты 4 и при выравнивании крутящих моментов на полуосях 1 и 10 происходит автоматическая стыковка полумуфт 4 и 8. Стыковочный процесс осуществляется и при полной остановке автомобиля. Работа элементов привода обгонного колеса при движении задним ходом аналогична указанной выше.
Управление приводом обгонного колеса ведущего моста осуществляется педалью подачи горючего, что упрощает работу сцепления и коробки передач. Свойство автоматического управления в процессе эксплуатации машины способствует достижению таких полезных качеств, как экономия горючего путем использования инерции массы машины, при которой двигатель может работать в режиме холостых оборотов двигателя и исключить «перегазовки» при работе сцепления и коробки передач, исключить ударно-пусковые нагрузки при эксплуатации, что ведет к повышению износоустойчивости агрегатов. Эти факторы способствуют уменьшению простоя машин, повышению их ресурса, позволяют в значительной степени экономить материальные средства и улучшать состояние экологической среды.
Формула изобретения
Привод обгонного колеса ведущего моста /агрегата/, содержащий элементы силовой передачи, тормозную систему, подшипники и их уплотнения, отличающийся тем, что в целях экономии энергетических средств, продления использования ресурса силовой передачи и сопряженных с ней узлов, расчлененные полуоси заднего моста на внутренние ведущие и наружные ведомые соединены между собой посредством подшипника и содержат дополнительные шлицы, на которых установлены подвижные в осевом направлении ведущие и ведомые полумуфты, которые соединены с центробежными регуляторами автоматической стыковки и разобщения полумуфт, а центробежные регуляторы соединены с полуосями, обладающими возможностью принудительного и независимого изменения крутящих моментов на колесах и использования в полном объеме усилия инерции массы машины при снятии нагрузки в силовой установке.
РИСУНКИ
|
|