|
(21), (22) Заявка: 2006108021/11, 15.03.2006
(24) Дата начала отсчета срока действия патента:
15.03.2006
(43) Дата публикации заявки: 20.10.2007
(46) Опубликовано: 27.09.2008
(56) Список документов, цитированных в отчете о поиске:
ж. «Авторевю», №16, 2005, с.69-70. JP 10305735 A, 17.11.1998. JP 2003211979 A, 30.07.2003. SU 625592 A3, 25.09.1978. RU 2192354 С1, 10.11.2002.
Адрес для переписки:
105064, Москва, Хомутовский т., 4, кв.82, Ю.В. Макарову
|
(72) Автор(ы):
Макаров Юрий Васильевич (RU), Черепанов Василий Дмитриевич (RU)
(73) Патентообладатель(и):
Макаров Юрий Васильевич (RU), Черепанов Василий Дмитриевич (RU)
|
(54) МОТОР-КОЛЕСО
(57) Реферат:
Изобретение относится к области транспорта и предназначено для легковых автомобилей. Устройство состоит из статора электромотора, закрепленного неподвижно на силовых элементах подвески автомобильного колеса ротора электромотора. Ротор электромотора расположен на диске автомобильного колеса. Активный элемент ротора, внутри которого залито «беличье колесо», состоящее из двух стальных колец, соединенных между собой стальными шпильками, выполнен из легкосплавного материала в виде кольцевой вставки с отбортовкой с отверстиями на ней и закреплен на колесном диске с помощью винтов. Щель между кольцевой вставкой и диском колеса заполнена полимерным клеем. Технический результат заключается в снижении массы и упрощении конструкции. 7 ил.
Изобретение относится к области автотранспорта и предназначено для легковых автомобилей.
Известно устройство автомобильного колеса (см. Патент РФ №2111138, кл. В60Т 8/32) с электрорекуперативным тормозным диском, вокруг которого расположен статор его электромотора.
Такое устройство не обеспечивает возможность работы его в режиме электромотора длительное время с высоким КПД и большим тяговым моментом.
Ближайшим техническим решением является мотор-колесо (см. журнал «Авторевю» №16, 2005 г., стр.69-70), состоящее из статора электромотора, который закреплен неподвижно на силовых элементах подвески автомобильного колеса (на поворотном кулаке его). А ротор мотор-колеса с помощью переходного диска установлен на колесной ступице, на которой крепится стандартное колесо автомобиля с колесным диском и шиной.
Указанное мотор-колесо имеет следующие недостатки. Для крепления ротора требуется дополнительная массивная деталь – переходной диск. Кроме того, наружный диаметр ротора (а, следовательно, и электромотора) ограничен внутренним диаметром обода диска автомобильного колеса.
Техническим решением предлагаемого изобретения является снижение массы мотор-колеса и упрощение его конструкции.
Техническое решение достигается тем, что внутренняя поверхность обода колеса образует ротор мотор-колеса и она имеет цилиндрическую форму, причем ширина ротора и ширина статора составляют больше 0,7 ширины колеса, а поверхность колеса и торцевая поверхность электромотора расположены в одной плоскости, причем суппорт тормозной гидросистемы автомобиля установлен внутри цилиндрического объема статора, а металлический обод колесного диска включен в магнитопровод ротора мотор-колеса и образует с ним единый объем, а объемы магнитопроводов ротора и обода колеса имеют соотношение в пределах 0,4-0,6.
Изобретение поясняется чертежами, где:
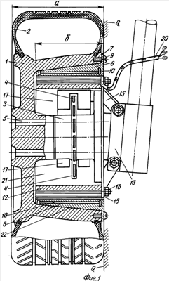
На фиг.1. Показано устройство мотор-колеса со вставным элементом ротора асинхронного электромотора с «беличьим колесом» внутри него.
На фиг.2. Показано мотор-колесо со вставным элементом ротора с постоянными магнитами (синхронный электромотор).
На фиг.3. Изображен монолитный ротор-колесный диск автомобильного колеса с постоянными магнитами.
На фиг.4. Дан разрез мотор-колеса с монолитным ротором с залитым внутри колесного диска «беличьим колесом».
На фиг.5. Дано пространственное изображение устройства мотор-колеса со вставным элементом ротора с постоянными магнитами.
На фиг.6. Показан вставной элемент ротора с постоянными магнитами.
На фиг.7. Изображено «беличье колесо» – внутренний элемент ротора асинхронного электромотора.
Мотор-колесо выполнено следующим образом.
Диск 1 стандартного автомобильного колеса с шиной 2 закреплен на колесной ступице 3 с тормозным диском 4 стандартными болтами (не показаны), установленными в отверстия 5.
В диске 1 расположен ротор мотор-колеса. Активный элемент ротора 6 выполнен вставным в виде кольцевой вставки с цилиндрической внутренней поверхностью с отбортовной 7 с отверстиями 8 на ней. Активный элемент ротора закреплен на колесном диске с помощью винтов 9. Внутренняя поверхность обода диска может быть выполнена цилиндрической и внутри него устанавливаются элементы ротора (магниты или «беличье колесо». Тогда колесный диск становится ротором, фиг.3 и 4.
Ширина ротора и ширина статора мотор-колеса (расстояние «б», фиг.1) составляют больше 70% от ширины «а» автомобильного колеса. Причем поверхность колеса со стороны ступицы 3 и поверхность электромотора расположены в одной плоскости (плоскость Q, фиг.1). Обод колесного диска 1 образует совместно с ротором 6 единый магнитопровод с соотношением 0,4-0,6 между их объектами.
В зависимости от заданных тяговых характеристик мотор-колеса электромотор его выполнен как асинхронный или синхронный электродвигатель. У асинхронного мотор-колеса внутри активного элемента ротора (фиг.1) или диска 1 колеса (фиг.4), выполненного из легкосплавного (Al; Mg) материала, залито «беличье колесо» 10. «Беличье колесо» выполнено из двух стальных колец, соединенных между собой стальными шпильками (фиг.7). Таким образом, конструкция ротора является типичной для стандартного асинхронного электродвигателя.
При синхронной схеме мотор-колеса на роторе на внутренней цилиндрической поверхности его установлены постоянные магниты 11 с высокими магнитными свойствами (из редкоземельных материалов Sa-Co или Ni-Fe-B).
Таким образом, ротором предлагаемого мотор-колеса является колесный диск 1 стандартного автомобильного колеса.
Статор 12 мотор-колеса жестко закреплен на силовых элементах подвески автомобильного колеса. На поворотном кулаке 13 передних колес или на рычаге подвески заднего колеса (не показано) для крепления статора на нем установлены шпильки 14, которыми статор установлен на кронштейнах 15 и закреплен гайками 16. На двух передних кронштейнах 15 закреплен суппорт 17 дискового тормоза на его шпильках 18.
Статор 12 имеет стандартную для фазного статора конструкцию. Он набран из листовой электротехнической стали. В пазы 19 статора 12 уложена его электрообмотка, которая имеет электрожгут 20 для подключения мотор-колеса к бортовой сети автомобиля (к системе управления мотор-колесом).
Предлагаемое мотор-колесо можно установить на любой автомобиль без изменения его конструкции. Статор устанавливают на кронштейнах суппорта дискового тормоза, который располагается во внутреннем цилиндрическом объеме 21 статора. А ротором мотор-колеса является колесный диск стандартного автомобильного колеса. Щель 22 между колесом и кольцевой вставкой 6 заполнена полимерным клеем. Наличие щели снижает вредное воздействие вихревых токов (токов Фуко) на работу электромотора.
Мотор-колесо работает следующим образом. Для начала движения на обмотку статора подают от бортовых аккумуляторов напряжение (например, 48V трехфазного переменного тока) через преобразователь (не показаны). Вращающееся трехфазное электромагнитное поле, магнитно-силовые линии которого пронизывают ротор, обеспечивает создание крутящего момента на роторе, т.е. на диске автомобильного колеса, и автомобиль начинает движение. Скорость движения автомобиля регулируется педалью блока управления автомобилем.
После достижения скорости движения 15-20 км/ч запускается двигатель внутреннего сгорания (ДВС) серийного автомобиля и движение происходит с использованием гибридной силовой установки (четыре мотор-колеса плюс ДВС). Так как конструкция автомобиля остается без изменения, то управление им полностью соответствует управлению серийным автомобилем.
Предлагаемое мотор-колесо при торможении автомобиля обеспечивает рекуперацию механической энергии в электрическую, так как в этом случае мотор-колесо работает в режиме генератора. А трехфазный ток от мотор-колеса через выпрямитель преобразуется в постоянный ток и поступает на зарядку блока бортовых аккумуляторов.
При снижении скорости ниже 20 км/ч ДВС автомобиля выключается, а торможение автомобилем осуществляется электротормозом (мотор-колесом) и стандартной тормозной гидросистемой автомобиля, которая осталась без изменений.
У предлагаемого мотор-колеса меньше масса (а особенно его неподрессоренная масса) и конструкция его проще благодаря совмещению ротора с диском колеса.
Предлагаемое устройство имеет большой диаметр электромотора по сравнению с известными техническими решениями, что обеспечивает увеличение крутящего и тормозного момента, развиваемых мотор-колесом.
Предлагаемое мотор-колес можно выпускать в качестве дополнительного оборудования и устанавливать на любой серийный автомобиль совместно с блоком аккумуляторов и блоком автоматического управления.
Формула изобретения
Мотор-колесо, состоящее из статора электромотора, закрепленного неподвижно на силовых элементах подвески автомобильного колеса, и ротора электромотора, отличающееся тем, что ротор электромотора расположен на диске автомобильного колеса, при этом активный элемент ротора, внутри которого залито «беличье колесо», состоящее из двух стальных колец, соединенных между собой стальными шпильками, выполнен из легкосплавного материала в виде кольцевой вставки с отбортовкой с отверстиями на ней и закреплен на колесном диске с помощью винтов, кроме того, щель между кольцевой вставкой и диском колеса заполнена полимерным клеем.
РИСУНКИ
MM4A – Досрочное прекращение действия патента СССР или патента Российской Федерации на изобретение из-за неуплаты в установленный срок пошлины за поддержание патента в силе
Дата прекращения действия патента: 16.03.2008
Извещение опубликовано: 27.07.2009 БИ: 21/2009
|