|
|
(21), (22) Заявка: 2007110860/02, 23.03.2007
(24) Дата начала отсчета срока действия патента:
23.03.2007
(46) Опубликовано: 27.09.2008
(56) Список документов, цитированных в отчете о поиске:
ЦЕЛИКОВ А.И. и др. Прокатные станы. – М.: Металлургиздат, 1958, с.204-207. SU 453206 15.12.1974. RU 2182855 C2 14.03.2000. RU 2056957 C1 27.03.1996. RU 2198044 C1 10.02.2003. RU 2180873 C2 27.03.2002. US 7191629 B1 20.03.2007.
Адрес для переписки:
454080, г.Челябинск, пр. им. Ленина, 76, ЮУрГУ, технический отдел
|
(72) Автор(ы):
Коваль Григорий Иванович (RU), Дремин Владимир Григорьевич (RU)
(73) Патентообладатель(и):
Государственное образовательное учреждение высшего профессионального образования “ЮЖНО-УРАЛЬСКИЙ ГОСУДАРСТВЕННЫЙ УНИВЕРСИТЕТ” (RU)
|
(54) ПРОКАТНЫЙ СТАН
(57) Реферат:
Изобретение относится к прокатному стану для продольной прокатки в многовалковых калибрах. Стан содержит прокатную клеть с двумя парами валков, образующими четырехвалковый калибр, оси смежных валков расположены во взаимно-перпендикулярных плоскостях, универсальные шпиндели, расположенные под углом 22,5 град к оси приводных валков, шестеренные клети, оси шестерен которых установлены под углом 45 град к осям валков. Шестеренные клети соединены с электродвигателем промежуточными валами. Обеспечивается повышение технологических возможностей за счет использования многовалковых калибров с простой и надежной конструкцией прокатных клетей и привода валков. 1 ил.
Изобретение относится к прокатному производству, а именно к прокатным станам, имеющим клети с многовалковым калибром.
Известны прокатные станы, в которых привод вращения трех или четырех валков прокатной клети осуществляется от одного электродвигателя с жесткой кинематической связью между валками через конические и цилиндрические зубчатые передачи. [В.А.Вердеревский, А.Г.Глейберг, А.С.Никитин. Трубопрокатные станы. М.: Металлургия, 1983, с.138; А.с. СССР № 453207, МКИ, В21В 13/10, привод прокатной клети с многовалковым калибром, 1972].
Недостатком таких станов является применение в приводе валков комплекса многозвенных конических передач, существенно усложняющих конструкцию прокатной клети, ее привода и ограничивающих передаваемые крутящие моменты к валкам.
Наиболее близким к предлагаемому решению по технической сущности и достигаемому эффекту является универсальный прокатный стан [см. Целиков А.И., Смирнов В.В. Прокатные станы. – Гос.научно-техн. изд. по черной и цветной металлургии. М.: 1958, с.204…207] с приводом пар валков через универсальные шпиндели и шестеренные клети с цилиндрическими зубчатыми передачами. Применение данного привода валков существенно упрощает конструкцию прокатных станов. Однако такое техническое решение можно использовать только при смещении осей пар валков друг относительно друга вдоль оси прокатки.
Задачей предлагаемого изобретения является устранение этого недостатка, а именно осуществление привода клетей с четырехвалковым калибром, имеющих широкие технологические возможности по марочному и размерному сортаменту, от простого и надежного привода.
Поставленная задача достигается тем, что в прокатном стане, включающем прокатную клеть с двумя парами валков, оси смежных валков расположены во взаимно-перпендикулярных плоскостях, привод, состоящий из двух шестеренных клетей с параллельно расположенными осями шестерен и универсальных шпинделей, соединяющих валки и шестеренные клети, согласно изобретению каждая шестеренная клеть соединена с парой смежных валков, оси шестерен шестеренных клетей установлены под углом 45 град. к осям валков, при этом шестеренные клети соединены между собой жесткой кинематической связью.
Применение такой схемы соединения обеспечивает синхронизацию привода валков клетей с четырехвалковым калибром при применении широко используемых в приводе валков универсальных шпинделей с допустимыми углами их наклона и шестеренных клетей с цилиндрическими зубчатыми передачами.
Использование прокатных клетей с четырехвалковым калибром, как известно, значительно расширяет технологические возможности процесса прокатки при деформации специальных металлов и сплавов, расширяет сортамент получаемого проката.
Таким образом, предлагаемое изобретение позволяет получить конструкцию прокатного стана, сочетающую широкие технологические возможности станов, содержащих клети с четырехвалковым калибром, с простым и надежным в работе приводом.
Предлагаемое изобретение проиллюстрировано чертежом.
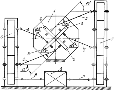
Стан содержит прокатную клеть 1 с двумя парами валков 2, 3, образующими четырехвалковый калибр, универсальные шпиндели 4, 5, расположенные под углом 22,5 град. к осям приводных валков, шестеренные клети 6, 7, оси шестерен которых установлены под углом 45 град. к осям валков. Причем с шестеренной клетью 6 соединены через шпиндели 4 оси смежных валков 2, 3, а с шестеренной клетью 7 соединены через шпиндели 5 оси других смежных валков 2, 3. Шестеренные клети связаны с электродвигателем 8 промежуточными валами 9.
Работа прокатного стана осуществляется следующим образом.
Крутящий момент от электродвигателя 8 через промежуточные валы 9 передается к шестерням шестеренных клетей 6, 7. Далее крутящий момент через универсальные шпиндели 5 и 4 передается к осям одной и другой пары смежных валков 2, 3. Благодаря такой схеме привода валков обеспечивается жесткая кинематическая связь между парами валков, образующих четырехвалковый калибр. При этом в приводе валков используются широко применяемые в прокатных станах механизмы (универсальные шпиндели и шестеренные клети с цилиндрическими зубчатыми передачами).
Предлагаемое изобретение использовано при разработке технического проекта опытного прокатного стана, который после изготовления и опробования должен стать базовой конструкцией при использовании прокатных клетей с четырехвалковыми калибрами для реализации процесса продольной и шаговой прокатки.
Формула изобретения
Прокатный стан, содержащий прокатную клеть с двумя парами валков, оси смежных валков расположены во взаимно перпендикулярных плоскостях, привод, состоящий из двух шестеренных клетей с параллельно расположенными осями шестерен и универсальных шпинделей, соединяющих валки и шестеренные клети, отличающийся тем, что каждая шестеренная клеть соединена с парой смежных валков, оси шестерен шестеренных клетей установлены под углом 45°, к осям валков, при этом шестеренные клети соединены между собой жесткой кинематической связью.
РИСУНКИ
|
|