|
| На основании пункта 1 статьи 1366 части четвертой Гражданского кодекса Российской Федерации патентообладатель обязуется заключить договор об отчуждении патента на условиях, соответствующих установившейся практике, с любым гражданином Российской Федерации или российским юридическим лицом, кто первым изъявил такое желание и уведомил об этом патентообладателя и федеральный орган исполнительной власти по интеллектуальной собственности. |
|
(21), (22) Заявка: 2007100019/15, 09.01.2007
(24) Дата начала отсчета срока действия патента:
09.01.2007
(46) Опубликовано: 27.09.2008
(56) Список документов, цитированных в отчете о поиске:
РУСАНОВ А.А. Справочник по пыле- и золоулавливанию. – М.: Энергоатомиздат, 1983, с.98-104. SU 307255 A1, 01.01.1971. SU 922428 A1, 23.04.1982. SU 731190 A1, 30.04.1980. AU 5414086, 03.09.1987. РАСПЫЛИВАЮЩИЕ УСТРОЙСТВА В ХИМИЧЕСКОЙ ПРОМЫШЛЕННОСТИ. /Под ред. Д.Г.Пажи. – М.: Химия, 1975, с.7-9, 129-131.
Адрес для переписки:
123458, Москва, ул. Твардовского, 11, кв.92, О.С. Кочетову
|
(72) Автор(ы):
Кочетов Олег Савельевич (RU), Кочетова Мария Олеговна (RU), Кочетов Сергей Савельевич (RU), Кочетов Сергей Сергеевич (RU), Костылева Анастасия Витальевна (RU), Боброва Екатерина Олеговна (RU)
(73) Патентообладатель(и):
Кочетов Олег Савельевич (RU)
|
(54) АКУСТИЧЕСКИЙ ГАЗОПРОМЫВАТЕЛЬ
(57) Реферат:
Изобретение может быть использовано в химической, текстильной, пищевой, легкой и других отраслях промышленности для очистки запыленных газов. Распыливающий агент подают по штуцеру 12 в коллектор 11, связанный через отверстия 13 с полостью 14, которая выполнена в виде усеченного конуса. Из полости 14 воздух направляется в кольцевой зазор 17 между стержнем 16 и полым корпусом акустической форсунки 10, где встречает на своем пути резонатор 18, выполненный в виде сферической полости, соединенной с зазором 17 посредством калиброванного отверстия 19. Акустические колебания распыливающего агента способствуют более тонкому распыливанию раствора, подаваемого в распределительную головку 26 через полый стержень 16, из которой раствор подается в виде пленки жидкости, перекрывающей выход распыливающего агента из генератора звуковых колебаний, образованного резонатором 18. Эта пленка дробится под воздействием акустических колебаний воздуха на мелкие капли, в результате чего образуется факел распыленного раствора с воздухом, корневой угол которого определяется величиной угла наклона конической поверхности крышки 22 распределительной головки 26. Изобретение позволяет повысить эффективность и надежность процесса пылеулавливания путем увеличения степени распыла жидкости форсунками. 2 ил.
Изобретение относится к технике мокрого пылеулавливания и может применяться в химической, текстильной, пищевой, легкой и других отраслях промышленности для очистки запыленных газов.
Наиболее близким техническим решением к заявляемому объекту является газопромыватель, известный из книги А.А.Русанова. Справочник по пыле- и золоулавливанию. М., – Энергоатомиздат, – 1983 г., с.103, рис.4.21 (прототип), содержащий корпус, состоящий из верхней и нижней секций, патрубок для ввода запыленного газа, патрубок для выхода очищенного газа, брызгоуловитель с центробежным завихрителем и патрубком для отвода жидкости из брызгоуловителя, оросительное устройство, тарелки со стабилизатором, форсунку для периодического орошения завихрителя и шламосборник.
Недостатком прототипа является сравнительно невысокая эффективность процесса пылеулавливания за счет недостаточно развитой поверхности распыления жидкости.
Технический результат – повышение эффективности и надежности процесса пылеулавливания путем увеличения степени распыла жидкости форсунками.
Это достигается тем, что в газопромывателе, содержащем полый корпус акустической форсунки, состоящий из верхней и нижней секций, патрубок для ввода запыленного газа, патрубок для выхода очищенного газа, брызгоуловитель с центробежным завихрителем и патрубком для отвода жидкости из брызгоуловителя, оросительное устройство, тарелки с вибратором и со стабилизатором, форсунку для периодического орошения и шламосборник, причем ячейки стабилизатора выполнены квадратными, а отношение высоты стабилизатора hc к ширине ячейки bс находится в оптимальном интервале величин: hc/bc=1,5…1,8, а тарелки выполнены дырчатыми с отношением толщины тарелки hт к диаметру отверстий do, находящимся в оптимальном интервале величин: hт/dо=0,5…1,5, или щелевыми с отношением толщины тарелки hт к ширине щелей bo, находящимся в оптимальном интервале величин: hт/bо=0,8…1,5, при этом отношение высоты корпуса Н к диаметру D находится в оптимальном интервале величин: H/D=4,0…6,5, а отношение диаметра корпуса D к диаметру брызгоуловителя D1 находится в оптимальном интервале величин: D/D1=1,2…1,25, a отношение диаметра корпуса D к диаметрам входного и выходного патрубков D2 находится в оптимальном интервале величин: D/D2=2,0…2,5, оросительное устройство выполнено в виде акустической форсунки для распыливания жидкостей, содержащей резонатор, выполненный в виде, по крайней мере, одной сферической полости, расположенной в торцевой стенке полого корпуса акустической форсунки, обращенной к распределительной головке, причем сферическая полость соединена калиброванным отверстием с зазором между вертикальным отверстием в торцевой стенке полого корпуса акустической форсунки и стержнем распределительной головки, причем в сечении, перпендикулярном оси стержня, зазор имеет кольцевое сечение, а распределительная головка выполнена в виде корпуса с крышкой в виде усеченных конусов, соединенных большими основаниями, причем в корпусе расположен коллектор в виде цилиндрической полости, соединенный кольцевым каналом, образованным внешней цилиндрической поверхностью полого стержня и соосными с ним отверстиями одинакового диаметра, выполненными соответственно в крышке и корпусе распределительной головки, с, по крайней мере, тремя равномерно размещенными по окружности и перпендикулярными оси стержня каналами для выхода раствора, причем срез отверстий расположен на конической поверхности крышки распределительной головки, угол наклона которой определяет корневой угол факела распыленного раствора.
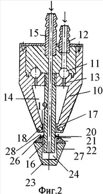
На фиг.1 изображен общий вид газопромывателя, на фиг.2 – схема акустической форсунки.
Газопромыватель содержит корпус, состоящий из верхней 4, средней 5 и нижней 7 секций, патрубок для ввода запыленного газа, патрубок для выхода очищенного газа, брызгоуловитель 1 с центробежным завихрителем 2 и патрубком 3 для отвода жидкости из брызгоуловителя, оросительное устройство 9 с акустической форсункой, по меньшей мере, одну тарелку 8 со стабилизатором 6, форсунку для периодического орошения тарелок 8 и шламосборник, причем на тарелках 8 дополнительно установлен вибратор (не показано). Ячейки стабилизатора 6 могут быть выполнены квадратными, а отношение высоты стабилизатора hc к ширине ячейки bc находится в оптимальном интервале величин: hc/bc=1,5…1,8. Тарелки 8 могут быть выполнены дырчатыми с отношением толщины тарелки hт к диаметру отверстий do, находящимся в оптимальном интервале величин: hт/dо=0,5…1,5. Тарелки 8 могут быть выполнены щелевыми с отношением толщины тарелки hт к ширине щелей bo, находящимся в оптимальном интервале величин: hт/bо=0,8…1,5. Отношение высоты корпуса Н к диаметру D находится в оптимальном интервале величин: H/D=4,0…6,5. Отношение диаметра корпуса D к диаметру брызгоуловителя D1 находится в оптимальном интервале величин: D/D1=1,2…1,25. Отношение диаметра корпуса D к диаметрам входного и выходного патрубков D2 находится в оптимальном интервале величин: D/D2=2,0…2,5.
В качестве распылителя используется акустическая форсунка (фиг.2), содержащая полый корпус акустической форсунки 10 со стенками, образованными конической и торцевыми поверхностями, с размещенным в нем резонатором 18 и полостью 14 для распыливающего агента, поступающего через штуцер 12 в коллектор 11, связанный через отверстия 13 с полостью 14, которая выполнена в виде усеченного конуса с большим и меньшим основанием.
На полом цилиндрическом стержне 16, жестко связанном с полым корпусом акустической форсунки 10, установлена распределительная головка 26 для подачи исходного раствора через штуцер 15, при этом между стержнем 16 и полым корпусом акустической форсунки 10 со стороны меньшего основания усеченного конуса, образующего полость 14, имеется кольцевой зазор 17. Резонатор 18 выполнен в виде, по крайней мере, одной сферической полости, расположенной в торцевой стенке полого корпуса акустической форсунки 10, обращенной к распределительной головке 26, причем сферическая полость соединена калиброванным отверстием 19 с зазором 17 между вертикальным отверстием в торцевой стенке полого корпуса акустической форсунки 10 и стержнем 16 распределительной головки 26. В сечении, перпендикулярном оси стержня 16, зазор 17 имеет кольцевое сечение, а распределительная головка 26 выполнена в виде корпуса 23 с крышкой 22 в виде усеченных конусов, соединенных большими основаниями. В корпусе распределительной головки 26 расположен коллектор 24 в виде цилиндрической полости, соединенный кольцевым каналом 27, образованным внешней цилиндрической поверхностью полого стержня 16 и соосными с ним отверстиями одинакового диаметра, выполненными соответственно в крышке 22 и корпусе 23 распределительной головки 26, с, по крайней мере, тремя равномерно размещенными по окружности и перпендикулярными оси стержня 16 каналами 21 для выхода раствора. Срез отверстий каналов 21 расположен на конической поверхности крышки 22 распределительной головки 26, угол наклона которой определяет корневой угол факела распыленного раствора.
Запыленный газовый поток поступает в корпус через ввод запыленного газового потока и встречает на своем пути тарелку 8, затем газы проходят через слой жидкости в виде пузырьков (пены), на поверхности которых и происходит осаждение частиц пыли. Аппарат работает в режиме мокрого пылеуловителя с провальной тарелкой, что уменьшает вероятность забивания отверстий тарелки 8 пылью, поскольку подвод газов в зону контакта с жидкостью и отвод из этой зоны осуществляется через одни и те же дырчатые или щелевые отверстия тарелок 8. Образование газожидкостной взвеси (пены) дополнительно усиливается созданием виброкипящего слоя в верхних слоях жидкости, расположенной на тарелках 8, за счет применения вибратора, что приводит к более интенсивному взаимодействию потоков газа и жидкости.
Акустическая форсунка для распыливания жидкостей работает следующим образом. Распыливающий агент, например воздух, подается по штуцеру 12 в коллектор 11, связанный через отверстия 13 с полостью 14, которая выполнена в виде усеченного конуса. Из полости 14 воздух направляется в кольцевой зазор 17 между стержнем 16 и полым корпусом акустической форсунки 10, где встречает на своем пути резонатор 18, выполненный в виде сферической полости, соединенной с зазором 17 посредством калиброванного отверстия 19. В результате прохождения резонатора 18 распыливающим агентом (например, воздухом) в последнем возникают пульсации давления, создающие акустические колебания, частота которых зависит от параметров резонатора. Акустические колебания распыливающего агента способствуют более тонкому распыливанию раствора, подаваемого в распределительную головку 26 через полый стержень 16, из которой раствор подается в виде пленки жидкости, перекрывающей выход распыливающего агента из генератора звуковых колебаний, образованного резонатором 18. Эта пленка дробится под воздействием акустических колебаний воздуха на мелкие капли, в результате чего образуется факел распыленного раствора с воздухом, корневой угол которого определяется величиной угла наклона конической поверхности крышки 22 распределительной головки 26.
Предлагаемый аппарат может быть применен для очистки от тонкой фракции пыли и увлажнения воздуха в вентиляционных установках и установках кондиционирования воздуха, а также при улавливании туманов, хорошо растворимой пыли, а также при совместном протекании процессов пылеулавливания, охлаждения газов и их абсорбции. Эффективность предлагаемой конструкции аппарата увеличивается за счет большей поверхности газожидкостной взвеси, путем применения вибропсевдоожиженного слоя в жидкости и составляет в вышеуказанных процессах и при улавливании пылевых частиц размером больше 5 мкм порядка 92%…95%.
Формула изобретения
Акустический газопромыватель, содержащий корпус, состоящий из верхней и нижней секций, патрубок для ввода запыленного газа, патрубок для выхода очищенного газа, брызгоуловитель с центробежным завихрителем и патрубком для отвода жидкости из брызгоуловителя, оросительное устройство, тарелки с вибратором и со стабилизатором, форсунку для периодического орошения и шламосборник, причем ячейки стабилизатора выполнены квадратными, а отношение высоты стабилизатора hc к ширине ячейки bc находится в оптимальном интервале величин: hc/bc=1,5…1,8, а тарелки выполнены дырчатыми с отношением толщины тарелки hт к диаметру отверстий do, находящимся в оптимальном интервале величин: hт/dо=0,5…1,5, или щелевыми с отношением толщины тарелки hт к ширине щелей bo, находящимся в оптимальном интервале величин: hт/bo=0,8…1,5, при этом отношение высоты корпуса Н к диаметру D, находится в оптимальном интервале величин: H/D=4,0…6,5, a отношение диаметра корпуса D к диаметру брызгоуловителя D1, находится в оптимальном интервале величин: D/D1=1,2…1,25, а отношение диаметра корпуса D к диаметрам входного и выходного патрубков D2, находится в оптимальном интервале величин: D/D2=2,0…2,5, отличающийся тем, что оросительное устройство выполнено в виде акустической форсунки для распыливания жидкостей, содержащей резонатор, выполненный в виде, по крайней мере, одной сферической полости, расположенной в торцевой стенке полого корпуса акустической форсунки, обращенной к распределительной головке, причем сферическая полость соединена калиброванным отверстием с зазором между вертикальным отверстием в торцевой стенке полого корпуса акустической форсунки и стержнем распределительной головки, причем в сечении, перпендикулярном оси стержня, зазор имеет кольцевое сечение, а распределительная головка выполнена в виде корпуса с крышкой в виде усеченных конусов, соединенных большими основаниями, причем в корпусе расположен коллектор в виде цилиндрической полости, соединенный кольцевым каналом, образованным внешней цилиндрической поверхностью полого стержня и соосными с ним отверстиями одинакового диаметра, выполненными соответственно в крышке и корпусе распределительной головки, с, по крайней мере, тремя равномерно размещенными по окружности и перпендикулярными оси стержня каналами для выхода раствора, причем срез отверстий расположен на конической поверхности крышки распределительной головки, угол наклона которой определяет корневой угол факела распыленного раствора.
РИСУНКИ
|
|