|
| На основании пункта 1 статьи 1366 части четвертой Гражданского кодекса Российской Федерации патентообладатель обязуется заключить договор об отчуждении патента на условиях, соответствующих установившейся практике, с любым гражданином Российской Федерации или российским юридическим лицом, кто первым изъявил такое желание и уведомил об этом патентообладателя и федеральный орган исполнительной власти по интеллектуальной собственности. |
|
(21), (22) Заявка: 2007124779/15, 03.07.2007
(24) Дата начала отсчета срока действия патента:
03.07.2007
(46) Опубликовано: 27.09.2008
(56) Список документов, цитированных в отчете о поиске:
RU 2256510 C1, 20.07.2005. SU 633562 A1, 25.11.1978. SU 1023540 A, 15.06.1983. SU 1755893 A1, 23.08.1992. JP 2003305325 A, 28.10.2003.
Адрес для переписки:
123458, Москва, ул. Твардовского, 11, кв.92, О.С. Кочетову
|
(72) Автор(ы):
Кочетов Олег Савельевич (RU), Голубева Мария Владимировна (RU), Колаева Лидия Владимировна (RU), Боброва Екатерина Олеговна (RU), Духанина Елена Владимировна (RU), Горнушкина Надежда Игоревна (RU), Павлова Дарья Олеговна (RU)
(73) Патентообладатель(и):
Кочетов Олег Савельевич (RU), Голубева Мария Владимировна (RU)
|
(54) ФИЛЬТРУЮЩИЙ РЕГЕНЕРИРУЕМЫЙ ЭЛЕМЕНТ
(57) Реферат:
Изобретение относится к технике пылеулавливания и может применяться в химической, текстильной, пищевой, легкой и других отраслях промышленности для очистки запыленных газов и воздуха от сухих неслипающихся мелкодисперсных пылей и стружки. Фильтрующий регенерируемый элемент содержит каркас и фильтровальный бумажный гофрированный элемент класса очистки F9, причем каркас выполнен в виде, по крайней мере трех стержней, расположенных с внешней стороны фильтровального гофрированного элемента, во впадинах его гофр, и закрепленных одним концом в корпусе аппарата, а другим – в крышке фильтровального гофрированного элемента. На внешней торцевой поверхности крышки фильтровального гофрированного элемента установлен механизм регенерации, выполненный в виде жестко закрепленных на соосном с фильтром валу по крайней мере двух пластин, причем вал приводится во вращение от привода, закрепленного в верхней части крышки и состоящего из электродвигателя и редуктора, а пластины входят во впадины гофра не более, чем на 25% высоты гофра. Изобретение позволяет повысить эффективность и надежность процесса пылеулавливания, а также снизить металлоемкость и виброакустическую активность аппарата в целом. 2 з.п. ф-лы, 3 ил.
Изобретение относится к технике пылеулавливания и может применяться в химической, текстильной, пищевой, легкой и других отраслях промышленности для очистки запыленных газов и предназначены для отсоса и очистки воздуха от сухих неслипающихся мелкодисперсных пылей и стружки.
Наиболее близким техническим решением к заявляемому объекту является фильтрующий регенерируемый элемент по а.с. СССР №633562, кл. В01D 46/24 от 25.11.1978 г., содержащий фильтровальный гофрированный элемент (прототип).
Недостатком прототипа является сравнительно невысокая эффективность процесса пылеулавливания за счет малой площади фильтрующего элемента.
Технический результат – повышение эффективности и надежности процесса пылеулавливания, а также снижение металлоемкости и виброакустической активности.
Это достигается тем, что в фильтрующем регенерируемом элементе, содержащем фильтровальный гофрированный элемент, выполнен каркас и имеется фильтровальный бумажный гофрированный элемент класса очистки F9, причем каркас выполнен в виде по крайней мере трех стержней, расположенных с внешней стороны фильтровального гофрированного элемента, во впадинах его гофр, и закрепленных одним концом в корпусе аппарата, а другим – в крышке фильтровального гофрированного элемента, на внешней торцевой поверхности которой установлен механизм регенерации, выполненный в виде жестко закрепленных на соосном с фильтром валу по крайней мере двух пластин, причем вал приводится во вращение от привода, закрепленного в верхней части крышки и состоящего из электродвигателя и редуктора, причем пластины входят во впадины гофра не более, чем на 25% высоты гофра.
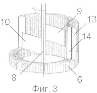
На фиг.1 изображен общий вид фильтрующего регенерируемого элемента, на фиг.2 – привод системы регенерации фильтра, на фиг.3 – разрез системы регенерации фильтра.
Фильтрующий регенерируемый элемент содержит каркас 2 и фильтровальный бумажный гофрированный элемент 6 класса очистки F9. Каркас выполнен в виде, по крайней мере трех стержней (в разрезе изображены только два стержня), расположенных с внешней стороны фильтровального гофрированного элемента 6, во впадинах его гофр, и закрепленных одним концом в корпусе 1 аппарата, а другим – в крышке 3 фильтровального гофрированного элемента 6, на внешней торцевой поверхности которой установлен механизм регенерации, выполненный в виде жестко закрепленных на соосном с фильтром валу 8 по крайней мере двух пластин 9 и 10, причем вал приводится во вращение от привода, закрепленного в верхней части крышки 3 и состоящего из электродвигателя 4 и редуктора 5, причем пластины 9 и 10 входят во впадины гофра не более, чем на 25% высоты гофра. На поверхности крышки 3, обращенной в сторону фильтровального гофрированного элемента 6, выполнена по крайней мере одна соосная с валом механизма регенерации кольцевая канавка 12 по ширине, равной высоте гофра фильтровального гофрированного элемента 6, причем сечение гофра может быть выполнено треугольной, многоугольной или синусоидальной формы. На крышке 3 может быть и две канавки, например 11 и 12, для размещения соответственно фильтровальных гофрированных элементов 13 и 14. Механизм регенерации выполнен в виде по крайней мере двух пар жестко закрепленных на его валу пластин 9 и 10 высотой b, отстоящих друг от друга на расстоянии шага t, причем отношение высоты пластин b к шагу t их расположения на валу, лежит в оптимальном диапазоне величин: b/t=0,1…0,5, а отношение высоты Н фильтровального гофрированного элемента к шагу t расположения пластин на валу, лежит в оптимальном диапазоне величин: Н/t=1,5…2,5.
Фильтрующий регенерируемый элемент работает следующим образом.
Запыленный газовый поток поступает сначала в циклонный элемент, где проходит предварительную очистку, а затем поступает в фильтровальный гофрированный элемент 6. При этом легкие, мелкодисперсные фракции частиц пыли, не уловленные в циклонном элементе, задерживаются на фильтрующем элементе 6. В аппарате происходит снижение виброакустической энергии, так как фильтрующий элемент 6 одновременно является аэродинамическим глушителем шума активного (сорбционного) типа. Для аппаратов, оснащенных фильтровальными элементами, разработана система автоматической регенерации. Процесс регенерации, в ходе которого осуществляется очистка внутренней поверхности фильтровальной кассеты, запускается автоматически после выключения аппарата.
Установка системы регенерации позволяет использовать аппараты для очистки воздуха от мелкодисперсных пылей, заменяя собой применявшиеся для этих целей малогабаритные рукавные фильтры внутреннего исполнения.
Формула изобретения
1. Фильтрующий регенерируемый элемент, содержащий фильтровальный гофрированный элемент, отличающийся тем, что он содержит каркас и фильтровальный бумажный гофрированный элемент класса очистки F9, причем каркас выполнен в виде, по крайней мере трех стержней, расположенных с внешней стороны фильтровального гофрированного элемента, во впадинах его гофр, и закрепленных одним концом в корпусе аппарата, а другим – в крышке фильтровального гофрированного элемента, на внешней торцевой поверхности которой установлен механизм регенерации, выполненный в виде жестко закрепленных на соосном с фильтром валу, по крайней мере двух пластин, причем вал приводится во вращение от привода, закрепленного в верхней части крышки и состоящего из электродвигателя и редуктора, причем пластины входят во впадины гофра не более чем на 25% высоты гофра.
2. Фильтрующий регенерируемый элемент по п.1, отличающийся тем, что на поверхности крышки, обращенной в сторону фильтровального гофрированного элемента, выполнена по крайней мере одна соосная с валом механизма регенерации кольцевая канавка по ширине, равной высоте гофра фильтровального гофрированного элемента, причем сечение гофра может быть выполнено треугольной, многоугольной или синусоидальной формы.
3. Фильтрующий регенерируемый элемент по п.1, отличающийся тем, что механизм регенерации выполнен в виде, по крайней мере, двух пар жестко закрепленных на его валу пластин высотой b, отстоящих друг от друга на расстоянии шага t, причем отношение высоты пластин b к шагу t их расположения на валу, лежит в оптимальном диапазоне величин: b/t=0,1…0,5, а отношение высоты Н фильтровального гофрированного элемента к шагу t расположения пластин на валу, лежит в оптимальном диапазоне величин: H/t=1,5…2,5.
РИСУНКИ
|
|