|
|
(21), (22) Заявка: 2006137518/14, 23.10.2006
(24) Дата начала отсчета срока действия патента:
23.10.2006
(43) Дата публикации заявки: 27.04.2008
(46) Опубликовано: 27.09.2008
(56) Список документов, цитированных в отчете о поиске:
RU 2061504 C1, 10.06.1996. SU 555899 А, 30.04.1977. SU 933099 A1, 07.06.1982. WO 95/21109 A1, 10.08.1995. FR 2824317 A, 08.11.2002.
Адрес для переписки:
194156, Санкт-Петербург, пр. Пархоменко, 27, к.2, кв.79, А.А. Бакуеву
|
(72) Автор(ы):
Сухонос Юрий Анатольевич (RU), Белов Александр Михайлович (RU)
(73) Патентообладатель(и):
Сухонос Юрий Анатольевич (RU), Белов Александр Михайлович (RU)
|
(54) МЕДИЦИНСКИЙ СОСУД ДЛЯ ВОЗДЕЙСТВИЯ НА ЖИДКОСТЬ, ВВОДИМУЮ ВНУТРЬ ПАЦИЕНТА
(57) Реферат:
Медицинский сосуд относится к области медицинской техники, может быть использован в разных областях медицины, например в хирургии, для обеспечения воздействия на жидкость, вводимую внутрь тела пациента. Сосуд содержит стенки, дно, горловину с пробкой, внутреннюю емкость для вводимой жидкости. В стенках сосуда выполнено несколько отверстий, в которых размещены и закреплены трубки для размещения средств воздействия на жидкость внутри сосуда. Во входном и выходном отверстии трубок установлены пробки. В дне сосуда выполнены каналы консольных трубок для установки сосуда на штыри. Конструкция сосуда экономична и универсальна. 1 ил.
Изобретение относится к устройствам медицинской техники и может быть использовано в разных областях медицины.
Медицинские сосуды: бутыли, флаконы, пузырьки, банки используются в медицине в массовом порядке и предназначены для размещения, хранения и вливания жидкости: лекарств, физиологического раствора, крови и т.д. Медицинские сосуды, используемые в качестве капельниц, имеют различную конструкцию, например, см. «Справочник операционной и перевязочной сестры» под ред. Б.Д.Комарова, М., Медицина, 1976 г., с.69-71, рис.49-51. Сосуд медицинского назначения, в частности банка или флакон, содержит стенки, горловину с пробкой, дно и внутреннюю емкость для размещения жидкости. В выходном отверстии сосуда (горловине) вставлена пробка с отверстиями, в которых размещены иглы или трубки для подачи воздуха и для выхода жидкости (крови, полиглюкина – физиологического раствора и т.д.)
Недостатками такого устройства являются: конструкция сосуда узкоспециализированная, отсутствует возможность одновременно с вливанием во внутрь тела больному лекарственных жидкостей, растворов или крови воздействия на них магнитного или светового излучения (лазерного облучения), а также подогрева или охлаждения этих растворов. Т.е. отсутствует более интенсивная и полная обработка жидкости, размещенной в сосуде.
Известен также популярный в медицинской практике медицинский сосуд под названием «аппарат Боброва», содержащий стеклянный прозрачный сосуд (банку) с нанесенными на его стенке делениями, дно, внутреннюю емкость для размещения жидкости, горловину сосуда с резиновой пробкой и с проходящими через эту пробку стеклянными трубками. К одной из них подсоединяют резиновую трубку со стеклом Пирогова (контрольная стеклянная трубочка с делениями) и канюлю для присоединения иглы, см. «Справочник операционной и перевязочной сестры» под ред. Б.Д.Комарова, М., Медицина, 1976 г., с.69-70, рис.50.
Недостатками такого технического решения конструкции медицинского сосуда, предназначенного для вливания внутрь пациента жидкости, являются узкая специализация – внутривенное вливание крови, там отсутствует техническая возможность использования современных средств и мер воздействия на размещенные внутри емкости сосуда растворы или крови при одновременном их вливании внутрь тела пациента, в частности таких средств воздействий, как магнитное излучение различных магнитов, лазерные излучение от лазера, возможности тепловых воздействий (переменных нагрева или охлаждения).
Наиболее близким техническим решением к предлагаемому является конструкция прибора «Устройство для детоксикации малых объемов биологических жидкостей» по п. RU №2061504 от 25.12.1992 г., А61М 1/36, содержащего емкость с сорбентом, установленную в ней со стороны ее нижней части перфузионную насадку с входным и выходным штуцерами и разделителем сред, и гайку для крепления трубки, введенную в емкость, с прорезью, выполненной в ее стенке, снабженную фланцем с резьбой на конце, размещенными снаружи емкости. На противоположном конце трубки, размещенном внутри емкости, выполнена также резьба, на которую навинчивается перфузионная насадка, закрепленная таким образом в емкости. Внутри трубки вставлен лазерный световод, свободный конец последнего совмещен с нижним краем прорези трубки. Другой конец световода выведен наружу трубки в верхней части емкости через отверстие гайки, навинченной на резьбовом конце фланца трубки. Разделителем сред устройства является ступенчатый фланец на верхней части перфузионной насадки, установленный внутри емкости с зазором, величина которого меньше величины гранул сорбента. Устройство работает следующим образом. Кровь или плазма поступает через входной штуцер насадки во внутреннее отверстие трубки, через прорезь в ней попадает на сорбент, просачивается через него и через зазор фланца насадки с емкостью попадает на боковое отверстие, выполненное в нижнем фланце насадки и соединенное с выходным штуцером. Нижний фланец насадки закрывает отверстие в нижней части емкости. По пути прохождения крови по трубке у прорези она облучается лазерным излучением посредством световода.
Недостатками такой конструкции устройства являются: отсутствие технических средств для полной обработки жидкости (крови или плазмы), невозможность использования электромагнитного, магнитного и теплового излучений, невозможность использования физиологического раствора, сложность и нетехнологичность конструкции, величина зазора фланца насадки будет нарушаться под воздействием поступающей крови из-за давления ее снизу-вверх во внутреннем отверстии насадки, край световода будет постоянно в крови, т.к совмещен с нижним краем прорези в стенке трубки, что снижает эффективность пропускания и воздействия лазерного излучения и будет мешать прохождению крови по трубке. Устройство нельзя использовать в качестве капельницы. Трубка в устройстве изготовлена из металла, с течением времени может окислиться кровью или плазмой, поэтому кровь может быть нестерильной и использование ее для детей травматично и опасно для их жизни. Сорбент, размещенный в емкости, необходимо часто менять, т.к. плотно скрепляется кровью и сложно стерилизовать такое устройство. Конструкция устройства очень «сырая» и неэффективная.
Техническим результатом предлагаемого решения является повышение эффективности использования жидкости, размещенной внутри емкости сосуда, при введении ее во внутрь тела пациента, т.к. осуществляется более полная ее обработка различными средствами воздействия, позволяющими повысить качественные показатели вводимой жидкости, повышение универсальности использования предложенного медицинского сосуда при его эксплуатации при достаточной экономичности и технологичности его изготовления.
Этот результат достигается тем, что в медицинском сосуде для воздействия на жидкость, вводимую внутрь тела пациента, включающем стенки, горловину с пробкой, дно, внутреннюю емкость для размещения вводимой внутрь тела пациента жидкости и трубки, в его стенках выполнены несколько отверстий, в которых размещены и закреплены трубки для размещения средств воздействия на жидкость внутри сосуда, во входном и выходном отверстиях трубки установлены пробки, а в дне сосуда выполнены каналы консольных трубок для установки сосуда на штыри.
Сущность решения выражается в совокупности существенных признаков, достаточной для достижения обеспечиваемого решением технического результата.
Существенными признаками устройства, совпадающими с признаками прототипа, являются: наличие в сосуде стенок, горловины с пробкой, дна, внутренней емкости для размещения вводимой во внутрь тела пациента жидкости и трубки.
Существенными отличительными признаками медицинского сосуда являются: А – в стенках сосуда выполнены несколько отверстий, в которых размещены и закреплены трубки для размещения средств воздействия на жидкость внутри сосуда, во входном и выходном отверстиях трубок установлены пробки; Б – в дне сосуда выполнены каналы консольных трубок для установки сосуда на штыри.
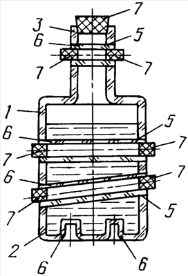
Медицинский сосуд для воздействия на жидкость, вводимую во внутрь тела пациента (фиг.1), содержит стенку 1 (или стенки в зависимости от его формы – цилиндрической, шарообразной – сферической или прямоугольной), дно 2, горловину 3, через которую выливается содержимое емкости 4 сосуда. В стенках 1 сосуда выполнено одно или несколько отверстий 5, в которых закреплены сквозные одна или несколько трубок 6. Во входном и выходном отверстиях трубок 6 и горловине 3 установлены пробки 7. Внутри емкости 4 сосуда размещается какая-то жидкость. Это может быть физиологический раствор, то или иное лекарство, или донорская кровь, вводимые во внутрь тела больного через пробку 7, расположенную в горловине 3, посредством игл, проходящих через отверстия пробки 7 горловины 3. Медицинский сосуд предложенной конструкции чаще всего используется в качестве капельницы.
В сквозных каналах трубок можно размещать лед, пропускать горячую или холодную жидкость для подогрева или охлаждения жидкости, размещенной в сосуде, т.е. осуществлять возможность воздействия на жидкость тепловым излучением. В этих каналах трубок 6 можно разместить постоянный магнит, одновременно можно пропускать луч от лазера, активируя жидкость, размещенную в емкости 4 сосуда, в частности кровь, капли которой медленно выливаются через иглу из горловины сосуда. Можно использовать каналы трубок 6 в различных других целях: для переноски, для установки. При хранении на складе или в нерабочем состоянии сосуда отверстия в трубках, закрепленных в стенках или в горловине сосуда, закрывают пробками. В дне 2 сосуда выполнены консольные трубки 6, в каналах которых можно также размещать магниты, лазерные световоды, воздействовать тепловым излучением, т.е осуществлять полную обработку жидкости, размещенную внутри емкости сосуда. Кроме того, каналы консольных трубок 6 можно устанавливать на штыри (при применении в морской практике для более жесткой фиксации сосуда во время морской качки).
Использование устройства «Медицинский сосуд для воздействия на жидкость, вводимую внутрь тела пациента» позволяет осуществить полную обработку жидкости, размещенной в емкости сосуда, улучшить качественные показатели этой жидкости при введении ее внутрь тела пациента, одновременно осуществляя ее намагничивание («живая и мертвая» вода), активацию лазерным излучением, т.е. таким образом, повышая универсальность использования предложенного медицинского сосуда. Благодаря тому, что в стенках сосуда выполнены несколько отверстий, в которых размещены и закреплены трубки для размещения средств воздействия на жидкость внутри сосуда, причем во входном и выходном отверстиях трубок установлены пробки. Трубки в сосуде можно впаять, закрепить жидким стеклом (холодная сварка) в отверстиях, высверленных в стенках сосуда. Трубки могут быть стеклянными, кварцевыми, керамическими. Каналы трубок можно использовать по-разному. Через трубки, закрепленные в стенках сосуда, может проходить жидкость, газ, излучения от магнита или лазера различной длины волны, чаще всего используется гелий-неоновый лазер с длиной волны 632,8 нм, используемый при активации крови. В этих трубках можно разместить также лед, магнит, световод, не влияющие на стерильность жидкости, помещенной в сосуде, из-за отсутствия непосредственного контакта с нею. Пробки в трубках можно использовать в качестве держателей магнитов, э/магнитов или световода. Пропуская шнур через каналы трубок нескольких сосудов, можно переносить несколько банок (сосудов), т.к. каналы консольных трубок выполнены в дне сосуда, то эти сосуды можно устанавливать на штыри при использовании этих сосудов в морской практике для более жесткой их фиксации. В каналы трубок сосуда можно размещать и электрическую спираль для быстрого нагрева жидкости, размещенной в сосуде. В прозрачную стеклянную или кварцевую трубку, закрепленную в стенках сосуда (в горловине), можно разместить световод с окном для выхода лазерного луча разной длины волны, что позволяет сэкономить при использовании дополнительного лазерного прибора типа «Изольда» для активации крови. Благодаря предложенной конструкции медицинского сосуда, ее универсальности, т.к. этот сосуд можно использовать и по привычному назначению, экономичности и технологичности изготовления, предлагаемый сосуд может найти широкое применение, т.к. позволяет использовать современные средства воздействия для полной обработки жидкости (крови, физиологического раствора), вводимой внутрь тела пациента.
Формула изобретения
Медицинский сосуд для воздействия на жидкость, вводимую внутрь тела пациента, включающий стенки, горловину с пробкой, дно, внутреннюю емкость для размещения вводимой внутрь тела пациента жидкости и трубки, отличающийся тем, что в стенках сосуда выполнены несколько отверстий, в которых размещены и закреплены трубки для размещения средств воздействия на жидкость внутри сосуда, во входном и выходном отверстиях трубок установлены пробки, а в дне сосуда выполнены каналы консольных трубок для установки сосуда на штыри.
РИСУНКИ
|
|