|
|
(21), (22) Заявка: 2006121384/14, 16.06.2006
(24) Дата начала отсчета срока действия патента:
16.06.2006
(30) Конвенционный приоритет:
17.06.2005 JP 2005-178312
(43) Дата публикации заявки: 27.12.2007
(46) Опубликовано: 27.09.2008
(56) Список документов, цитированных в отчете о поиске:
RICHARD J. et al. Measurement and applicftion of arterial stiffnes in clinical research: focus on new methodologies and diabetes mellitus. Watts: Med. Sci Monit, 2003; 9(5) 101-109. RU 94025550 A1, 20.05.1996. EP 1050267 F1, 08.11.2000. JP 2000-316821 A, 21.11.2000. EP 1332716 A1, 06.08.2003. ВИЛКОВ В.Г. Ранняя диагностика артериальной гипертонии
Адрес для переписки:
129010, Москва, ул. Б. Спасская, 25, стр.3, ООО “Юридическая фирма Городисский и Партнеры”, пат.пов. Ю.Д.Кузнецову, рег.№ 595
|
(72) Автор(ы):
СУЗУКИ Тунео (JP), САТО Норио (JP)
(73) Патентообладатель(и):
ФУКУДА ДЕНСИ КО., ЛТД. (JP)
|
(54) СПОСОБ ОТСЛЕЖИВАНИЯ ИЗМЕНЕНИЙ ВО ВРЕМЕНИ ИНДЕКСОВ ЭЛАСТИЧНОСТИ КРОВЕНОСНЫХ СОСУДОВ И УСТРОЙСТВО ВЫВОДА БИОИНФОРМАЦИИ
(57) Реферат:
Изобретение относится к области медицины и медицинской техники. Представляют в графической области горизонтальную ось времени, на первой вертикальной оси – значение индексов эластичности кровеносных сосудов, на второй вертикальной оси – значение измеренной биоинформации, отличной от индекса эластичности. При этом каждый из индексов эластичности сосудов выводят на графике во временном ряду посредством размещения первого индикатора в координатах, которые задаются датой и значением в графической области. Значение биоинформации, измеренное вместе с индексом эластичности кровеносных сосудов, выводят во временном ряду связанным с соответствующим индексом эластичности и вторым индикатором, расположенным рядом с первым индикатором соответствующего индекса эластичности кровеносных сосудов, в координате, соответствующей измеренному значению биоинформации. При этом второй индикатор имеет асимметричную форму, направленность которой указывает, измерено значение биоинформации на правой или на левой части тела. Приведено выполнение устройства для вывода биоинформации, содержащее средство получения биоинформации с устройства хранения и генерирования отчета в соответствии с отслеживаемыми изменениями во времени индексов эластичности кровеносных сосудов. Изобретения обеспечивают формирование отчета, позволяющего обеспечить простановку диагноза в различных аспектах сердечно-сосудистых заболеваний. 2 н. и 7 з.п. ф-лы, 9 ил.
(56) (продолжение):
CLASS=”b560m”функциональными методами. – М., 2002, с.54. Бюллетень НЦССХ им. А.Н.БАКУЛЕВА. Сердечно-сосудистые заболевания. Приложение, 2006, 4, с.39, рис.79, с.70 рис.162-164.
Притязание на приоритет
Данная заявка испрашивает приоритет Патентной заявки Японии номер 2005-178312, поданной 17 июня 2005 года, которая, таким образом, полностью включена в данном документе путем ссылки.
Область техники, к которой относится изобретение
Настоящее изобретение относится к способу выведения биоинформации, в частности к формату выходного отчета для того, чтобы представлять изменения во времени индексов эластичности кровеносных сосудов, что выступает в качестве индикатора артериального заболевания. Настоящее изобретение также относится к устройству вывода биоинформации для того, чтобы выводить этот отчет.
Уровень техники
Традиционно соотношение между артериальным давлением, измеренным в нижней конечности и верхней конечности (соотношение между артериальным давлением в нижней конечности и верхней конечности), и скорость распространения пульсовых волн или скорость пульсовых волн (PWV), как правило, используются в качестве индикаторов сосудистых заболеваний, таких как артериосклероз (см., к примеру, Выложенную патентную заявку Японии номер 2000-316821). Например, ABI, соотношение между артериальным систолическим давлением, измеренным на плече и лодыжке, и TBI, соотношение между артериальным давлением, измеренным на руке и пальце стопы, известны как примеры соотношения между артериальным давлением в нижней конечности и верхней конечности, и ABI, и TBI используются в качестве индикаторов для того, чтобы показывать наличие или отсутствие артериального стеноза в нижней конечности. С другой стороны, PWV – это скорость распространения волны, генерируемой изменением давления стенок сосудов в аорте, причем давление стенки сосудов создается, когда сердце подает кровь в аорту. Большая скорость указывает на более твердый, негибкий сосуд. PWV вычисляется посредством измерения одной пульсовой волны в двух различных точках кровеносного сосуда и времени распространения пульсовой волны, и деления расстояния между двумя точками на время распространения.
Тем не менее, поскольку скорость распространения пульсовой волны зависит от артериального давления, на практике требуется корректировка в зависимости от значения артериального давления. Более того, поскольку отношение между артериальным давлением и значением корректировки зависит от участка тела, отношение для индивидуального участка должно быть проанализировано заранее, что практически ограничивает участки для того, чтобы измерять время распространения пульсовой волны.
Чтобы разрешить вышеуказанную проблему, заявитель настоящего изобретения предложил следующую формулу в качестве еще одного индикатора (см. Выложенную патентную заявку Японии номер 2005-152449):
Индекс эластичности кровеносного сосуда=1/k2(ln(Ps/Pd))·PWV2
(где k2 – это константа, Ps – это систолическое артериальное давление, а Pd – это диастолическое артериальное давление).
Индекс эластичности кровеносного сосуда (иногда упоминаемый как степень сосудистого склероза) полезен в качестве индикатора, представляющего состояние кровеносного сосуда в момент измерения. С другой стороны, поскольку сосудистое заболевание, такое как артериосклероз, является так называемым заболеванием взрослых людей, регулярные измерения и наблюдение изменений во времени фиксируемых результатов также важно.
Фиг.9 – это традиционный формат для того, чтобы показывать изменения во времени индексов эластичности кровеносных сосудов. Этот формат представляет значения, которые измерены предварительно на обычном пациенте, на двумерном графике с горизонтальной осью, представляющей дату, и вертикальной осью, представляющей индекс эластичности кровеносного сосуда. Индексы эластичности кровеносных сосудов левой части тела и правой части тела представляются соответственно в отдельной последовательности.
На фиг.9 представление множества измеренных значений во времени дает возможность понимания изменений во времени каждого индекса эластичности кровеносных сосудов посредством быстрого просмотра и отслеживания тенденции к ухудшению или улучшению симптомов.
Тем не менее, существует другая полезная информация, такая как ABI и артериальное давление, помимо индекса эластичности кровеносных сосудов, в биоинформации, связанной с сосудистым заболеванием. Можно предположить, что диагноз с различных точек зрения может быть поставлен, если изменения во времени в этой информации также рассматриваются вместе с изменениями во времени индексов эластичности кровеносных сосудов. Тем не менее, поскольку традиционно представлялись изменения во времени индексов эластичности артериального давления, этот отчет использовался только для диагноза с точки зрения индекса эластичности кровеносных сосудов.
Сущность изобретения
Настоящее изобретение выполнено с учетом вышеуказанных проблем в предшествующем уровне техники, и цель настоящего изобретения – предоставить отчет об изменениях во времени индексов эластичности кровеносных сосудов, который полезен для диагноза сосудистых заболеваний в различных аспектах, и устройство вывода биоинформации, которое может выводить такой отчет.
Т.е. сущность настоящего изобретения заключается в отчете об изменениях во времени индексов эластичности кровеносных сосудов для того, чтобы представлять изменения во времени зафиксированных результатов индексов эластичности кровеносных сосудов в отношении обычного субъекта, содержащем графическую область с горизонтальной осью, представляющей время, и вертикальной осью, представляющей значения индексов эластичности кровеносных сосудов, при этом каждый из индексов эластичности кровеносных сосудов выводится на графике во временном ряду посредством размещения первого индикатора в координатах, которые задаются измеренной датой и значением в графической области, и при этом измеренное значение биоинформации, относящейся к сосудистому заболеванию, отличное от индекса эластичности кровеносных сосудов, которое измерено одновременно с индексом эластичности кровеносных сосудов, выводится во временном ряду в графической области, ассоциативно связанное с соответствующим индексом эластичности кровеносных сосудов.
Еще одним объектом настоящего изобретения является устройство вывода биоинформации, при этом устройство содержит: средство получения для получения с устройства хранения измеренных значений, по меньшей мере, индекса эластичности кровеносных сосудов и другой биоинформации, связанной с одним или более сосудистым заболеванием, которая измеряется у обычного субъекта; средство генерирования отчетов для генерирования отчета об изменениях во времени индексов эластичности кровеносных сосудов; и средство вывода для вывода сгенерированного отчета об изменениях во времени индексов эластичности кровеносных сосудов, при этом средство генерирования отчетов генерирует отчет об изменениях во времени индексов эластичности кровеносных сосудов согласно настоящему изобретению.
Согласно вышеописанной конфигурации настоящее изобретение дает возможность предоставлять отчет, полезный для диагноза состояния сосудистого заболевания в различных аспектах, посредством представления измеренных результатов во времени по другой биоинформации, связанной с сосудистым заболеванием, в отчете об изменениях во времени индексов эластичности кровеносных сосудов согласно общей временной шкале.
Другие цели и преимущества, помимо вышеописанных, должны стать очевидными специалистам в данной области техники из последующего описания предпочтительного варианта осуществления изобретения. В описании делается ссылка на прилагаемые чертежи, которые составляют его часть и которые иллюстрируют пример различных вариантов осуществления изобретения. Этот пример, тем не менее, не является исчерпывающим для различных вариантов осуществления, и поэтому выполнена ссылка на формулу изобретения, которая приведена после описания, для определения объема изобретения.
Краткое описание чертежей
Прилагаемые чертежи, которые содержатся и составляют часть данного подробного описания, иллюстрируют варианты осуществления изобретения и вместе с описанием служат для того, чтобы объяснить принципы изобретения.
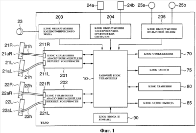
Фиг.1 – блок-схема, иллюстрирующая конфигурацию устройства измерения биоинформации в качестве примера устройства вывода биоинформации согласно варианту осуществления настоящего изобретения.
Фиг.2 – схема, иллюстрирующая примеры формул для вычисления индекса эластичности кровеносных сосудов, которые необходимы для устройства вывода биоинформации согласно варианту осуществления.
Фиг.3 – схема, поясняющая формат отчета об изменениях во времени, который выводится с помощью устройства вывода биоинформации согласно первому варианту осуществления.
Фиг.4A-4K – схема, иллюстрирующая примеры индикатора, доступного, чтобы представлять значение артериального давления в вариантах осуществления.
Фиг.5 – блок-схема последовательности операций способа, поясняющая процесс вывода отчета об изменениях во времени с помощью устройства вывода биоинформации согласно варианту осуществления настоящего изобретения.
Фиг.6 – схема, поясняющая формат отчета об изменениях во времени, который выводится с помощью устройства вывода биоинформации согласно второму варианту осуществления.
Фиг.7 – схема, иллюстрирующая пример полного отчета, который включает в себя отчет об изменениях во времени согласно варианту осуществления.
Фиг.8 – схема, иллюстрирующая характеристику систематического распределения артериального давления тела, которая используется при оценке значения артериального давления, которое используется, когда устройство вывода биоинформации согласно варианту осуществления вычисляет индекс эластичности кровеносных сосудов.
Фиг.9 – схема, поясняющая пример традиционного отчета об изменениях во времени индексов эластичности кровеносных сосудов.
Подробное описание предпочтительных вариантов осуществления
Предпочтительные варианты осуществления настоящего изобретения далее подробно описаны в соответствии с прилагаемыми чертежами.
Первый вариант осуществления
Конфигурация
Фиг.1 – блок-схема, иллюстрирующая конфигурацию устройства измерения биоинформации в качестве примера устройства вывода биоинформации согласно варианту осуществления настоящего изобретения.
Рабочий блок 10 управления полностью управляет работой устройства измерения биоинформации данного варианта осуществления. Рабочий блок 10 управления – это, например, вычислительное устройство общего назначения, содержащее ЦП, ПЗУ, ОЗУ (в том числе, энергонезависимую ОЗУ) и различные интерфейсы (не показаны), и он выполняет и управляет различными операциями, которые описаны далее, посредством исполнения управляющей программы, сохраненной на встроенном или внешнем жестком диске, устройстве хранения большой емкости, таком как оптический диск или ПЗУ, с помощью ЦП. Разумеется, операции частично могут выполняться посредством аппаратных средств вместо обработки всех операций посредством программного обеспечения.
Рабочий блок 10 управления измеряет на основе информации о пульсовой волне, получаемой посредством блока управления аваскуляризацией для верхней конечности 201 и блока управления аваскуляризацией для нижней конечности 202, систолическое артериальное давление Ps в плече, лодыжке и пальце стопы. Рабочий блок 10 управления определяет с помощью результатов измерения ABI (соотношение между значением систолического артериального давления в правой и левой лодыжке и значением плечевого (типичного) артериального давления) и TBI (соотношение между значением систолического артериального давления в пальце правой или левой стопы и значением плечевого (типичного) артериального давления). Рабочий блок 10 управления также определяет диастолическое артериальное давление Pd и среднее артериальное давление Pm.
Рабочий блок 10 управления также вычисляет скорость распространения импульсной волны между сердцем (отверстием клапана аорты) и лодыжкой или между сердцем и пальцем стопы посредством использования сигналов пульсовой волны, подаваемых из блока управления аваскуляризацией для верхней конечности 201 и блока управления аваскуляризацией для нижней конечности 202 (кардиотонические звуковые сигналы, подаваемые из блока 203 обнаружения кардиотонического звука, электрокардиографические сигналы, подаваемые из блока 204 обнаружения электрокардиографических сигналов, и пульсы сонной артерии, волны бедренной артерии и волны подколенной артерии, подаваемые из блока 205 обнаружения пульсовой волны и т.д., могут также быть выборочно использованы при необходимости), и длины кровеносных сосудов между участками, которые должны быть измерены (заранее определенное значение, соответствующее длине кровеносных сосудов).
После этого рабочий блок 10 управления вычисляет биоинформацию, которая представляет эластичность кровеносных сосудов (далее упоминаемую как индекс эластичности кровеносных сосудов), на основе любой из формул 1-5, показанных, например, на фиг.2. Отметим, что либо левая формула, либо правая формула (квадратный корень левой формулы) из формул 1-5, показанных на фиг.2, может быть выбрана для использования.
Блок управления аваскуляризацией для верхней конечности 201 и блок управления аваскуляризацией для нижней конечности 202 управляются рабочим блоком 10 управления для того, чтобы управлять повышением/понижением давления (аваскуляризацией) резиновых эластичных баллонов (21aR, 21aL, 22aR, 22aL) манжеты 21R, L и 22R, L, соединенных по двое посредством рукавов 21h и 22h с помощью насоса или выпускного клапана (не показан). Блок управления аваскуляризацией для верхней конечности 201 и блок управления аваскуляризацией для нижней конечности 202 также включают в себя датчик для того, чтобы обнаруживать пульсовые волны, которые распространяются через рукава 21h и 22h, такие как датчики (211R, L и 221R, L) давления, для преобразования пульсовых волн, которые распространяются через резиновые эластичные баллоны и рукава, в электрические сигналы, и выводить сигналы в рабочий блок 10 управления. На фиг.1 блок управления аваскуляризацией для верхней конечности 201 и блок управления аваскуляризацией для нижней конечности 202 предусмотрены отдельно, но эти блоки могут быть предусмотрены как единый блок.
Блок 203 обнаружения кардиотонического звука подает кардиотонический звуковой сигнал субъекта, который обнаруживается с помощью микрофона 23 кардиотонического звука, в рабочий блок 10 управления. Кардиотонический звуковой сигнал, главным образом, используется для того, чтобы определять время, когда пульсовые волны начинаются в сердце.
Блок 204 обнаружения электрокардиографических сигналов получает электрокардиографические сигналы, обнаруживаемые электрокардиографическими электродами 24a и 24b, чтобы подавать в рабочий блок 10 управления. Электрокардиографические сигналы получаются при необходимости, когда должен быть поставлен более полный диагноз.
Блок 205 обнаружения пульсовой волны подает пульсовые волны, конкретно пульсы сонной артерии, волны бедренной артерии или волны подколенной артерии, обнаруженные датчиками 25a и 25b пульсовых волн, в рабочий блок 10 управления.
Рабочий блок 10 управления также соединен с блоком 70 отображения, который допускает отображение различных инструкций по работе, результатов измерения и показателей диагноза; блоком 75 записи, который допускает запись и вывод результатов измерений и показателей диагноза; блоком 80 хранения, состоящим, например, из накопителя на жестких дисках, накопителя на записываемых оптических дисках, энергонезависимой полупроводниковой памяти, чтобы сохранять результаты измерений и показатели диагноза; блоком 85 аудио вывода, который допускает вывод звуковых инструкций или различных звуков оповещений; и блоком 90 ввода и команд, состоящим из клавиатуры, мыши, кнопки, сенсорной панели и т.п., чтобы обеспечивать ввод данных и команд пользователем.
Помимо вышеописанного, может быть предусмотрен проводной или беспроводной связи интерфейс для того, чтобы обмениваться данными с другими устройствами, либо устройство хранения, использующее съемный носитель. Блок 70 отображения и блок 75 записи могут быть сконфигурированы для отдельного подключения к внешнему устройству. Т.е. внешнее дисплейное устройство, которое имеет большую область изображения и/или большее число цветов для отображения, либо внешнее устройство записи, которое имеет большую область печати и/или большее число цветов для печати, может быть подключено помимо блока 70 отображения и блока 75 записи, которые предусмотрены в корпусе устройства. Таким образом, одновременно достигается компактность корпуса и различные возможности вывода. В этом случае могут быть предоставлены широко распространенный интерфейс дисплея и интерфейс принтера.
Процесс измерений: подготовка к измерениям
Далее описывается процедура и работа по измерениям с помощью устройства вывода биоинформации, имеющего вышеописанную конфигурацию. Далее приводится описание наиболее точного измерения. Предполагается, что процесс инициализации для операций с устройством, например, настройка времени, выполнен заранее. Для простоты пояснения и понимания далее описывается измерение посредством использования одной манжеты для верхней конечности и одной манжеты для нижней конечности из двух наборов манжет, однако, безусловно, возможно измерение с помощью всех четырех манжет.
Сначала на этапе подготовки манжеты, датчики и т.п. подсоединяются к субъекту. Конкретно, манжета для верхней конечности 21R подсоединяется к правому плечу субъекта, а манжета для верхней конечности 22R подсоединяется к лодыжке или пальцу стопы субъекта. На практике манжеты для лодыжки и пальца стопы имеют разные конфигурации, но в данном документе оба типа манжет описываются как манжета для нижней конечности 22R. Манжеты 21 и 22 могут быть подсоединены посредством застежки-“липучки” и т.п. Электрокардиографические электроды 24a и 24b подсоединяются, например, к правому и левому запястью. На участки подсоединения наносится крем для лучшего обнаружения. Участки подсоединения электрокардиографических электродов могут быть изменены в зависимости от типа выходных данных, которые должны быть получены.
Микрофон 23 кардиотонического звука приклеивается к заранее определенной позиции на грудь субъекта (грудинный край во втором межреберном промежутке) с помощью ленты и т.п. Кроме того, датчик 25a пульсовых волн наклеивается на участок сонной артерии на шее. При необходимости датчик пульсовых волн для бедренной артерии 25b наклеивается на пах.
Далее персональная информация о субъекте, такая как возраст, пол, рост, вес и т.п.вводится посредством использования блока 90 ввода и команд. Кроме того, длина кровеносного сосуда между грудинным краем во втором межреберном промежутке и соответствующими участками, где прикреплена манжета 21 и манжета 22, вводятся посредством измерения каждого из расстояний с помощью масштабной линейки или аналога (либо посредством преобразования измеренных значений). Это окончание подготовки к измерениям.
Процесс измерений: измерение ABI
После того, как подготовка к измерениям завершена и, например, команда, чтобы начать измерение, выдана из блока 90 ввода и команд, рабочий блок 10 управления сначала начинает процесс измерения артериального давления для того, чтобы измерить ABI. Рабочий блок 10 управления сначала выдает команду блоку управления аваскуляризацией для верхней конечности 201, хотя приоритетность порядка может быть дополнительно установлена для того, чтобы начать повышение давления в правой плечевой манжете 21R.
Блок управления аваскуляризацией для верхней конечности 201 подает воздух в манжету 21R и надувает резиновый эластичный баллон 21aR. Пульсовая волна распространяется как волна сжатия из резинового эластичного баллона 21aR посредством рукава 21h в датчик 211R давления, где пульсовая волна обнаруживается. Пульсовая волна преобразуется в электрический сигнал (как правило, датчик давления сам преобразует давление в электрический сигнал и выводит его) и выводится как сигнал пульсовой волны, полученный из манжеты 21R, в рабочий блок 10 управления.
Рабочий блок 10 управления управляет блоком управления аваскуляризацией для верхней конечности 201 для того, чтобы продолжать подавать воздух в резиновый эластичный баллон 21aR до тех пор, пока пульсовая волна не будет обнаружена датчиком 211R давления, т.е. до тех пор, пока аваскуляризация не будет вызвана, и в момент, когда пульсовая волна больше не обнаруживается, повышение давления прекращается. Давление манжеты в этой точке может быть обнаружено датчиком 211R давления. Затем рабочий блок 10 управления выдает команду блоку управления аваскуляризацией для верхней конечности 201 для того, чтобы постепенно уменьшать давление манжеты.
Блок управления аваскуляризацией для верхней конечности 201 понижает давление в манжете с постоянной скоростью посредством регулирования выпускного клапана (не показан) и выпуска воздуха из резинового эластичного баллона 21aR. При понижении давления систолическое артериальное давление Ps, среднее артериальное давление Pm и диастолическое артериальное давление Pd определяются из давления манжеты в точке, где амплитуда пульсовой волны быстро возрастает после того, как обнаружение пульсовой волны возобновлено, в точке, где амплитуда пульсовой волны наибольшая, и в точке, где амплитуда пульсовой волны быстро убывает, соответственно. Эти значения давления манжеты могут быть вычислены из значения давления в точке, где начато понижение давления, скорости понижения давления и периода понижения давления. Этот тип измерения артериального давления известен как осциллометрический способ (плетизмография). После того, как диастолическое артериальное давление определено, давление манжеты понижается быстро. Вышеописанный способ измерения артериального давления выполняется аналогично с другими манжетами для того, чтобы завершить изменение артериального давления в верхней конечности и нижней конечности.
С помощью определенного артериального давления рабочий блок 10 управления вычисляет ABI, к примеру, следующим образом:
ABI=значение систолического артериального давления в правой лодыжке/значение артериального давления в правом плече.
Измеренное значение систолического артериального давления, значение среднего артериального давления и значение диастолического артериального давления, а также рассчитанный ABI записываются в блок 80 хранения.
Процесс измерений: измерение TBI
Манжета для измерения на нижней конечности 22R присоединяется к пальцу стопы (например, большому пальцу правой ноги), чтобы измерить и вычислить TBI так же, как и ABI. Вычисленный TBI записывается в блок 80 хранения.
Процесс измерений: измерение PWV
Далее измеряется PWV. В случае, если пульсы сонной артерии обнаружены с помощью датчика 25a пульсовых волн, рабочий блок 10 управления получает пульсовые волны посредством блока 205 обнаружения пульсовых волн, при этом обнаруживая генерирование кардиотонического звука (к примеру, второго тона сердца), соответствующего точке возрастания пульсовой волны из сигналов кардиотонического звука, полученных посредством блока 203 обнаружения кардиотонического звука. Пульсовые волны и сигналы кардиотонического звука записываются в блок 80 хранения после того, как применены соответствующие процессы, такие как аналого-цифровое преобразование. Затем PWV определяется из следующей формулы:
PWV=AF/(t+tc)
где
AF – длина кровеносного сосуда от грудинного края во втором межреберном промежутке до участка присоединения манжеты 22R (лодыжки или пальца стопы);
t – разность во времени между точкой возрастания пульса сонной артерии (или пульса плеча) и точкой возрастания пульсовой волны лодыжки (или пальца стопы); и
tc – разность во времени между точкой возрастания второго тона кардиотонического звука и точкой предела пульса сонной артерии (или пульсовой волны плеча).
В случае, если датчик 25a пульсовых волн не используется, PWV измеряется посредством использования точки возрастания пульсовой волны, измеренной с помощью манжеты 21R, которая подсоединена к плечу.
После того, как измерение PWV завершено, рабочий блок 10 управления управляет блоком управления аваскуляризацией для верхней конечности 201 и блоком управления аваскуляризацией для нижней конечности 202, чтобы откачать воздух из манжеты, записывает результаты измерений в блок 80 хранения и завершает процесс измерения.
Как описано выше, этот вариант осуществления поясняется для случая, когда измерение артериального давления и пульсовой волны выполняется только для правого плеча, правой лодыжки и пальца правой стопы, но измерение артериального давления и пульсовой волны может быть аналогично выполнено на левом плече, левой лодыжке и пальце левой стопы. Кроме того, как и для PWV, два значения “сердце-лодыжка” и “сердце-палец стопы” могут быть вычислены либо четыре значения для левого и правого, соответственно.
Вычисление индекса эластичности кровеносных сосудов
Далее рабочий блок 10 управления вычисляет индекс эластичности кровеносного сосуда. В качестве индекса эластичности кровеносного сосуда может быть использовано значение, полученное из формул 1-5 на фиг.2. В формулах 1-5 k – это константа. Формула должна выбираться заранее для того, чтобы использоваться для расчета индекса эластичности кровеносного сосуда. Разумеется, две или более формулы могут быть выбраны для того, чтобы использовать для расчета индекса эластичности кровеносного сосуда.
В идеале значения артериального давления Ps, Pm и Pd, используемые в формулах 1-5, – это значения, измеренные в центре участков, где измерено PWV. Тем не менее, вместо этого могут быть использованы, например, значения, измеренные на плече. Значения в центральной точке могут быть оценены, например, посредством измерения артериального давления на участках, где измерены пульсовые волны, чтобы вычислить PWV, и применения артериального давления к заранее вычисленной формуле преобразования. Конкретно, значение артериального давления на участке между участками измерений может быть оценено из характеристик систематического распределения артериального давления тела, таких как показанные на фиг.8, и значений, измеренных в двух точках участков, показанных на изображении характеристик.
Вышеуказанная оценка использует факт, полученный из характеристик систематического распределения артериального давления тела, т.е. Ps и Pd линейно возрастают или убывают от отверстия клапана аорты к подколенной ямке, а Pm является практически константой по всем участкам. Конкретно, например, когда систолическое артериальное давление Psi в паху оценивается из систолического артериального давления Ps в лодыжке и систолического артериального давления Psb в плече, формула соотношения (Ps-Psb):(расстояние между лодыжкой и плечом)=(Psi-Psb):(расстояние между пахом и плечом) может быть использована для того, чтобы оценить Psi. Аналогично, Pdi может быть оценено из Pd и Pdb. Чтобы вычислить индекс эластичности кровеносного сосуда, может быть использовано PWV, измеренное между сердцем и лодыжкой или сердцем и пальцем стопы.
Различная измеренная биоинформация, включающая в себя артериальное давление (систолическое артериальное давление Ps, диастолическое артериальное давление Pd и среднее артериальное давление Pm), вычисленные значения, такие как ABI, TBI, PWV и индекс эластичности кровеносного сосуда, а также любая другая информация сохраняется в блоке 80 хранения, ассоциативно связанном с персональной информацией об измеряемом субъекте и временем и датой, когда измерение было выполнено. Например, папка или каталог создается для каждого субъекта, и когда выполняется измерение, новая папка или каталог для измерения создается дополнительно в папке или каталоге для субъекта для того, чтобы сохранять биоинформацию, вычисленные параметры, полученную информацию о форме волы и т.п.
В этом варианте осуществления, поскольку устройство вывода биоинформации имеет функции, чтобы получать различную биоинформацию, процесс измерения ABI, TBI и PWV и процесс вычисления индекса эластичности кровеносных сосудов описывается как действия устройства. Тем не менее, единственная функция, которую должно иметь устройство вывода биоинформации согласно настоящему изобретению, заключается в том, чтобы получать значения артериального давления и индексы эластичности артериального давления обычного пациента с информацией о дате и времени измерения, а функции измерения биоинформации не являются необходимыми. Другими словами, устройство, которое может генерировать и выводить отчет, который описывается далее, в отношении значений артериального давления и индексов эластичности артериального давления обычного пациента и не имеет конфигурации для других операций, может быть использовано.
Процесс вывода отчета
Далее описывается процесс вывода отчета с помощью вышеописанного устройства вывода биоинформации со ссылкой на блок-схему последовательности операций способа фиг.5. В этом варианте осуществления предполагается, что процесс, чтобы выводить отчет в формате, который описан ниже, осуществляется посредством выполнения программы вывода отчета с помощью рабочего блока 10 управления, и отчет выводится в блок 70 отображения или блок 75 записи. Тем не менее, этот процесс вывода отчета может быть осуществлен посредством выполнения аналогичной программы в устройствах, отличных от устройства измерения биоинформации, такой как устройство анализа биоинформации, или более обобщенно, в вычислительном устройстве, коммерчески распространяемом как персональная вычислительная машина. Кроме того, как описано выше, отчет может выводиться на внешнее дисплейное устройство или внешнее устройство вывода.
Процесс вывода отчета может быть выполнен автоматически после измерения посредством получения результатов последних измерений субъекта или может быть выполнен, например, посредством отображения списка субъектов, информация о которых измерена и записана в блоке 80 хранения на блоке 70 отображения, и вывода результатов измерений субъектов, выбранных из списка посредством блока 90 ввода и команд. В данном варианте осуществления выводятся результаты измерений субъектов, выбранных из списка субъектов, для которых измерения выполнены ранее.
Сначала рабочий блок 10 управления считывает информацию, необходимую для того, чтобы сгенерировать отчет, такую как персональная информация и результаты измерений (значения артериального давления, индекс эластичности артериального давления и т.п.) по выбранным субъектам, из блока 80 хранения (этап S101). Затем рабочий блок 10 управления компонует считанную информацию в формате вывода, который описан ниже (этап S103).
После компоновки рабочий блок 10 управления преобразует отформатированную информацию в данные, имеющие формат, который может быть выведен устройствами вывода, такими как блок 75 записи (этап S105). Преобразование формата включает в себя изменение разрешения в зависимости от устройства вывода (к примеру, 72 или 96 dpi для отображения и 400-600 dpi для печати), изменение глубины цвета (к примеру, изменение на монохромный, увеличение или уменьшение числа цветов), уменьшение или увеличение масштаба и генерирование растровых данных. После того, как формат изменен, чтобы быть подходящим для устройств вывода, измененные данные выводятся в устройство вывода в качестве данных отчета (этап S107), где они отображаются или распечатываются.
Если данные измерений имеют структуру, которая должна быть получена устройством вывода биоинформации посредством, например, сети или съемного носителя хранения, такого как карта памяти или оптический диск, данные могут быть выведены с помощью аналогичного процесса, даже когда устройство вывода биоинформации без функции измерения биоинформации выводит отчет. Т.е. устройство вывода биоинформации сначала получает перечень информации по данным измерения (к примеру, список имен субъектов) и отображает его на экране дисплея. После того, как субъект выбран посредством устройства ввода, такого как клавиатура или мышь, выполняется процесс, как на вышеописанных этапах S101-S105, чтобы вывести информацию на заранее заданные устройства вывода, такие как дисплей или принтер (этап S107). Это дает возможность аналогичному отчету быть отображенным или распечатанным.
Формат отчета
Фиг.3 – это схема, поясняющая формат отчета об изменениях во времени, который выводится с помощью устройства вывода биоинформации согласно данному варианту осуществления. Отчет об изменениях во времени представляет изменения во времени индексов эластичности кровеносных сосудов (в, по меньшей мере, правой части тела и левой части тела) и измеренных значений, по меньшей мере, одного или более видов биоинформации, связанной с сосудистыми заболеваниями. В данном варианте осуществления значения артериального давления представляются как биоинформация, связанная с сосудистыми заболеваниями. В качестве значений артериального давления представляются значение максимального (систолического) артериального давления, значение среднего артериального давления и значение минимального (диастолического) артериального давления.
Отчет включает в себя область двумерного графика с осями прямоугольной системы координат: одна вертикальная ось имеет масштабную линейку для индексов эластичности кровеносных сосудов, а другая вертикальная ось имеет масштабную линейку для артериального давления; горизонтальная ось представляет время и имеет масштабную линейку для дат, когда измерено каждое значение. Как описано выше, значения артериального давления также измеряются для того, чтобы вычислить индексы эластичности кровеносных сосудов, поэтому предусмотрены соответствующие измеренные результаты между индексами эластичности кровеносных сосудов и значениями артериального давления, которые выводятся на графике в ассоциативной связи друг с другом для каждой даты измерений.
Как и для индексов эластичности кровеносных сосудов, представляется, по меньшей мере, одно из значений в правой части тела и значения в левой части тела, а предпочтительно и то, и другое. Индексы эластичности кровеносных сосудов выводятся во временном ряду посредством помещения индикаторов ( ) в координатах, заданных временем измерения и значениями в области графика, и для облегчения идентификации изменений во времени соседние индикаторы в одной последовательности соединены линией. Рядом с каждым индикатором измеренного значения представляется конкретное измеренное значение. Дополнительно, в данном варианте осуществления, когда представлены измененные значения в правой части тела и измеренные значения в левой части тела, последовательность измеренных значений в правой части тела и последовательность измеренных значений в левой части тела представляется с помощью различных выражений (в данном варианте осуществления, различных тонов) для упрощения зрительного различения. Разумеется, другие выражения могут быть использованы, в том числе различные цвета и различные формы индикаторов. Тем не менее, желательно использовать выражение, которое не ухудшает видимость прямых линий, соединяющих индикаторы.
В данном варианте осуществления значение систолического артериального давления, значение среднего артериального давления и значение диастолического артериального давления, которые измерены вместе с индексом эластичности кровеносного сосуда, представляются в ассоциативной связи с соответствующим индексом эластичности кровеносного сосуда на графике во временном ряду. Преимущественно каждое из значений артериального давления представляется в качестве индикатора в форме, которую легко отличать от соответствующего индекса эластичности кровеносного сосуда и которая не вводит в заблуждение, и размещается рядом с индикатором соответствующего индекса эластичности кровеносного сосуда и по координате (вдоль вертикальной оси), которая соответствует значению артериального давления.
На фиг.4 показан пример индикатора для представления значения артериального давления. Фиг.4A и 4B показывают простейшую форму и значение систолического артериального давления, значение среднего артериального давления и значение диастолического артериального давления выводятся на графике как одинаковые маркеры, размещенные, как правило, в вертикальном направлении. Любая форма маркера может быть выбрана, если только она не ухудшает видимость индикатора, а горизонтальные линии и окружности, используемые на фиг.4A-4K, служат только для иллюстрации.
Фиг.4C и 4D показывают формы с прямыми линиями, добавленными к линиям на фиг.4A и 4B. Прямые линии соединяют центры каждого маркера, и индикаторы делятся на симметричные формы. В то же время фиг.4E-4G показывают индикаторы, которые поделены на асимметричные формы, так что индикаторы имеют направления. Фиг.4E и 4F показывают маркеры, которые соединены прямой линией, но на концах маркеров, так что маркеры имеют направления, а фиг.4G показывает маркер, имеющий форму, которая сама по себе имеет направление. Это обеспечивает визуальное понимание того, на какой стороне тела измерены значения артериального давления индикаторов.
На фиг.3 индикаторы формы , показанные на фиг.4E, используются для того, чтобы показывать, что значения артериального давления измерены в правой части тела. Индикаторы, чтобы показывать значения артериального давления, измеренные на другой стороне тела, имеют зеркально отраженную форму по сравнению с формами фиг.4E-4G. Таким образом, противоположный индикатор, соответствующий индикатору фиг.4E, имеет форму E. Когда используется асимметричный индикатор или направленный индикатор, отношение между индикатором и левой или правой стороной тела может быть необязательно задано. Например, на фиг.3 индикатор формы может быть использован для того, чтобы проиллюстрировать значение артериального давления в левой части тела, а индикатор формы E может быть использован для того, чтобы проиллюстрировать значение артериального давления в правой части тела. Тем не менее, когда отчет имеет другую информацию по левой и правой части, индикаторы предпочтительно связаны с соответствующими значениями согласованным способом с выражениями для другой информации, что подробно описано далее.
Фиг.4H-4K показывают индикаторы различной формы, размера и внутреннего выражения маркера в зависимости от типа значения артериального давления. В данном варианте осуществления маркер для значения среднего артериального давления показан как форма, отличная от форм для значений систолического и диастолического артериального давления, но все типы значений артериального давления могут быть различной формы или один тип значений артериального давления, отличный от значений среднего артериального давления, может иметь форму, отличную от двух других. Фиг.4H показывает индикаторы общей формы горизонтальной линии, и маркер для значения среднего артериального давления короче остальных. Фиг.4I показывает индикаторы общей формы и выражения внутри (в данном варианте осуществления, цвет или узор-заполнитель) различны, а фиг.4J и 4K показывают индикаторы различных форм.
Форма индикатора может быть изменена, как в случае симметричных индикаторов, таких как индикаторы фиг.4I, 4J, так и в случае асимметричных индикаторов, таких как индикаторы фиг.4H, 4K.
Дополнительно, когда значение артериального давления выходит за пределы заранее определенного стандартного диапазона, значение может иметь маркер другой формы, размера или внутреннего выражения по сравнению с индикаторами в стандартном диапазоне. Это обеспечивает простоту понимания того, имеет или нет артериальное давление ненормальное значение, без вывода на графике конкретных измеренных значений. Поэтому это дает возможность пользователям понимать, является или нет значение артериального давления ненормальным значением, одновременно не допуская возможного ухудшения видимости вследствие вывода на графике измеренных значений.
Индикатор значения артериального давления не обязательно размещается в одной координате по горизонтальной оси с индикатором индекса эластичности кровеносного сосуда, поскольку индикатор размещается таким образом, чтобы отношения между соответствующим индексом эластичности кровеносного сосуда могли быть интуитивно понятными, и может быть горизонтально смещен, как показано на фиг.3. Когда индикатор горизонтально смещен, направление смещения может выполнять ту же функцию, что и направленность индикатора. На фиг.3 при представлении индикатора значения артериального давления он смещен вправо от соответствующего индикатора индекса эластичности кровеносного сосуда, тем самым не только сама направленность индикатора, но и расположение индикатора наводят на мысль о том, что значения артериального давления измерены в правой части тела.
Как описано выше, согласно данному варианту осуществления значения индексов эластичности кровеносных сосудов, которые измерены во времени, представляются во временном ряду, и другие значения биоинформации, связанные с сосудистыми заболеваниями, которые измерены одновременно с индексами, также представляются. Это дает возможность сравнивать и анализировать индексы эластичности кровеносных сосудов и их изменения во времени, а также значения артериального давления и их изменения во времени, и полезно, чтобы определять, например, должны или нет быть прописаны гипотензивные медикаменты.
Как описано выше, поскольку индекс эластичности кровеносного сосуда в меньшей степени зависит от давления, чем скорость распространения пульсовой волны, иногда трудно понять изменение значений артериального давления только из индексов эластичности кровеносного сосуда. Поэтому уникальным результатом является представление и индексов эластичности кровеносных сосудов, и значений артериального давления для того, чтобы обеспечить возможность проверки наличия или отсутствия изменений артериального давления.
Дополнительно, поскольку значение артериального давления представляется посредством индикатора характеристик, практический смысл значения артериального давления или любого изменения значений артериального давления может быть легко понятен без ухудшения удобочитаемости индексов эластичности кровеносных сосудов.
Второй вариант осуществления
Далее описывается устройство вывода биоинформации согласно второму варианту осуществления настоящего изобретения. Поскольку устройство вывода биоинформации данного варианта осуществления является таким же, как и устройство первого варианта осуществления, за исключением формата отчета, который должен выводиться, описывается только формат отчета, который является отличительным признаком данного варианта осуществления.
Фиг.6 – это схема, поясняющая формат отчета об изменениях во времени, который выводится с помощью устройства вывода биоинформации согласно данному второму варианту осуществления. Формат этого варианта осуществления в основном совпадает с форматом первого варианта осуществления и отличается тем, что области делятся согласно диапазону числовых значений индексов эластичности кровеносных сосудов.
В этом варианте осуществления деления выражаются посредством вариации различных узоров-заполнителей, но это только пример способа деления, и любой способ может быть использован, если деления области могут быть распознаваемы, в том числе способ, чтобы изменять тон цветов или затенение ячеек, а также окружать область линиями.
Далее приводятся базовые линии деления на области и состояние сосудов, когда измеренное значение включено в каждую область:
(1) индекс эластичности кровеносных сосудов >10,0: тяжелый артериосклероз;
(2) 9,0 индекс эластичности кровеносных сосудов <10: сильный артериосклероз;
(3) 8,0 индекс эластичности кровеносных сосудов <9,0: умеренный артериосклероз;
(4) индекс эластичности кровеносных сосудов <8: нормальное состояние.
На фиг.6 обе области, соответствующие (1) и (2), выражены как одна область, поскольку обе области (1) и (2) предполагают тяжелые состояния. Тем не менее, эти области могут быть выражены по-разному.
Таким образом, согласно данному варианту осуществления отчет выводится в формате, в котором область поделена на основе значений эластичности кровеносных сосудов, так что способ, которым изменяются значения индексов эластичности кровеносных сосудов, может быть понятен более легко, помимо результата первого варианта осуществления.
Другой вариант осуществления
Фиг.7 – это схема, иллюстрирующая пример полного отчета по обычному субъекту, как в первом варианте осуществления, который включает в себя отчет об изменениях во времени в формате согласно первому варианту осуществления как части. Данный полный отчет включает в себя, сверху вниз, секцию для биографической информации 210, чтобы представлять дату измерений и персональную информацию о субъекте, секцию для первых измеренных результатов 220, чтобы представлять текущие измеренные значения индексов эластичности кровеносных сосудов и ABI, а также комментарий, соответствующий измеренным значениям, график 230 сосудистого возраста, чтобы иллюстрировать сосудистый возраст, оцененный по текущим индексам эластичности кровеносных сосудов, график 235 изменений во времени в формате, описанном в вышеприведенных вариантах осуществления, секцию 240 представления артериального давления, чтобы представлять текущие результаты измеренного артериального давления, и секцию 250 для результатов наблюдений, чтобы представлять состояние сосудистого заболевания, оцененное по измеренным результатам индексов эластичности кровеносных сосудов и ABI.
В данном варианте осуществления в секции представления артериального давления схематическая иллюстрация всего человеческого тела используется для того, чтобы представлять измеренные значения артериального давления (систолическое, диастолическое и среднее) и пульсовое давление в левой верхней и нижней конечности, которые размещены так, чтобы быть в зеркальном отображении относительно смотрящего отчет. Т.е. в левой стороне отчета проиллюстрирована правая часть тела. Таким образом, аналогично на графике изменений во времени 235, индексы формы соответствуют значениям артериального давления в правой части тела.
Как описано выше, процесс вывода отчета в каждом варианте осуществления может быть выполнен, например, с помощью вычислительного устройства, которое считывает значения артериального давления и индекс эластичности кровеносных сосудов, измеренный заранее, с устройства хранения, которое сохраняет значения, и выводит отчет в вышеописанном формате. Поэтому не приходится и говорить о том, что любая программа, которая позволяет вычислительному устройству выполнять процесс вывода отчета в каждом вышеописанном варианте осуществления, или любой машиночитаемый носитель, который сохраняет программу, также включены в настоящее изобретение.
Поскольку множество очевидно серьезно отличающихся вариантов осуществления настоящего изобретения могут быть реализованы без отступления от сущности и объема изобретения, следует понимать, что изобретение не ограничено конкретными вариантами осуществления за исключением тех, что определены в формуле изобретения.
Формула изобретения
1. Способ отслеживания изменений во времени индексов эластичности кровеносных сосудов в отношении обычного субъекта, включающий – представление в графической области на горизонтальной оси времени, на первой вертикальной оси – значений индексов эластичности кровеносных сосудов, на второй вертикальной оси – значений измеренной биоинформации, связанной с одним или более сосудистым заболеванием, отличной от индекса эластичности кровеносных сосудов, при этом каждый из индексов эластичности кровеносных сосудов выводят на графике во временном ряду посредством размещения первого индикатора в координатах, которые задаются измеренной датой и значением в графической области, при этом значение биоинформации, измеренное вместе с индексом эластичности кровеносных сосудов, выводят во временном ряду в графической области связанным с соответствующим индексом эластичности кровеносных сосудов и вторым индикатором, расположенным рядом с первым индикатором соответствующего индекса эластичности кровеносных сосудов, в координате, соответствующей измеренному значению биоинформации, причем второй индикатор имеет асимметричную форму, направленность которой указывает, измерено значение биоинформации на правой или на левой части тела.
2. Способ по п.1, в котором измеренное значение биоинформации – это значение артериального давления.
3. Способ по п.2, в котором второй индикатор содержит три маркера, которые расположены в вертикальном направлении для представления значения систолического артериального давления, значения среднего артериального давления и значения диастолического артериального давления.
4. Способ по п.3, в котором второй индикатор дополнительно содержит прямую линию, соединяющую три маркера.
5. Способ по п.3, в котором, по меньшей мере, один из трех маркеров имеет форму и размер, отличные от других.
6. Способ по п.3, в котором форма или размер маркеров изменяется в зависимости от отношения между стандартными диапазонами, заранее заданными для каждого из значений систолического артериального давления, значений среднего артериального давления и значений диастолического артериального давления, и измеренными значениями, проиллюстрированными маркерами.
7. Способ по п.1, в котором второй индикатор, который смещен вправо или влево от соответствующего индекса эластичности кровеносных сосудов, указывает, измерено значение биоинформации на правой или на левой части тела.
8. Способ п.1, в котором графическая область поделена на множество областей в зависимости от значений индекса эластичности кровеносных сосудов.
9. Устройство вывода биоинформации, содержащее средство получения для получения с устройства хранения, по меньшей мере, индекса эластичности кровеносных сосудов и другой биоинформации, связанной с одним или более сосудистым заболеванием, которая измеряется у обычного субъекта; средство генерирования отчетов для генерирования отчета об изменениях во времени индексов эластичности кровеносных сосудов; средство вывода для вывода сгенерированного отчета об изменениях во времени индексов эластичности кровеносных сосудов, при этом средство генерирования отчетов генерирует отчет, имеющий графическую область с горизонтальной осью, представляющей время, вертикальной осью, представляющей значения индексов эластичности кровеносных сосудов, и второй вертикальной осью, представляющей значения измеренной биоинформации, связанной с одним или более сосудистым заболеванием, отличной от индекса эластичности кровеносных сосудов, при этом каждый из индексов эластичности кровеносных сосудов выведен на графике во временном ряду посредством размещения первого индикатора в координатах, которые задаются измеренной датой и значением в графической области, при этом измеренное значение биоинформации измерено вместе с индексом эластичности кровеносных сосудов и выведено во временном ряду в графической области связанным с соответствующим индексом эластичности кровеносных сосудов и вторым индикатором, расположенным рядом с первым индикатором соответствующего индекса эластичности кровеносных сосудов, в координате, соответствующей измеренному значению биоинформации, причем второй индикатор имеет асимметричную форму, направленность которой указывает, измерено значение биоинформации на правой или на левой части тела.
РИСУНКИ
|
|