|
|
(21), (22) Заявка: 2006145691/12, 21.12.2006
(24) Дата начала отсчета срока действия патента:
21.12.2006
(46) Опубликовано: 27.09.2008
(56) Список документов, цитированных в отчете о поиске:
RU 2191503 С2, 27.10.2002. Механизация животноводства. Под ред. В.К.Гриба. – Минск: Ураджай, 1987, с.330 и 332, рис.9.9. Механизация уборки и утилизация навоза. Под ред. Ф.Ф.Костанди. – М.: Колос, 1982, с.138-141, рис.45. SU 1117025 A, 07.10.1984. FR 2748368 А, 14.11.1997. SU 1355191 A1, 30.11.1987.
Адрес для переписки:
660049, г.Красноярск, пр. Мира, 90, ФГОУ ВПО Красноярский государственный аграрный университет, патентоведу Т.А. Лобановой
|
(72) Автор(ы):
Филиппов Вадим Григорьевич (RU), Мельников Евгений Сергеевич (RU), Лукашов Александр Васильевич (RU)
(73) Патентообладатель(и):
Федеральное государственное образовательное учреждение высшего профессионального образования Красноярский государственный аграрный университет (RU)
|
(54) УСТРОЙСТВО ДЛЯ УДАЛЕНИЯ И ХРАНЕНИЯ СВИНОГО НАВОЗА
(57) Реферат:
Изобретение относится к сельскому хозяйству, а именно к механизации процесса удаления и хранения жидкого навоза. Устройство содержит воздушный компрессор, воздухопроводы, ресивер с клапаном подачи сжатого воздуха в подземный продувочный котел, подземный навозопровод, навозохранилище с подводом жидкого навоза снизу, следящий механизм, загрузочный клапан. Навозохранилище расположено ниже уровня промерзания земли, а навозопровод снабжен коленом, расположенным на входе в навозохранилище, переходящим в горизонтальный перфорированный воздухонавозораспределитель. Следящий механизм выполнен в виде реле давления воздуха в продувочном котле, выполненном в форме горизонтально вытянутой трубы с вертикальной горловиной. Реле подключено к клапану подачи в него воздуха. Повышается качество обработки и хранения навоза, повышается надежность работы устройства и удобство его обслуживания. 1 ил.
Изобретение относится к сельскому хозяйству, а именно к механизации процесса удаления и хранения жидкого навоза.
Известна пневматическая установка удаления навоза (патент РФ №2191503, МПК А01К 1/01, 2000), включающая компрессор, ресивер, расположенный под землей продувочный котел, воздуховоды, соединяющие компрессор с ресивером и ресивер с продувочным котлом, который сообщен навозопроводом, проходящим под землей, с навозохранилищем, при том ресивер соединен с навозохранилищем вертикально снизу последнего, при этом в навозопровод на его выходе из продувочного котла вмонтирован следящий механизм, позволяющий контролировать выход последней части навоза, а продувочный котел и ресивер выполнены из железобетона.
Недостатком данной пневматической установки является низкое качество навоза как удобрения, так как зимой он замерзает и в нем не происходит биологический мезофильный процесс, а также невысокая надежность следящего механизма – флажка, оснащенного концевым выключателем и работающего в потоке навоза. Кроме того, его трудно обслуживать, особенно зимой, так как он находится под землей вне помещения. При изготовлении продувочного котла требуется проведение большого объема бетонных работ высокого качества, так как котел работает под значительным давлением, страдает и экология окружающей среды.
Задача изобретения – повышение качества обработки и хранения навоза за счет расположения навозохранилища ниже уровня промерзания земли, повышение надежности работы устройства и удобства его обслуживания, упрощение в изготовлении, а также улучшение экологии на прилегающей территории.
Технический результат в отличие от прототипа достигается за счет того, что устройство содержит воздушный компрессор, воздухопроводы, ресивер с клапаном подачи сжатого воздуха в подземный продувочный котел, подземный навозопровод, навозохранилище с подводом жидкого навоза снизу, следящий механизм, загрузочный клапан, притом навозохранилище расположено ниже уровня промерзания земли, а навозопровод снабжен коленом, расположенным на входе в навозохранилище, переходящим в горизонтальный перфорированный воздухонавозораспределитель, притом следящий механизм выполнен в виде реле давления воздуха в продувочном котле, выполненном в форме горизонтально вытянутой трубы с вертикальной горловиной, причем реле давления воздуха подключено к клапану подачи в него воздуха.
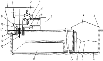
На чертеже представлен общий вид установки удаления и хранения свиного навоза.
В свинарнике 1 смонтированы: пневмоцилиндр 2 закрытия загрузочного клапана 16, клапан пневмоцилиндра 3, клапан подачи воздуха 4 в продувочный котел 14, компрессор 5. На штоке пневмоцилиндра 2 установлен датчик контроля 20 положения загрузочного клапана 16. Снаружи свинарника установлены: воздухопроводы 6, ресивер 7. Навозохранилище 11, расположенное ниже уровня промерзания земли, сверху укрыто теплоизолятором 8, например, из соломы или торфа и имеет ограждение 9. Продувочный котел 14 выполнен в виде горизонтально-вытянутой трубы с вертикальной горловиной, например из металлической трубы, расположен ниже уровня промерзания земли и снабжен навозопроводом 13, который на входе в навозохранилище 11 выполнен в виде колена 12, переходящего в горизонтальный перфорированный воздухонавозораспределитель 10.
Продувочный котел 14 оснащен реле уровня жидкого навоза 15 и реле давления воздуха 19. Реле давления воздуха 19 связано с клапаном подачи воздуха 4, установленным на воздухопроводе 6, соединяющим ресивер 7 с продувочным котлом 14. Следовательно, следящий механизм выполнен в виде реле давления воздуха 19 в продувочном котле 14, причем оно подключено к клапану подачи в него воздуха 4. Реле уровня жидкого навоза 15 связано с клапаном 3 пневмоцилиндра 2 и с функцией его закрытия при срабатывании реле 19 от падения воздуха в продувочном котле 14 при его опорожнении.
На входе в продувочный котел 14 установлен лоток 17 для подачи навоза, в котором смонтирована фильтр-сетка 18.
Реле уровня жидкого навоза 15, загрузочный клапан 16, навозный лоток 17, фильтр-сетка 18, реле давления воздуха 19 в продувочном котле 14 и датчик 20 положения загрузочного клапана 16 установлены в свинарнике.
Устройство работает следующим образом.
Дно навозохранилища 11 заполняют сорбирующим материалом (соломой или торфом). Компрессор 5 нагнетает воздух из продувочного котла 14 в ресивер 7. Клапан 3 пневмоцилиндра 2 и клапан 4 подачи воздуха в продувочный котел 14 при этом закрыты. Формируется запас сжатого воздуха в ресивере 7. Жидкий навоз из навозного лотка 17, пройдя через сетку-фильтр 18 и открытый загрузочный клапан 16, подается самотеком в продувочный котел 14. После заполнения продувочного котла 14 навозом по сигналу реле уровня жидкого навоза 15 открывается клапан 3 и сжатый воздух из ресивера 7 подается на пневмоцилиндр 2. Он закрывает загрузочный клапан 16. Датчик положения загрузочного клапана 20 подает сигнал на клапан подачи воздуха 4 в продувочный котел 14. Клапан 4 открывается, сжатый воздух поступает в продувочный котел 14 и вытесняет из него навоз по навозопроводу 13, колену 12, горизонтальному перфорированному воздухонавозораспределителю 10 в нижнюю часть навозохранилища 11.
В начале продувки при снижении уровня навоза в продувочном котле 14 реле уровня жидкого навоза 15 и сработанный датчик 20 положения загрузочного клапана 16 (клапан закрыт) подают сигнал отключения клапана 3, который прекращает подачу сжатого воздуха на пневмоцилиндр 2. Загрузочный клапан 16 теперь держится в закрытом положении избыточным давлением продувочного котла 14.
После опорожнения всей пневмосистемы – продувочного котла 14, навозопровода 13, колена 12, перфорированного воздухонавозораспределителя 10 от навоза давление в продувочном котле 14 падает. Реле давления воздуха 19 срабатывает и подает сигнал на закрытие клапана подачи воздуха 4. Загрузочный клапан 16, лишившись подпора избыточного давления продувочного котла 14, открывается под действием своего веса и снова происходит через него заполнение продувочного котла 14 навозом.
Верхний слой соломы или торфа 8 в навозохранилище 11 не смачивается навозом и является теплоизолятором. В режиме хранения навоза в навозохранилище в нижней его части жидкий навоз сорбируется соломой или торфом и за счет теплоизоляции протекает биологический мезофильный процесс обработки навоза. По заполнении навозохранилища и созревании навоза выгрузные средства по спуску (не показан) убирают съемные ворота (не показаны) навозохранилища 11 и отправляют органическое удобрение на поля.
Вокруг хранилища устраивается отмостка (не показана) для исключения попадания в него ливневых стоков. Ограждение 9 препятствует попаданию в навоз посторонних предметов и позволяет увеличить слой теплоизолятора.
Изобретение обеспечивает простоту конструкции и монтажа продувочного котла, а сооружение вертикального заглубленного навозохранилища, заполненного теплоизолирующим сорбентом, позволяет обеспечить мезофильный процесс при хранении навоза повышенной влажности при бесподстилочном содержании животных, что повышает его качество.
Изготовление продувочного котла в виде горизонтально вытянутой трубы сравнительно небольшого диаметра с вертикальной горловиной позволяет упростить всю конструкцию устройства и выбором необходимой длины трубы обеспечить требуемый объем продувочного котла. Состыковывая последовательно несколько готовых труб, можно получить необходимый объем. Количество уплотнительных швов, а следовательно, и объем монтажной работы при этом оказывается меньше, чем в прототипе, когда изготавливается бетонный продувочный котел большого единичного объема. Площадь поверхности трубы на единицу длины также меньше, чем в прототипе, поэтому трубный котел прочнее и надежнее в работе под давлением.
Применение навозопровода 13 в виде колена 12 на входе в навозохранилище 11 исключает сток навоза из хранилища обратно в продувочный котел. Кроме того, в конце продувки колено 12 заполняется воздухом. Этот воздух затем, в начале следующей продувки, поступит в навозохранилище 11 на барботаж. В зависимости от количества воздуха в навозохранилище складывается аэробный или анаэробный процесс переработки навоза. Выбор объема колена определяет характер процесса переработки навоза.
Установку удобно обслуживать, так как управляющие устройства расположены в помещении. Кроме того, применение изобретения позволяет получить высококачественные органические удобрения. Оно не требует сооружения наземных вертикальных стенок сложной конфигурации и отличается простотой загрузки и выгрузки.
В связи с расположением навозохранилища ниже уровня промерзания земли и исключения утечек навоза на поверхность земли улучшаются экологические условия прилегающей территории.
Устройство легко может быть реализовано в сельскохозяйственном производстве.
Формула изобретения
Устройство для удаления и хранения свиного навоза, содержащее воздушный компрессор, воздухопроводы, ресивер с клапаном подачи сжатого воздуха в подземный продувочный котел, подземный навозопровод, навозохранилище с подводом жидкого навоза снизу, следящий механизм, загрузочный клапан, отличающееся тем, что навозохранилище расположено ниже уровня промерзания земли, а навозопровод снабжен коленом, расположенным на входе в навозохранилище, переходящим в горизонтальный перфорированный воздухонавозораспределитель, притом следящий механизм выполнен в виде реле давления воздуха в продувочном котле, выполненным в форме горизонтально вытянутой трубы с вертикальной горловиной, причем реле подключено к клапану подачи в него воздуха.
РИСУНКИ
|
|