|
|
(21), (22) Заявка: 2006122878/12, 28.06.2006
(24) Дата начала отсчета срока действия патента:
28.06.2006
(43) Дата публикации заявки: 10.01.2008
(46) Опубликовано: 27.09.2008
(56) Список документов, цитированных в отчете о поиске:
RU 2152714 C1, 20.07.2000. SU 1279568 A1, 30.12.1986. SU 1007617 A, 30.03.1983. FR 2531737 A, 17.02.1984. US 4273072 A, 16.06.1981.
Адрес для переписки:
109125, Москва, ул. Окская, 4, к.3, оф. 34, ООО “Минаев и партнеры”, пат.пов. А.А.Минаеву
|
(72) Автор(ы):
Грилль Александр Анатольевич (RU), Иванчиков Александр Леонидович (RU)
(73) Патентообладатель(и):
Открытое акционерное общество “Российский научно-исследовательский и проектный институт агропромышленного комплекса “РосНИПИагропром” (RU)
|
(54) ДЕННИК
(57) Реферат:
Денник относится к животноводству, в частности к устройствам для содержания лошадей. Задачей изобретения является повышение надежности при одновременном повышении срока эксплуатации и сокращении времени и трудоемкости на сборку-разборку. Для этого денник содержит металлические профильные стойки, на основаниях которых установлены крепежные блоки, жестко закрепленные в отверстиях, выполненных в полу конюшни. Стеновые панели скреплены между собой посредством металлических профильных стоек, размещенных в каждом углу модуля, с возможностью быстрого разъединения стеновых панелей. Каждая стеновая панель имеет по меньшей мере одно ребро жесткости, установленное между основанием профильной металлической рамы и упрочняющей металлической балкой. Техническим результатом изобретения является повышение его надежности при одновременном повышении срока эксплуатации и сокращении времени и трудоемкости на его сборку-разборку. 8 з.п. ф-лы, 6 ил.
Настоящее изобретение относится к животноводству, в частности к денникам для содержания лошадей.
Известно стойло для лошади (денник), содержащее соединенные между собой стеновые панели, каждая из которых имеет каркасную раму, разделенную по высоте упрочняющей балкой на две части, при этом верхняя часть выполнена в виде решетки, а нижняя закрыта деревянной панелью из горизонтально установленных деревянных брусков, каждый из которых прикреплен винтами к каркасной раме, а передняя стеновая панель снабжена параллельно смещаемой относительно нее дверью. (Патент США №4552094, A01K 1/00, 1985 г.).
Недостатками данного устройства являются сложность его изготовления и ремонта, так как установка в нижней части деревянных брусков, каждый из которых крепится винтами к каркасной раме, требует больших трудозатрат.
Наиболее близким к предлагаемому изобретению является стойло для лошади, состоящее из соединенных между собой стеновых секций, каждая из которых выполнена в виде профильной жесткой металлической рамы с упрочняющей балкой, разделяющей секцию по высоте на две части, верхняя из которых выполнена в виде решетки, а нижняя выполнена глухой, закрытой брусками панели, при этом фронтальная секция включает дверь, снабженную подпружиненным затвором, и проем с установленной в нем кормушкой (Патент РФ №2152714, A01K 1/00, 1999 г.).
Данное устройство выбрано в качестве прототипа и является более простым в изготовлении, так как бруски в нижней части не требуют их крепления.
Однако данное стойло имеет ряд существенных недостатков. Так, например, за счет соединения стеновых секций посредством крепления их профильных металлических рам непосредственно друг к другу появляется дополнительная деформация профильных металлических рам в процессе эксплуатации, а также ослабляется их соединение, что значительно снижает надежность и сокращает ресурс данного стойла.
Также при ударах лошади по секциям стойла основания секций постоянно ударяются о пол конюшни, что приводит к их преждевременному износу и также снижает надежность конструкции данного стойла.
Кроме того, при осуществлении демонтажа секций стойла при их неисправности, или присоединении к одному стойлу другого, необходимо разбирать нижние части стеновых секций, чтобы получить доступ к крепежным элементам данных секций, что значительно затрудняет процесс сборки-разборки стойла и создания конструкций из нескольких стойл.
Задачей настоящего изобретения является повышение его надежности при одновременном повышении срока эксплуатации и сокращении времени и трудоемкости на его сборку-разборку.
Техническим результатом изобретения является повышение надежности, увеличение срока эксплуатации и сокращение времени и трудоемкости на его сборку-разборку.
Поставленная задача решена за счет того, что в настоящем деннике, представляющем собой модуль, установленный на полу конюшни, и содержащем переднюю, заднюю и боковые стеновые панели, каждая из которых имеет профильную металлическую раму, и упрочняющую металлическую балку, разделяющую стеновую панель по высоте на две части, верхняя из которых представляет собой решетку, а нижняя выполнена глухой, закрытой брусками, при этом передняя стеновая панель имеет дверной проем с дверью и окно, расположенное в нижней части стеновой панели со стороны, противоположной двери, в котором с возможностью углового поворота и фиксации установлена кормушка, а дверь смонтирована в направляющих, размещенных на профильной металлической раме со стороны, обращенной из денника, с возможностью ее продольного перемещения, имеются металлические профильные стойки, на основаниях которых установлены крепежные блоки, жестко закрепленные в отверстиях, выполненных в полу конюшни, при этом стеновые панели скреплены между собой посредством металлических профильных стоек, размещенных в каждом углу модуля, с возможностью быстрого разъединения стеновых панелей, а каждая стеновая панель имеет по меньшей мере одно ребро жесткости, установленное между основанием профильной металлической рамы и упрочняющей металлической балкой.
Приведенное выше устройство денника в виде модуля позволяет создавать различные конструкции из большого числа модулей, каждый из которых имеет общую стеновую панель и две общие профильные стойки с соседним модулем.
Желательно, чтобы основания каждой профильной металлической рамы имели крепежные отверстия для крепления оснований к полу конюшни.
Целесообразно также, чтобы в деннике верхняя направляющая двери представляла собой П-образный профиль, а нижняя направляющая двери представляла собой Г-образный профиль, а при этом нижняя сторона двери была выполнена с П-образным пазом по всей ее длине, в котором размещена меньшая сторона Г-образного профиля с возможностью перемещения двери по меньшей стороне Г-образного профиля.
Желательно, чтобы в деннике крепежный блок содержал четыре жестко соединенные между собой пластины с образованием в середине отверстия для размещения и жесткого крепления основания профильной стойки, при этом в местах соединения пластин жестко были закреплены наклонные ребра с возможностью их жесткой фиксации на основании профильной стойки.
Предпочтительно, чтобы в деннике каждая пластина крепежного блока имела по меньшей мере одно отверстие для крепления данной пластины к полу.
Целесообразно также, чтобы в деннике каждая металлическая профильная стойка имела сечение определенной формы, выбранное из группы, содержащей прямоугольное, квадратное и круглое сечение.
Предпочтительно, чтобы в деннике профильная рама каждой стеновой панели имела основание и верхнюю часть, выполненные из швеллера, при этом боковые части были выполнены из профиля замкнутого сечения.
Целесообразно, чтобы в деннике профиль замкнутого сечения имел сечение определенной формы, выбранное из группы, содержащей прямоугольное, квадратное и круглое сечение.
Желательно, чтобы в деннике каждое ребро жесткости нижней глухой части каждой стеновой панели было выполнено в виде швеллера, при этом бруски нижней части стеновой панели, примыкающие к данному швеллеру, были выполнены с двумя продольными проточками, в которых установлены боковые стороны данного швеллера.
Сущность предлагаемого изобретения поясняется графическими материалами.
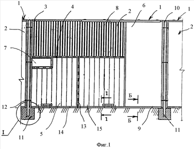
На Фиг.1 – вид спереди денника с тремя модулями, соединенными профильными стойками, выполненного согласно изобретению.
На Фиг.2 показан один из вариантов исполнения крепежного блока, выполненного согласно изобретению.
На Фиг.3 приведен один из вариантов крепления двери в направляющих, выполненный согласно изобретению.
На Фиг.4 показаны направляющие двери, выполненные согласно изобретению.
На Фиг.5 приведен вид сверху крепления стеновых панелей модулей к профильным стойкам.
На Фиг.6 представлено крепление основания профильной металлической рамы к полу.
Денник (см. Фиг.1) представляет собой по меньшей мере один модуль 1, установленный на полу конюшни и содержащий переднюю, заднюю и боковые стеновые панели 2, каждая из которых имеет профильную металлическую раму 3 и упрочняющую металлическую балку 4, разделяющую стеновую панель 2 по высоте на две части. Верхняя часть каждой стеновой панели представляет собой решетку, а нижняя выполнена глухой, закрытой брусками 5. Передняя стеновая панель имеет дверной проем с дверью 6 и окно 7, расположенное в нижней части стеновой панели со стороны, противоположной двери. В окне 7 с возможностью углового поворота и фиксации установлена кормушка (на Фиг.1 не показана), а дверь 6 смонтирована в направляющих 8, 9 (см. Фиг.4), размещенных на профильной металлической раме 3 со стороны, обращенной из денника, с возможностью ее продольного перемещения. Стеновые панели 2 денника скреплены между собой посредством металлических профильных стоек 10, на основаниях которых установлены крепежные блоки 11. На каждой стороне профильной металлической стойки 10 имеются отверстия 12 для установки в них крепежных элементов для крепления со стеновыми панелями 2, в металлической рамке 3 которых также имеются отверстия для крепления к стойкам 10. Металлические стойки 10 жестко закреплены в отверстиях, выполненных в полу конюшни. Каждая стеновая панель 2 имеет по меньшей мере одно ребро жесткости 13, установленное между основанием 14 профильной металлической рамы 3 и упрочняющей металлической балкой 4. Основания 14 каждой профильной металлической рамы 3 имеют крепежные отверстия 15 (см. Фиг.6) для крепления оснований 14 к полу конюшни.
За счет наличия в деннике профильных стоек 10, скрепляющих стеновые панели 2, значительно упрощен процесс сборки-разборки денника.
За счет крепления стоек 10 в пол конюшни при помощи крепежных блоков 11, а также за счет наличия в каждой стеновой панели упрочняющих металлических балок 4 значительно повышена надежность денника.
Также увеличение надежности в данном деннике обеспечено и за счет оригинальной конструкции двери 6 и направляющих 8, 9 данной двери (см. Фиг.3, 4).
Так, верхняя направляющая 8 двери 6 представляет собой П-образный профиль, в котором установлены ролики с возможностью их перемещения по верхней направляющей 8, которые закреплены на верхней стороне двери 6, при этом нижняя направляющая двери 9 представляет собой Г-образный профиль, а нижняя сторона двери 6 выполнена с П-образным пазом по всей ее длине, в котором размещена меньшая сторона Г-образного профиля нижней направляющей 9 с возможностью перемещения двери по меньшей стороне Г-образного профиля.
Такая конструкция двери 6 и нижней направляющей 9 предотвращает возможность попадания различного мусора, соломы, других предметов в углубление нижней направляющей двери, что также обеспечивает увеличение ресурса работы двери.
В одном из предпочтительных вариантов выполнения денника крепежный блок 11 может содержать четыре жестко соединенные между собой пластины 16 с образованием в середине отверстия 17 для размещения и жесткого крепления основания профильной стойки 10, при этом в местах соединения пластин жестко закреплены наклонные ребра 18 с возможностью их жесткой фиксации на основании профильной стойки 10 (см. Фиг.2).
Приведенный выше вариант исполнения крепежного блока 11 обычно используется в том случае, когда пол в конюшне для установки денника уже выполнен со специальными отверстиями для установки стоек 10.
В случае, когда пол в конюшне еще полностью не выполнен, то в крепежном блоке 11 предусмотрены отверстия 19 для установки в них швеллеров и предварительного крепления стоек 10 в пол конюшни, после чего выполняется стяжка пола, которая полностью закрывает весь крепежный блок.
В предпочтительном варианте выполнения денника металлическая профильная стойка 10 имеет сечение прямоугольной формы, но она может также иметь и квадратное и круглое сечение, или какой-либо другой формы, целесообразной для определенного варианта.
В предпочтительном варианте выполнения денника профильная рама 3 каждой стеновой панели 2 выполнена из скрепленных швеллеров, при этом упрочняющая балка выполнена из швеллера, размещенного пазом в сторону основания профильной рамы 3.
Для обеспечения дополнительной прочности и надежности в стеновой панели 2 профильная рама 3 каждой стеновой панели может иметь основание и верхнюю часть, выполненные из швеллера, при этом боковые части могут быть выполнены из профиля замкнутого сечения, в частности сечения квадратной, прямоугольной, круглой формы, или другой формы, целесообразной для данного варианта выполнения (см. Фиг.5).
В предпочтительном варианте выполнения денника бруски нижней части стеновой панели 5, примыкающие к упрочняющей балке 12 в виде швеллера, выполнены с двумя продольными проточками, в которых установлены боковые стороны данного швеллера.
Представленная конструкция денника может содержать также несколько модулей 1, которые скреплены между собой посредством металлических профильных стоек 10 таким образом, что любые два соседних модуля имеют одну общую стеновую панель 2 и две общие профильные стойки 10, что позволяет создавать многомодульные конструкции денников с модулями, расположенными рядами, или других конфигураций. При этом в случае необходимости добавления определенного количества модулей 1 к уже имеющейся многомодульной конструкции денника достаточно просто присоединить необходимое число стеновых панелей 2 к стойкам 10, которые содержат специальные присоединительные места с отверстиями 12 для крепления стеновых панелей 2.
Кроме того, в случае повреждения стеновых панелей 2 их достаточно просто отсоединить от стоек 10 в присоединительных местах, что значительно сокращает время разборки денника и упрощает процесс сборки-разборки.
Функционирует данный денник следующим образом.
Конструкция данного денника предполагает содержание группы лошадей в одном помещении и визуальное наблюдение за ними, при этом каждая лошадь расположена в одном из модулей 1, которые крепятся один к другому, с образованием рядов из модулей 1, которые могут быть размещены как в центре конюшни, так и прикреплены к стенам конюшни.
Для создания спокойного психоэмоционального состояния животного во время кормления нижняя часть, в которой имеется окно 7 для установки кормушки, каждой стеновой панели 2 закрыта брусками.
Дверь 6 денника смонтирована в направляющих 8, 9, параллельно установленных на профильной раме 2 со стороны, обращенной из стойла. Выполнение двери 6 параллельно перемещаемой относительно передней фронтальной стеновой панели 2 обеспечивает максимальное использование полезной площади помещения конюшни. Такое выполнение двери позволяет освободить проход между стойлами, которые могут быть смонтированы напротив друг друга. При этом выполнение двери 6 с П-образным пазом в ее нижней части, а также нижней направляющей 9 в виде профиля Г-образного сечения предотвращают возможность попадания соломы и других предметов в нижнюю направляющую двери 9. При этом обеспечивается повышение надежности функционирования двери 6 и в целом денника.
Наличие профильных стоек 10 не только повышает надежность конструкции денника, но также способствует улучшению психоэмоционального состояния животного, так как за счет крепления профильных стоек 10 в пол конюшни, а также крепления оснований 14 профильных рам 3 к полу конюшни, значительно снижаются шумовые эффекты, связанные с постоянными ударами оснований 14 профильных рам 3 о пол конюшни, которые возникают в случае отсутствия крепления данных оснований к полу конюшни.
Из вышесказанного очевидно, что предлагаемый денник обладает высокой надежностью, удобен в обслуживании и эксплуатации и ремонте, обеспечивает комфортное содержание лошадей, а также позволяет создавать многомодульные конструкции с возможностью их оперативной и нетрудоемкой сборкой-разборкой.
Как очевидно специалистам в данной области техники, настоящее изобретение легко разработать в других конкретных формах, не выходя при этом за рамки сущности или важных технических характеристик. Следовательно, настоящие варианты осуществления необходимо считать просто иллюстративными, а не ограничивающими, причем объем изобретения представлен формулой изобретения, и предполагается, что здесь включены все возможные изменения и область эквивалентности пунктам формулы изобретения.
Формула изобретения
1. Денник, представляющий собой модуль, установленный на полу конюшни и содержащий переднюю, заднюю и боковые стеновые панели, каждая из которых имеет профильную металлическую раму, и упрочняющую металлическую балку, разделяющую стеновую панель по высоте на две части, верхняя из которых представляет собой решетку, а нижняя выполнена глухой, закрытой брусками, при этом передняя стеновая панель имеет дверной проем с дверью и окно, расположенное в нижней части стеновой панели со стороны, противоположной двери, в котором с возможностью углового поворота и фиксации установлена кормушка, а дверь смонтирована в направляющих, размещенных на профильной металлической раме со стороны, обращенной из денника, с возможностью ее продольного перемещения, отличающийся тем, что содержит металлические профильные стойки, на основаниях которых установлены крепежные блоки, жестко закрепленные в отверстиях, выполненных в полу конюшни, при этом стеновые панели скреплены между собой посредством металлических профильных стоек, размещенных в каждом углу модуля, с возможностью быстрого разъединения стеновых панелей, а каждая стеновая панель имеет по меньшей мере одно ребро жесткости, установленное между основанием профильной металлической рамы и упрочняющей металлической балкой.
2. Денник по п.1, отличающийся тем, что основания каждой профильной металлической рамы имеют крепежные отверстия для крепления оснований к полу конюшни.
3. Денник по п.1, отличающийся тем, что верхняя направляющая двери представляет собой П-образный профиль, при этом нижняя направляющая двери представляет собой Г-образный профиль, а нижняя сторона двери выполнена с П-образным пазом по всей ее длине, в котором размещена меньшая сторона Г-образного профиля с возможностью перемещения двери по меньшей стороне Г-образного профиля.
4. Денник по п.1, отличающийся тем, что крепежный блок содержит четыре жестко соединенные между собой пластины с образованием в середине отверстия для размещения и жесткого крепления основания профильной стойки, при этом в местах соединения пластин жестко закреплены наклонные ребра с возможностью их жесткой фиксации на основании профильной стойки.
5. Денник по п.4, отличающийся тем, что каждая пластина крепежного блока имеет по меньшей мере одно отверстие для крепления данной пластины к полу.
6. Денник по п.1, отличающийся тем, что каждая металлическая профильная стойка имеет сечение определенной формы, выбранное из группы, содержащей прямоугольное, квадратное и круглое сечение.
7. Денник по п.1, отличающийся тем, что профильная рама каждой стеновой панели имеет основание и верхнюю часть, выполненные из швеллера, при этом боковые части выполнены из профиля замкнутого сечения.
8. Денник по п.7, отличающийся тем, что профиль замкнутого сечения имеет сечение определенной формы, выбранное из группы, содержащей прямоугольное, квадратное, и круглое сечение.
9. Денник по п.1, отличающийся тем, что каждое ребро жесткости нижней глухой части каждой стеновой панели выполнено в виде швеллера, при этом бруски нижней части стеновой панели, примыкающие к данному швеллеру, выполнены с двумя продольными проточками, в которых установлены боковые стороны данного швеллера.
РИСУНКИ
|
|