|
(21), (22) Заявка: 2007114550/09, 17.04.2007
(24) Дата начала отсчета срока действия патента:
17.04.2007
(46) Опубликовано: 20.09.2008
(56) Список документов, цитированных в отчете о поиске:
SU 1681587 A1, 20.10.1995. US 4162819 A, 31.01.1979. US 2003181093 A, 25.09.2003. EP 0570449, 24.11.1993.
Адрес для переписки:
443100, г.Самара, ул. Молодогвардейская, 244, главный корпус СамГТУ, патентный отдел
|
(72) Автор(ы):
Гнеушев Александр Сергеевич (RU), Косорлуков Игорь Андреевич (RU), Кулаков Павел Алексеевич (RU), Приходченко Вячеслав Иванович (RU)
(73) Патентообладатель(и):
Государственное образовательное учреждение высшего профессионального образования Самарский государственный технический университет (RU)
|
(54) КОНТАКТНОЕ СОЕДИНЕНИЕ
(57) Реферат:
Изобретение относится к области ошиновки электролизеров химической промышленности и цветной металлургии и может быть использовано в вышеуказанной отрасли. Снижение потерь электрической энергии за счет уменьшения переходного сопротивления в контактных соединениях достигается установкой шин внахлест, затем скреплением их между собой при помощи болтового соединения без применения сварки. 1 ил.
Изобретение относится к области ошиновки электролизеров химической промышленности и цветной металлургии и может быть использовано в вышеуказанной отрасли.
Известно контактное соединение ошиновки электролизеров, в котором токопроводы устанавливаются внахлест и стягиваются крепежными болтами (Электрическая часть станций. Москва, 1951 г. Под. Ред. Глазунова. Гл.3, пар.3-5). При этом контактирующие поверхности соприкасаются максимум в трех контактных точках и площадь соприкосновения зависит от давления при затягивании болтов,
Известно устройство А.С. №1681587, в котором при болтовом соединении шин на один из торцов ошиновки накладывается сварной шов.
Недостаток этого изобретения – сварка тяжелой ошиновки из цветных металлов, медь-медь, алюминий-алюминий, алюминий-медь, сталь-медь. Это изобретение не распространяется на ошиновку электролизеров, в которых в качестве анода используется графит.
Техническим результатом предлагаемого изобретения является снижение потерь электрической энергии за счет уменьшения переходного сопротивления в контактных соединениях, которое достигается увеличением площади соприкосновения контактирующих пар при болтовом соединении без применения сварки.
Технический результат достигается тем, что шины устанавливают внахлест, а затем скрепляют между собой при помощи болтового соединения. Для снижения потерь электрической энергии часть крепежных отверстий используется для установки устройств, обеспечивающих плотное соприкосновение боковых поверхностей отверстий шин с проводящей втулкой.
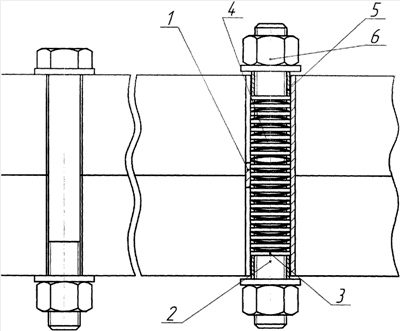
На чертеже изображено контактное соединение.
Проводящая втулка 1 с наружным диаметром, меньшим диаметра крепежных отверстий. В проводящей втулке с обоих торцов по образующим выполнены прорези на длину меньше половины длины проводящей втулки. Чередующиеся прорези образуют проводящие ламели, которые имеют возможность перемещаться при механическом воздействии в направлении, перпендикулярном оси проводящей втулки.
Внутри проводящей втулки помещена шпилька 2 с набором чередующихся шайб плоских 3 и тарельчатых 4, с обоих концов шпильки имеются втулки 5 и гайки 6.
Устройство работает следующим образом.
При вращении гаек 6 происходит деформация тарельчатых шайб 4 с увеличением наружного диаметра. Тарельчатые шайбы распирают проводящую втулку 1, перемещая ламели в направлении, перпендикулярном оси проводящей втулки 1, и плотно прижимая к боковым поверхностям отверстий контактирующих шин, тем самым обеспечивая необходимое контактное нажатие, уменьшение переходного сопротивления и снижение потерь электрической энергии.
Снижение потерь электрической энергии Q=Qб-Qр,
где Qб – потери электрической энергии в контактном соединении без использования проводящей втулки;
Qр – потери электрической энергии с использованием проводящей втулки.
При замене части крепежных болтов на проводящие втулки снижение потерь электрической энергии составляет 
где I – ток нагрузки на контактное соединение;
Rб – переходное сопротивление контактного соединения без проводящих втулок;
К1, К2 – коэффициент перераспределения тока в контактном соединении с проводящими втулками К1<1, К2<1;
– коэффициент ослабления стяжки контактного соединения с проводящими втулками;
RЛ – общее сопротивлении контактного перехода одной ламели;
n – количество ламелей;
RСК – сопротивление сплошного кольца проводящей втулки в центре между прорезями с разных торцов.
Проведены стендовые испытания модуля контактного соединения электролизера с током нагрузки 5000 А.
Падение напряжения на контактном соединении при четырех стяжных болтах до установки проводящей втулки составило 38·10-3 В, что соответствует переходному сопротивлению в контактном соединении 7,6·10-6 Ом.
После установки двух проводящих втулок по диагонали контактного соединения вместо крепежных болтов падение напряжения на контактном соединении составило 16·10-3 В, что соответствует 3,2·10-6 Ом.
Экономия электрической энергии в сутки при работе ртутного электролизера током нагрузки 400·103 А с токоподводом из 80 модулей с использованием проводящих втулок составит 294 кВт·час
Формула изобретения
Контактное соединение, состоящее из шин, установленных внахлест, скрепленных между собой при помощи болтового соединения, отличающееся тем, что часть крепежных отверстий используют для установки проводящих втулок, в которых с обоих торцов по образующей выполнены прорези на длину меньше половины длины проводящей втулки, а внутри проводящих втулок помещают шпильки с набором чередующихся плоских и тарельчатых шайб.
РИСУНКИ
|