|
|
(21), (22) Заявка: 2005115579/09, 23.05.2005
(24) Дата начала отсчета срока действия патента:
23.05.2005
(43) Дата публикации заявки: 20.11.2006
(46) Опубликовано: 20.09.2008
(56) Список документов, цитированных в отчете о поиске:
ВАРБАНСКИЙ A.M. Передающие телевизионные башни. – М.: Связь, 1980, с.202-208. GB 522822, 27.06.1940. SU 77475 A3, 01.01.1949. CS 217775, 28.01.1983. SU 1730706 A1, 30.04.1992. JP 4124800, 24.04.1992. GB 673797, 11.06.1952.
Адрес для переписки:
662970, Красноярский край, г. Железногорск, а/я 374, ОАО “Прима Телеком”
|
(72) Автор(ы):
Назаров Геннадий Леонидович (RU), Шарин Николай Павлович (RU), Миронов Владимир Анатольевич (RU), Малютин Николай Николаевич (RU), Дробушевский Виктор Мартинович (RU)
(73) Патентообладатель(и):
Открытое акционерное общество “Прима Телеком” (RU)
|
(54) АНТЕННАЯ СИСТЕМА
(57) Реферат:
Изобретение предназначено для использования в теле- и радиовещании в диапазоне УКВ, а также в других системах метровых и дециметровых волн. Технический результат заключается в построении многоканальной антенной системы на верхней площадке башни, которая позволяет осуществлять вещание до 10-12 телевизионных и радиовещательных каналов при общей массе комплекса не более 800 кг. Сущность изобретения состоит в том, что в совмещенной антенной системе, состоящей из антенны I или II диапазона, выполненной из зигзагообразных вибраторов, установленных на кронштейнах, дополнительно установлены панельные антенны IV-V и III диапазонов. При этом все антенны могут быть выполнены широкополосными. Антенны IV-V и III диапазонов могут быть выполнены в виде решетчатых рам с закрепленными на них излучателями с автономными экранами и автономными защитными чехлами. Вся антенная система установлена на одной трубе верхней площадки башни и выполнена из материалов на основе сплавов алюминия. 3 з.п. ф-лы, 7 ил.
Изобретение может быть использовано для теле- и радиовещания в диапазоне УКВ, а также в других системах метровых и дециметровых волн, которые распространяются в пределах прямой видимости, поэтому с целью увеличения дальности действия станции передающие антенны устанавливаются на высоких инженерных сооружениях в виде свободно стоящих башен (мачт). Предлагаемая антенная система решает проблему, когда требуется высоко поднятая над поверхностью Земли антенна, но для ее размещения свободного места на вершине башни, в данном случае на трубе верхней площадки, нет.
Известны конструкции радиотелевизионных башен, описанных в книге Савицкого Г.А. “Антенные устройства”, М., “Связь”, 1961 г. На типовых башнях в верхней ее части расположена призма, предназначенная для размещения антенн, на ней установлены панельные вибраторные антенны I, или II, или III частотных диапазонов. Однако размеров призмы по высоте недостаточно для установки дополнительных антенн для обслуживания возросших потоков информации. При этом конструкция башни вызывает искажение формы диаграммы направленности (ДН) в горизонтальной плоскости. Вследствие затенения возникает интерференция волн, излучаемых антенной и волн, отраженных от башни, что приводит к появлению в ДН направлений с недостаточным уровнем напряженности поля.
Известна антенная система по а.с. 217775, ЧССР, содержащая систему распределения мощности и излучатели. Центры излучателей расположены поэтажно в плоскостях, перпендикулярных вертикальной оси мачты. Антенная решетка построена так, что центры излучателей находятся на четырех вертикальных прямых линиях. Эта антенная система сама по себе лишена недостатка предыдущего источника, однако установка ее на вершине башни не представляется возможным, так как потребуется реконструкция башни для усиления ее конструкции, поскольку кольцевая антенная решетка имеет увеличенное количество излучателей, что ведет к увеличению весовой и ветровой нагрузки на башню.
Известна типовая антенная система, смонтированная на верхней площадке телевизионной башни (см. Варбанский A.M. Передающие телевизионные станции, М., Связь, 1980 г., стр.202-208), которая выбрана в качестве прототипа. Турникетная антенна состоит из Ж-образных вибраторов, которые размещены вокруг трубы, в зависимости от диапазона, от 2 до 6 этажей. Конструкция вибраторов антенны и способ крепления их к трубе не позволяют разместить на трубе другие антенны. Вес такой антенны, изготовленной из стали, составляет от 1 до 4 тонн в зависимости от рабочего диапазона волн и этажности антенны. Большая масса и ветровые нагрузки не позволяют создать антенну с большим количеством этажей для повышения коэффициента усиления. К тому же антенны на основе Ж-образных вибраторов являются узкополосными. Недостатками существующей конструкции является недоиспользование верхней площадки башни, а также то, что узлы запитки вибраторов выполнены в незащищенном от воздействия внешней среды конструктиве.
Целью настоящего изобретения является построение многоканальной антенной системы на верхней площадке башни, которая позволяет осуществлять вещание до 10-12 телевизионных и радиовещательных каналов с верхней площадки, к тому же при уменьшении общей массы антенной системы до 800 кг.
Эта цель достигается тем, что турникетная антенна выполнена из зигзагообразных вибраторов и вынесена на кронштейнах от трубы вверх и на расстояние, позволяющее на трубе дополнительно поэтажно расположить несколько панельных антенн IV-V и III диапазонов, при этом антенны IV-V диапазонов установлены на трубе на уровне середины конструкции зигзагообразной антенны, а антенна III диапазона установлена на трубе ниже расположения кронштейнов турникетной антенны, кроме того, все антенны выполнены из материалов на основе сплавов алюминия, панели антенн IV-V и III диапазонов выполнены в виде решетчатых рам с закрепленными на них излучателями с автономными экранами, при этом панели установлены вокруг трубы и закреплены на ней при помощи кронштейнов, излучатели антенны IV-V диапазона и узлы запитки излучателей антенны III диапазона закрыты индивидуальными защитными радиопрозрачными чехлами, и все антенны выполнены широкополосными.
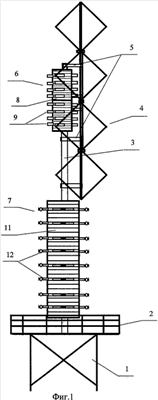
Суть изобретения поясняется чертежами, где на фиг.1 изображен общий вид антенной системы на трубе верхней площадки телевизионной башни, на фиг.2 изображен вид антенной системы сверху, на фиг.3 изображены расчетные ДН турникетной зигзагообразной антенны 1ТВК в азимутальной плоскости: а) для свободностоящей антенны; б) при размещении рядом на трубе панельной антенны IV-V диапазонов, где сплошной линией обозначена ДН турникетной зигзагообразной антенны (“двойной зигзаг”) для панельной антенны IV-V диапазонов, состоящей из 8 этажей, а пунктирной линией – для панельной антенны, состоящей из 16 этажей, на фиг.4 изображены расчетные ДН панельной антенны IV-V диапазонов в азимутальной плоскости: а) для свободностоящей антенны; б) для случая установки на стволе рядом с антенной «двойной зигзаг» I диапазона, на фиг.5 изображены расчетные ДН панельной антенны III диапазона в азимутальной плоскости: сплошной линией – для свободностоящей антенны; пунктирной линией – при установке над антенной III диапазона панельной антенны IV-V диапазонов и антенны «двойной зигзаг» 1 диапазона.
Антенная система (фиг.1) установлена на телевизионной башне ферменной конструкции 1, с площадкой 2, на которой установлена труба 3 для размещения антенн. Турникетная зигзагообразная антенна 4 установлена на трубе с помощью кронштейнов 5, панельная антенна ДМВ диапазона 6, панельная антенна III диапазона 7, решетчатая рама панельной антенны ДМВ диапазона 8, на которой установлены излучатели 9, закрепленная на трубе при помощи кронштейнов 10, решетчатая рама панельной антенны III диапазона 11, на которой установлены излучатели 12, закрепленная на трубе при помощи кронштейнов 13. Излучатели панельной антенны ДМВ диапазона (фиг.2) закрыты индивидуальными защитными радиопрозрачными чехлами 14, а узлы запитки излучателей панельной антенны III диапазона – индивидуальными защитными радиопрозрачными чехлами 15. В такой конструктивной проработке, представляющей собой многоканальную антенную систему, удалось вместо одной турникетной антенны установить три широкополосных антенны.
В качестве примера конкретной реализации можно представить турникетную вибраторную антенну, выполненную в виде антенны “двойной зигзаг”, многоэтажной, этажность которой определяют по мере необходимости, учитывая, что коэффициент усиления одного этажа антенны составляет 4 дБi (относительно изотропного излучателя). Каждый этаж антенны имеет нижнюю и верхнюю несущие стойки, к которым крепятся вибраторы антенны. Нижняя несущая стойка является еще и корпусом симметрирующего устройства. Для облегчения антенны верхняя несущая стойка выполнена из трубы меньшего диаметра, чем нижняя. В отличие от существующих антенн узел запитки расположен в защитном корпусе.
Панели антенны IV-V диапазонов для уменьшения парусности выполнены в виде решетчатой рамы, на которой установлены излучатели. Панели закрепляются на трубе с помощью кронштейнов.
Панельная антенна III диапазона имеет форму, аналогичную панельной антенне IV-V диапазонов, ферма ее выполнена также в виде решетчатой рамы.
Для подтверждения электромагнитной совместимости антенн в предлагаемой антенной системе заявителем была проведена теоретическая и экспериментальная проработка. В результате подтверждения теоретических результатов была изготовлена и установлена антенная система на эксплуатируемой башне в качестве эксперимента.
Была проведена оценка влияния затенения антенн элементами конструкции соседних антенн. Расчеты диаграммы направленности турникетной зигзагообразной антенны были проведены в соответствии с методикой расчета диаграммы направленности Ж-образных вибраторов с турникетной запиткой.
Расчеты проведены для панельной антенны ДМВ диапазона, состоящей из 8 и 16 этажей полуволновых вибраторов. Антенна из 16 этажей может заменяться двумя 8-этажными. Как показывают результаты расчетов, ДМВ панельные антенны оказывают незначительное влияние на форму диаграммы направленности турникетной антенны. Это можно объяснить тем, что длина волны на частотах 1 ТВК составляет 5,7 м, а габариты панельной антенны ДМВ 0,8×0,8×2,8 м, т.е. в горизонтальном направлении меньше 0,2 длины волны 1 ТВК и конструкция фермы имеет прозрачную для радиоволн 1 ТВК структуру, поэтому сигнал 1 ТВК горизонтальной поляризации практически без изменений “огибает” конструкцию данных размеров, т.о. изменения ДН турникетной антенны не превышают 1-2 дБ и, следовательно, не выходят за рамки требований действующего ГОСТа.
Расчеты ДН панельной антенны ДМВ диапазона, свободностоящей и установленной “внутри” антенны “двойной зигзаг” 1 ТВК, показывают, что влияние антенны “двойной зигзаг” на форму ДН панельной антенны также незначительное. Это объясняется тем, что вибраторы антенны “двойной зигзаг” располагаются друг от друга на расстоянии 1-2 м (2-3 длины волны ДМВ диапазона), а диаметр труб вибраторов (7-8 см) значительно меньше длины волны ДМВ диапазона и, следовательно, для сигнала панельной антенны ДМВ конструкция антенны “двойной зигзаг” является практически прозрачной и не приводит к искажениям ДН.
Расчеты ДН панельной антенны III диапазона, установленной ниже антенны типа “двойной зигзаг” и панельной антенны IV-V диапазонов, показывают, что при поэтажном размещении указанные антенны не затеняют друг друга и, следовательно, не оказывают взаимного влияния на формы азимутальных ДН друг друга.
В результате экспериментальной установки антенной системы на одной из действующих телевизионных башен результат оказался положительным.
В настоящее время готовится штатная антенная система для установки на ряде действующих телерадиовещательных башен.
Формула изобретения
1. Антенная система, установленная на трубе верхней площадки башни, содержащая турникетную антенну I или II телевизионных диапазонов или УКВ ЧМ радиовещания, отличающаяся тем, что турникетная антенна выполнена из зигзагообразных вибраторов и вынесена на кронштейнах от трубы вверх и на расстояние, позволяющее на трубе дополнительно поэтажно расположить несколько панельных антенн IV-V и III диапазонов, при этом антенны IV-V диапазонов установлены на трубе на уровне середины конструкции турникетной антенны, а антенна III диапазона установлена на трубе ниже расположения кронштейнов турникетной антенны, кроме того, все антенны выполнены из материалов на основе сплавов алюминия.
2. Антенная система по п.1, отличающаяся тем, что панели антенн IV-V и III диапазонов выполнены в виде решетчатых рам с закрепленными на них излучателями, при этом панели установлены вокруг трубы и закреплены на ней при помощи кронштейнов.
3. Антенная система по п.2, отличающаяся тем, что излучатели антенн IV-V диапазона и узлы запитки излучателей антенны III диапазона закрыты индивидуальными защитными радиопрозрачными чехлами.
4. Антенная система по п.1, отличающаяся тем, что все антенны выполнены широкополосными.
РИСУНКИ
|
|