|
|
(21), (22) Заявка: 2005140114/06, 05.04.2004
(24) Дата начала отсчета срока действия патента:
05.04.2004
(30) Конвенционный приоритет:
22.05.2003 US 10/444,469
(43) Дата публикации заявки: 10.05.2006
(46) Опубликовано: 20.09.2008
(56) Список документов, цитированных в отчете о поиске:
US 4278501 A, 14.07.1981. RU 2248051 C1, 10.03.2005. RU 2248631 C1, 20.03.2005. RU 2079171 C1, 10.05.1997. SU 392789 A, 23.04.1977. US 4534933 A, 13.08.1985.
(85) Дата перевода заявки PCT на национальную фазу:
22.12.2005
(86) Заявка PCT:
US 2004/010444 (05.04.2004)
(87) Публикация PCT:
WO 2004/105956 (09.12.2004)
Адрес для переписки:
129010, Москва, ул. Б.Спасская, 25, стр.3, ООО “Юридическая фирма Городисский и Партнеры”, пат.пов. Г.Б. Егоровой, рег.№ 513
|
(72) Автор(ы):
СПЭРРОУ Джеймс А. (US), АЛЕШИН Юрий (US), СЛЕПЦОВ Алексей (US)
(73) Патентообладатель(и):
ВЕСТИНГХАУС ЭЛЕКТРИК КОМПАНИ ЛЛС (US)
|
(54) ВЫСОКОЭНЕРГЕТИЧЕСКАЯ ПОГЛОЩАЮЩАЯ НАСАДКА ДЛЯ ТЕПЛОВЫДЕЛЯЮЩЕЙ СБОРКИ ЯДЕРНОГО РЕАКТОРА
(57) Реферат:
Устройство предназначено для использования в ядерных реакторах. Высокоэнергетическая поглощающая насадка для тепловыделяющей сборки, в которой используется верхний удлиненный цилиндрический корпус и нижний удлиненный цилиндрический корпус, перемещающийся в верхнем цилиндрическом корпусе. Верхний и нижний корпуса смещены друг от друга посредством множества предельных пружин, которые ограничены продольно перемещающимся поршнем, перемещение которого в верхнем направлении ограничено стопором в верхнем цилиндрическом корпусе. Энергия, сообщаемая насадке регулирующим стержнем, поглощается, в основном, пружинами и гидравлическим действием поршня в насадке. Ударные нагрузки во время аварийного отключения поглощаются без повреждения насадки, тепловыделяющей сборки и/или сборки регулирующих стержней. 3 н. и 12 з.п. ф-лы, 1 ил.
Область техники
Настоящее изобретение относится к насадкам для ядерной тепловыделяющей сборки, которые согласовывают различия в тепловом расширении и росте излучения тепловыделяющих сборок и других элементов реактора и, в частности, для модификации расширяемой насадки тепловыделяющей сборки для использования в реакторах, ранее содержащих компоненты, выполненные, по существу, из одинаковых материалов.
Предшествующий уровень техники
В ядерных реакторах, разработанных в бывшем Советском Союзе, активная зона ядерного реактора собрана из большого числа удлиненных тепловыделяющих сборок, каждая из которых состоит из множества тепловыделяющих элементов, размещенных в шестиугольной решетке, образованной множеством решеток, размещенных в пространстве вдоль тепловыделяющих элементов и закрепленных на направляющих наконечниках для регулирующих стержней, выполненных из нержавеющей стали. Направляющие наконечники для регулирующих стержней, выполненные из нержавеющей стали, проходят над и под концами тепловыделяющих элементов и прикрепляются к верхней и нижней насадкам соответственно. Тепловыделяющие сборки установлены в корпусе реактора таким образом, чтобы нижние насадки находились на плите системы. Верхняя плита системы находится на верхних насадках.
Верхние насадки в советской конструкции неподвижно прикреплены к направляющим наконечникам регулирующих стержней тепловыделяющей сборки, выполненным из нержавеющей стали. Эти сложные насадки выполняют несколько функций. Во-первых, они располагают сборку регулирующих стержней относительно направляющих трубок в пределах активной зоны, чтобы зафиксировать положение пучка регулирующих стержней относительно верхней пластины системы. Сборка регулирующих стержней располагает регулирующие стержни, которые загружаются внутрь тепловыделяющей сборки, как комплект или кластер.
Советская насадка также ослабляет скорость регулирующих стержней, используя пружины для отключения энергии, когда стержни сборки регулирующих стержней падают в активную зону ядерного реактора во время экстренного отключения, обычно известного как «аварийная защита». Насадка также обеспечивает подпружинивание для поддержки внутренних элементов. Когда верхняя плита системы опускается на насадки, она сдавливает пружину насадки. Кроме того, советская насадка предназначена для защиты регулирующих стержней, когда тепловыделяющая сборка удаляется из корпуса реактора. При этих условиях сборка регулирующих стержней находится или около, или под верхней кромкой насадки. И наконец, советская конструкция верхней насадки позволяет управлять тепловыделяющей сборкой при удалении плиты путем передачи нагрузок через насадку.
Следовательно, советская насадка сконструирована для работы в двух состояниях: свободном и сжатом. Поскольку для наконечников советской тепловыделяющей сборки используется нержавеющая сталь, относительное разделение между внутренней частью корпуса реактора и тепловыделяющими сборками остается постоянным после установки сборки. Нагрузка пружины такова, что насадки могут обеспечивать интервалы, а подпружинивание также как положение сборки регулирующих стержней фиксируется, чтобы все функции были статичными. В результате насадка имеет встроенные точки отсчета, вокруг которых размещены внутренние элементы. Наконечники из нержавеющей стали, используемые в советской конструкции, повышали стоимость тепловыделяющих сборок вследствие их степени поглощения нейтронов, кроме того, их гораздо труднее прикрепить к решеткам тепловыделяющих сборок. В западных тепловыделяющих сборках используется сплав циркония для наконечников, что значительно снижает стоимость. Однако сплав циркония имеет отличную от нержавеющей стали, из которой выполнен корпус реактора, константу теплового расширения, и увеличивается в размере во время излучения. Расходуемые насадки, которые согласовывают эти вариации в размерах различных компонентов в реакторе, раскрыты, например, в патентах США: 4534933; 4687619; 4702882 и 4986959. Однако такие насадки используются в реакторах, в которых верхняя плита системы устанавливается на опоре в форме периферического уступа внутри корпуса реактора. В советском реакторе плита системы установлена и поддерживается на насадках тепловыделяющей сборки.
Как указано выше, насадка тепловыделяющей сборки советской конструкции постоянно закреплена на заглушенных трубках тепловыделяющей сборки. В вышеупомянутых патентах описаны насадки тепловыделяющих сборок, в патенте США 5479464 эта технология выводится на другую ступень в использовании сменных насадок тепловыделяющих сборок для советской конструкции реакторной насадки. Однако замена сплава циркония на нержавеющую сталь в некоторых тепловыделяющих компонентах, таких как заглушенные трубки, в которых перемещаются регулирующие стержни, требует дальнейшей модификации для гарантии того, что ударные нагрузки, испытываемые сборками, могут быть поглощены без повреждения этих сборок или элементов плиты, например, в советском реакторе типа ВВЭР-1000, где при аварийном удалении регулирующих стержней они падают с большой скоростью и соударяются с насадкой тепловыделяющей сборки. В этой модели не используется амортизатор или любое другое гидравлическое механическое устройство для минимизации этих воздействий. В устройстве, описанном в патенте США 5479464, для поглощения некоторых из этих воздействий используются пружины. Однако желательно наличие дополнительного средства для поглощения ударной нагрузки, а также самой нагрузки. При срабатывании аварийной защиты реактора типа ВВЭР-1000 советского производства пучок регулирующих стержней и его траверса падают в тепловыделяющую сборку. В стандартной западной конструкции тепловыделяющей сборки приблизительно за два фута до полного проникновения регулирующих стержней в тепловыделяющую сборку концы регулирующих стержней входят в небольшую по диаметру часть заглушенной трубки, называемую амортизатором. Этот амортизатор примерно на один (1) миллиметр больше графитового стержня. Поскольку во время аварийного отключения регулирующие стержни двигаются очень быстро, в этой точке создается большой объем воды, который должен увеличится после падения регулирующих стержней, чтобы создать для них пространство в амортизаторе. Этот процесс заставляет быстро сокращать скорость падения регулирующих стержней, следовательно, снижать скорость соударения сборки регулирующих стержней на соединительную плиту насадки тепловыделяющей сборки.
Тепловыделяющие сборки стандартного реактора ВВЭР-1000 не оснащены амортизатором и поэтому сборки регулирующих стержней соударяются с насадкой тепловыделяющей сборки с гораздо большей скоростью. Поскольку кинетическая энергия равна массе, умноженной на скорость в квадрате, если скорость при соударении с реактором ВВЭР-1000 увеличивается в четыре раза, чем на стандартную западную конструкцию реактора с использованием воды, тогда общая энергия, которая должна быть поглощена после соударения в шестнадцать (16) раз больше.
Краткое изложение сущности изобретения
Технической задачей настоящего изобретения является создание новой высокоэнергетической поглощающей насадки тепловыделяющей сборки ядерного реактора, которая обеспечит, чтобы ударные нагрузки, ожидаемые во время аварийного отключения, были поглощены без повреждения насадки, тепловыделяющей сборки и/или сборки регулирующих стержней.
Кроме того, задачей изобретения является создание расширяемой высокоэнергетической насадки тепловыделяющей сборки, которая обеспечит согласование расширения и удлинения элементов тепловыделяющей сборки, выполненных из циркониевого сплава при поддержке верхней плиты системы в фиксированном положении.
Кроме того, задачей изобретения является создание расширяемой высокоэнергетической насадки тепловыделяющей сборки, которая способна поглощать удар регулирующего стержня при надежной непрерывной поддержке верхней пластины системы в фиксированном положении.
Представленная задача согласно изобретению решена путем создания расширяемой насадки тепловыделяющей сборки, которая содержит цилиндрический корпус, имеющий один конец, на котором установлена верхняя плита системы, и второй конец. Цилиндрический корпус содержит распорную плиту, прикрепленную по окружности к внутренней стенке цилиндрического корпуса между первым и вторым концами и перекрывающую центральное отверстие цилиндрического корпуса. Распорная плита имеет центральное отверстие, через которое может проходить сборка верхней втулки плунжера, и множество периферийных вспомогательных отверстий, в которых могут перемещаться опорные трубы. Расширяемая насадка содержит подузел, содержащий цилиндрическую втулку, имеющую закрытый конец и открытый конец, который размещен с возможностью скольжения на втором конце корпуса. Подузел дополнительно содержит плиту для ввода стержней и опорные трубы, жестко прикрепляющие плиту для ввода стержней к втулке в фиксированном продольном положении. Плита ввода стержней снабжена отверстиями, проходящими вдоль опорных труб, которые расположены с возможностью скольжения в отверстиях.
Сборка верхней плунжерной втулки окружает и соединена с верхней частью центральной трубы и проходит через центральное отверстие в распорной плите. Верхняя плунжерная втулка содержит реактивную плиту, которая в основном перекрывает поперечное сечение цилиндрического корпуса и имеет отверстия для приема опорных труб. В самом верхнем положении реактивной плиты, смежной с распорной плитой, реактивная плита эффективно закрывает смежную поверхность распорной плиты. Пружины сдвигают верхнюю плунжерную втулку в центральном отверстии распорной плиты, сдвигают реактивную плиту относительно нижней поверхности распорной плиты и распорную плиту на определенное расстояние от открытого конца цилиндрической втулки.
После аварийного отключения сборка регулирующих стержней соударяется со сборкой верхней плунжерной втулки, сообщая ей движение в направлении к закрытому концу втулки. Гидравлическое взаимодействие между распорной плитой и реактивной плитой, гидравлическое сопротивление, вызванное вытеснением воды под реактивную плиту, поскольку реактивная плита движется вниз, и сжатие пружин, поскольку сборка верхней плунжерной втулки движется в направлении к закрытому концу втулки, поглощает значительное количество энергии пучка регулирующих стержней, поскольку регулирующие стержни приближаются к нижней части наконечников труб в тепловыделяющей сборке.
Предпочтительно, движение цилиндрического корпуса в сторону расширения, т.е. в сторону от втулки, ограничивается на заданном расстоянии от втулки для гарантии того, что сборка цилиндрического корпуса не будет перемещаться от цилиндрической втулки.
В предпочтительном варианте воплощения пружины окружают опорные трубы и центральную трубу и проходят между закрытым концом втулки и реактивной плитой. Предпочтительно, пружины должны быть центрированы и удалены от внешней стенки соответствующей опорной и центральной трубы, которую она окружает, чтобы движение пружины не повредило поверхность трубы.
Желательно, чтобы некоторые пружины проходили через отверстия в реактивной плите и опирались на распорную плиту для поддержания верхней плиты системы во время аварийного отключения. Опорные трубы проходят к плите ввода регулирующих стержней. Наконечники труб соединены с возможностью перемещения плитой ввода регулирующих стержней в пределах тепловыделяющей сборки. Центральная труба установлена с возможностью скольжения в соответствующем цилиндрическом корпусе в пределах тепловыделяющей сборки. Таким образом, формируется интегральная сборка с подвижной расширяющей насадкой, способной поглощать большие ударные нагрузки пучка регулирующих стержней при аварийном отключении.
Краткое описание чертежей
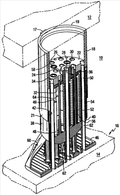
В дальнейшем изобретение поясняется описанием предпочтительных вариантов воплощения со ссылками на сопровождающий чертеж, где показан разрез расширяющейся высокоэнергетической поглощающей насадки тепловыделяющей сборки ядерного реактора согласно изобретению.
Описание предпочтительного варианта воплощения изобретения
Расширяемая подвижная насадка 10 тепловыделяющей сборки согласно изобретению содержит сборку цилиндрического корпуса 18, имеющую первый верхний конец 19 и второй нижний конец 21. Верхняя плита 12 сердечника опирается на верхний конец 19 цилиндрического корпуса 10. Шпонка 17 на верхнем конце 19 цилиндрического корпуса в комбинации с соответствующей шпонкой на диаметрально противоположной стороне корпуса используется в качестве зажимного узла для поднятия насадки 10. Шпонка 17 вставляется в соответствующую шпоночную канавку на верхней плите системы для фиксации положения тепловыделяющей сборки 16. Тепловыделяющая сборка 16 содержит матрицу 14 тепловыделяющих элементов, которая зажата между расширяемой верхней насадкой 10 и нижней насадкой (не показана). Сборка верхнего цилиндрического корпуса 18 содержит также распорную плиту 22, расположенную диаметрально в цилиндрическом корпусе 18, приблизительно посередине между верхним концом 19 и нижним концом 21 цилиндрического корпуса 18. Распорная плита 22 содержит ряд отверстий, включая увеличенное центральное отверстие 24, через которое проходит втулка 30 плунжера, и периферические радиально расположенные отверстия 26, через которые проходят с возможностью скольжения опорные трубы 50. Соединительные стержни 48 проходят от закрытого конца 40 нижней втулки и жестко крепятся на концах гайками 58. В этом примере имеется шесть соединительных стержней. Распорная плита 22 сборки верхнего цилиндрического корпуса 18 перемещается путем скольжения над опорными трубами 50 и соединительными стержнями 48 в соответствующих вспомогательных отверстиях 26, но поддерживается посредством торца 49 стержня и гаек 58.
Сборка, содержащая формированную цилиндрическую втулку 38, имеет нижний закрытый конец 40 и верхний открытый 42. Открытый конец 42 размещается при скольжении в нижнем конце 21 верхнего цилиндрического корпуса 18. Плита 46 ввода стержней жестко прикреплена к концу 40 нижней втулки 38 посредством опорных труб 50, которые проходят через закрытый конец нижней втулки и закреплены в соответствующих отверстиях в плите 46. Опорные трубы 50 закреплены в плите 46 ввода регулирующих стержней и в соответствующих отверстиях 62 на закрытом конце 40 нижней втулки путем пайки или сварки. Опорные трубы 50 проходят от плиты 46 ввода стержней через нижний конец 40 втулки и через отверстия в плите 34, где они заканчиваются в соответствующих отверстиях 26 в распорной плите 22. Указанные выше соединительные стержни 48 служат стопором, который предотвращает выход опорных труб из отверстий 26, и прикреплены к закрытому концу 40 нижней втулки. Удерживающие стержни не позволяют опорным трубам 50 скользить в отверстиях 26 в распорной плите 22, когда на распорную плиту 22 давит вес верхней плиты 12 системы, как будет объяснено ниже. Плита 46 ввода стержней предназначена для соединения сборки труб с втулками в тепловыделяющей сборке посредством промежуточной контровочной втулки. Периферийная часть плиты ввода стержней поддерживается множеством опор 60, которые расположены между и прикреплены одним концом к нижнему концу формованной цилиндрической втулки 38, а другим концом – к плите 46 ввода стержней.
Сборка верхней втулки 30 окружает, прикреплена к центральной трубе 28 и может быть сформирована за одно целое с ней. Сборка верхней втулки 30 содержит реактивную плиту 32, которая проходит до внутренних стенок сборки верхнего цилиндрического корпуса в верхнем положении, по существу примыкает к нижней поверхности распорной плиты 22. Реактивная плита 32 содержит отверстия 34, через которые проходят опорные трубы 50. Часть отверстий 34 в плите меньше чем отверстий 36 для обеспечения зазора для пружин, которые будут описаны ниже.
Витые пружины 52 и 54 охватывают часть, если не все опорные трубы 50 и центральную трубу 28, и проходят от положения, проксимального к закрытому концу 40 до реактивной плиты 32 для пружин 52 и до нижнего конца плиты 22 для пружин 54. Увеличенные отверстия 36 в реактивной плите 32 позволяют реактивной плите 32 перемещаться вниз без сжатия пружин 54. Для удобства производства предусмотрен ограничитель 56 для пружин, чтобы пружины 52 и 54 были одной длины. Кроме того, центрирующая пружинная шайба 64 предусмотрена вокруг опорных труб 50 для центрирования пружин вокруг шайб и для того, чтобы не позволить пружинам царапать внешние стенки опорных труб 50. Следует учесть, что аналогичные шайбы могут быть предусмотрены для центральной трубы 28. Кроме того, пружины могут быть предусмотрены для окружения части или всех опорных труб, а количество и размещение пружин определяется из нагрузки, которая может быть приложена, и баланса, который будет достигаться, чтобы сборка цилиндрического корпуса 18 перемещалась плавно над сборкой нижней цилиндрической втулки 38, когда верхняя плита установлена в свое положение и это положение поддерживается во время аварийного отключения во время поглощения части добавленной нагрузки, внесенной при экстренном выключении. В предпочтительном варианте воплощения изобретения имеется восемнадцать опорных труб, дополнительно к центральной трубе, которые снабжены пружинами. Три пружины из них проходят через реактивную плиту 32 и упираются в нижнюю поверхность распорной пластины 22. Когда тепловыделяющая сборка 16 загружается в активную зону реактора, и верхняя плита 12 опускается, сборка цилиндрического корпуса 18 перемещается в нижнем направлении. Сборка верхнего цилиндрического корпуса 18 с помощью распорной плиты 22 давит вниз на реактивную плиту 32 и три пружины 54, которые в зависимости от их жесткости, могут отклонить все девятнадцать пружин, по меньшей мере частично, в направлении донной части сборки. Это действие в комбинации с предварительной нагрузкой на пружины передает усилие распора на тепловыделяющую сборку 16, которая во время работы опускается на нижнюю плиту системы. Торцы 49 соединительных стержней функционируют как упор ограничения хода, поскольку реактивная плита 32 опускается вниз и контактирует с торцом 49 соединительного стержня.
Во время экстренного отключения пучок регулирующих стержней падает до тех пор, пока не столкнется со сборкой втулки 30 плунжера и затем опускает всю реактивную плиту 32. Когда это случается, происходят три вещи: первое, шестнадцать пружин 52 из девятнадцати прижимных пружин начинают отклоняться в направлении данной части сборки, что противодействует нисходящей кинетической энергии пучка регулирующих стержней; второе, поскольку верхняя поверхность реактивной плиты 32 движется в направлении от нижней поверхности распорной плиты 22, потребуется большая сила для гидравлического отделения двух пластин. Это гидравлическое усилие также поглощает значительное количество энергии и помогает замедлить падение пучка регулирующих стержней; третье, поскольку нижняя поверхность реактивной плиты 32 начинает двигаться вниз, объем между этой пластиной и сборкой 38 формованной, цилиндрической втулки уменьшается и вода должна уйти из этой области. Хотя существует несколько путей утечки воды, когда скорость опускания высока, существует относительно высокое давление, которое помогает замедлить пучок регулирующих стержней. Эти три условия в комбинации дают в результате удовлетворительное замедление пучка регулирующих стержней до любого жесткого столкновения без повреждения индивидуальных элементов насадки тепловыделяющей сборки или сборки регулирующих стержней.
Следовательно, высокоэнергетическая поглощающая насадка тепловыделяющей сборки согласно изобретению поглощает большое количество энергии пучка регулируемых стержней и траверсу регулирующего стержня и останавливает движение вниз сборки регулирующих стержней в пределах имеющегося пространства без повреждения насадки тепловыделяющей сборки или сборки регулирующих стержней. Поглощение энергии имеет место в результате комбинации механических отклонений пружины, которые происходят после удара и гидравлического демпфирования от разделения двух плит, которые являются внутренними для насадки тепловыделяющей сборки, также как и гидравлическое демпфирование от давления в середине камеры насадки тепловыделяющей сборки.
Модификации и альтернативные варианты могут быть предложены согласно изобретению.
Формула изобретения
1. Высокоэнергетическая поглощающая насадка для ядерной тепловыделяющей сборки, имеющая опорные трубы, проходящие через нее, по меньшей мере, частично, причем регулирующие стержни, поддерживаемые сборкой регулирующих стержней подвижны, содержащая цилиндрический корпус, имеющий первый конец и второй конец, и распорную плиту, прикрепленную по окружности к внутренней стенке цилиндрического корпуса между первым и вторым концами цилиндрического корпуса и перекрывающую центральное отверстие в цилиндрическом корпусе, причем указанная распорная плита имеет верхнюю лицевую часть, направленную к первому концу корпуса, нижнюю поверхность, направленную ко второму концу корпуса, и центральное отверстие, через которое проходит сборка верхней плунжерной втулки, а также множество вспомогательных отверстий, в которых перемещаются опорные трубы, сборку, содержащую цилиндрическую втулку, имеющую закрытый конец и открытый конец, причем открытый конец установлен с возможностью скольжения у второго конца корпуса, плиту ввода регулирующих стержней и опорные трубы, жестко закрепляющие плиту ввода регулирующих стержней к указанной втулке, при этом в фиксированном продольно, выровненном пространственном положении плита ввода регулирующих стержней имеет отверстия, параллельные указанным опорным трубам, которые к ней прикреплены, сборку верхней плунжерной втулки, окружающую и соединенную с центральной трубой в ее верхней части и проходящую, по меньшей мере, частично через центральное отверстие в распорной плите, содержащую реактивную плиту, существенно перекрывающую центральное отверстие в цилиндрическом корпусе и имеющую отверстия для выравнивания и размещения при скольжении опорных труб, и в верхнем положении прилегающую к распорной плите, причем реактивная плита, в основном, закрывает нижнюю сторону распорной плиты, пружинное средство для смещения верхней плунжерной втулки, по меньшей мере, частично в пределах или ниже центрального отверстия распорной плиты, для смещения реактивной плиты в сторону от нижней поверхности распорной плиты и для смещения распорной плиты на определенное расстояние от закрытого конца цилиндрической втулки.
2. Высокоэнергетическая поглощающая насадка по п.1, отличающаяся тем, что опорные трубы путем скольжения проходят через соответствующие отверстия в распорной плите, включая стопорный стержень, который предотвращает выход опорной трубы из соответствующего отверстия в распорной плите, не допуская отделение цилиндрического корпуса от цилиндрической втулки.
3. Высокоэнергетическая поглощающая насадка по п.2, отличающаяся тем, что стопорный стержень проходит через реактивную плиту и распорную плиту.
4. Высокоэнергетическая поглощающая насадка по п.1, отличающаяся тем, что центральная труба путем скольжения проходит через отверстие в закрытом конце втулки.
5. Высокоэнергетическая поглощающая насадка по п.4, отличающаяся тем, что пружинное средство содержит витую пружину и, по существу, проходит от закрытого конца втулки к реактивной плите для смещения реактивной плиты относительно распорной плиты.
6. Высокоэнергетическая поглощающая насадка по п.5, отличающаяся тем, что дополнительно содержит множество витых пружин, окружающих, по меньшей мере, несколько опорных труб, по существу, проходящих от закрытого конца втулки к реактивной плите и, по существу, заканчивающихся на реактивной плите или ее продолжении или выемке для смещения реактивной плиты в направлении распорной плиты.
7. Высокоэнергетическая поглощающая насадка по п.6, отличающаяся тем, что, по меньшей мере, часть опорных труб, которые имеют витые пружины, окружающие их часть, снабжены распорками, для центрирования пружины, не допуская контакта пружины со стенкой опорной трубы.
8. Высокоэнергетическая поглощающая насадка по п.7, отличающаяся тем, что распорка является втулкой, которая окружает опорную трубу, причем втулки установлены между внешней поверхностью опорных труб и внутренней поверхностью соответствующей пружины.
9. Высокоэнергетическая поглощающая насадка по п.1, отличающаяся тем, что содержит опоры, обеспечивающие жесткое крепление периферийных частей плиты ввода регулирующих стержней к втулке.
10. Высокоэнергетическая поглощающая насадка по п.6, отличающаяся тем, что, по меньшей мере, часть пружин проходят через реактивную плиту и заканчиваются напротив распорной плиты или ее продолжении или выемке.
11. Высокоэнергетическая поглощающая насадка по п.10, отличающаяся тем, что пружины, проходящие через реактивную плиту и заканчивающиеся на части распорной плиты, имеют значительную прочность для поддержки цилиндрического корпуса под весом верхней плиты системы от перемещения в направлении закрытого конца втулки, когда пучок регулирующих стержней отделяется и соударяется и приводит в движение верхнюю втулку плунжера в направлении закрытого конца втулки.
12. Ядерная тепловыделяющая сборка, имеющая матрицу тепловыделяющих элементов, которые установлены между верхней насадкой и нижней насадкой, причем верхняя насадка содержит высокоэнергетическую поглощающую верхнюю насадку, имеющую опорные трубы, проходящие, по меньшей мере, частично через нее, причем регулирующие стержни, поддерживаемые сборкой пучка регулирующих стержней, перемещаются путем скольжения, при этом расширяющаяся насадка дополнительно содержит цилиндрический корпус, имеющий первый конец и второй конец и распорную плиту, прикрепленную по окружности к внутренней стенке цилиндрического корпуса между первым и вторым концами цилиндрического корпуса и перекрывающую центральное отверстие в цилиндрическом корпусе, причем распорная плита имеет верхнюю лицевую часть, направленную к первому концу корпуса, нижнюю поверхность, направленную ко второму концу корпуса, и центральное отверстие, через которое проходит сборка плунжерной втулки, и множество вспомогательных отверстий для перемещения опорных труб, сборку, содержащую цилиндрическую втулку, имеющую закрытый конец и открытый конец, причем открытый конец установлен с возможностью скольжения у второго конца корпуса, плиту ввода регулирующих стержней, опорные трубы, жестко закрепляющие указанную плиту ввода регулирующих стержней к указанной втулке в фиксированном продольно выровненном пространственном положении, при этом плита ввода регулирующих стержней имеет отверстия, параллельные указанным опорным трубам, которые к ней прикреплены, сборку верхней плунжерной втулки, окружающую и соединенную с центральной трубой в ее верхней части, и проходящую, по меньшей мере, частично через центральное отверстие в распорной плите, содержащую реактивную плиту, существенно перекрывающую центральное отверстие в цилиндрическом корпусе и имеющую отверстия для выравнивания и размещения при скольжении опорных труб, и в верхнем положении прилегающую к распорной плите, причем реактивная плита в основном закрывает нижнюю сторону распорной плиты, пружинное средство для сдвига верхней плунжерной втулки, по меньшей мере, частично в пределах или ниже центрального отверстия распорной плиты, для смещения реактивной плиты в сторону от нижней поверхности распорной плиты, и для смещения распорной плиты на определенное расстояние от закрытого конца цилиндрической втулки.
13. Ядерная тепловыделяющая сборка, имеющая высокоэнергетическую поглощающую насадку, содержащая удлиненный верхний цилиндрический корпус, удлиненный нижний цилиндрический корпус, имеющий открытый конец и закрытый конец, причем открытый конец перемещается путем скольжения в верхнем цилиндрическом корпусе; поршень, перемещающийся продольно в нижнем цилиндрическом корпусе, причем движение поршня вверх ограничено стопором в верхнем цилиндрическом корпусе, пружинный ограничитель, установленный враспор между закрытым концом нижнего цилиндрического корпуса и поршнем, для сдвига нижнего цилиндрического корпуса от верхнего цилиндрического корпуса.
14. Ядерная тепловыделяющая сборка по п.13, отличающаяся тем, что содержит ограничитель для ограничения расстояния, чтобы верхний цилиндрический корпус мог продольно перемещаться от нижнего цилиндрического корпуса.
15. Ядерная тепловыделяющая сборка по п.13, отличающаяся тем, что содержит вторую пружину, установленную враспор между закрытым концом нижнего цилиндрического корпуса и верхним цилиндрическим корпусом, причем вторая пружина проходит через отверстие в поршне.
РИСУНКИ
|
|