|
|
(21), (22) Заявка: 2007112305/28, 03.04.2007
(24) Дата начала отсчета срока действия патента:
03.04.2007
(46) Опубликовано: 20.09.2008
(56) Список документов, цитированных в отчете о поиске:
RU 2239853 C1, 10.11.2004. RU 2191372 C1, 20.10.2002. SU 1784893 A1, 30.12.1992. SU 1679337 A1, 23.09.1991. DE 3431624 A, 17.01.1985. US 4179917 A, 25.12.1979.
Адрес для переписки:
121059, Москва, Бережковская наб., 22, ФГУП “КБОМ”
|
(72) Автор(ы):
Володин Юрий Григорьевич (RU), Халтурин Геннадий Нестерович (RU)
(73) Патентообладатель(и):
Федеральное государственное унитарное предприятие “Конструкторское бюро общего машиностроения имени В.П. Бармина” (RU)
|
(54) ГИГРОМЕТР
(57) Реферат:
Изобретением относится к технике измерения влажности газов. Преимущественная область использования – измерение влажности газа по точке росы. Гигрометр содержит измерительную камеру, термобатарею, конденсационное зеркало, установленное в контакте с термобатареей, дроссельное устройство, каналы для подвода и отвода хладагента, детектор точки росы, органы управления и контроля. При этом в нем установлено второе конденсационное зеркало, сообщенное с дроссельным устройством и каналами для подвода и отвода хладагента, рабочая поверхность которого параллельна рабочей поверхности первого конденсационного зеркала. Причем конденсационные зеркала установлены таким образом, что обеспечивается возможность многократного отражения световых лучей от их рабочих поверхностей. Технический результат – повышение точности измерений точки росы газа и расширение диапазона измерений. 1 ил.
Изобретение относится к технике измерения влажности газов. Преимущественная область использования – измерение газов по точке росы. Известен гигрометр, содержащий измерительную камеру, конденсационное зеркало, дроссельное устройство, каналы для подвода и отвода хладагента, детектор точки росы, органы управления и контроля [1].
В этом гигрометре охлаждение конденсационного зеркала для измерения точки росы газа может производиться путем дросселирования сжатых газов или с помощью охлаждающих агентов. Использование для охлаждения конденсационного зеркала электрической энергии (термобатарей) не предусмотрено, что ограничивает область его использования.
Известен гигрометр, содержащий измерительную камеру, термобатарею, конденсационное зеркало, установленное в контакте с термобатареей, дроссельное устройство, каналы для подвода и отвода хладагента, детектор точки росы, органы управления и контроля [2], принятый за прототип.
В данном гигрометре охлаждение конденсационного зеркала для измерения точки росы газа может производиться путем дросселирования сжатых газов, с помощью охлаждающих агентов, а также с помощью термобатареи (электрической энергии), что существенно расширяет область его использования. Недостаток этого гигрометра заключается в следующем. Конденсационное зеркало имеет сравнительно большой диаметр и, соответственно, сравнительно большую массу из-за наличия кольцевой проточки, полость которой сообщена с открытым участком охлаждаемой поверхности конденсационного зеркала. Вследствие этого увеличивается неравномерность температур по рабочей поверхности конденсационного зеркала, в результате чего снижается точность измерений точки росы газа. В случае низких значений точки росы газа, например, ниже минус 50°С, при одноразовом отражении световых лучей от рабочей поверхности конденсационного зеркала, существенно снижается точность детектирования момента образования росы. Кроме того, с увеличением массы конденсационного зеркала, охлаждаемого с помощью термобатареи, существенно уменьшается диапазон достигаемых отрицательных температур, при которых возможно измерение точки росы газа.
Настоящее изобретение направлено на решение задачи по улучшению технических характеристик гигрометра.
Технический результат, который может быть получен при реализации изобретения, заключается в повышении точности измерений точки росы газа и в расширении диапазона отрицательных температур конденсационного зеркала, охлаждаемого с помощью термобатарей, при которых возможно измерение точки росы газа.
Указанный результат достигается тем, что в гигрометре, содержащем измерительную камеру, термобатарею, конденсационное зеркало, установленное в контакте с термобатареей, дроссельное устройство, каналы для подвода и отвода хладагента, детектор точки росы, органы управления и контроля, установлено второе конденсационное зеркало, сообщенное с дроссельным устройством и каналами для подвода и отвода хладагента, рабочая поверхность которого параллельна рабочей поверхности первого конденсационного зеркала.
Отличительные от прототипа признаки изобретения заключаются в том, что в предлагаемом гигрометре установлено второе конденсационное зеркало, сообщенное с дроссельным устройством и каналами для подвода и отвода хладагента, рабочая поверхность которого параллельна рабочей поверхности первого конденсационного зеркала. В результате этого конденсационные зеркала могут быть выполнены с существенно меньшими размерами и, соответственно, с существенно меньшей массой. Кроме того, при наличии двух конденсационных зеркал обеспечивается возможность многократного отражения световых лучей от их рабочих поверхностей. Вследствие этого существенно повышается точность измерений точки росы газа.
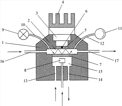
Вариант практической реализации предлагаемого изобретения иллюстрируется чертежом, на котором показан гигрометр в разрезе.
Гигрометр включает корпус 1, выполненный из теплоизоляционного материала, измерительную камеру 2, термобатарею 3 с радиатором охлаждения 4, конденсационное зеркало 5, установленное на «холодном» спае термобатареи 3, контактный датчик температуры 6, конденсационное зеркало 7, дроссельное устройство 8, источник световых лучей 9, световод 10, фотоприемник 11, световод 12, канал для входа хладагента 13, канал для выхода хладагента 14, полость 15, входной трубопровод 16 и выходной трубопровод 17.
Контактный датчик температуры 6 выполнен с возможностью переключения для измерения температур конденсационного зеркала 5 или конденсационного зеркала 7. Для достижения более низких температур термобатарея 3 выполнена трехкаскадной. Вход и выход световодов 10, 12 направлены под углом к конденсационному зеркалу 7, обеспечивающим многократное отражение световых лучей от рабочих поверхностей конденсационных зеркал 5, 7, например, не менее пяти отражений. Источник световых лучей 9, световод 10, конденсационное зеркало 7, конденсационное зеркало 5, световод 12, фотоприемник 11 и электрическая схема (на чертеже не показана) представляет собой детектор точки росы.
Гигрометр работает следующим образом. Световые лучи, исходящие от источника световых лучей 9, по световоду 10 направляются на рабочую поверхность конденсационного зеркала 7. Многократно отражаясь от рабочих поверхностей конденсационных зеркал 7, 5, световые лучи по световоду 12 попадают в фотоприемник 11, вызывая электрический сигнал в цепи детектора точки росы. Одновременно с этим анализируемый газ по входному трубопроводу 16 подается в измерительную камеру 2 и, обтекая рабочие поверхности конденсационных зеркал 5, 7, по выходному трубопроводу 17 сбрасывается в атмосферу. Конденсационное зеркало 5 охлаждается с помощью термобатареи 3, а конденсационное зеркало 7 путем дросселирования сжатого газа или с помощью хладагентов.
Для охлаждения конденсационного зеркала 5 электрическое напряжение подводится к термобатарее 3, в результате чего «холодный» спай термобатареи 3 охлаждается, а тепло «горячего» спая с помощью радиатора охлаждения 4 отводится в атмосферу. При этом рабочая поверхность неохлаждаемого конденсационного зеркала 7 используется как отражатель световых лучей.
При охлаждении конденсационного зеркала 7 путем дросселирования сжатого газа сжатый газ подается в дроссельное устройство 8. После дросселирования охлажденный газ поступает в полость 15, обтекает нерабочую поверхность конденсационного зеркала 7, охлаждает его и затем по каналу для выхода хладагента 14 сбрасывается в атмосферу. При этом рабочая поверхность неохлаждаемого конденсационного зеркала 5 используется как отражатель световых лучей.
При охлаждении конденсационного зеркала 7 с помощью хладагентов их пары по каналу для входа хладагента 13 поступают в полость 15, обтекают нерабочую поверхность конденсационного зеркала 7, охлаждают его и затем по каналу для выхода хладагента 14 сбрасываются в атмосферу. При этом рабочая поверхность неохлаждаемого конденсационного зеркала 5 используется как отражатель световых лучей.
В момент образования росы на рабочей поверхности охлаждаемого конденсационного зеркала 5 или 7 интенсивность световых лучей, попадающих в фотоприемник 11, в результате рассеяния света скачкообразно уменьшается. Температура охлаждаемого конденсационного зеркала 5 или 7, измеряемая в этот момент контактным датчиком температуры 6, принимается за точку росы анализируемого газа.
По сравнению с прототипом предлагаемый гигрометр позволяет существенно повысить точность измерений точки росы газа и расширить диапазон отрицательных температур конденсационного зеркала, охлаждаемого с помощью термобатарей, при которых возможно измерение точки росы газа.
Источники информации
1. Измеритель примесей в сжатых газах. Патент РФ №2191372, 20.10.02, 7 G01N 25/56.
2. Гигрометр точки росы (варианты). Патент РФ №2239853, 10.11.04. 7 G01W 01/11.
Формула изобретения
Гигрометр, содержащий измерительную камеру, термобатарею, конденсационное зеркало, установленное в контакте с термобатареей, дроссельное устройство, каналы для подвода и отвода хладагента, детектор точки росы, органы управления и контроля, отличающийся тем, что в нем установлено второе конденсационное зеркало, сообщенное с дроссельным устройством и каналами для подвода и отвода хладагента, рабочая поверхность которого параллельна рабочей поверхности первого конденсационного зеркала, конденсационные зеркала установлены таким образом, что обеспечивается возможность многократного отражения световых лучей от их рабочих поверхностей.
РИСУНКИ
|
|