Изобретение относится к машиностроению, в частности к гидроприводу или пневмоприводу, и может быть использовано в грузоподъемных механизмах с фиксацией груза при отсутствии рабочего давления, а также в зажимных устройствах в технологической оснастке. Домкрат содержит корпус с размещенным в нем поршнем со штоком, выполненным с несамотормозящейся резьбой. На штоке закреплен подпружиненный поводок для передачи крутящего момента винту, сопрягаемому самотормозящейся резьбой, шаг которой равен шагу резьбы штока, с крышкой корпуса и имеющему паз для размещения упомянутого поводка, и выходной элемент, установленный на штоке с охватом крышки. Согласно изобретению на штоке несамотормозящаяся резьба является наружной, входящей во втулку крышки корпуса. Винт с самотормозящейся резьбой размещен в крышке снаружи корпуса. Конец штока, связанный с поршнем, имеет сферическую поверхность для уменьшения трения. Техническим результатом изобретения является повышение коэффициента полезного действия устройства и расширение его технологических возможностей за счет использования в качестве рабочей среды как жидкости, так и сжатого воздуха. 2 ил.
Изобретение относится к машиностроению, в частности к гидроприводу или пневмоприводу, и может быть использовано в грузоподъемных механизмах с фиксацией груза при отсутствии рабочего давления, а также в зажимных устройствах в технологической оснастке.
Недостатком известного устройства является низкий коэффициент полезного действия (КПД) за счет того, что рабочее усилие на выходе определяется с учетом больших потерь на трение в самотормозящейся винтовой паре.
Наиболее близким устройством к заявленному изобретению по совокупности признаков является гидравлический домкрат, содержащий корпус с размещенным в нем поршнем с полым штоком и механизм фиксации, выполненный в виде двух соосных, связанных между собой винтовых пар равного шага с несамотормозящейся и самотормозящейся резьбами, дополнительный поршень и опору, установленную в полом штоке и взаимодействующую с выходным элементом. При этом винт несамотормозящейся пары неподвижно укреплен в корпусе, а полый шток подвижно соединен посредством несамотормозящейся резьбы с этим винтом. Дополнительный поршень установлен с охватом корпуса снаружи и возможностью перемещения полым штоком через опору и является упомянутым выходным элементом. При этом винт самотормозящейся пары подвижно установлен в крышке корпуса посредством самотормозящейся резьбы для размещения этой пары внутри полости корпуса, на полом штоке закреплен поводок для передачи крутящего момента винту самотормозящейся пары, на котором закреплен штифт и выполнен паз для этого поводка, а между штифтом и поводком установлена пружина сжатия для создания усилия в тангенциальном направлении (см. SU №2254289, опубл. 25.06.2005 г.). Данное устройство принято за прототип.
Признаки прототипа, являющиеся общими с заявленным изобретением, – корпус с размещенным в нем поршнем со штоком, выполненным с несамотормозящейся резьбой; на штоке закреплен подпружиненный поводок для передачи крутящего момента винту, сопрягаемому самотормозящейся резьбой с крышкой корпуса и имеющему паз для размещения упомянутого поводка; шаг резьбы винта равен шагу резьбы штока; выходной элемент, установленный на штоке с охватом крышки.
Недостатком известного устройства, принятого за прототип, является то, что в известном устройстве КПД снижается при подъеме груза за счет утечек рабочей среды через резьбу самотормозящейся винтовой пары из зоны высокого давления в зону низкого давления. Этот недостаток не позволяет использовать в качестве рабочей среды сжатый воздух. Устранение утечек рабочей среды традиционными решениями, например установкой телескопических втулок между крышкой и поршнем, усложняет устройство. Кроме того, снижает КПД устройства и трение, препятствующее вращению штока относительно поршня по кольцевой поверхности, внутренний диаметр которой больше наружного диаметра винта, укрепленного в корпусе.
Задачей изобретения является повышение коэффициента полезного действия устройства и расширение его технологических возможностей за счет использования в качестве рабочей среды как жидкости, так и сжатого воздуха.
Поставленная задача решается за счет того, что в известном устройстве, содержащем корпус с размещенным в нем поршнем со штоком, выполненным с несамотормозящейся резьбой, причем на штоке закреплен подпружиненный поводок для передачи крутящего момента винту, сопрягаемому самотормозящейся резьбой, шаг которой равен шагу резьбы штока, с крышкой корпуса и имеющему паз для размещения упомянутого поводка, и выходной элемент, установленный на штоке с охватом крышки, на штоке несамотормозящаяся резьба является наружной, входящей во втулку крышки корпуса, винт с самотормозящейся резьбой размещен в крышке снаружи корпуса, при этом конец штока, связанный с поршнем имеет сферическую поверхность для уменьшения трения.
Отличительные признаки предлагаемого устройства от прототипа – на штоке несамотормозящаяся резьба является наружной, входящей во втулку крышки корпуса; винт с самотормозящейся резьбой размещен в крышке снаружи корпуса; конец штока, связанный с поршнем имеет сферическую поверхность для уменьшения трения.
Благодаря размещению резьбы штока во втулке крышки корпуса и установке винта с самотормозящейся резьбой в крышке снаружи корпуса устраняются утечки рабочей среды через резьбу, что позволит повысить коэффициент полезного действия устройства и использовать в качестве рабочей среды как жидкость, так и сжатый воздух, следовательно, значительно расширит технологические возможности устройства. Благодаря тому, что конец штока, связанный с поршнем, имеет сферическую поверхность, уменьшается трение, препятствующее вращению штока, что тоже повышает КПД устройства.
Предлагаемое устройство иллюстрируется чертежами.
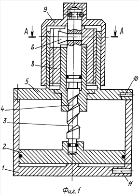
На фиг.1 изображен домкрат, продольный разрез.
На фиг.2 – разрез А-А.
Устройство содержит корпус 1, в котором размещен поршень 2 со штоком 3. Конец штока 3, связанный с поршнем 2 для уменьшения трения при его вращении, имеет сферическую поверхность. Шток 3 снабжен наружной несамотормозящейся резьбой, которой соединен с втулкой 4, неподвижно установленной в крышке 5 корпуса 1. На штоке 3 неподвижно установлен поводок 6, подпружиненный пружиной 7 относительно винта 8 (см. фиг.2). Винт 8 установлен снаружи корпуса, сопрягается подвижно самотормозящейся резьбой с крышкой 5 и имеет паз для размещения поводка 6 и пружины 7. Шаг резьбы винта 8 равен шагу резьбы штока 3. На штоке 3 установлен выходной элемент 9. Для защиты резьбы винта 8 от механических повреждений выходной элемент 9 охватывает по диаметру крышку 5. В корпусе 1 выполнены для подачи рабочей среды в подпоршневую и подштоковую полости каналы 10 и 11.
Устройство работает следующим образом.
Для подъема выходного элемента 9 рабочая среда подается в подпоршневую полость через канал 11, а подштоковая полость через канал 10 соединяется с атмосферой. Поршень 2 со штоком 3 и выходным элементом 9 перемещаются вверх совместно. Шток 3 прокручивается по несамотормозящейся резьбе относительно втулки 4 и поводком 6 усилием пружины 7 вращает винт 8. Так как шаг резьбы винта 8 и шаг резьбы штока 3 равны, винт 8 перемещается со штоком 3 и поршнем 2 совместно с одной скоростью. Винт 8 при этом за счет небольшого усилия пружины 7, достаточного для холостого прокручивания винта 8, поджимается торцом к выходному элементу 9 на всем пути его подъема без силовой нагрузки от груза.
При аварийном сбросе давления или прекращении подачи рабочей среды выходной элемент 9 не опустится вниз, так как находится в постоянном контакте с торцом винта 8, самотормозящаяся резьба которого фиксирует положение выходного элемента 9 с грузом.
Для перемещения поршня 2 с штоком 3 и выходным элементом 9 вниз рабочая среда под давлением подается в подштоковую полость через канал 10, а подпоршневая полость через канал 11 соединяется с атмосферой. Поршень 2 начнет перемещаться вниз, шток 3, проворачиваясь по резьбе и упираясь в вертикальную поверхность паза, будет вращать также и винт 8 в обратном направлении. Все подвижные детали займут исходное положение.
При перемещении выходного элемента 9 с грузом вниз резьбы винтовых пар будут нагружены весом груза, но это не вызовет затруднений, так как опускание груза с помощью винтовых пар осуществляется значительно меньшими усилиями в отличие от подъема. При использовании устройства в качестве зажимного устройства работа устройства осуществляется таким же образом, как и при перемещении груза.
Предлагаемое изобретение позволяет увеличить КПД устройства и расширить его технологические возможности за счет использования в качестве рабочей среды как жидкости, так и сжатого воздуха.
Домкрат, содержащий корпус с размещенным в нем поршнем со штоком, выполненным с несамотормозящейся резьбой, причем на штоке закреплен подпружиненный поводок для передачи крутящего момента винту, сопрягаемому самотормозящейся резьбой, шаг которой равен шагу резьбы штока, с крышкой корпуса и имеющему паз для размещения упомянутого поводка, и выходной элемент, установленный на штоке с охватом крышки, отличающийся тем, что на штоке несамотормозящаяся резьба является наружной, входящей во втулку крышки корпуса, винт с самотормозящейся резьбой размещен в крышке снаружи корпуса, при этом конец штока, связанный с поршнем, имеет сферическую поверхность для уменьшения трения.