|
|
(21), (22) Заявка: 2007118908/11, 21.05.2007
(24) Дата начала отсчета срока действия патента:
21.05.2007
(46) Опубликовано: 20.09.2008
(56) Список документов, цитированных в отчете о поиске:
SU 1402526 A1, 15.06.1988. US 5542809 A1, 06.08.1996. DE 10129571 A1, 31.10.2002. JP 2066011 A1, 06.03.1990.
Адрес для переписки:
660074, г.Красноярск, ул. Киренского, 26, Политехнический институт СФУ, патентно-информационный отдел (ПИО)
|
(72) Автор(ы):
Ковалев Валерий Александрович (RU), Демченко Игорь Иванович (RU), Юдин Алексей Владимирович (RU)
(73) Патентообладатель(и):
Федеральное государственное образовательное учреждение высшего профессионального образования “СИБИРСКИЙ ФЕДЕРАЛЬНЫЙ УНИВЕРСИТЕТ” (RU)
|
(54) УСТРОЙСТВО ДЛЯ ПОГРУЗКИ И ВЫГРУЗКИ ГРУЗОВ ИЗ ТРАНСПОРТНЫХ СРЕДСТВ
(57) Реферат:
Изобретение относится к устройствам для погрузки грузов в транспортные средства или выгрузки. Устройство для погрузки и выгрузки грузов из транспортных средств содержит смонтированную на основании основную платформу (2) с приводом подъема, на которой установлен с возможностью перемещения в горизонтальной плоскости выполненный в профиле Г-образной формы роликовый конвейер с грузонесущей лентой (7), огибающей ролики, связанные между собой шарнирными звеньями (6). Под грузонесущей лентой основной платформы, передняя часть которой выполнена П-образной в горизонтальной плоскости, установлена дополнительная платформа (9), в проемах которой размещены взаимодействующие с нижней частью грузонесущей ленты опорные ролики (11), соосно с которыми расположены ходовые ролики (12), размещенные в направляющих внутренних сторон каждой из ветвей основной платформы. На конце дополнительной платформы со стороны, обращенной к транспортному средству, закреплен упор с упорным роликом для взаимодействия с передней частью грузонесущей ленты. Привод подъема расположен горизонтально. Изобретение повышает эксплуатационные возможности. 1 з.п. ф-лы, 5 ил.
Изобретение относится к устройствам, предназначенным для механизированной погрузки и выгрузки пакетированных грузов, например, в контейнерах и на поддонах из транспортных средств.
Известно устройство для перегрузки штучных грузов (см. А.С. СССР №1062154, МПК В65G 67/08, 1983), содержащее смонтированные на конвейере стационарные направляющие, в которых расположена тележка с грузонесущей подъемной платформой, связанной с рамой тележки шарнирно закрепленными на ней рычагами, при этом оно снабжено закрепленными на направляющих и на тележке упорами, смонтированными с возможностью взаимодействия один с другим, причем конвейер связан с рамой тележки толкателем, тележка снабжена дополнительными направляющими, закрепленными на концах указанных стационарных направляющих и смонтированными с возможностью поворота в вертикальной плоскости.
Недостатком устройства является то, что оно не учитывает изменение габаритных параметров перевозимого груза, что приводит к дифференцированному выбору обслуживаемой клиентуры, кроме того, данное устройство имеет слишком сложную конструкцию, что усложняет работу по управлению им и увеличивается время простоя под грузовыми операциями.
Наиболее близким к заявляемому изобретению является устройство для погрузки и выгрузки грузов из транспортных средств (см. А.С. СССР №1402526, МПК В65G 67/08), содержащее смонтированную на основании подъемную платформу, на которой установлен с возможностью перемещения в горизонтальной плоскости роликовый конвейер, грузонесущую ленту, огибающую ролики указанного конвейера, которые выполнены надувными и связаны между собой шарнирными звеньями, при этом указанный конвейер выполнен в профиле Г-образной формы.
Недостатком устройства является необходимость постоянного изменения рабочего давления в надувных роликах. Это приводит к большим затратам времени при выполнении грузовых работ и снижает надежность устройства. Кроме того, при загрузке грузом транспортное средство с погрузо-разгрузочной высотой меньшей, чем минимальное расстояние нижней части ленты от опорной поверхности, происходит продольный «излом» в продольной плоскости на границе между задней частью ленты, располагаемой на платформе и рабочей частью ленты, располагаемой на транспортном средстве, это приводит к скачкообразному перемещению груза при переходе этой границы и снижает качество процесса выгрузки.
Задачей предлагаемого изобретения является сокращение времени погрузо-разгрузочных работ и повышение эксплуатационных возможностей устройства.
Задача решается тем, что устройство для погрузки и выгрузки грузов из транспортных средств, содержащее смонтированную на основании основную платформу с подъемным механизмом и приводом подъема, на которой установлен с возможностью перемещения в горизонтальной плоскости роликовый конвейер с грузонесущей лентой, огибающей ролики указанного конвейера, которые связаны между собой шарнирными звеньями, при этом указанный конвейер выполнен в профиле Г-образной формы, согласно изобретению снабжено дополнительной платформой, установленной под грузонесущей лентой с возможностью продольного перемещения относительно основной платформы, передняя часть которой выполнена П-образной в горизонтальной плоскости, на внутренних сторонах каждой из ветвей основной платформы выполнены направляющие для ходовых роликов, установленных на дополнительной платформе соосно с опорными роликами для взаимодействия последних с нижней частью грузонесущей ленты, смонтированных в проемах дополнительной платформы и расположенных по всей ее длине, причем дополнительная платформа снабжена упором, закрепленным на ее конце со стороны, обращенной к транспортному средству с установленным на нем упорным роликом для взаимодействия с передней частью грузонесущей ленты, причем привод подъема устройства расположен горизонтально.
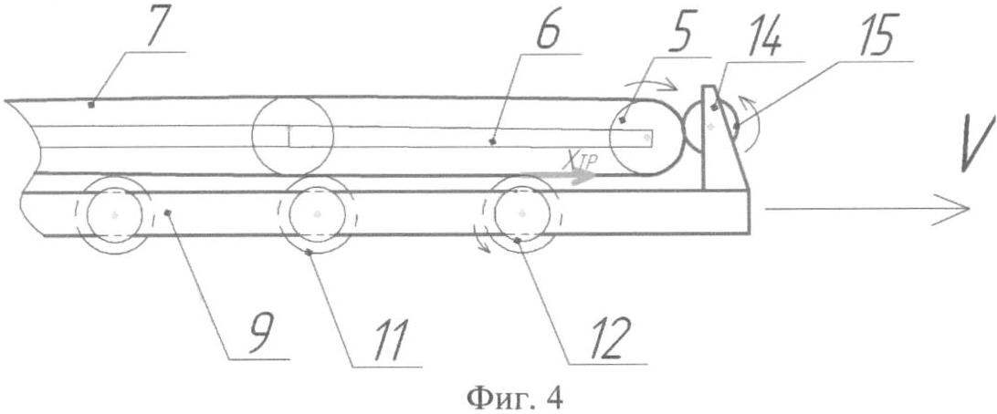
На фиг.1 показан общий вид устройства; на фиг.2 – вид сверху на фиг.1; на фиг.3 – разрез А-А на фиг.2; на фиг.4 – схема сил, действующих на дополнительную платформу при ее продольном перемещении, на фиг.5 – устройство при погрузке груза.
Устройство для погрузки и выгрузки грузов из транспортных средств содержит основание 1 (см. фиг.1), на котором смонтирована основная платформа 2 с подъемным механизмом 3 и приводом 4 подъема, установленного горизонтально вдоль основания 1 устройства. На основной платформе 2 установлен роликовый конвейер, содержащий ролики 5, шарнирно связанные между собой звеньями 6. Ролики 5 огибает грузонесущая лента 7. Передняя часть основной платформы 2 выполнена П-образной в горизонтальной плоскости, на внутренних сторонах каждой из ветвей которой выполнены направляющие 8 в виде пазов. Устройство снабжено дополнительной платформой 9, установленной под грузонесущей лентой 7 между ветвями основной платформы 2 с возможностью продольного перемещения относительно основной платформы 2. В дополнительной платформе 9 по всей длине ее на равных расстояниях выполнены проемы 10. В каждом из проемов 10 установлена ось, в центре которой размещен опорный ролик 11 для усиления толкающего действия передней части грузонесущей ленты 7 (см. фиг.2), а по концам оси дополнительной платформы 9 установлены ходовые ролики 12, взаимодействующие с направляющими 8. Для продольного перемещения дополнительной платформы 9 на ее конце со стороны, обращенной к транспортному средству 13 установлен упор 14 с упорным роликом 15 (см. фиг.5) для взаимодействия с передней частью грузонесущей ленты 7. Опорные ролики 11 за счет силы трения Хтр (см. фиг.4) между нижней частью ленты 7 и образующей опорных роликов 11 усиливают ее (ленты 7) толкающие действия. Для нормальной работы устройства должно обеспечиваться условие H
Устройство работает следующим образом.
Для загрузки транспортного средства грузом, например поддонами со стойками, включают привод вращения ролика 16. Грузонесущая лента 7 начинает перемещаться в направлении к транспортному средству 13. Так как холостая часть звеньев 6 с роликами 5 свисает с основной платформы 2, то она натягивает ленту 7 и последняя прижимается к роликам 5. Благодаря силе трения между лентой 7 и основной платформой 2 передняя часть ленты 7, передвигаясь, воздействует на упорный ролик 15 упора 14 дополнительной платформы 9, перемещая, таким образом, дополнительную платформу 9 в продольном направлении. Продольное перемещение дополнительной платформы 9 обеспечивается ходовыми роликами 12, которые, в свою очередь, передвигаясь по направляющим 8 основной платформы 2, обеспечивают выдвижение дополнительной платформы 9 на длину кузова транспортного средства.
Ввиду того, что ролики 5 объединены звеньями 6, холостая часть ленты 7 вытягивается на поверхность основной платформы 2, что компенсирует недостаток длины ленты 7. При достижении дополнительной платформы 9 заднего борта транспортного средства со стороны приводного ролика 16 поочередно устанавливают новые поддоны с грузом (см. фиг.5). Количество поддонов, устанавливаемых на ленту 7, принимают с учетом вместимости кузова транспортного средства. Затем при помощи привода подъема 4 и подъемного механизма 3 устройство опускают до установки поддонов стойками на грузовую платформу транспортного средства 13.
Затем включают привод ролика 16 для перемещения ленты 7 в обратном направлении. Разгрузка транспортного средства производится аналогично в обратном направлении рабочего цикла устройства.
В случае, когда требуется произвести погрузку в транспортное средство (разгрузку) с меньшей длиной кузова, при движении задним ходом задний борт транспортного средства давит на переднюю часть дополнительной платформы 9, которая, в свою очередь, передвигаясь в продольном направлении, задвигается в основную платформу 2 на длину, которую кузов предыдущего транспортного средства был больше данного.
Предлагаемое изобретение обеспечивает минимальные затраты времени простоя автомобиля под погрузкой (разгрузкой) и позволяет обслуживать транспортные средства с различной погрузо-разгрузочной высотой. Дополнительная платформа исключает продольный излом ленты и обеспечивает постоянный погрузо-разгрузочный уровень устройства.
Формула изобретения
1. Устройство для погрузки и выгрузки грузов из транспортных средств, содержащее смонтированную на основании основную платформу с подъемным механизмом и приводом подъема, на которой установлен с возможностью перемещения в горизонтальной плоскости роликовый конвейер с грузонесущей лентой, огибающей ролики указанного конвейера, которые связаны между собой шарнирными звеньями, при этом указанный конвейер выполнен в профиле Г-образной формы, отличающееся тем, что оно снабжено дополнительной платформой, установленной под грузонесущей лентой с возможностью продольного перемещения относительно основной платформы, передняя часть которой выполнена П-образной в горизонтальной плоскости, на внутренних сторонах каждой из ветвей основной платформы выполнены направляющие для ходовых роликов, установленных на дополнительной платформе соосно с опорными роликами для взаимодействия последних с нижней частью грузонесущей ленты, смонтированных в проемах дополнительной платформы и расположенных по всей ее длине, причем дополнительная платформа снабжена упором, закрепленным на ее конце со стороны, обращенной к транспортному средству, с установленным на нем упорным роликом для взаимодействия с передней частью грузонесущей ленты.
2. Устройство по п.1, отличающееся тем, что привод подъема устройства расположен горизонтально.
РИСУНКИ
|
|