|
|
(21), (22) Заявка: 2006128948/11, 09.08.2006
(24) Дата начала отсчета срока действия патента:
09.08.2006
(43) Дата публикации заявки: 20.02.2008
(46) Опубликовано: 20.09.2008
(56) Список документов, цитированных в отчете о поиске:
SU 1296015 A3, 07.03.1987. GB 2104468 А, 09.03.1983. SU 561694 A1, 19.05.1977. JP 59162912 A, 13.09.1984. JP 59162914 A, 13.09.1984. JP 59162915 A, 13.09.1984. EP 1500626 A, 26.01.2005.
Адрес для переписки:
454006, г.Челябинск, а/я 673, А.Н. Шилкину
|
(72) Автор(ы):
Шилкин Анатолий Николаевич (RU)
(73) Патентообладатель(и):
Шилкин Анатолий Николаевич (RU)
|
(54) ЦЕПНОЙ ТРАНСПОРТЕР (ВАРИАНТЫ)
(57) Реферат:
Группа изобретений относится к конвейерному транспорту и может быть использована для перемещения сыпучего материала в желобах или каналах. По первому варианту цепной транспортер включает в себя, по крайней мере, частично направляемую по транспортировочному желобу бесконечную цепь. Цепь состоит из погрузочных элементов, которые снабжены скребками. По крайней мере, часть погрузочных элементов снабжена установленными с возможностью качения по дну транспортировочного желоба роликовыми элементами, поверхность качения которых расположена ниже нижней поверхности погрузочных элементов, на которых они установлены. На погрузочных элементах над дном транспортировочного желоба между скребками соседних погрузочных элементов консольно закреплены полки так, что соответствующий данным погрузочным элементам роликовый элемент расположен в выемке полки, охватывающей его сверху, или в вырезе полки. По второму варианту цепь транспортера состоит из снабженных скребками погрузочных элементов, чередующихся с промежуточными деталями, которые лишены скребков. По крайней мере, часть погрузочных элементов и/или промежуточных деталей снабжена установленными с возможностью качения по дну транспортировочного желоба роликовыми элементами. На погрузочных элементах и/или промежуточных деталях над дном транспортировочного желоба между скребками соседних погрузочных элементов консольно закреплены полки так, что соответствующий данным погрузочным элементам и/или промежуточным деталям роликовый элемент расположен в выемке полки, охватывающей его сверху, или в вырезе полки. Изобретения обеспечивают снижение трения звеньев цепи и перемещаемого материала о поверхность желоба. 8 з.п. ф-лы, 5 ил.
Группа изобретений относится к конвейерному транспорту и может быть использована для перемещения сыпучего материала в желобах или каналах, в частности может найти применение в щебнеочистительных машинах для выемки балластного щебня рельсового пути.
При выемке и транспортировке балластного щебня выемочно-погрузочная цепь, вращаемая с помощью привода, направляется по двум наклонным продольным желобам и поперечной направляющей балке, пропущенной под рельсошпальной решеткой. При этом скребки погрузочных элементов звеньев цепи взаимодействуют с балластным щебнем и транспортируют его по желобам к просеивающему устройству щебнеочистительной машины.
Известна, например, выемочная цепь для транспортировки щебня балластной постели, имеющая соединенные посредством шарниров звенья, направляемые по транспортировочному желобу. Звенья цепи снабжены скребками для взаимодействия со щебнем. Участки внутренней поверхности желоба, по которым скользят звенья цепи при ее перемещении по желобу, снабжены накладками из высокоизностойкого материала. Для обеспечения возможности смены этих накладок накладки соединены со стенками желоба разъемно (см. п. РФ №2264496 по кл. Е01В 27/04, Е02F 3/14, В65G 17/40, В65G 19/04, заявл. 14.07.2004, опубл. 20.11 2005 «Выемочная цепь»).
Недостатком данной цепи является высокий абразивный износ транспортировочного желоба и звеньев цепи, обусловленный значительными усилиями трения скольжения, возникающими при работе устройства между цепью и желобом, а также между поверхностью желоба и скользящему по этой поверхности щебню.
Наиболее близким по технической сущности, достигаемому эффекту и выбранным в качестве прототипа является цепной транспортер с бесконечной цепью, направляемой по транспортировочному желобу. Часть звеньев цепи снабжена скребками для взаимодействия со щебнем. Цепной транспортер, вращаемый с помощью привода, направляется по двум наклонным продольным желобам и поперечной направляющей, пропущенной под рельсошпальной решеткой. Наклонные участки желоба снабжены роликами с горизонтальными осями вращения, установленными над и под цепью, а звенья цепи снабжены направляющими пластинами, установленными снизу и сверху звеньев цепи для направления цепи между указанными роликами (см. п. РФ №1296015 по кл. Е01В 27/11, заявл. 09.12.83, опубл. 7.03.87 «Цепной транспортер для захватывания и транспортирования загрязненного балласта железнодорожного пути для щебнеочистительной машины»).
Направление звеньев цепи на наклонных участках желоба по роликам с горизонтальной осью несколько снижает абразивный износ этих участков желоба. Однако положение роликов не совпадает с положением центра масс цепи, перемещающей щебень вдоль транспортировочного желоба. Это вызывает дополнительные нагрузки на цепь и приводит к ее быстрому износу. Сохраняется также абразивный износ от взаимодействия желоба с перемещаемым по нему щебнем.
Задачей настоящего изобретения в соответствии с первым вариантом цепного транспортера является уменьшение абразивного износа транспортировочного желоба и цепи при проведении выемочно-погрузочных работ.
Техническим результатом, получаемым при осуществлении изобретения в соответствии с первым вариантом цепного транспортера, является снижение трения звеньев цепи и перемещаемого материала о поверхность желоба.
В соответствии с первым вариантом изобретения поставленная задача решается за счет того, что в известном цепном транспортере с бесконечной цепью, по крайней мере, частично направляемой по транспортировочному желобу, согласно изобретению цепь состоит из погрузочных элементов, которые снабжены скребками, при этом, по крайней мере, часть погрузочных элементов снабжена установленными с возможностью качения по дну транспортировочного желоба роликовыми элементами, поверхность качения которых расположена ниже нижней поверхности погрузочных элементов, на которых они установлены, причем на погрузочных элементах над дном транспортировочного желоба между скребками соседних погрузочных элементов консольно закреплены полки так, что соответствующие данным погрузочным элементам ролики расположены в выемке полки, охватывающей их сверху, или в вырезе полки.
Полки могут быть закреплены непосредственно на звене погрузочного элемента или на скребке погрузочного элемента.
Роликовый элемент может быть выполнен в виде одиночного подшипника или в виде соосной группы подшипников, установленных внутри износостойкой втулки, наружная поверхность которой выполнена с ребрами.
Между износостойкой втулкой и подшипниками может быть установлен амортизатор в виде резиновой втулки или группы резиновых колец.
Полка может быть снабжена отражателем, выполненным в виде пластины, закрепленной так, что она закрывает зазор между боковой поверхностью роликового элемента и соседней боковой стенкой выемки полки со стороны набегания поверхности качения роликового элемента после его касания с транспортировочным желобом.
В качестве аналога и прототипа для второго варианта заявляемого цепного транспортера выбраны те же технические решения, что и для первого варианта транспортера. Им присущи те же недостатки, которые указаны выше.
При создании изобретения в соответствии со вторым вариантом заявляемого транспортера также ставилась задача уменьшение абразивного износа транспортировочного желоба и цепи при проведении выемочно-погрузочных работ.
Техническим результатом, получаемым при реализации изобретения в соответствии со вторым вариантом заявляемого транспортера, также является снижение трения звеньев цепи и перемещаемого материала о поверхность желоба.
В соответствии со вторым вариантом изобретения указанная задача решается за счет того, что в известном цепном транспортере с бесконечной цепью, по крайней мере, частично направляемой по транспортировочному желобу, которая состоит из снабженных скребками погрузочных элементов, чередующихся с промежуточными деталями, которые лишены скребков, согласно изобретению по крайней мере, часть погрузочных элементов и/или промежуточных деталей снабжены установленными с возможностью качения по дну транспортировочного желоба роликовыми элементами, поверхность качения которых расположена ниже нижней поверхности погрузочных элементов и/или промежуточных деталей, на которых они установлены, причем на погрузочных элементах и/или промежуточных деталях над дном транспортировочного желоба между сребками соседних погрузочных элементов консольно закреплены полки так, что соответствующие данным погрузочным элементам и/или промежуточным деталям ролики расположены в выемке полки, охватывающей их сверху, или в вырезе полки.
Полки могут быть закреплены непосредственно на звене погрузочного элемента и/или промежуточной детали или на скребке погрузочного элемента.
Роликовый элемент может быть выполнен в виде одиночного подшипника или в виде соосной группы подшипников, установленных внутри износостойкой втулки, наружная поверхность которой выполнена с ребрами.
Между износостойкой втулкой и подшипниками может быть установлен амортизатор в виде резиновой втулки или группы резиновых колец.
Полка может быть снабжена отражателем, выполненным в виде пластины, закрепленной так, что она закрывает зазор между боковой поверхностью роликового элемента и соседней боковой стенкой выемки полки со стороны набегания поверхности качения роликового элемента после его касания с транспортировочным желобом.
Исследования, проведенные по источникам патентной и научно-технической информации, показали, что заявляемый цепной транспортер неизвестен и не следует явным образом из изученного уровня техники, т.е. соответствует критериям новизна и изобретательский уровень.
Заявляемый цепной транспортер может быть изготовлен на любом предприятии, специализирующемся в данной отрасли, т.к. для этого требуются известные материалы и стандартное оборудование, и широко использован при транспортировке сыпучих материалов, т.е. является промышленно применимым.
Снабжение звеньев цепного транспортера роликовым элементом, установленных заявляемым образом, совпадающим с положением цента масс цепи и перемещаемого ею материала, позволяет избежать дополнительных нагрузок на цепь, снижая тем самым абразивный износ как самой цепи, так и желоба. Кроме того, снабжение роликовыми элементами звеньев цепи, а не желоба, как в прототипе, позволяет облегчить перемещение звеньев цепи не только по желобу, но и на тех участках, где цепь движется непосредственно по вынимаемому материалу (например, по щебню, выгребаемому скребками цепи из-под рельсошпальной решетки). Более значительного снижения абразивного износа желоба и цепи позволяет добиться снабжение звеньев цепи полкой, которая, располагаясь над дном желоба между скребками погрузочных элементов цепи, принимает на себя перемещаемый по желобу сыпучий материал. В результате перемещаемый материал не скользит по желобу, а находясь на поверхности полки, перекатывается по желобу вместе со звеньями цепи.
Выполнение роликового элемента в виде подшипника или группы подшипников, установленных внутри износостойкой втулки, уменьшает его износ, а установка резинового амортизатора внутри этой втулки уменьшает вибрацию звеньев цепи при их движении. Выполнение наружной поверхности втулки с ребрами позволяет облегчить перемещение роликового элемента по желобу, который в процессе работы покрывается слоем перемещаемого материала, затрудняющего сцепление ролика с желобом, т.е. позволяет уменьшить возможность «пробуксовки».
Снабжение полки отражателем позволяет уменьшить вероятность заклинивания частиц перемещаемого материала в элементах цепи, что может привести к повышенному износу цепи (вплоть до выхода из строя).
Учитывая сказанное, очевидно, что заявляемый цепной транспортер позволяет снизить абразивный износ транспортировочного желоба и цепи при проведении выемочно-погрузочных работ.
Заявляемое техническое решение поясняется чертежами, на которых представлены:
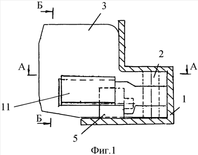
Фиг.1. Вид на погрузочный элемент цепного транспортера со стороны скребка (вариант выполнения транспортера из погрузочных элементов, чередующихся с промежуточными деталями, и полкой, закрепленной непосредственно на промежуточной детали).
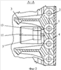
Фиг.2. Вид по А-А на фиг.1 (вариант выполнения транспортера из погрузочных элементов, чередующихся с промежуточными деталями, и полкой, закрепленной непосредственно на промежуточной детали).
Фиг.3. Вид по Б-Б на фиг.1 (вариант выполнения транспортера из погрузочных элементов, чередующихся с промежуточными деталями, и полкой, закрепленной непосредственно на промежуточной детали).
Фиг.4. Вид по А-А на фиг.1 (вариант выполнения транспортера из погрузочных элементов, чередующихся с промежуточными деталями, и полкой, закрепленной на сребке).
Фиг.5. Фрагменты роликовых элементов, выполненных в виде группы подшипников, установленных внутри износостойкой втулки; внутри износостойкой втулки с амортизатором из резиновой втулки; внутри износостойкой втулки с амортизатором в виде группы резиновых колец.
Цепной транспортер содержит звенья, направляемые по транспортировочному желобу 1. Транспортер может быть образован из звеньев, которые представляют собой погрузочные элементы 2, т.е. звенья цепи, снабженные сребками 3, или из звеньев, которые представляют собой погрузочные элементы 2, чередующиеся с лишенными скребков промежуточными деталями 4. Порядок чередования погрузочных элементов 2 и промежуточных деталей 4 зависит от назначения цепи и может быть таким, при котором промежуточная деталь 4 устанавливается между каждыми двумя соседними погрузочными элементами или реже. По крайней мере, часть погрузочных элементов 2 и/или промежуточных деталей 4 снабжена роликовым элементом 5, установленным с возможностью качения по дну желоба 1. Поверхность качения роликового элемента 5 расположена ниже нижней поверхности звеньев цепи, обращенной в сторону дна транспортировочного желоба 1, причем роликовый элемент 5 закреплен так, что поверхность качения ниже нижней поверхности звеньев не менее чем на 0,5-3 мм. Это позволяет звеньям цепи при перемещении не касаться поверхности желоба 1. Роликовый элемент 5 может быть жестко закреплен, например запрессован своей осью непосредственно в теле звена цепи, или установлен на звене с возможность поворота. В качестве опоры для роликового элемента 5 могут быть использованы непосредственно тело звена погрузочного элемента 2 или скребок 3 погрузочного элемента 2. Роликовый элемент 5 может быть закреплен и на промежуточной детали 4. Ось роликового элемента 5 при этом практически параллельна поверхности его качения, т.е. дну транспортировочного желоба 1.
Роликовый элемент 5 может представлять собой одиночный подшипник 6 или группу подшипников 6, объединенных износостойкой втулкой 7, наружная поверхность которой может быть гладкой или снабжена ребрами 8. Внутри втулки 7 может быть установлен амортизатор из резиновой втулки 9 или группы резиновых колец 10. Конкретная конструкция роликового элемента 5 выбирается в зависимости от условий эксплуатации цепи.
Над роликовым элементом 5 установлена полка 11. Эта полка 11 может быть закреплена непосредственно на теле звена погрузочного элемента 2 или на скребке 3 погрузочного элемента 2. Полка 11 может быть закреплена и на промежуточной детали 4. Полка 11 выполнена так, что над роликовым элементом располагается выемка 12 или вырез (на чертеже не показан) в полке 11. Эта полка 11 с выемкой 12 может быть выполнена, например, в виде отрезка уголкового, дугообразного, трапециевидного в поперечном сечении профиля, приваренного к телу звена погрузочного элемента 2 и/или промежуточной детали 4, или к скребку 3. Торец указанного профиля может быть закрыт при помощи пластины-заглушки, наваренной на торец профиля вертикально или наклонно. Такая заглушка предотвращает попадание камней к роликовому элементу 5, снижая вероятность поломки. Габариты полки 11 подбираются так, чтобы она практически перекрывала пространство между скребками 3 соседних погрузочных элементов 2 для того, чтобы основная масса перемещаемого по желобу 1 материала, располагаясь на полке 11, перекатывалась по желобу 1 вместе со звеньями цепи, а не скользила, вызывая повышенный абразивный износ желоба 1.
Со стороны набегания поверхности качения роликового элемента 5 после ее касания с транспортировочным желобом 1 на полке 11 закреплен отражатель 12, выполненный в виде пластины, приваренной так, что она закрывает зазор между боковой поверхностью роликового элемента 5 и боковой стенкой выемки 12.
Заявляемый цепной транспортер работает следующим образом.
За счет снабжения звеньев цепи роликовыми элементами 5 при их движении по транспортировочному желобу 1 происходит перекатывание звеньев цепи по желобу 1. При этом за счет расположения роликового элемента 5 так, что его положение совпадает с положением центра масс цепи и перемещаемого материала не происходит перекоса элементов цепи, которые в цепном транспортере-прототипе вызывают повышенный износ цепи и желоба. Материал, захватываемый скребками погрузочных элементов 2 (при ремонте железнодорожного пути – щебень балластной постели), попадая на верхнюю поверхность полки 11, также уже не скользит по дну транспортировочного желоба 1, а перемещается над ним вместе со звеньями цепи. Это значительно снижает абразивный износ транспортировочного желоба 1 и звеньев цепи.
Формула изобретения
1. Цепной транспортер с бесконечной цепью, по крайней мере, частично направляемой по транспортировочному желобу, отличающийся тем, что цепь состоит из погрузочных элементов, которые снабжены скребками, при этом, по крайней мере, часть погрузочных элементов снабжена установленными с возможностью качения по дну транспортировочного желоба роликовыми элементами, поверхность качения которых расположена ниже нижней поверхности погрузочных элементов, на которых они установлены, причем на погрузочных элементах над дном транспортировочного желоба между скребками соседних погрузочных элементов консольно закреплены полки так, что соответствующий данным погрузочным элементам роликовый элемент расположен в выемке полки, охватывающей его сверху, или в вырезе полки.
2. Цепной транспортер по п.1, отличающийся тем, что полка закреплена непосредственно на звене погрузочного элемента или на скребке погрузочного элемента.
3. Цепной транспортер по п.1, отличающийся тем, что роликовый элемент выполнен в виде одиночного подшипника или в виде соосной группы подшипников, установленных внутри износостойкой втулки, наружная поверхность которой выполнена с ребрами.
4. Цепной транспортер по п.3, отличающийся тем, что между износостойкой втулкой и подшипниками установлен амортизатор в виде резиновой втулки или группы резиновых колец.
5. Цепной транспортер по п.1, отличающийся тем, что полка снабжена отражателем, выполненным в виде пластины, закрепленной так, что она закрывает зазор между боковой поверхностью роликового элемента и соседней боковой стенкой выемки полки со стороны набегания поверхности качения роликового элемента после его касания с транспортировочным желобом.
6. Цепной транспортер с бесконечной цепью, по крайней мере, частично направляемой по транспортировочному желобу, которая состоит из снабженных скребками погрузочных элементов, чередующихся с промежуточными деталями, которые лишены скребков, отличающийся тем, что, по крайней мере, часть погрузочных элементов и/или промежуточных деталей снабжена установленными с возможностью качения по дну транспортировочного желоба роликовыми элементами, поверхность качения которых расположена ниже нижней поверхности погрузочных элементов и/или промежуточных деталей, на которых они установлены, при этом на погрузочных элементах и/или промежуточных деталях над дном транспортировочного желоба между скребками соседних погрузочных элементов консольно закреплены полки так, что соответствующий данным погрузочным элементам и/или промежуточным деталям роликовый элемент расположен в выемке полки, охватывающей его сверху, или в вырезе полки.
7. Цепной транспортер по п.6, отличающийся тем, что полки закреплены непосредственно на звене погрузочного элемента и/или промежуточной детали или на скребке погрузочного элемента.
8. Цепной транспортер по п.6, отличающийся тем, что роликовый элемент выполнен в виде одиночного подшипника или в виде соосной группы подшипников, установленных внутри износостойкой втулки, наружная поверхность которой выполнена с ребрами.
9. Цепной транспортер по п.6, отличающийся тем, что между износостойкой втулкой и подшипниками установлен амортизатор в виде резиновой втулки или группы резиновых колец.
10. Цепной транспортер по п.6, отличающийся тем, что полка снабжена отражателем, выполненным в виде пластины, закрепленной так, что она закрывает зазор между боковой поверхностью роликового элемента и соседней боковой стенкой выемки полки со стороны набегания поверхности качения роликового элемента после его касания с транспортировочным желобом.
РИСУНКИ
|
|