|
|
(21), (22) Заявка: 2005133194/11, 29.03.2004
(24) Дата начала отсчета срока действия патента:
29.03.2004
(30) Конвенционный приоритет:
28.03.2003 US 60/458,296
(43) Дата публикации заявки: 10.02.2006
(46) Опубликовано: 20.09.2008
(56) Список документов, цитированных в отчете о поиске:
RU 2070652 С1, 20.12.1996. US 5765361 А, 16.06.1998. US 5572864 A, 12.11.1996. US 5893266 A, 13.04.1999. US 3955784 A, 11.05.1976. US 3354647 A, 28.11.1967.
(85) Дата перевода заявки PCT на национальную фазу:
28.10.2005
(86) Заявка PCT:
US 2004/009694 (29.03.2004)
(87) Публикация PCT:
WO 2004/085252 (07.10.2004)
Адрес для переписки:
129010, Москва, ул. Б.Спасская, 25, стр.3, ООО “Юридическая фирма Городисский и Партнеры”, пат.пов. С.А.Дорофееву
|
(72) Автор(ы):
РУТАН Элберт Л. (US)
(73) Патентообладатель(и):
МОУДЖЕЙВ АЭРОСПЕЙС ВЕНЧЕРЗ, ЛЛС (US)
|
(54) УНИФИЦИРОВАННАЯ КОМБИНИРОВАННАЯ РАКЕТНАЯ СИСТЕМА
(57) Реферат:
Изобретение относится к аэрокосмической системе с гибридным ракетным двигателем, предназначенной, в частности, для крылатого суборбитального летательного аппарата. Предлагаемая система содержит бак окислителя (14), имеющий цилиндрическую центральную часть (15), покрытую юбкой и прикрепленную к юбке слоем эластомерного адгезива. Наружная поверхность юбки прикреплена адгезивом к внутренней поверхности фюзеляжа (11) космического летательного аппарата. Вытянутый корпус твердотопливного двигателя (19) жестко присоединен к центральной задней поверхности бака (14) и заканчивается на свободном конце соплом (20). Соединение бака с юбкой эластомерным адгезивом и прочное приклеивание юбки к фюзеляжу космического летательного аппарата образует единственную опору для ракетной системы. Поэтому отдельной опоры для корпуса двигателя (19) не требуется. Техническим результатом изобретения является упрощение установки и крепления ракетного двигателя к фюзеляжу летательного аппарата, а также создание единой конструкции двигателя, которая существенно ограничивает возможные утечки и повышает надежность и безопасность системы. 6 з.п. ф-лы, 5 ил.
Предпосылки создания изобретения
Настоящее изобретение относится к аэрокосмической системе с гибридным ракетным двигателем, предназначенной, в частности, для крылатого суборбитального летательного аппарата, хотя оно не ограничивается только таким применением.
По сравнению с ракетными двигателями либо только твердого, либо только жидкого топлива гибридный ракетный двигатель использует оба типа топлива. То есть для сжигания твердого топлива используется жидкий окислитель, например закись азота (N2O). Окислитель находится в баке с повышенным давлением, а твердое топливо (например, на основе полибутадиена с концевыми гидроксильными группами) отливают на внутреннюю стенку пустотелого и цилиндрического, в целом, корпуса камеры сгорания или двигателя, проходящего из бака окислителя в направлении задней его части и заканчивающегося критическим сечением и соплом. Управляющий клапан впускает окислитель в корпус, и зажигательное приспособление (например, искровой воспламенитель или прибор факельного воспламенителя) инициирует горение.
Настоящее изобретение направлено на два существенных улучшения. Во-первых, на упрощенный способ установки и крепления ракетного двигателя к фюзеляжу летательного аппарата или подобной конструкции и, во-вторых, на объединенную конструкцию двигателя, которая существенно ограничивает возможные утечки и повышает надежность и безопасность системы.
Краткое описание изобретения
Комбинированная ракетная система согласно настоящему изобретению характеризуется использованием бака окислителя, имеющего цилиндрическую среднюю часть, которая может быть прикреплена к внутренней поверхности космического летательного аппарата слоем эластомерного адгезива. Вытянутый корпус двигателя твердого топлива механически жестко прикрепляется к центральной задней поверхности бака, и этот корпус заканчивается критическим сечением и соплом. Крепление бака к космическому летательному аппарату эластомерным адгезивом образует единственную опору для ракетной системы, и отдельная опора для корпуса указанного двигателя не требуется.
Краткое описание чертежей
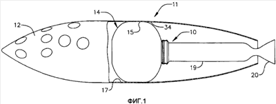
Фиг.1 – вид сбоку гибридной двигательной установки, устанавливаемой в крылатом космическом летательном аппарате (показано в поперечном сечении);
Фиг.2 – вид с разнесением деталей ракетной двигательной установки;
Фиг.3 – вид в разрезе в перспективе переднего конца корпуса ракетного двигателя твердого топлива;
Фиг.4 – частичный вид в разрезе, показывающий соединение корпуса двигателя с баком окислителя;
Фиг.5 – частичный вид в разрезе бака окислителя.
Описание предпочтительного варианта осуществления изобретения
На Фиг.1 показана гибридная двигательная установка 10, установленная в фюзеляже 11 крылатого суборбитального космического летательного аппарата, частично показанного в разрезе и имеющего кабину 12 пилота. Основными элементами ракетной двигательной установки 10 являются бак 14 окислителя с вытянутой цилиндрической средней частью 15, прикрепляемой к внутренней поверхности 17 фюзеляжа, причем бак имеет заднее днище (как будет описано ниже), к которому прикрепляется цилиндрический двигатель 19, заканчивающийся соплом 20. Убирающиеся шасси, крыло космического летательного аппарата и хвостовое оперение не показаны на Фиг.1 в целях ясности.
Бак 14 окислителя, показанный в разрезе на Фиг.5, имеет относительно тонкую (например, 0,25-0,32 см) внутреннюю оболочку 22 из эпоксидно-стекловолоконного препрегового композиционного материала. Внутренняя оболочка выполнена с наружным слоем из жгута из графитового волокна, покрытого связующим эпоксидным наполнителем. Толщина слоя жгута/эпоксидного наполнителя составляет приблизительно 0,6 см в цилиндрической средней части 15 бака и постепенно утолщается по направлению к противоположным концам бака до 2,5 -1,3 см, причем бак охватывает и герметически соединяется с передним и задним фланцами 26 и 27 (см. Фиг.5).
Переднее днище 29 герметично прикрепляется к переднему фланцу 26, закрывая передний конец бака и обеспечивая клапанное входное отверстие (не показано) для подачи окислителя. Подобным образом выгнутое вперед заднее днище 30 герметично прикрепляется к заднему фланцу 27, закрывая задний конец бака. Клапан подачи окислителя и система воспламенителя (не показаны) устанавливаются на заднем днище внутри бака.
Средняя цилиндрическая часть 15 бака покрыта цилиндрической юбкой 32, которая в предпочтительной форме изготавливается примерно из одиннадцати слоев гибкой стеклоткани, причем скрепленные адгезивом слои намотаны под углом 45 градусов относительно продольной оси бака. Внутренний диаметр юбки является немного большим внешнего диаметра средней части бака, что обеспечивает впрыск толстого (около 0,25 см) слоя эластомерного адгезива (может быть использован «Proseal P5890, Class В», изготавливаемый компанией PRC Desoto) для прикрепления юбки к баку.
Скрепленные таким образом юбка и бак создают скользящую посадку в сопрягаемой внутренней цилиндрической поверхности 34 фюзеляжа космического летательного аппарата 11, обеспечивая впрыск тонкого (около 0,05 см) слоя жестко скрепляющего адгезива для прикрепления бака и юбки к фюзеляжу. В данном случае может быть использован адгезив, такой как «Hysol 9396». Соединения «бак-юбка» и «юбка-фюзеляж» образуют единственную опору для двигательной установки 10 внутри космического летательного аппарата.
Фиг.4 представляет собой частичный вид в разрезе жесткого соединения двигателя 19 с задним фланцем 27 бака окислителя и задним днищем 30. Корпус 36 двигателя имеет кремниево-фенольную внутреннюю оболочку 37 толщиной приблизительно 0,25 см, и наружную обмотку 38 из углеродно-волоконного жгута толщиной 0,75 см. Твердое топливо 39 отливается в корпус, оставляя открытые участки вокруг осевой линии корпуса. Отливаемая под давлением головная изоляция 40 формируется перед твердым топливом и имеет выгнутый вперед конец 41, соответствующий сопрягаемому изгибу заднего конца днища 30. Передний конец корпуса 36 расширяется в наружном направлении для посадки на цилиндрический стальной клин 43 треугольного сечения и имеет переднюю поверхность 44 с уплотнением 45 с уплотнительным кольцом, посаженным на выступающий в наружном направлении цилиндрический фланец 46 на заднем днище 30.
Алюминиевое зажимное кольцо 50, внутренняя поверхность 51 которого сужается в направлении вперед и наружу, посажено поверх переднего конца корпуса двигателя и на заднюю поверхность фланца 46. Ряд резьбовых крепежных деталей 52 проходит через сопрягаемые отверстия в кольце 50, фланце 46 и фланце 27 к гайкам 53 для плотного скрепления этих деталей вместе, таким образом жестко прикрепляя корпус двигателя к баку. Дополнительные уплотнения 54 с уплотнительным кольцом посажены во фланце 46 и в выступающем вперед кольце 55, образованном за одно целое с задним днищем. Перфорированная цилиндрическая труба 56 прикрепляется к кольцу 55 и выступает вперед внутри бака окислителя, чтобы получить демпфирующую перегородку.
Бак окислителя заправляют закисью азота под давлением приблизительно в 50 кгс/кв.см, и при таком давлении окислитель находится в жидком состоянии. Раздутие наружу герметического бака, по меньшей мере, частично поглощается толстым слоем эластомерного адгезива, прикрепляющего юбку бака к фюзеляжу, и этот адгезивный слой также поглощает и демпфирует вибрации двигателя.
За исключением цилиндрической средней части 15, бак окислителя приближается по форме к сфере, выдерживающей достаточно сильное давление в баке, а также нагрузки, вызываемые работающим двигателем. Эта прочность позволяет консольно закреплять двигатель со стороны заднего днища бака без дополнительной опоры со стороны фюзеляжа. Это единственное соединение обеспечивает легкую замену двигателя (обычно одноразовый элемент), так же как и установку двигателей различной длины и уменьшение числа возможных мест утечки. Кроме того, никакой дополнительный вес не действует на опору двигателя, так как соединение бак/фюзеляж поддерживает всю ракетную систему.
Формула изобретения
1. Ракетная комбинированная двигательная система для суборбитального космического летательного аппарата, имеющего фюзеляж с центральной открытой для доступа внутренней цилиндрической поверхностью, содержащая вставляемый в указанную внутреннюю поверхность фюзеляжа бак окислителя, имеющий центральную заднюю поверхность и покрытую юбкой центральную наружную цилиндрическую поверхность, вытянутый в целом цилиндрический корпус двигателя твердого топлива, жестко прикрепленный одним своим концом к центральной задней поверхности бака окислителя, а на заднем своем конце образующий сопло с критическим сечением, выступающее за фюзеляж, причем указанные юбка и бак скреплены вместе при помощи эластомерного средства, а наружная поверхность юбки крепится к внутренней поверхности фюзеляжа с помощью адгезива, так что указанное эластомерное средство является единственной опорой для двигательной системы, а корпус двигателя твердого топлива непосредственно не прикреплен к фюзеляжу.
2. Система по п.1, в которой бак окислителя имеет внутреннюю оболочку из эпоксидно-стекловолоконного композиционного материала, причем внутренняя оболочка обмотана наружным слоем в виде жгута из графитового волокна и эпоксидного наполнителя.
3. Система по п.2, в которой указанная юбка представляет собой стеклоткань.
4. Система по п.3, в которой указанное эластомерное средство представляет собой слой эластомерного адгезива, скрепляющего юбку с баком.
5. Система по п.4, в которой эластомерный адгезив имеет толщину приблизительно 0,25 см.
6. Система по п.2, в которой указанные внутренняя оболочка бака и наружный слой обматываются вокруг и прикрепляются к переднему и заднему фланцам, причем фланцы в свою очередь прикрепляются соответственно к переднему и заднему днищам, герметизирующим бак.
7. Система по п.6, в которой корпус двигателя твердого топлива жестко прикреплен к указанному заднему днищу с помощью разъемных крепежных средств, позволяющих заменять отработавший корпус двигателя.
РИСУНКИ
|
|