|
|
(21), (22) Заявка: 2006140595/11, 16.11.2006
(24) Дата начала отсчета срока действия патента:
16.11.2006
(46) Опубликовано: 20.09.2008
(56) Список документов, цитированных в отчете о поиске:
RU 2085440 С1, 27.07.1997. US 4228976 A, 21.10.1980. US 4673606 А, 16.06.1987.
Адрес для переписки:
141371, Московская обл., г. Хотьково, ул. Заводская, 1, ОАО ЦНИИСМ, Патентное бюро
|
(72) Автор(ы):
Барынин Вячеслав Александрович (RU), Кульков Александр Алексеевич (RU), Груздев Василий Георгиевич (RU), Плотников Владимир Иванович (RU), Пухов Андрей Аркадьевич (RU), Лукин Иван Дмитриевич (RU), Яиков Вячеслав Петрович (RU), Плотников Роман Владимирович (RU), Лукьяненко Владимир Семенович (RU), Тимаков Александр Михайлович (RU)
(73) Патентообладатель(и):
Открытое акционерное общество Центральный научно-исследовательский институт специального машиностроения (RU)
|
(54) АЭРОДИНАМИЧЕСКАЯ КОНСТРУКЦИЯ
(57) Реферат:
Изобретение относится к области слоистых конструкций летательных аппаратов. Аэродинамическая конструкция (1) содержит заполненную сотовым наполнителем раму (3), выполненную из передней и задней боковин (5), концевого обтекателя (6), корневого элемента (7) с узлом крепления конструкции (1) к валу рулевого привода (9) и панелей (10) с уменьшающейся от корневого элемента (7) толщиной. Панели (10) выполнены из пакета слоев с перекрытием зоны узла крепления корневого элемента (7) максимальным количеством слоев. Определяющие разнотолщинность панелей (10) слои в плане выполнены в форме подобных треугольников с увеличением размеров каждого последующего треугольника и расположением его боковых сторон параллельно кромкам (18) боковин (5). Изобретение направлено на повышение надежности работы. 4 з.п. ф-лы, 4 ил.
Изобретение относится к области машиностроения и может быть использовано при создании конструкций для летательных аппаратов, в частности для разработки и производства крыльев и оперения.
Известна аэродинамическая конструкция, а.с. СССР №431733, МКИ В64С 27/46.
Известна аэродинамическая конструкция, RU №2030336 С1 от 05.03.91, МПК7 B64F 5/00.
Известна аэродинамическая конструкция, RU №2266847 С1 от 27.05.2004, МПК7 B64F 5/00.
Известна аэродинамическая конструкция, SU, №1058199 А1 от 23.02.93, МКП6 В64С 3/26.
Известна аэродинамическая конструкция, ЕР, №0875452 A3 от 04.11.83, МКП6 В64С 3/26.
Известна аэродинамическая конструкция, RU, №2009075 С1 от 09.10.91, МКП6 В64С 3/26.
Также известна аэродинамическая конструкция, RU, №2085440 С1 от 11.05.95, МКП6 В64С 3/26, содержащая заполненную сотовым наполнителем раму, выполненную из передней и задней боковин, концевого обтекателя, корневого элемента с узлом крепления конструкции к валу рулевого привода и панелей с уменьшающейся от корневого элемента толщиной.
Недостатком известной конструкции является низкая надежность ее работы при применении полимерных композитов из-за низкой прочности ее соединения с приводом и низкой прочности крепления концевого обтекателя, а также из-за низкой оптимизации конструкции по напряжениям. Также недостатком является низкая аэродинамическая характеристика из-за неудовлетворительной формы, низкой оптимизации конструкции по деформациям и неудовлетворительного качества поверхности при нерегламентированном расположении элементов, определяющих это качество. Недостатком также являются высокие инерционные нагрузки на привод из-за большой массы конструкции.
Известная конструкция как наиболее близкая по технической сущности и достигаемому результату выбрана в качестве прототипа.
Технической задачей, на решение которой направлено заявляемое изобретение, является создание аэродинамической конструкции с повышенной надежностью ее работы.
Технический результат, который может быть достигнут при решении поставленной задачи, заключается в повышении надежности ее работы за счет применения полимерных композитов, за счет повышения прочности ее соединения с приводом и крепления концевого обтекателя, а также за счет повышения оптимизации конструкции по напряжениям. Также результат достигается за счет повышения аэродинамических характеристик при улучшении формы, повышении оптимизации конструкции по деформациям и улучшении качества поверхности заданным расположением элементов, определяющих это качество. Кроме того, результат достигается за счет снижения инерционных нагрузок на привод при снижении массы конструкции.
Поставленная задача с достижением технического результата решается тем, что аэродинамическая конструкция содержит заполненную сотовым наполнителем раму, выполненную из передней и задней боковин, концевого обтекателя, корневого элемента с узлом крепления конструкции к валу рулевого привода и панелей с уменьшающейся от корневого элемента толщиной, а в соответствии с изобретением панели выполнены из пакета слоев с перекрытием зоны узла крепления корневого элемента максимальным количеством слоев, при этом определяющие разнотолщинность панелей слои в плане выполнены в форме подобных геометрических фигур с увеличением размеров каждой последующей фигуры и расположением передней ее стороны параллельно кромке передней боковины, а узел крепления выполнен в виде выемки в корневом элементе и прилегающем к нему сотовом наполнителе, ограниченной внутренней поверхностью каждой панели; слои панелей выполнены из полимерного композиционного материала, например из композита на основе стеклоткани, пропитанной полимерным связующим; определяющие разнотолщинность панелей слои выполнены в форме треугольников с расположением задних их сторон параллельно кромке задней боковины, а расстояние между параллельными сторонами слоев определено по формуле
l=as,
где l – расстояние между параллельными кромками слоев,
s – толщина материала слоя,
а=15-60 – опытный коэффициент, зависящий от размеров конструкции, максимальной скорости воздушного потока (числа Маха) и т.д.;
– концевой обтекатель расположе в выемке сотового наполнителя, ограниченной внутренними поверхностями панелей, и закреплен на клее, совместимом со связующим материала панелей, при этом в заглубленной части обтекателя выполнены отверстия, заполненные клеем, а в этой же зоне в обтекателе и панелях выполнены сквозные сверления, в которых размещены крепежные элементы, например заклепки.
Отличительными признаками являются следующие признаки:
– панели выполнены из пакета слоев с перекрытием зоны узла крепления корневого элемента максимальным количеством слоев – признак существенный, предусматривает наличие новых элементов и их новое расположение, направлен на решение поставленной задачи с достижением технического результата, на повышение надежности работы за счет увеличения прочности соединения с приводом и повышения оптимизации конструкции по напряжениям, а также на повышение аэродинамических свойств за счет улучшения формы и повышения оптимизации конструкции по деформациям;
– определяющие разнотолщинность панелей слои в плане выполнены в форме подобных геометрических фигур с увеличением размеров каждой последующей фигуры и расположением передней ее стороны параллельно кромке передней боковины – признак существенный, предусматривает новую форму элементов, новое расположение и новое соотношение размеров, направлен на решение поставленной задачи с достижением технического результата, на повышение аэродинамических свойств за счет улучшения формы и повышения оптимизации конструкции по деформациям;
– узел крепления выполнен в виде выемки в корневом элементе и прилегающем к нему сотовом наполнителе, ограниченной внутренней поверхностью каждой панели – признак существенный, предусматривает наличие нового элемента и новую взаимосвязь элементов, направлен на решение поставленной задачи с достижением технического результата, на повышение надежности работы за счет увеличения прочности соединения с приводом;
– слои панелей выполнены из полимерного композиционного материала, например из композита на основе стеклоткани, пропитанной полимерным связующим – признак существенный, предусматривает обоснованное применение новых материалов, направлен на решение поставленной задачи с достижением технического результата, на повышение аэродинамических свойств за счет улучшения формы и повышения оптимизации конструкции по деформациям, а также на снижение инерционных нагрузок на привод за счет снижения массы конструкции;
– определяющие разнотолщинность панелей слои выполнены в форме треугольников с расположением задних их сторон параллельно кромке задней боковины – признак существенный, предусматривает новую форму элементов, направлен на решение поставленной задачи с достижением технического результата, на повышение аэродинамических свойств и их стабильности за счет улучшения формы, качества аэродинамических поверхностей и повышения оптимизации конструкции по деформациям;
– расстояние между параллельными кромками слоев определено по формуле
l=as,
где l – расстояние между параллельными передними кромками слоев;
s – толщина материала слоя;
а=15-60 – опытный коэффициент, зависящий от размеров конструкции, максимальной скорости воздушного потока (числа Маха) и т.д. – признак существенный, предусматривает новое взаимное расположение и новое соотношение размеров, направлен на решение поставленной задачи с достижением технического результата, на повышение аэродинамических свойств и их стабильности, что подтверждено исследованиями, за счет улучшения формы, качества аэродинамических поверхностей при финишной мехобработке и повышения оптимизации конструкции по деформациям;
– концевой обтекатель расположен в выемке сотового наполнителя, ограниченной внутренними поверхностями панелей, и закреплен на клее, совместимом со связующим материала панелей, при этом в заглубленной части обтекателя выполнены отверстия, заполненные клеем, а в этой же зоне в обтекателе и панелях выполнены сквозные сверления, в которых размещены крепежные элементы, например заклепки – признак существенный, предусматривает наличие новых элементов, их новую форму, новую взаимосвязь и применение новых материалов, направлен на решение поставленной задачи с достижением технического результата, на повышение надежности работы за счет повышения прочности конструкции.
Указанные отличительные признаки являются существенными, поскольку каждый в отдельности и все совместно направлены на решение поставленной задачи с достижением технических результатов. Использование единой совокупности существенных отличительных признаков в известных решениях не обнаружено, что характеризует соответствие технического решения критерию «новизна».
Единая совокупность новых существенных признаков с общими известными обеспечивает решение поставленной задачи с достижением технических результатов и характеризует предложенные технические решения существенными отличиями по сравнению с известным уровнем техники и аналогами. Данные технические решения являются результатом научно-исследовательской и экспериментальной работы по повышению надежности работы аэродинамической конструкции без использования известных проектировочных решений, рекомендаций, материалов и обладают неочевидностью, что свидетельствует об их соответствии критерию «изобретательский уровень».
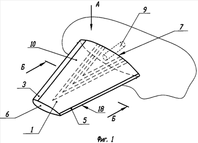
Сущность изобретений поясняется чертежами, где на фиг.1 представлен общий вид аэродинамической конструкции, на фиг.2 – вид конструкции в плане, на фиг.3 – поперечный разрез аэродинамической конструкции, на фиг.4 – поперечный разрез панели.
Аэродинамическая конструкция 1 содержит заполненную сотовым наполнителем 2 раму 3, выполненную из передней 4 и задней боковин 5, концевого обтекателя 6, корневого элемента 7 с узлом крепления 8 конструкции 1 к валу рулевого привода 9 и панелей 10 с уменьшающейся от корневого элемента 7 толщиной. Панели 10 выполнены из пакета слоев 11 с перекрытием зоны узла крепления 8 корневого элемента 7 максимальным количеством слоев 11. Определяющие разнотолщинность панелей 10 слои 11 в плане выполнены в форме подобных геометрических фигур с увеличением размеров каждой последующей фигуры и расположением передней ее стороны 12 параллельно кромке 13 передней боковины 4, а узел крепления 8 выполнен в виде выемки 14 в корневом элементе 7 и прилегающем к нему сотовом наполнителе 2, ограниченной внутренней поверхностью каждой панели 10.
Слои 11 панелей 10 выполнены из полимерного композиционного материала, например из композита на основе стеклоткани, пропитанной полимерным связующим. Определяющие разнотолщинность панелей слои 15 выполнены в форме треугольников 16 с расположением задних их сторон 17 параллельно кромке 18 задней боковины 5, а расстояние между параллельными сторонами слоев 15 определено по формуле
l=as,
где l – расстояние между параллельными кромками слоев,
s – толщина материала слоя,
а=15-60 – опытный коэффициент, зависящий от размеров конструкции, максимальной скорости воздушного потока (числа Маха) и т.д. Концевой обтекатель 6 расположен в выемке 19 сотового наполнителя 2, ограниченной внутренними поверхностями панелей 10, и закреплен на клее, совместимом со связующим материала панелей 17, при этом в заглубленной части 20 обтекателя 6 выполнены отверстия 21, заполненные клеем, а в этой же зоне в обтекателе и панелях выполнены сквозные сверления 22, в которых размещены крепежные элементы, например заклепки 23.
Вариант конкретного исполнения аэродинамической конструкции 1 заключается в том, что панели 10 выполнены из слоистого стеклопластика 11 на основе ткани Т-10 толщиной S=0,25 мм, пропитанной эпоксидным связующим, определяющие разнотолщинность слои 15 выполнены из этого же материала за единый технологический процесс. Финишная мехобработка выполнена по поверхностям 24 без искажения заданного аэродинамического профиля каждого сечения за счет расположения каждого слоя 15 из условия l=as, при l=5 мм, a=25.
Работает конструкция следующим образом. При воздействии воздушного потока на аэродинамические поверхности при заданном угле атаки (заданном угле поворота вала привода 9) возникает аэродинамическая сила, величина и направление которой соответствует расчетной с заданной степенью погрешности, которая, в свою очередь, зависит от заданной кривизны поверхности и прогиба конструкции в любой ее точке. При этом инерционные нагрузки на привод значительно снижены за счет снижения массы конструкции.
Таким образом, использование изобретения позволит создать аэродинамическую конструкцию с повышенной надежностью ее работы, что и подтверждает это использование по назначению. Осуществимость изобретения подтверждена положительными результатами испытаний образцов и фрагментов конструкций, разработка и изготовление которых полностью основаны на представленном описании. В связи с этим новое техническое решение соответствует и критерию «промышленная применимость», т.е. уровню изобретения.
Формула изобретения
1. Аэродинамическая конструкция, содержащая заполненную сотовым наполнителем раму, выполненную из передней и задней боковин, концевого обтекателя, корневого элемента с узлом крепления конструкции к валу рулевого привода и панелей с уменьшающейся от корневого элемента толщиной, отличающаяся тем, что панели выполнены из пакета слоев с перекрытием зоны узла крепления корневого элемента максимальным количеством слоев, при этом слои, определяющие разность толщин панелей в плане, выполнены в форме подобных геометрических фигур с увеличением размеров каждой последующей фигуры и расположением передней ее стороны параллельно кромке передней боковины, а узел крепления выполнен в корневом элементе, ограничен внутренней поверхностью каждой панели и прилегающим сотовым наполнителем.
2. Аэродинамическая конструкция по п.1, отличающаяся тем, что слои панелей выполнены из полимерного композиционного материала, например из композита на основе стеклоткани, пропитанной полимерным связующим.
3. Аэродинамическая конструкция по п.2, отличающаяся тем, что слои, определяющие разность толщин панелей, выполнены в форме треугольников с расположением задних их сторон параллельно кромке задней боковины.
4. Аэродинамическая конструкция по п.1, отличающаяся тем, что расстояние между параллельными сторонами слоев определено по формуле
l=as,
где l – расстояние между параллельными кромками слоев;
s – толщина материала слоя;
а=15-60 – опытный коэффициент, зависящий от размеров конструкции, максимальной скорости воздушного потока.
5. Аэродинамическая конструкция по п.1, отличающаяся тем, что концевой обтекатель расположен в выемке сотового наполнителя, ограниченной внутренними поверхностями панелей, и закреплен на клее, совместимом со связующим материала панелей, при этом в заглубленной части обтекателя выполнены отверстия, заполненные клеем, а в этой же зоне в обтекателе и панелях выполнены сквозные сверления, в которых размещены крепежные элементы, например заклепки.
РИСУНКИ
|
|