|
|
(21), (22) Заявка: 2004132202/11, 05.04.2002
(24) Дата начала отсчета срока действия патента:
05.04.2002
(43) Дата публикации заявки: 10.06.2005
(46) Опубликовано: 20.09.2008
(56) Список документов, цитированных в отчете о поиске:
US 5574469 А, 12.11.1996. GB 2362742 А, 28.11.2001. US 5950966 А, 14.09.1999. RU 2001807 C1, 30.10.1993.
(85) Дата перевода заявки PCT на национальную фазу:
05.11.2004
(86) Заявка PCT:
IN 02/00098 (05.04.2002)
(87) Публикация PCT:
WO 03/086833 (23.10.2003)
Адрес для переписки:
115580, Москва, а/я 80, пат.пов. Н.В.Месяшной
|
(72) Автор(ы):
БОЙДЖИ Раджарам (IN)
(73) Патентообладатель(и):
М/с КОНКАН РЭИЛВЭЙ КОРПОРЭЙШН ЛИМИТЕД (IN)
|
(54) УСТРОЙСТВО ПРЕДУПРЕЖДЕНИЯ СТОЛКНОВЕНИЯ ПОЕЗДОВ И ПОДОБНЫХ ТРАНСПОРТНЫХ СИСТЕМ
(57) Реферат:
Изобретение относится к области автоматического управления движением поездов. Предложенная система содержит блок контроля и управления на базе микропроцессора, глобальную систему позиционирования (GPS) с приемной антенной для спутниковых сигналов, интерфейс локомотивной бригады требуемой мощности/диапазона с направленной антенной, подсистему входа/выхода, тормозное сигнальное устройство, связанное с тормозным механизмом для управления скоростью локомотива, устройство отображения сообщений, имеющее средство звуковой сигнализации и/или визуального отображения, и систему питания, предпочтительно состоящую из аккумуляторной батареи и трансформатора. Все блоки, устройства и системы функционально взаимосвязаны. Система позволяет предотвращать аварии с повышенной эффективностью. 3 ил., 1 табл.
ОБЛАСТЬ ИЗОБРЕТЕНИЯ
Настоящее изобретение относится к устройству предупреждения столкновений (УПС) для поездов и подобных транспортных систем. В частности, настоящее изобретение относится к УПС, работающему при помощи системы на базе микропроцессора с радио-приемопередатчиком, работающим на заданном расстоянии, например – 2 км, и имеющим независимый источник питания, которое при установке на локомотиве, тормозном вагоне, переездах, железнодорожной или любой иной станции автоматически генерирует сигналы для инициирования различных мер безопасности, например включения тормозной системы движущегося поезда, чтобы снизить его скорость до безопасного предела, или полной остановки поезда на безопасном расстоянии, при этом всевозможные столкновения поездов предупреждаются благодаря включению сирен на переездах, водители автотранспорта предупреждаются и могут принять меры предосторожности благодаря включению звуковых/световых сигналов, машинист или дежурный по переезду предупреждаются о необходимости принять предупредительные меры благодаря регистрации и корректировке информации о приближающихся поездах, их местонахождении, скорости и т.п.
ПРЕДПОСЫЛКИ ИЗОБРЕТЕНИЯ
Столкновение поездов приводит к повреждению имущества и гибели людей, а транспортные происшествия, происходящие в результате столкновения поездов, морально травмируют людей. Различные виды аварий с участием поездов – это лобовое столкновение, боковое столкновение поезда, наезд следующего поезда на впереди идущий поезд и столкновение поезда на переезде с другими транспортными средствами, например с автобусом, автомобилем и т.п.
Обычно лобовое столкновение происходит по ошибке человека. Столкновения поезда с другими транспортными средствами на охраняемых и неохраняемых переездах происходит по ошибке водителя автотранспорта или железнодорожного персонала. Существующая техника обычно не в состоянии предотвратить дорожно-транспортные происшествия, происходящие из-за ошибки человека. Такие аварии, т.е. столкновения поездов, которые происходят из-за отказа системы или по вине человека, можно предотвратить, используя предлагаемое устройство предупреждения столкновений, которое работает автоматически в пределах заданного расстояния.
Основной задачей данного изобретения является предупреждение аварий, т.е. столкновений поездов, при помощи предлагаемого устройства предупреждения столкновений. Устройство предупреждения столкновений, установленное на локомотиве и тормозном вагоне поезда, предупреждает столкновение на скорости выше 15 км/ч с другим движущимся поездом, оборудованным аналогичным УПС, на блок-участках и ходовых путях на станциях, полностью независимо от существующих в настоящее время систем сигнализации и блокировки. При помощи объединения в сеть с другими УПС, установленными на станциях и переездах также предотвращаются столкновения с автотранспортом на железнодорожных переездах и другие аварии, таким образом создается “невидимый щит”.
Другой целью настоящего изобретения является создание устройства предупреждения столкновений поездов, которое работает автоматически, имея собственный источник питания, и которое активно работает на заданном расстоянии таким образом, что поезда движутся с такой безопасной скоростью, что сближаются с этой скоростью без столкновения, и, в случае их сближения, их скорость автоматически контролируется.
Еще одной целью настоящего изобретения является создание устройства предупреждения столкновений, которое действует как устройство проверки бдительности локомотивной бригады, а также служит в качестве устройства, которое предупреждает машиниста о готовности к первому стоп-сигналу при приближении поезда к станции.
И еще одной целью настоящего изобретения является создание устройства предупреждения столкновений, которое предупреждает лобовое столкновение поездов путем автоматической остановки поезда, используя дистанционное управление, без участия локомотивной бригады; кроме того, устройство предупреждения столкновений действует в качестве предупредительного устройства для пассажиров при приближении поезда к переездам.
В соответствии с одним из признаков данного изобретения, если поезд прибыл на станцию с опережением времени по расписанию, то при его отправке с этой станции производится “подсчет отклонений”, эта величина используется для определения того, отправляется поезд по правильному пути или нет.
“Подсчет отклонений” – это разница между назначенным номером пути, по которому поезд прибыл на станцию, и назначенным номером пути, по которому поезд убывает со станции.
Для любой конкретной станции можно разработать свой подсчет отклонений, для того чтобы от конкретного исходного пути достичь заданного пути, и станционное УПС содержит эту информацию, которую передает локомотивному УПС.
Эта особенность более подробно поясняется на прилагаемых фиг.2 и 3.
На прилагаемых фиг.2 и 3, ПО означает “подсчет отклонений”, как описано выше, ПОЛ означает “подсчет отклонений влево” (влево или вправо по направлению движения при прибытии поезда на станцию), ПОП – “подсчет отклонений вправо”.
Если блок-участки по обе стороны станции одинакового типа, то есть однопутные или двухпутные, число ПОЛ, когда поезд входит на станцию, должно равняться числу ПОП при отправлении, тогда поезд будет идти по правильному пути.
Если же с одной стороны к станции примыкает двухпутный блок-участок, а с другой однопутный, то для данной станции будет предварительно задан остаточный подсчет вправо или влево, чтобы знать, какой выходной путь является “правильным” для поезда, отправляющегося со станции. Данный признак изобретения иллюстрируют также схемы, приведенные на фиг.2 и 3.
В зависимости от направления движения, подсчеты отклонений влево или вправо последовательно указывают номер бокового пути, начиная от входного пути, влево или вправо, куда достигает УПС.
Например, при приеме четного поезда, если УПС выполняет только одно отклонение влево, значит поезд прибывает на боковой путь рядом с четным главным путем левее его.
Предположим, что поезд должен теперь отправиться с этого бокового пути по четному пути справа. УПС должно выполнить одно отклонение вправо – если оно выполнит больше, то поезд обязательно вступит НЕ на правильный четный выходной путь, а на неправильный.
КРАТКОЕ ОПИСАНИЕ ИЗОБРЕТЕНИЯ
Настоящее изобретение описывает систему предотвращения столкновений в железнодорожной сети, состоящей из множества локомотивов, движущихся по множеству путей со множеством стационарных объектов, таких станций, охраняемые переезды, неохраняемые переезды, насыпные переезды, запасные пути, стрелочные группы и сортировочные станции, при этом указанная система включает:
[i] по меньшей мере один центральный процессор для получения и обработки сигналов, установленный на каждом поезде;
[ii] по меньшей мере один процессор для получения и обработки сигналов, установленный на каждой станции;
[iii] по меньшей мере один процессор для получения и обработки сигналов, установленный на каждом переезде;
[iv] устройства получения сигналов глобальной системы позиционирования (GPS), которые взаимодействуют со всеми упомянутыми центральными процессорами установленными в поездах;
[v] устройства получения и передачи радио сигналов, которые взаимодействуют со всеми указанными центральными процессорами;
[vi] указанные центральные процессоры, установленные на поездах, выполнены с возможностью получения и обработки сигналов получаемых от устройств получения сигналов глобальной системы позиционирования, генерирования ответных сигналов, и передачи этих ответных сигналов при помощи устройств получения и передачи радио сигналов в реальном времени для идентификации местоположения и скорости всех поездов, указанные центральные процессоры также выполнены с возможностью идентификации пути, по которому движется поезд;
[vii] указанные центральные процессоры выполнены с возможностью получения указанных ответных сигналов при помощи указанных устройств получения и передачи радио сигналов;
[viii] указанные центральные процессоры, установленные в поездах, также выполнены с возможностью генерирования аварийных сигналов в ответ на определенные ответные сигналы, указывающие на потенциальную возможность столкновения;
[ix] устройства включения тормозного механизма, взаимодействующие с центральными процессорами, установленными в поездах, и выполненные с возможностью получения указанных аварийных сигналов и аварийного включения тормозного механизма.
Настоящее изобретение относится к устройству предупреждения столкновений (УПС) для поездов и подобных транспортных систем, которое предупреждает столкновения поездов, а также столкновения поездов с другими транспортными средствами. Соответственно, в данном изобретении предлагается устройство предупреждения столкновений для поездов и подобных транспортных систем, которое содержит устройство центрального процессора, на базе микропроцессора, в виде блока контроля и управления, приемник со спутниковой антенной для приема сигналов глобальной системы позиционирования (GPS), интерфейс локомотивной бригады требуемой мощности/диапазона с направленной антенной и системой ввода/вывода, устройство включения тормозного механизма, связанное с тормозным механизмом для управления скоростью локомотива, устройство отображения сообщений, имеющее средство аудио- и (или) визуальной сигнализации, и систему питания, предпочтительно состоящую из аккумуляторной батареи и трансформатора, причем все блоки, устройства и системы функционально взаимосвязаны.
При установке на локомотиве, тормозном вагоне, переездах, железнодорожных станциях или других объектах это устройство предупреждения столкновений будет автоматически генерировать сигналы для принятия различных мер безопасности, например, включения тормозной системы движущегося поезда, чтобы снизить его скорость и произвести полную остановку поезда на безопасном расстоянии, чтобы предотвратить столкновение двух поездов или столкновение поезда и других транспортных средств на переездах.
КРАТКОЕ ОПИСАНИЕ ГРАФИЧЕСКОГО МАТЕРИАЛА
Далее изобретение описывается со ссылками на прилагаемые чертежи.
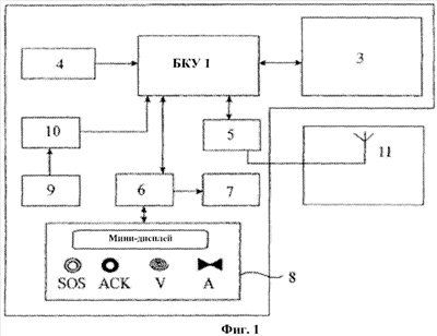
На фиг.1 показана схематическая блок-схема работы настоящего изобретения.
На фиг.2 показана схема работы настоящего изобретения для объяснения признака “подсчет отклонений” для двухпутного участка.
На фиг.3 показана схема работы настоящего изобретения для объяснения признака “подсчет отклонений” в альтернативном варианте осуществления изобретения.
ПОДРОБНОЕ ОПИСАНИЕ ИЗОБРЕТЕНИЯ
Как показано на фиг.1, предлагаемое устройство для предупреждения столкновений (УПС) содержит центральный процессор – блок (1) контроля и управления (БКУ), состоящий из модуля на базе микропроцессора, предназначенного для обработки данных и генерирования команд УПС, приемник (3) глобальной системы позиционирования, который принимает сигналы через спутник и передает их в БКУ (1) для расшифровки точных параметров, относящихся к движению локомотива, таких как широта, долгота, скорость, дата и время, и т.д. Антенна (3) приемника GPS установлена на крыше локомотива.
При помощи интерфейса локомотивной бригады и клавиатуры для ввода данных (4) машинист поезда в начале рейса вводит данные, например номер поезда, направление движения (четное или нечетное) и движение по ПРАВИЛЬНОМУ или НЕПРАВИЛЬНОМУ пути (при необходимости эти данные можно поменять на любой станции). Радио-приемопередатчик (5) требуемой мощности/диапазона передает информацию и команды, генерируемые и передаваемые аналогичными УПС, в том числе УПС установленными на станциях, когда они находятся в зоне покрытия радиосвязи (примерно 1,5-2 км или даже более). Направленная антенна (11) радио-приемопередатчика (5) установлена снаружи кабины локомотива.
Подсистема ввода/вывода (6) посылает сигналы в тормозное сигнальное устройство (7) для приведения в действие тормозного механизма (не показан), предназначенного для управления скоростью локомотива, и в сигнальное устройство (8) отображения сообщений, имеющее средства аудио- и/или визуальной сигнализации. Подсистема ввода/вывода (6) также содержит аккумуляторную батарею (9) и трансформатор (10) для системы питания УПС. Сигнальное устройство (8) отображения сообщений обычно имеет экранный мини-дисплей и другие средства отображения информации, такие как индикатор аварийного сигнала (SOS), звуковое устройство сигнала тревоги А, визуальное устройство сигнала тревоги V, и индикатор подтверждения АСК. Индикатор аварийного сигнала (SOS) представляет собой устройство, которое генерирует аварийный сигнал и немедленно передает на все аналогичные устройства в данной зоне аварийный сигнал с абсолютным приоритетом. Индикатор подтверждения АСК используется для подтверждения получения сигнала опасности и возвращения в исходное состояние других индикаторов опасности.
По результатам обработки информации, полученной от других УПС, блок контроля и управления принимает решение о включении нормального или экстренного торможения на локомотиве. Затем с помощью соответствующего интерфейса электромагнита, имеющегося для этой цели в кабине локомотива, включается электропневматическое торможение. Центральный процессор (1) выполнен с возможностью получения сигналов идентификации пути, по которому поезда движутся на данном участке ж/д сети, имеющего назначенный ему на основе подсчета отклонений уникальный номер, и сравнивать этот назначенный уникальный номер с назначенным номером пути других поездов движущихся на том же участке.
Устройства предупреждения столкновений, установленные на локомотивах, а также устройства предупреждения столкновений, установленные на неохраняемых, а также охраняемых не включенных в блокировку переездах, когда они вступают в зону покрытия радиосвязью друг друга, обмениваются своими идентификационными данными с соответствующими данными о маршруте в виде пакетов цифровых кодированных данных. На основе анализа этих данных обслуживающий персонал на переезде или в тормозном вагоне предпримет необходимые действия.
Технические условия в части функциональных требований
Технические условия в части функциональных требований описываются отдельно для каждого вида УПС, а именно, для:
[1] локомотивного УПС;
[2] станционного УПС;
[3] УПС тормозного вагона;
[4] переездного УПС.
Локомотивное УПС
(i) Локомотивное УПС должно обнаруживать и идентифицировать все УПС в пределах 3 км, будь то локомотивное УПС, станционное УПС, УПС тормозного вагона или переездное УПС, и четко и однозначно идентифицировать несколько устройств одного типа.
(ii) Пакет данных, полученный от каждого типа УПС, должен анализироваться, чтобы определить, является ли это УПС локомотивным УПС. Если оба устройства являются локомотивными УПС, то локомотивное УПС на основании информации полученной от системы глобального позиционирования (GPS) определяет, сокращается ли относительное расстояние между ними, а также определяет, движутся ли они по одному пути; и если это так, инициирует действие для предупреждения машинистов при помощи аудиовизуальной сигнализации и автоматически включает тормозное действие во избежание столкновения. Локомотивный УПС также обнаруживает любую необычную остановку другого УПС, когда тот находится не на станции, а на правильном пути, и проверяет наличие сигнала нормальности с другого УПС. Если этот сигнал отсутствует, УПС должен снизить скорость поезда до 25 км/ч или ниже, как предписано, с одновременной аудио-визуальной сигнализацией. УПС должен обнаруживать любой аварийный сигнал, передаваемый любым другим УПС в пределах 3-4 км, и немедленно включать соответствующее торможение с предупреждением машиниста, если другое УПС занимает путь на станции.
(iii) Если другое УПС является станционным, локомотивное УПС должно:
Получать информацию о занятости главных путей станции; – получать информацию о местонахождении первых стоп-сигналов на данной станции и на следующей станции, предупреждать машиниста локомотива с помощью аудиовизуальной сигнализации с требованием подтверждения получения при подходе поезда к станции, обнаруживать любой аварийный сигнал и предпринимать действия для остановки поезда; получать информацию о типе следующего блок-участка.
Получать информацию о главных путях данной станции и следующей станции в части чисел подсчета отклонения; обнаруживать, не выходит ли хвост любого поезда за предельный столбик по данным из станционного УПС; и передавать информацию о неисправном переездном УПС на блок-участке сзади.
(iv) Если другое УПС является переездным УПС на охраняемом переезде со шлагбаумами, локомотивное УПС должно: обнаруживать, открыт ли переезд, и снижать скорость до 25 км/ч; обнаруживать аварийный сигнал и останавливать поезд; обнаруживать неисправность переездного УПС; автоматически включать свисток локомотива при приближении к переезду.
(v) Если другое УПС является переездным УПС на неохраняемом переезде, локомотивное УПС должно: автоматически включать свисток локомотива при приближении к переезду; обнаруживать возможное препятствие на пути и снижать скорость до 25 км/ч; и обнаруживать неисправность переездного УПС.
(vi) Если другое УПС является УПС тормозного вагона, локомотивное УПС должно: идентифицировать УПС своего тормозного вагона; обнаруживать, остается ли тормозной вагон прицепленным к поезду, если обнаружено отцепление тормозного вагона – предупредить машиниста; на станции – обнаруживать, освободило ли УПС тормозного вагона крестовину сзади, а также зашло ли за предельный столбик; обнаруживать неисправность УПС тормозного вагона; обнаруживать аварийный сигнал из УПС тормозного вагона и останавливать поезд.
(vii) Само локомотивное УПС должно: на станции – обнаруживать, на каком пути оно находится; при отправлении определять, движется ли оно фактически по правильному или по неправильному пути, независимо от того, каким является письменное заявление станционного персонала; определять, не перекрывает ли какие-либо пути локомотив, на котором установлено данное УПС; проверять бдительность локомотивной бригады при нормальном движении на блок-участке и при приближении к первому стоп-сигналу; при отсутствии бдительности – снижать скорость поезда; выполнять самоконтроль и выдавать соответствующее сообщение, если устройство работает не в соответствии с техническими требованиями; выявлять ситуации, когда локомотивная бригада действует по принуждению.
Станционное УПС:
(i) Должно быть способным идентифицировать тип УПС в пределах 3 км, т.е. определять локомотивное УПС, УПС тормозного вагона, и однозначно идентифицировать каждое устройство, если устройств несколько. Должно обнаруживать локомотивное УПС и путь, который оно занимает, по предпочтительному варианту осуществления данного изобретения – на основе подсчета отклонений, и должно сообщать подсчет отклонений от входного пути с блок-участка по отношению к номеру пути на станции, должно иметь подсчет отклонений для правильного выходного пути со станции с любого отправочного пути, должно сообщать вышеуказанную информацию о подсчете отклонений на следующую станцию по пути следования, должно передавать информацию о местонахождении первых стоп-сигналов данной станции и следующей станции, по пути следования, должно сообщать тип двух следующих блок-участков по пути следования, должно сообщать о переездах, оборудованных УПС на двух следующих блок-участков по пути следования, должно обнаруживать локомотивное УПС/УПС тормозного вагона, блокирующее любой путь на станции, должно включать сирену при обнаружении скатывания УПС тормозного вагона обратно на станцию, должно обнаруживать ситуацию, когда любая противошерстная стрелка на главном пути переведена на обгонный путь, должно выполнять самоконтроль и сообщать, когда оно работает не в соответствии с техническими требованиями. По данному изобретению, указанная информация передается станционным УПС локомотивному УПС для постоянной обработки этой информации локомотивным УПС.
УПС тормозного вагона
Должно однозначно идентифицировать УПС в пределах 3 км или в пределах двойного тормозного пути при экстренном торможении, должно получать собственный идентификатор от локомотивного УПС соответствующего поезда – по заявленному номеру поезда, должно контролировать бдительность проводника, должно обнаруживать расцепление состава, при расцеплении состава должно подавать аварийный сигнал, должно иметь возможность ручной подачи аварийного сигнала, должно иметь систему независимого питания на 12 часов работы, должно быть компактным размером с портфель для возможности прикрепления в раме, защищающей от воров, на тормозном вагоне или локомотиве.
Переездное УПС
Переездное УПС должно идентифицировать УПС приближающегося поезда и предупреждать водителей автотранспорта аудио-визуальной сигнализацией, должно обнаруживать открытое состояние переезда, если он оборудован шлагбаумами, и предупреждать приближающийся поезд, должно выполнять самоконтроль и, если оно неисправно, передавать соответствующее сообщение в УПС проходящего локомотива, должно обнаруживать возможное блокирование автодороги и сообщать об этом в УПС проходящего локомотива.
Устройство предупреждения столкновений способно работать с входными сигналами от глобальной системы позиционирования или без них, если используются входные сигналы, которые подаются из стандартного цифрового тахометра, обычно имеющегося на локомотивах, совместно с результатами измерений угловых колебаний тележки относительно продольной оси корпуса локомотива.
Указанные входные сигналы позволяют устройствам предупреждения столкновений использовать их вместо входных сигналов, поступающих от глобальной системы позиционирования, и работать точно так же, как описано выше.
Работа предлагаемого УПС при разных сценариях ситуации описывается ниже.
Как срабатывает УПС
Если два УПС в пределах 3 км обнаруживают, что приближаются друг к другу, они проверяют, не находятся ли они на одном и том же пути, и, если да, инициируют действие включения тормозов на обоих локомотивах. Если два УПС в пределах 3 км или на установленном расстоянии, зависящем от тормозных путей, обнаруживают, что приближаются друг к другу, но по разным путям и с нормальной скоростью, они просто безопасно проходят рядом. Но, если одно из них замедлило ход и машинист нажимает кнопку нормальности, чтобы сообщить, что он остановился, но ничего серьезного для соседнего пути нет, то УПС, движущееся с нормальной скоростью, будет продолжать свое движение.
Кроме того, если у машиниста возникла проблема, или он не уверен, что все в порядке, и поэтому не нажимает кнопку нормальности, скорость приближающегося поезда снижается до 25 или 15 км/ч, как предписано, чтобы в случае обнаружения любого препятствия машинист смог быстро остановиться.
Если одно из этих двух УПС инициировало аварийный сигнал по той причине, что обнаружен сход с рельсов, и соседний путь необходимо защитить, автоматически включается торможение и поезд останавливается, и тем самым предупреждается столкновение.
Виды столкновений и описание, как действуют УПС, чтобы предупредить столкновения на опасных скоростях.
(i) Лобовые столкновения: лобовые столкновения обычно не должны происходить, если персонал строго подчиняется сигналам всех имеющихся систем сигнализации и иным предписанным правилам. Но, если эти правила не соблюдаются или нарушаются (например, водители или машинисты, проезжающие закрытые сигналы, или начальники станций, беспечно выдающие путевые листы, содержащие неточную информацию, и, таким образом, в нарушение вовлекаются более чем два или три лица), происходят столкновения. УПС могут вмешиваться на этой стадии независимо от действий персонала. Ниже описываются каждый тип лобового столкновения, и как УПС защищает от него.
(ii) На однопутном блок-участке
В обычной системе, если находящийся впереди блок-участок уже занят движущимся поездом, но начальник станции в обход блок-аппарата выдает путевой листок, что путь свободен, тем самым разрешая поезду вступить на тот же блок-участок, или машинист неправильно понимает показание сигнала и проезжает запрещающий сигнал и вступает на этот блок-участок, т.е. имели место две или три ошибки, то в таких случаях возможно лобовое столкновение поездов при их сближении друг с другом.
По данному изобретению, поскольку УПС работают независимо от действий начальника станции, а также независимо от блокировки или сигналов на станциях, на них эти ошибки или нарушения не отражаются. Когда два локомотивных УПС обнаруживают друг друга в пределах 3 км при нахождении обоих на одном пути и в случае сокращения относительного расстояния между ними, включается торможение, и поезда останавливаются, не доходя друг до друга.
(iii) На двухпутных участках
В обычной системе, когда по некоторым эксплуатационным причинам поезд пускают не по его нормальному пути для того, чтобы изменить путь, переход на другой путь необходимо согласовать. В таких случаях машинисту выдается листок-разрешение на движение по “неправильному” пути. Если начальник станции ошибается, что может случиться, если станция к тому же работает при временно отключенной блокировке, и заявляет машинисту, что тот отправляется на правильный путь, только без отклонения, возможно, даже искренне веря в это, забывая правильно перевести съезд, то поезд может отправиться на неправильный путь и столкнуться с другим поездом, движущимся навстречу с соблюдением правильных процедур.
При оборудовании УПС по данному изобретению, поскольку локомотивное УПС выполнено таким образом, что может обнаруживать подсчет отклонения, основываясь на информации со станционного УПС, оно автоматически выявляет, что поезд переведен на неправильный путь, и не позволит другому локомотивному УПС на том же пути столкнуться с ним, затормозив оба поезда, когда они обнаружат друг друга в пределах 3 км.
(iv) Станция с однопутными участками по обе стороны
В существующей системе, если поезд, который был принят на главный путь, стоит, ожидая сигнала на отправление, то, по правилам, другому поезду разрешается подходить к станции с другой стороны. Сигналы не открываются, пока маршрут не будет установлен. По правилам, подходящий к станции поезд должен остановиться у сигнала. Но машинист может ошибиться и проехать закрытый сигнал, в результате чего происходит лобовое столкновение.
При оборудовании УПС по данному изобретению локомотивное УПС поезда, принятого на станцию и стоящего на главном пути, благодаря своей конструкции устанавливает, что подсчет отклонений равен нулю и, следовательно, идентификация пути передается другому локомотивному УПС.
Поезд, приближающийся к станции со стороны блок-участка, получает от станционного УПС информацию о том, что противошерстные стрелки не установлены или не установлены на обгонный путь. Если они не установлены на обгонный путь, локомотивное УПС приближающегося поезда, обнаружив другое локомотивное УПС на том же пути, включит торможение, чтобы остановить поезд. Если станционное УПС передает, что противошерстная стрелка установлена на обгонный путь, то, даже если приближающийся поезд обнаруживает локомотивное УПС поезда, стоящего на главном пути, он снизит лишь скорость до 15 км/ч для входа на обгонный путь. На этой стадии у машиниста будет достаточно времени для остановки, если он обнаружит, что и обгонный путь занят другим поездом, так как локомотивное УПС разработано таким образом, что может установить в пределах 3 км нахождение на одном пути двух сближающихся поездов, торможение включается автоматически, и, следовательно, столкновения не происходит.
Наезд вслед идущего поезда
В существующей системе рассмотрим ситуацию, когда поезд принят на станцию и ожидает открытия выходного сигнала, скажем, на главном пути, а это время с блок-участка сзади к этой станции приближается другой поезд. Начальник станции прав, не открывая входной сигнал поезду, приближающемуся к станции, поскольку ему нужно время для установки маршрута и т.п., и он справедливо ожидает, что этот поезд остановится у закрытого входного сигнала. Но машинист ошибается и проезжает закрытый сигнал и врезается в стоящий поезд.
При оборудовании УПС по данному изобретению локомотивное УПС приближающегося поезда при одновременной проверке бдительности машиниста (чтобы поезд, приближающийся к станции, остановился у первого стоп-сигнала) предпринимает действие для снижения скорости поезда до 15 км/ч, если машинист не проявляет бдительности. Если машинист нажимает кнопку бдительности, но все равно совершает ошибку, не останавливаясь у сигнала, УПС будет действовать дальше. Поскольку станционное УПС сообщает приближающемуся локомотиву, что, например, противошерстные стрелки не установлены на обгонный путь, автоматически включается торможение, если на станции на том же пути, куда следует приближающийся поезд, обнаружено другое локомотивное УПС. Кроме того, для остановки приближающегося поезда будет действовать и УПС тормозного вагона. Таким образом, столкновение будет предотвращено.
Работа предлагаемого УПС при разных сценариях работы описываются ниже, а также на прилагаемых схемах и в таблице описания.
Разграничение станционного участка от прилегающих блок-участков – (i) Станционное УПС будет разграничивать станционный участок между двумя последовательными блок-участками. Станционное УПС будет непрерывно передавать сведения о местоположении (широта и долгота) своего первого стоп-сигнала (проходного или внешнего по обе стороны станции) локомотивным УПС всех приближающихся поездов. На основании полученной информации, локомотивное УПС включит световую индикацию “Приближение к станции” и звуковую индикацию для проверки бдительности машиниста. Если в течение 30 секунд машинист не подтвердит получение информации, локомотивное УПС включит обычное торможение для остановки поезда в независимости от положения первого стоп-сигнала (открыт или закрыт).
Локомотивы в пределах станционного участка
(i) Когда два локомотивных УПС определяют, что они находятся в пределах станционного участка (на основании информации, полученной от станционного УПС), и скорость каждого – 15 км/ч или меньше, они автоматически переключатся в режим “Только прием”. Однако, в случае аварийной ситуации, такие УПС по-прежнему могут посылать аварийные сигналы другим УПС, которые находятся в зоне их радиосвязи.
(ii) Локомотивы (в том числе маневровые), движущиеся со скоростью более 15 км/ч на станционном участке или выезжающие со станционного участка
Локомотивное УПС поезда разрешит возобновить передачу собственной информации другим УПС, находящимся поблизости, если его скорость в пределах станции выше 15 км/ч или если локомотив выезжает со станционного участка (который разграничен станционным УПС).
Отправка поездов со станционного участка по “НЕПРАВИЛЬНОМУ” пути
Убедившись в том, что ПЕРВЫЙ поезд на НЕПРАВИЛЬНЫЙ путь уже отправлен с ограничением скорости до 25 км/ч, станционное УПС разрешит локомотивному УПС следующего поезда отправляться по НЕПРАВИЛЬНОМУ пути с нормальной скоростью путем автоматической отправки этой информации локомотивному УПС по радиосвязи. В таких случаях машинист будет также иметь возможность просматривать обновленную информацию на экране локомотивного УПС перед инициированием соответствующего необходимого действия.
Дополнительные свойства в части безопасности при работе без блокировки на станциях.
(i) В случае введения работы на станциях без блокировки, информацию о чем станционному УПС передает дежурный начальник станции, станционное УПС предпримет следующие дополнительные меры предосторожности.
(ii) Станционное УПС будет ограничивать скорость ВСЕХ приближающихся поездов до 15 км/ч, заблаговременно сообщая их соответствующим локомотивным УПС о работе станции без блокировки.
(iii) В качестве меры предосторожности станционное УПС будет автоматически вызывать изменение назначения пути в локомотивных УПС всех приближающихся поездов на НЕПРАВИЛЬНЫЙ путь. При этом настройка по умолчанию для локомотивных УПС всех поездов, отправляющихся с такой станции без блокировки, будет “НЕПРАВИЛЬНЫЙ” путь, если дежурный начальник станции со своего станционного УПС не изменит ее на “ПРАВИЛЬНЫЙ” путь. Это снизит вероятность лобового столкновения, даже если любой один из этих поездов уже действительно выехал на неправильный путь на блок-участке по ошибке человека – сознательной или случайной.
Обработка отказа станционного УПС
(i) Отказ станционного УПС по любой причине приведет к пропаданию “МАСКИ” станционного участка, которая при нормальной работе отделяет станционный участок от прилегающих блок-участков. В результате такого отказа для станционного участка будет применяться логика блок-участка, поскольку приемопередатчик УПС поездов, движущихся со скоростью 15 км/ч или ниже, будет находиться в режиме “только прием”, другие поезда могут проходить эту станцию со своей НОРМАЛЬНОЙ скоростью. Действительная безопасность на станции будет обеспечиваться имеющейся системой сигнализации и блокировки. Кроме того, нажатие кнопки аварийного сигнала на УПС любого из поездов на станционных путях заставит УПС всех остальных поездов остановить свои поезда.
При объединении входных сигналов от глобальной системы позиционирования и входных сигналов, поступающих от тахометра и устройства измерения углового положения тележек, готовность и надежность устройства многократно повышаются, и благодаря этому систему с подвижными блоками можно вводить на любой действующей железной дороге, оборудованной современной системой сигнализации и рельсовых цепей.
УПС работает при всех видах перегонной сигнализации – при автоблокировке или электрожезловой системе, которая является старейшей системой, дошедшей до наших дней. Иными словами, при любом виде сигнализации, от самой старой до самой сложной, УПС работают независимо и обеспечивают предотвращение столкновений при скорости выше 15 км/ч, если подвижные объекты оборудованы устройствами предупреждения столкновений.
Фиг.2 и 3 наглядно иллюстрируют характеристику “подсчет отклонений”, которая является уникальной для данного изобретения.
На фиг.4, 5 показана таблица столкновений.
Приведенные выше описание и примеры служат для только лучшего понимания изобретения и никоим образом не ограничивают его объем. УПС, описанные выше для поездов, можно аналогичным образом приспособить и использовать для любой иной транспортной системы.
Формула изобретения
1. Система предотвращения столкновений в железнодорожной сети, состоящей из множества поездов, движущихся по множеству путей, при этом указанная система включает:
[i] по меньшей мере, один процессор для получения и обработки сигналов, установленный на каждом поезде;
[ii] устройства получения сигналов от глобальной системы позиционирования (GPS), которые взаимодействуют с упомянутыми процессорами, установленными в поездах;
[iii] устройства получения и передачи радиосигналов, которые взаимодействуют со всеми указанными процессорами в зоне покрытия радиосвязи 3 км;
[iv] указанные процессоры, установленные на поездах, выполнены с возможностью получения и обработки сигналов, получаемых от устройств получения сигналов глобальной системы позиционирования, генерирования ответных сигналов и передачи этих ответных сигналов при помощи устройств получения и передачи радиосигналов в реальном времени для идентификации местоположения и скорости поездов, при этом указанные процессоры также выполнены с возможностью идентификации пути, по которому движется поезд;
[v] указанные процессоры выполнены с возможностью получения указанных ответных сигналов при помощи указанных устройств получения и передачи радиосигналов;
[vi] указанные процессоры, установленные в поездах, выполнены с возможностью генерирования аварийных сигналов в ответ на определенные ответные сигналы, указывающие на потенциальную возможность столкновения;
[vii] устройства включения тормозного механизма, взаимодействующие с процессорами, установленными в поездах, и выполненные с возможностью получения указанных аварийных сигналов и аварийного включения тормозного механизма;
[viii] по меньшей мере, один процессор для получения и обработки сигналов установлен на стационарном объекте, таком, как станции, охраняемые переезды, неохраняемые переезды,
отличающаяся тем, что на каждом поезде установлено два процессора, первый – впереди, на локомотиве, а второй – сзади, на тормозном вагоне.
2. Система предотвращения столкновений в железнодорожной сети по п.1, отличающаяся тем, что указанные процессоры выполнены с возможностью получения сигналов для идентификации пути, по которому поезда движутся на данном участке железнодорожной сети и которому присвоен уникальный идентификационный номер на основе подсчета отклонений, и сравнивать этот назначенный уникальный номер с назначенным номером пути других поездов, движущихся на том же участке.
РИСУНКИ
|
|