|
|
(21), (22) Заявка: 2007108081/11, 05.03.2007
(24) Дата начала отсчета срока действия патента:
05.03.2007
(46) Опубликовано: 20.09.2008
(56) Список документов, цитированных в отчете о поиске:
US 3752085 A1, 14.08.1973. RU 53236 U1, 10.05.2006. SU 366104 A1, 01.01.1973. US 2129950 A1, 13.09.1998.
Адрес для переписки:
105037, Москва, ул. Первомайская, 26, кв.11, пат.пов. Б.С.Ляховичу
|
(72) Автор(ы):
Фролов Владимир Михайлович (RU), Рябченков Лев Николаевич (RU), Резников Алексей Давидович (RU)
(73) Патентообладатель(и):
Открытое акционерное общество “Гжельский завод Электроизолятор” (RU)
|
(54) КАРКАС ДЛЯ ЗАКРЕПЛЕНИЯ И ТРАНСПОРТИРОВКИ КУЗОВОВ АВТОМОБИЛЕЙ (ВАРИАНТЫ)
(57) Реферат:
Изобретение относится к средствам для закрепления и транспортировки кузовов автомобилей. Каркас для закрепления и транспортировки кузовов автомобилей по первому варианту содержит основание в виде нижней горизонтальной рамы (1), расположенной между двумя боковыми поворотными на продольных осях (4) средствами для крепления кузовов автомобилей, и фиксаторы вертикального положения поворотных средств. Фиксаторы положения поворотных рам выполнены в виде верхних поперечных балок (5) и опорных элементов. Поворотные рамы снабжены опорными пластинами для крепления днищ кузовов автомобилей с возможностью горизонтального расположения продольной плоскости симметрии кузова автомобиля при вертикальном положении поворотных рам. Нижняя горизонтальная рама снабжена опорными пластинами для крепления днища кузова к горизонтальной плоскости опорных пластин. Каркас для закрепления и транспортировки кузовов автомобилей по второму варианту содержит основание с двумя поворотными средствами, каждое из которых выполнено в виде пары поворотных стоек с опорными пластинами для закрепления кузовов автомобилей, и временную технологическую опору для фиксации одной пары поворотных стоек в горизонтальном положении при вертикальном положении другой пары поворотных стоек. Изобретение уменьшает габариты. 2 н. и 13 з.п. ф-лы, 15 ил.
Изобретение относится к области транспортировки автомобилей и их частей к потребителям, в частности к разборным устройствам для закрепления и транспортировки кузовов автомобилей.
Известна многоярусная конструкция, применяемая для транспортировки кузовов автомобилей в полуприцепе автопоезда, состоящая из балок и опорных поверхностей, к которым крепятся кузова автомобилей (см. авторское свидетельство СССР №698802, МПК В60Р 3/08, опубликованное 25.11.1979).
Недостаток известного устройства заключается в том, что многоярусная конструкция жестко соединяется с бортом полуприцепа и не может быть использована при транспортировке кузовов автомобилей в железнодорожных и автомобильных платформах.
Указанных недостатков лишен каркас для закрепления и транспортировки кузовов автомобилей, содержащий основание, два противоположно расположенных боковых поворотных средства для крепления кузовов автомобилей, пару продольных осей и фиксаторы положения поворотных средств, причем боковые поворотные средства установлены на основании и выполнены с возможностью поворота вокруг продольных осей навстречу друг другу и последующего закрепления с помощью фиксаторов в вертикальном положении (см. патент США №3752085, МПК В60Р 7/08, опубликованный 14.08.1973).
Недостатком известного устройства является то, что известное устройство требует переоборудования вагона, автомобиль или кузов автомобиля перевозится только в вертикальном положении, что требует значительного увеличения габаритов по высоте. Известное устройство не может быть использовано в обычной железнодорожной или автомобильной платформе, а также не может быть разобрано в должной степени для складирования его в виде компактного плоского пакета деталей, которое удобно было бы возвращать предприятию, на котором были изготовлены кузова.
Задачей и техническим результатом, на достижение которого направлено изобретение, заключается в уменьшении габаритов по высоте, возможности использовать для перевозки стандартные железнодорожные или автомобильные платформы без соответствующего переоборудования, а также в возможности складирования каркаса после его использования в компактный пакет деталей, который удобен для возврата устройства предприятию, изготовившему кузова автомобилей.
Указанный технический результат достигается тем, что каркас для закрепления и транспортировки кузовов автомобилей, содержащий основание, два противоположно расположенных боковых поворотных средства для крепления кузовов автомобилей, пару продольных осей и фиксаторы положения поворотных средств, причем боковые поворотные средства установлены на основании и выполнены с возможностью поворота вокруг продольных осей навстречу друг другу и последующего закрепления с помощью фиксаторов, при этом согласно изобретению поворотные средства выполнены в виде поворотных рам, основание каркаса выполнено в виде нижней (горизонтальной) рамы, нижняя рама расположена между поворотными рамами, фиксаторы положения поворотных рам выполнены в виде верхних поперечных балок с отверстиями, пары дополнительных продольных осей, размещенных в отверстиях элементов поворотных рам, и опорных элементов, жестко связанных с элементами поворотных рам и опирающихся в своем вертикальном положении или в положении, отличном от вертикального не более чем на 30°, на элементы нижней горизонтальной рамы, причем поворотные рамы снабжены опорными пластинами с отверстиями для размещения крепежных элементов, предназначенных для крепления днищ кузовов автомобилей к плоскости опорных пластин с возможностью горизонтального положения или в положении, отличном от горизонтального не более чем 30° продольной плоскости симметрии кузова автомобиля при упомянутом положении поворотных рам, нижняя (горизонтальная) рама снабжена опорными пластинами с отверстиями для размещения крепежных элементов с возможностью крепления днища кузова автомобиля к плоскости опорных пластин, а поворотные и нижняя горизонтальная рамы выполнены разборными.
Целесообразно, если нижняя рама будет расположена горизонтально или в положении, отличном от горизонтального не более чем на 30°.
Фиксаторы положения каждой из поворотных рам выполнены преимущественно в виде верхних поперечных балок с отверстиями, по меньшей мере одной пары дополнительных продольных осей, размещенных в отверстиях элементов поворотных рам, и опорных элементов, жестко связанных с элементами поворотных рам и опирающихся в вертикальном положении или в положении, отличном от вертикального не более чем на 30°, на элементы нижней рамы.
Элементы поворотных и нижней горизонтальной рам могут быть выполнены в виде поперечных и продольных балок, причем опорные пластины могут быть жестко связаны с поперечными балками, продольные и поперечные балки могут быть соединены между собой с помощью крепежных элементов.
Каркас может быть снабжен защитными панелями и дополнительным поперечными элементами, соединенными с помощью крепежных элементов с поперечными и продольными балками нижней и поворотных рам.
Опорные элементы поворотных рам могут быть выполнены в виде косынок и укосин, жестко связанных с элементами поворотных рам и взаимодействующих с элементами нижней горизонтальной рамы при положении поворотных рам в вертикальном положении или в положении, отличном от вертикального не более чем на 30°.
Отверстия для размещения крепежных элементов в опорных пластинах могут быть выполнены напротив отверстий в днищах кузовов автомобилей, предназначенных для размещения крепежных элементов, соединяющих кузов и раму автомобиля.
Крепежные элементы могут быть выполнены в виде резьбового соединения (в частности, на болтах или винтах).
Указанный технический результат может быть достигнут и тем, что каркас для закрепления и транспортировки кузовов автомобилей, содержащий основание, два противоположно расположенных боковые поворотные средства для крепления кузовов автомобилей, по меньшей мере, пару продольных осей, размещенных в отверстиях элементов поворотной средств и фиксаторы положения поворотных средств, причем боковые поворотные средства выполнены с возможностью поворота вокруг продольных осей навстречу друг другу и закрепления с помощью фиксаторов, при этом согласно изобретению каркас выполнен разборным и содержит временную технологическую опору и, по меньшей мере, один промежуточный элемент, в отверстиях которого размещена, по меньшей мере, одна пара продольных осей, каждое поворотное средство выполнено в виде пары поворотных стоек с опорными элементами и опорными пластинами с отверстиями для размещения крепежных элементов, предназначенных для крепления днищ кузовов автомобилей к плоскости опорных пластин с возможностью горизонтального расположения или в положении, отличном от горизонтального не более чем на 30°, продольной плоскости симметрии кузова автомобиля при вертикальном положении пары поворотных стоек или в положении, отличном от вертикального не более чем на 30°, каждая пара поворотных стоек выполнена с возможностью поворота в горизонтальное положение или в положении, отличном от горизонтального не более чем 30°, для установки и закрепления днища кузова к паре поворотных стоек и последующего поворота пары поворотных стоек совместно с закрепленным кузовом в вертикальное положение или в положение, отличном от вертикального не более чем на 30°, причем при повороте одной пары поворотных стоек в горизонтальное положение или в положении, отличном от горизонтального не более чем на 30°, и фиксации этой пары поворотных стоек в упомянутом положении с помощью временной технологической опоры, другая пара поворотных стоек зафиксирована в вертикальном положении или в положении, отличном от вертикального не более чем на 30°, на основании с помощью фиксаторов, выполненных в виде крепежных элементов, размещенных в отверстиях опорных элементов стоек и основания.
Временная технологическая опора может быть выполнена в виде двух вертикальных стоек, соединенных расположенной преимущественно горизонтально перекладиной, взаимодействующей с парами поворотных стоек при их горизонтальном положении или в положении, отличном от горизонтального не более чем на 30°.
Опорные элементы поворотных стоек могут быть выполнены в виде косынок, жестко соединенных с поворотными стойкам, причем косынки снабжены отверстиями для размещения крепежных элементов, предназначенных для фиксации поворотных стоек к основанию при вертикальном положении или при положении, отличном от вертикального не более чем на 30° поворотных стоек.
Основание может быть выполнено в виде пространственной рамы.
Каркас может быть снабжен защитными панелями и поперечными и продольными элементами, соединенными с помощью крепежных элементов с элементами пространственной рамы.
Отверстия для размещения крепежных элементов в опорных пластинах могут выполнены напротив отверстий в днищах кузовов, предназначенных для размещения крепежных элементов, соединяющих кузов и раму автомобиля.
Крепежные элементы могут быть выполнены в виде болтового соединения или винтов.
Специалисту в данной области должно быть понятно, что используемые в настоящем описании термины, указывающие на положение элементов в пространстве, в частности, такие как вертикальное (рабочее) положение и горизонтальное (технологическое, загрузочное) положение элементов каркаса и кузовов, а также такие как продольные оси и фиксаторы, не следует понимать как указывающие на единственно точное положение элемента в пространстве. В описании и формуле изобретения к настоящему техническому решению подобные термины являются условными в том смысле, что при указании на положение данных элементов включают в себя не только строго горизонтальное или вертикальное, но и не исключают положение этих элементов, несколько отличное от упомянутых, не влияющее при этом на достижение вышеуказанного технического результата. Расчеты показывают, что такие отклонения от вертикального (горизонтального) положения соответствующих элементов находятся в пределах угловых отклонений в 30° (в одну или другую стороны).
На фиг.1 показан первый вариант выполнения каркаса с поворотными рамами в горизонтальном положении перед установкой кузовов автомобилей;
фиг.2 – первый вариант выполнения каркаса с поворотными рамами в горизонтальном положении с закрепленными кузовами автомобилей;
фиг.3 – первый вариант выполнения каркаса с поворотными рамами в вертикальном положении с закрепленными кузовами автомобилей;
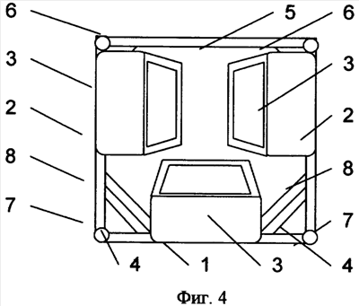
фиг.4 – первый вариант выполнения каркаса с поворотными рамами в вертикальном положении с закрепленными кузовами автомобилей и верхними поперечными балками;
фиг.5 – вид сбоку первого варианта выполнения каркаса;
фиг.6 – общий вид в изометрии второго варианта выполнения каркаса;
фиг.7 – вид сбоку второго варианта выполнения каркаса со снятыми защитными панелями;
фиг.8 – вид спереди второго варианта выполнения каркаса со снятыми защитными панелями и поворотными стойками в вертикальном положении;
фиг.9 – вид спереди второго варианта выполнения каркаса со снятыми защитными панелями в положении, когда одна пара поворотных стоек занимает вертикальное положение, а вторая пара поворотных стоек занимает горизонтальное положение и зафиксирована временной технологической опорой;
фиг.10-14 – положения пар поворотных стоек второго варианта выполнения каркаса при закреплении кузовов автомобилей;
фиг.15 – расположение на железнодорожной или автомобильной платформах двух каркасов с защитными панелями, выполненных по первому варианту, и одного каркаса с защитными панелями, выполненного по второму варианту.
Первый вариант выполнения каркаса для закрепления и транспортировки кузовов автомобилей (см. фиг.1-5) предназначен для закрепления трех кузовов автомобилей и содержит нижнюю горизонтальную раму 1, две противоположно расположенные боковых поворотных рамы 2 для крепления кузовов 3 автомобилей, пару продольных осей 4 и фиксаторы положения поворотных рам 2. Боковые поворотные рамы 2 установлены на нижней горизонтальной раме 1 и выполнены с возможностью поворота вокруг продольных осей 4 навстречу друг другу и последующего закрепления с помощью фиксаторов в вертикальном положении.
Нижняя горизонтальная рама 1 расположена между поворотными рамами 2, фиксаторы положения поворотных рам 2 выполнены в виде верхних поперечных балок 5 с отверстиями, пары дополнительных продольных осей 6, размещенных в отверстиях элементов поворотных рам 2, и верхних поперечных балок 5, и опорных элементов, выполненных в виде косынок 7 и укосин 8, жестко связанных с элементами поворотных рам 2 и опирающихся в вертикальном положении на элементы нижней рамы 1.
Поворотные рамы 2 снабжены опорными пластинами 9 с отверстиями для размещения крепежных элементов, предназначенных для крепления днищ кузовов 3 автомобилей к плоскости опорных пластин 9 с возможностью горизонтального расположения продольной плоскости симметрии кузова 3 автомобиля при вертикальном положении поворотных рам 2.
Нижняя горизонтальная рама 1 снабжена опорными пластинами 9 с отверстиями для размещения крепежных элементов с возможностью крепления днища кузова 3 к горизонтальной плоскости опорных пластин 9. Поворотные и горизонтальная рамы 2 и 1 выполнены разборными.
Элементы поворотных и нижней горизонтальной рам 2 и 1 выполнены в виде поперечных и продольных балок 5 и 10.
Опорные пластины 9 жестко связаны с поперечными балками 5, продольные и поперечные балки 5 и 10 соединены между собой с помощью крепежных элементов.
Каркас может быть снабжен защитными панелями 11 и дополнительным поперечными элементами 12, соединенными с помощью крепежных элементов с поперечными и продольными балками 5 и 10 нижней и поворотных рам 1 и 2.
Косынки 7 и укосины 8 жестко связаны с элементами поворотных рам 2 и взаимодействуют с элементами нижней горизонтальной рамы 1 при положении поворотных рам 2 в вертикальном положении.
Отверстия для размещения крепежных элементов в опорных пластинах 9 выполнены напротив отверстий в днищах кузовов 3, предназначенных для размещения крепежных элементов, соединяющих кузов 3 и раму автомобиля.
Крепежные элементы могут быть выполнены в виде болтового соединения или винтов.
На месте крепления кузовов 3 автомобилей производится последовательная сборка каркаса из поперечных и продольных балок 5 и 10, образующих нижнюю горизонтальную раму 1, к которой на продольных осях крепятся поворотные рамы 2. Перед установкой кузовов 3 автомобилей рамы нижняя рама 1 и поворотные рамы 2 принимают горизонтальное положение, как показано на фиг.1. Далее, к опорным пластинам 9 с помощью крепежных элементов через отверстия в опорных пластинах 9 и отверстия в днищах кузовов 3, предназначенные для размещения крепежных элементов, соединяющих кузов и раму автомобиля, кузова 3 крепятся к рамам 1 и 2, как показано на фиг.2. После закрепления кузовов 3 поворотные рамы 2 поворачиваются в вертикальное положение, как показано на фиг.3, до упора косынок и укосин 8 в элементы нижней рамы 1. После того как поворотные рамы 2 примут вертикальное положение, они соединяются между собой верхними поперечными балками 5, а косынки 7 и укосины 8 крепятся болтами к раме 1, как показано на фиг.4. На рамы 2 крепятся дополнительные поперечные элементы 12 и устанавливаются защитные панели 11, предохраняющие кузова 3 от повреждений.
Каркас для закрепления и транспортировки кузовов автомобилей по второму варианту (см. фиг.6-14) предназначен для закрепления двух кузовов автомобилей и содержит основание 13, два противоположно расположенные боковые поворотные средства для крепления кузовов автомобилей, каждое из которых выполнено в виде пары поворотных стоек 14 с опорными элементами 16 и опорными пластинами 17 для крепления кузовов 3 автомобиля. Имеется по меньшей мере пара продольных осей 18, размещенных в отверстиях поворотных стоек 14, и фиксаторы положения поворотных стоек 14. Пары поворотных стоек 14 выполнены с возможностью поворота вокруг продольных осей 18 навстречу друг другу и закрепления с помощью фиксаторов в вертикальном положении. Каркас выполнен разборным и содержит временную технологическую опору 19 и по меньшей мере один промежуточный элемент, представляющий собой, например, пару пластин 20, жестко соединенных между собой стержнем (на чертежах не показано). Промежуточных элементов может быть выполнено два, например, в виде двух отдельных пластин 20, как показано на фиг.6. В отверстиях пластин 20 размещена, по меньшей мере, одна пара продольных осей 18. Осей 18 может быть и две пары – как показано на фиг.6, в этом случае каждая ось соединяет одну поворотную стойку 14 с пластиной 20.
Опорные пластины 17 имеют отверстия для размещения крепежных элементов, предназначенных для крепления днищ кузовов 3 автомобилей к плоскости опорных пластин 17. При этом продольная плоскость симметрии кузова 3 автомобиля при вертикальном положении пары поворотных стоек 14 занимает горизонтальное расположение – кузов 3 автомобиля оказывается перевернутым набок.
Каждая пара поворотных стоек 14 имеет возможность поворота в горизонтальное положение и фиксации горизонтального поворота с помощью временной технологической опоры 19 для установки и закрепления днища кузова 3 и имеет возможность последующего поворота совместно с закрепленным кузовом 3 автомобиля в вертикальное положение. При повороте одной пары поворотных стоек 14 в горизонтальное положение эта пара поворотных стоек 14 зафиксирована в горизонтальном положении с помощью временной технологической опоры 19, а другая пара поворотных стоек 14 зафиксирована в вертикальном положении на основании 13 с помощью фиксаторов, выполненных в виде крепежных элементов, размещенных в отверстиях опорных элементов 16 стоек 14 и основания 13.
Временная технологическая опора 19 может быть выполнена в виде двух вертикальных стоек, соединенных горизонтальной перекладиной (на чертежах не показана), взаимодействующей с парами поворотных стоек 14 при их горизонтальном положении.
Опорные элементы 16 поворотных стоек могут быть выполнены в виде косынок, жестко соединенных с поворотными стойкам 14, причем косынки могут быть снабжены отверстиями для размещения крепежных элементов, предназначенных для фиксации поворотных стоек 14 к основанию 13 при вертикальном положении поворотных стоек 14.
Основание 13 может быть выполнено в виде пространственной рамы.
Каркас может быть снабжен защитными панелями 11 и поперечными и продольными элементами 12, соединенными с помощью крепежных элементов с элементами пространственной рамы основания 13.
Отверстия для размещения крепежных элементов в опорных пластинах 17 выполнены напротив отверстий в днищах кузовов 3 автомобилей, предназначенных для размещения крепежных элементов, соединяющих кузов и раму автомобиля.
Крепежные элементы могут быть выполнены в виде болтового соединения или винтов.
На месте крепления кузовов 3 автомобилей производится последовательная сборка каркаса, начиная с основания 13, которое представляет собой пространственную раму из поперечных и продольных балок и укосин. После сборки основания перед установкой кузовов 3 автомобилей одна пара поворотных стоек 14 с помощью крепежных элементов крепится в вертикальном положении к основанию 13, а вторая пара поворотных стоек 14 поворачивается в горизонтальное положение и фиксируется в горизонтальном положении временной технологической опорой 19, как показано на фиг.9. После чего на вторую пару поворотных стоек, находящуюся в горизонтальном положении, крепится кузов 3 автомобиля, как показано на фиг.10. После закрепления кузова 3 автомобиля убирается временная технологическая опора 19, а вторая пара поворотных стоек поворачивается в вертикальное положение и фиксируется крепежными элементами к основанию 13, как показано на фиг.11. После фиксации второй пары поворотных стоек на основании 13 первая пара поворотных стоек отсоединяется от основания 13 и поворачивается в горизонтальное положение, как показано на фиг.12, и фиксируется в нем временной технологической опорой 19. После чего на первую пару поворотных стоек крепится второй кузов 3 автомобиля, как показано на фиг.13. После закрепления второго кузова на первой паре поворотных стоек 14 убирается временная технологическая опора 19 и первая пара поворотных стоек 14 поворачивается в вертикальное положение, как показано на фиг.14.
После закрепления двух кузовов 3 продольные и поперечные элементы 12 соединяют с помощью крепежных элементов с элементами пространственной рамы основания 13 и устанавливают на них защитные панели 11.
На фиг.15 показано размещение на стандартной платформе двух каркасов, выполненных по первому варианту, и одного каркаса, выполненного по второму варианту. Каркасы крепятся к платформе с помощью петель, выполненных на элементах каркаса (не показаны).
Таким образом, достигается указанный технический результат – уменьшение габаритов по высоте, возможность использовать для перевозки стандартные железнодорожные или автомобильные платформы без соответствующего переоборудования, а также возможность складирования каркаса после его использования в компактный пакет деталей, который удобен для возврата устройства предприятию, изготовившему кузова автомобилей.
Формула изобретения
1. Каркас для закрепления и транспортировки кузовов автомобилей, содержащий основание, по меньшей мере два противоположно расположенных боковых поворотных средства для крепления кузовов автомобилей, пару продольных осей и фиксаторы положения поворотных средств, причем боковые поворотные средства установлены на основании каркаса и выполнены с возможностью поворота вокруг продольных осей навстречу друг другу и последующего закрепления с помощью фиксаторов, отличающийся тем, что поворотные средства выполнены в виде поворотных рам, основание каркаса выполнено в виде нижней рамы, расположенной между поворотными рамами, а поворотные рамы снабжены опорными пластинами с отверстиями для размещения крепежных элементов, предназначенных для крепления днищ кузовов автомобилей к плоскости опорных пластин с возможностью горизонтального положения продольной плоскости симметрии кузова автомобиля или ее положения, отличного от горизонтального не более чем на 30°, при вертикальном или при отличном от вертикального не более чем на 30° положении поворотных рам, при этом нижняя рама снабжена опорными пластинами с отверстиями для размещения крепежных элементов с возможностью крепления днища кузова автомобиля к плоскости опорных пластин, а поворотные и нижняя рамы выполнены разборными.
2. Каркас по п.1, отличающийся тем, что нижняя рама расположена горизонтально или в положении, отличном от горизонтального не более чем на 30°.
3. Каркас по п.1, отличающийся тем, что фиксаторы положения каждой из поворотных рам выполнены в виде верхних поперечных балок с отверстиями, по меньшей мере одной пары дополнительных продольных осей, размещенных в отверстиях элементов поворотных рам, и опорных элементов, жестко связанных с элементами поворотных рам и опирающихся в вертикальном положении или в положении, отличном от вертикального не более чем на 30°, на элементы нижней рамы.
4. Каркас по п.3, отличающийся тем, что элементы поворотных и нижней рам выполнены в виде поперечных и продольных балок, соединенных между собой с помощью крепежных элементов, а опорные пластины жестко связаны с поперечными балками.
5. Каркас по п.4, отличающийся тем, что снабжен защитными панелями и дополнительными поперечными элементами, соединенными с помощью крепежных элементов с поперечными и продольными балками нижней и поворотных рам.
6. Каркас по п.1, отличающийся тем, что опорные элементы поворотных рам выполнены в виде косынок и укосин, жестко связанных с элементами поворотных рам и взаимодействующих с элементами нижней рамы при положении поворотных рам в вертикальном положении или в положении, отличном от вертикального не более чем на 30°.
7. Каркас по любому из пп.1-6, отличающийся тем, что отверстия для размещения крепежных элементов в опорных пластинах выполнены напротив отверстий в днищах кузовов автомобилей, предназначенных для размещения крепежных элементов, соединяющих кузов и раму автомобиля.
8. Каркас по п.7, отличающийся тем, что крепежные элементы представляют собой элементы резьбового соединения.
9. Каркас для закрепления и транспортировки кузовов автомобилей, содержащий основание, по меньшей мере, два противоположно расположенных боковых поворотных средства для крепления кузовов автомобилей, пару продольных осей, размещенных в отверстиях элементов поворотных средств, и фиксаторы положения поворотных средств, причем боковые поворотные средства выполнены с возможностью поворота вокруг продольных осей навстречу друг другу и закрепления с помощью фиксаторов, отличающийся тем, что каркас выполнен разборным и содержит временную технологическую опору и, по меньшей мере, один промежуточный элемент, в отверстиях которого размещена, по меньшей мере, одна пара продольных осей, а каждое поворотное средство выполнено в виде пары поворотных стоек с опорными элементами и опорными пластинами с отверстиями для размещения крепежных элементов, предназначенных для крепления днищ кузовов автомобилей к плоскости опорных пластин с возможностью горизонтального или отличного от горизонтального не более чем на 30° положения продольной плоскости симметрии кузова автомобиля при вертикальном положении пары поворотных стоек или при их положении, отличном от вертикального не более чем на 30°, каждая пара поворотных стоек выполнена с возможностью поворота в горизонтальное положение или в положение, отличное от горизонтального не более чем на 30°, для установки и закрепления днища кузова автомобиля к паре поворотных стоек и последующего поворота пары поворотных стоек совместно с закрепленным кузовом автомобиля в вертикальное положение или в положение, отличное от вертикального не более чем на 30°, причем при повороте одной пары поворотных стоек в горизонтальное положение или в положение, отличное от горизонтального не более чем на 30°, и фиксации в горизонтальном положении или в положении, отличном от горизонтального не более чем на 30°, с помощью временной технологической опоры, другая пара поворотных стоек зафиксирована в вертикальном положении или в положении, отличном от вертикального не более чем на 30°, на основании с помощью фиксаторов, выполненных в виде крепежных элементов, размещенных в отверстиях опорных элементов стоек и основания.
10. Каркас по п.9, отличающийся тем, что временная технологическая опора выполнена в виде двух стоек, вертикально соединенных перекладиной, расположенной преимущественно горизонтально, взаимодействующей с парами поворотных стоек при их горизонтальном положении или положении, отличном от горизонтального не более чем на 30°
11. Каркас по п.9, отличающийся тем, что опорные элементы поворотных стоек выполнены в виде косынок, жестко соединенных с поворотными стойками, причем косынки снабжены отверстиями для размещения крепежных элементов, предназначенных для фиксации поворотных стоек к основанию при вертикальном положении поворотных стоек или положении последних, отличном от вертикального не более чем на 30°.
12. Каркас по п.9, отличающийся тем, что основание выполнено в виде пространственной рамы.
13. Каркас по п.12, отличающийся тем, что снабжен защитными панелями и поперечными и продольными элементами, соединенными с помощью крепежных элементов с элементами пространственной рамы.
14. Каркас по любому из пп.9-13, отличающийся тем, что отверстия для размещения крепежных элементов в опорных пластинах выполнены напротив отверстий в днищах кузовов автомобилей, предназначенных для размещения крепежных элементов, соединяющих кузов и раму автомобиля.
15. Каркас по п.14, отличающийся тем, что крепежные элементы представляют собой элементы резьбового соединения.
РИСУНКИ
|
|