|
|
(21), (22) Заявка: 2007107784/11, 01.03.2007
(24) Дата начала отсчета срока действия патента:
01.03.2007
(46) Опубликовано: 20.09.2008
(56) Список документов, цитированных в отчете о поиске:
RU 2132283 C1, 27.06.1999. RU 2019434 C1, 15.09.1994. SU 1362397 A3, 23.12.1987. FR 2599675 A, 11.12.1987.
Адрес для переписки:
423800, Республика Татарстан, г. Набережные Челны, пр-кт М. Джалиля, 29, ОАО “КАМАЗ”, НТЦ, БПЛиИР, И.Я. Бурганову
|
(72) Автор(ы):
Якубов Семен Семенович (RU), Буртаков Борис Ефимович (RU), Кабиров Фирдаус Зарипович (RU), Беляев Айдар Раисович (RU), Чагин Владимир Геннадьевич (RU), Мардеев Ильгизар Азатович (RU), Савостин Сергей Геннадьевич (RU), Арсеньев Михаил Владимирович (RU), Рыжиков Евгений Александрович (RU)
(73) Патентообладатель(и):
Открытое акционерное общество “КАМАЗ” (RU)
|
(54) СИСТЕМА РЕГУЛИРОВАНИЯ ДАВЛЕНИЯ ВОЗДУХА В ШИНАХ ТРАНСПОРТНОГО СРЕДСТВА (ВАРИАНТЫ)
(57) Реферат:
Система содержит головку подвода воздуха к шинам, связанную воздушными трубопроводами с источником рабочей среды и полостью шины соответственно и установленную на приводе колеса, содержащем карданный вал. По первому варианту головка подвода воздуха к шинам соединена с полостью шины через сферические уплотнения, закрепленные с каждой стороны карданного вала. Сферические уплотнения состоят из двух полусфер, наружной и внутренней, и плотно посажены для исключения утечек воздуха на фланцы и основные валы карданного вала с образованием герметичных полостей. По второму варианту подача воздуха в шины осуществляется через крестовины карданного вала, выполненные с внутренними центральными воздушными каналами. Для этого два канала одной из крестовин связаны соединительными трубопроводами с источником рабочей среды, а два канала другой крестовины через воздушный канал и воздушный трубопровод – с шиной транспортного средства, а перпендикулярные им каналы обеих крестовин соединены между собой телескопическими компенсаторами или гибкими трубопроводами, которые позволяют компенсировать изменение длины карданного вала. Система регулирования давления воздуха в шинах имеет высокую надежность, простое ремонтообслуживание данного узла. 2 н. и 1 з.п. ф-лы, 6 ил.
Изобретение относится к машиностроению, в частности к устройствам для подвода и регулирования давления воздуха в шинах колес транспортных средств с независимой подвеской.
Известна централизованная система накачивания шин, включающая магистраль, герметично соединенную с источником подачи воздуха и с шиной автомобиля, основание устройства уплотнения, последнее из которых выполнено в виде размещенной между вращающейся посредством подшипников на валу ступицей и упомянутым основанием герметичной камеры, первую и вторую трубы, соединенные одним концом с герметичной камерой соответственно через первый и второй проходы, а вторым концом – соответственно с источником подачи воздуха и с внутренней частью шины, при этом основание устройства уплотнения может представлять собой гильзу, неподвижно закрепленную на валу со стороны ступицы (заявка на изобретение №93056649, МПК6 B60C 23/00, опубл. 20.08.1996).
Недостатком известного технического решения является недостаточная надежность конструкции.
Известна также система регулирования давления воздуха в шинах грузовых полноприводных автомобилей, выбранная в качестве ближайшего аналога, содержащая головки подвода воздуха к шинам, установленные на полуосях и соединенные воздушными трубопроводами с краном управления (Платонов В.Ф., Полноприводные автомобили – 2-е изд., перераб. и доп. – М., Машиностроение, 1989, с.108, рис.32).
Данная система позволяет при необходимости снижать давление воздуха в шинах до определенного значения, вплоть до минимально допустимого, в результате чего увеличивается опорная площадь шины, улучшаются сцепные свойства и проходимость.
Недостатком данной конструкции является сложность установки и компоновки элементов системы в колесно-ступичном узле. Для замены (демонтажа) головки подвода воздуха требуется большое количество операций и времени, т.к. необходимо снять колесо, полуось, ступицу, цапфу и т.д. Расположенная внутри головка подвода воздуха с одной стороны защищена от внешних воздействий, что является положительным фактором, но с другой стороны уменьшается теплоотвод от трущихся деталей и даже происходит подвод тепла к деталям головки от тормозного барабана или диска. Повышение температуры на элементах головки подвода воздуха, в частности на манжетах, приводит к снижению их ресурса и выходу их из строя, что приведет к утечке наружу находящегося под давлением воздуха из системы регулирования давления воздуха в шинах транспортного средства.
Решаемая задача: повышение надежности системы регулирования давления воздуха в шинах транспортного средства, упрощение ремонтообслуживания данного узла.
Указанная задача решается тем, что в системе регулирования давления воздуха в шинах транспортного средства, содержащей головку подвода воздуха к шинам, связанную воздушными трубопроводами с источником рабочей среды и полостью шины, по первому варианту головка подвода воздуха к шинам установлена на приводе колеса, содержащем карданный вал, и соединена с полостью шины через сферические уплотнения, состоящие из двух полусфер, наружной и внутренней, установленных с возможностью взаимного перемещения, и закрепленные с каждой стороны карданного вала с образованием герметичных полостей, соединенных между собой телескопическими компенсаторами или гибкими трубопроводами, при этом центры сферических уплотнений совпадают с центром крестовин карданного вала, а наружная полусфера сферических уплотнений может состоять из двух частей, соединенных по диаметральной плоскости с помощью разборного соединения. По второму варианту головка подвода воздуха к шинам установлена на приводе колеса, содержащем карданный вал, крестовины которого выполнены с внутренними центральными воздушными каналами, при этом два канала одной из крестовин связаны соединительными трубопроводами с источником рабочей среды, два канала другой крестовины – с шиной, а перпендикулярные им каналы обеих крестовин соединены между собой телескопическими компенсаторами или гибкими трубопроводами.
Размещение головки подвода воздуха к шинам на приводе колеса значительно упрощает ремонтообслуживание системы, в частности ее проще заменить, для чего необходимо лишь снять привод (карданный вал), без серьезной переборки всего колесно-ступичного узла, легче контролировать наличие утечек через головку.
Выполнение соединения головки с полостью шины по первому варианту через сферические уплотнения, состоящие из двух полусфер, наружной и внутренней, установленных с возможностью взаимного перемещения, и закрепленные с каждой стороны карданного вала с образованием герметичных полостей, соединенных между собой телескопическими компенсаторами или гибкими трубопроводами, а по второму варианту с внутренними центральными воздушными каналами, и при этом то, что два канала одной из крестовин связаны соединительными трубопроводами с источником рабочей среды, два канала другой крестовины – с шиной, а перпендикулярные им каналы обеих крестовин соединены между собой телескопическими компенсаторами или гибкими трубопроводами позволяет обеспечить надежную передачу рабочей среды в полость шины.
Соединение герметичных полостей в конструкции по первому варианту и каналов крестовин по второму варианту телескопическими компенсаторами или гибкими трубопроводами позволяет компенсировать изменение длины карданного вала, обеспечив тем самым надежность работы узла.
Кроме того, чтобы не возникало заклинивание и разгерметизация полости, центры сферических уплотнений должны совпадать с центром крестовин карданного вала.
Для удобства сборки и разборки наружная полусфера сферических уплотнений может состоять из двух частей, соединенных по диаметральной плоскости с помощью разборного соединения.
Заявителю не известны системы регулирования давления воздуха в шинах транспортного средства с указанной совокупностью существенных признаков и заявленная совокупность существенных признаков не вытекает явным образом из современного уровня техники, что подтверждает соответствие заявляемого технического решения условию «новизна».
Анализ известных технических решений в данной области техники показал, что предложенная система регулирования имеет признаки, которые отсутствуют в аналогах, а их использование в заявляемой совокупности существенных признаков позволяет получить новый технический результат. Следовательно, заявляемое техническое решение соответствует условию «изобретательский уровень».
Предлагаемая система регулирования иллюстрируется следующими чертежами:
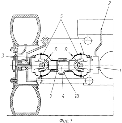
Фиг.1 – система регулирования давления воздуха в шинах транспортного средства, принципиальная схема (вариант 1);
Фиг.2 – конструкция сферического уплотнения системы в рабочем состоянии;
Фиг.3 – то же;
Фиг.4 – система регулирования давления воздуха в шинах транспортного средства, принципиальная схема (вариант 2);
Фиг.5 – вид А-А на фиг.4;
Фиг.6 – вид Б-Б на фиг.4.
Предлагаемая система регулирования давления воздуха в шипах транспортного средства содержит головку 1 подвода воздуха к шинам, связанную воздушными трубопроводами 2 и 3 с источником рабочей среды и полостью шины соответственно, и установлена на приводе колеса, содержащем карданный вал 4.
По первому варианту головка 1 подвода воздуха к шинам соединена с полостью шины через сферические уплотнения 5, закрепленные с каждой стороны карданного вала. Сферические уплотнения 5 состоят из двух полусфер, наружной 6 и внутренней 7, и плотно посажены для исключения утечек воздуха на фланцы и основные валы карданного вала 4 с образованием герметичных полостей. Полусферы 6 и 7 установлены с возможностью взаимного перемещения, при этом центр радиуса R полусфер должен точно совпадать с центром крестовин карданного вала. При невыполнении этого условия произойдет заклинивание и разгерметизация полости. При работе узла наружная полусфера 6 перемещается относительно внутренней полусферы на угол ± , на тот же угол, что и допускает соединение карданного вала. Рабочей уплотняющей поверхностью наружной полусферы 6 является внутренняя поверхность, внутренней полусферы 7 – ее наружная поверхность. Для обеспечения необходимой герметизации сферического соединения на рабочем конце внутренней полусферы выполняют проточки для размещения в них резиновых уплотнительных колец 8. Для удобства сборки и разборки наружная полусфера 6 может быть выполнена из двух частей, соединенных по диаметральной плоскости с помощью болтового или другого соединения.
Сферические уплотнения 5 соединены между собой телескопическими компенсаторами 9 или гибкими трубопроводами 10, которые позволяют компенсировать изменение длины карданного вала.
По второму варианту подача воздуха в шины осуществляется через крестовины 11, 12 карданного вала 4, выполненные с внутренними центральными воздушными каналами 13. Для этого два канала крестовины 12 связаны соединительными трубопроводами с источником рабочей среды, а два канала крестовины 11 через воздушный канал 14 и воздушный трубопровод 3 с шиной транспортного средства, а перпендикулярные им каналы обеих крестовин соединены между собой телескопическими компенсаторами 9 или гибкими трубопроводами 10, которые позволяют компенсировать изменение длины карданного вала.
Для обеспечения герметичности узла крестовины и вилки карданного вала выполнены с торцовыми уплотнениями 15 в виде резинового кольца или манжеты, которые имеют большой ресурс из-за небольшой скорости перемещения уплотнительной кромки (поверхности). Торцовые уплотнения 15 являются уплотняющим подвижным элементом, обеспечивающим полную герметичность подвижных частей карданного вала, а именно вилки карданного вала и его фланца относительно друг друга.
Данная система работает на подводе воздуха от невращающихся частей к вращающимся.
По первому варианту воздух от источника рабочей среды по воздушному трубопроводу 2 поступает в головку 1, откуда воздушным трубопроводом передается в сферические уплотнения 5, затем по телескопическим компенсаторам 9 или гибким трубопроводам 10 через воздушный канал 3 – в полость шины, поддерживая тем самым оптимальное давление воздуха в шине, например, при утечке через повреждение.
Принцип работы по второму варианту основан на передаче воздуха по внутренним каналам крестовин карданного вала 4. По воздушным трубопроводам 2 и головку 1 воздух проходит по внутренним центральным воздушным каналам 13, затем по телескопическим компенсаторам 9 или гибким трубопроводам 10 через воздушный канал 3 – в полость шины.
Система регулирования давления воздуха в шинах транспортного средства надежна в работе, проста в ремонтообслуживании.
Система регулирования давления воздуха в шинах транспортного средства может быть выполнена на стандартном оборудовании с применением современных материалов и технологий.
Формула изобретения
1. Система регулирования давления воздуха в шинах транспортного средства, содержащая головку подвода воздуха к шинам, связанную воздушными трубопроводами с источником рабочей среды и полостью шины, отличающаяся тем, что головка подвода воздуха к шинам установлена на приводе колеса, содержащем карданный вал, и соединена с полостью шины через сферические уплотнения, состоящие из двух полусфер, наружной и внутренней, установленных с возможностью взаимного перемещения и закрепленных с каждой стороны карданного вала с образованием герметичных полостей, соединенных между собой телескопическими компенсаторами или гибкими трубопроводами, при этом центры сферических уплотнений совпадают с центром крестовин карданного вала.
2. Система регулирования по п.1, отличающаяся тем, что наружная полусфера сферических уплотнений состоит из двух частей, соединенных по диаметральной плоскости с помощью разборного соединения.
3. Система регулирования давления воздуха в шинах транспортного средства, содержащая головку подвода воздуха к шинам, связанную воздушными трубопроводами с источником рабочей среды и полостью шины, отличающаяся тем, что головка подвода воздуха к шинам установлена на приводе колеса, содержащем карданный вал, крестовины которого выполнены с внутренними центральными воздушными каналами, при этом два канала одной из крестовин связаны соединительными трубопроводами с источником рабочей среды, два канала другой крестовины – с шиной, а перпендикулярные им каналы обеих крестовин соединены между собой телескопическими компенсаторами или гибкими трубопроводами.
РИСУНКИ
|
|