|
|
(21), (22) Заявка: 2006133399/12, 18.09.2006
(24) Дата начала отсчета срока действия патента:
18.09.2006
(43) Дата публикации заявки: 27.03.2008
(46) Опубликовано: 20.09.2008
(56) Список документов, цитированных в отчете о поиске:
SU 1727939 A1, 23.04.1992. SU 1674982 A1, 07.09.1991. JP 11240518 A, 07.09.1999.
Адрес для переписки:
445633, Самарская обл., г. Тольятти, Южное ш., 36, ОАО “АВТОВАЗ”, ДИТО ОЭПП ПТУ, С.Н. Буренкову
|
(72) Автор(ы):
Каревский Валентин Дмитриевич (RU), Краснов Константин Васильевич (RU), Сидоренков Сергей Владимирович (RU)
(73) Патентообладатель(и):
Открытое акционерное общество “АВТОВАЗ” (RU)
|
(54) КОНВЕЙЕРНАЯ МОЕЧНАЯ МАШИНА
(57) Реферат:
Изобретение относится к очистке и подготовке поверхностей изделий под окраску, в частности к оборудованию для струйной мойки. Изобретение обеспечивает расширение технологических возможностей и повышение качества. Машина содержит камеру с размещенными в ней контурами промывки, оснащенными коллекторами с щелевыми форсунками для подачи моющего раствора на изделия, и цепным конвейером, несущим на осях перфорированные ложементы и вертикальные планки с гнездами для укладки изделий. Перфорированные ложементы выполнены из пластин, каждая из которых снабжена с двух сторон лепестками и пазами, выполненными с возможностью размещения в них лепестков соседних пластин, причем лепестки пластин выполнены с С-образными загибами, взаимодействующими с осями ложементов и образующими шарнирные соединения пластин друг с другом. Вертикальные планки размещены с двух сторон пластин по всей длине конвейера, оснащены втулками и установлены каждая на двух осях впритык с соседними планками. Планки выполнены с выступами и скосами, образующими с выступами и скосами соседних планок дополнительные гнезда для укладки изделий, а щелевые форсунки контуров промывки расположены в шахматном порядке и повернуты щелью относительно продольной оси коллекторов на угол от 20 до 30 градусов. 6 ил.
Изобретение относится к очистке и подготовке поверхностей изделий под окраску, в частности к оборудованию для струйной мойки изделий.
Известна «Установка для мойки и сушки лотков» по авторскому свидетельству СССР №856594, МПК В08В 3/02, 1977 г., содержащая моечную камеру и камеру сушки с конвейерами, имеющими приспособления для установки лотков, механизм перегрузки лотков, а конвейер сушки имеет вертикальные участки, его приспособления для установки лотков выполнены в виде люлек с П-образным основанием, на боковых частях которого шарнирно закреплены держатели.
Недостатком известной установки является то, что она предназначена для обработки одинаковых по размерам деталей – лотков, обработка деталей с другими типоразмерами на установке не предусмотрена.
Известна также «Моечная машина» по авторскому свидетельству СССР №959850, МПК В08В 3/04, 1980 г., содержащая последовательно расположенные камеры, проходящий вдоль них двухцепной конвейер с опорными пластинами для изделий, подлежащих мойке, и направляющих для цепей, устройства для подачи моющих агентов с цепями управления, а также она снабжена коромыслами, смонтированными на боковой поверхности направляющих у входа в каждую из камер, а опорные пластины конвейера выполнены с П-образными пазами для захода в них одних концов коромысел, другие концы которых связаны с соответствующими контактами цепей управления устройств.
Недостатком моечной машины является то, что она не предназначена для одновременной обработки изделий различных типоразмеров. Для обработки изделий другого типоразмера необходима переналадка машины.
Наиболее близким по технической сущности к предлагаемому изобретению является «Устройство для чистки изделий» по патенту РФ №1727939, МПК В08В 9/00, 1992 г., которое содержит конвейер с ложементами для транспортировки изделий, боковые направляющие с отверстиями для струй моющей жидкости, коллекторы с соплами для подачи моющей жидкости на поверхности изделия и верхние направляющие. Ложементы выполнены V-образной формы и снабжены вертикальной стенкой, расположенной с передней по направлению движения конвейера стороны, причем снизу ложементы выполнены перфорированными.
Недостатком известного устройства является то, что оно предназначено для обработки только трубчатых изделий, а сопла коллекторов для обработки наружных поверхностей изделий расположены рядами и в промежутках между рядами сопел возможна недостаточная промывка наружных поверхностей изделий. Кроме того, конвейер с ложементами выполнен цепным, шаговым, что требует повышенной точности базирования коллекторов с соплами относительно промываемых изделий.
Технической задачей, решаемой данным изобретением, является расширение технологических возможностей оборудования, упрощение его конструкции и повышение качества очистки изделий. Поставленная техническая задача достигается тем, что в конвейерной моечной машине, содержащей камеру с размещенными в ней контурами промывки, оснащенными коллекторами с щелевыми форсунками для подачи моющего раствора на изделия, цепным конвейером, несущим на осях перфорированные ложементы, и вертикальные планки с гнездами для укладки изделий, перфорированные ложементы выполнены из пластин, каждая из которых снабжена с двух сторон лепестками и пазами, выполненными с возможностью размещения в них лепестков соседних пластин. Лепестки пластин выполнены с С-образными загибами, взаимодействующими с осями ложементов и образующими при этом шарнирные соединения пластин друг с другом. Вертикальные планки размещены с двух сторон пластин по всей длине конвейера, оснащены втулками и установлены каждая на двух осях впритык с соседними планками. Причем планки выполнены с выступами и скосами, образующими с выступами и скосами соседних планок дополнительные гнезда для укладки изделий, а щелевые форсунки контуров промывки расположены в шахматном порядке и повернуты щелью относительно продольной оси коллекторов на угол 20-30 градусов.
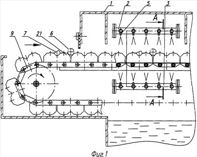
На фиг.1 показана конвейерная моечная машина, общий вид, продольный разрез; на фиг.2 – поперечный разрез А-А на фиг.1; на фиг.3 – разрез Б-Б на фиг.2; на фиг.4 – разрез Г-Г на фиг.3; на фиг.5 – разрез Д-Д на фиг.4; на фиг.6 – разрез В-В на фиг.2.
Конвейерная моечная машина содержит камеру 1 с размещенными в ней контурами промывки 2, 3, оснащенными коллекторами 4 с щелевыми форсунками 5 для подачи моющего раствора на изделия 6, 7, 8, цепной конвейер 9, состоящий из 2-х цепных контуров 10, 11, перемещающихся по направляющим 12, 13, несущих на осях 14 перфорированные ложементы 15, выполненные из одинаковых пластин 16 с перфорацией отверстиями 17, имеющих с двух сторон лепестки 18 с С-образным загибом 19 и пазы 20, в которые входят аналогичные лепестки 18 соседних пластин 16, образуя с осями 14 шарнирные соединения друг с другом. Пластины 16 по всей длине конвейера 9 ограничены с двух сторон вертикальными планками 21, имеющими втулки 22 и установленными на двух осях 14 каждая впритык с соседними планками 21. Планки 21 снабжены гнездами 23 для укладки длинномерных цилиндрических изделий 6, выступами 24 и скосами 25, которые с аналогичными выступами 24 и скосами 25 соседних планок 21 образуют дополнительные гнезда для укладки длинномерных цилиндрических 6 и гнутых 7 изделий. Щелевые форсунки 5 в контурах промывки 2, 3 расположены в шахматном порядке и повернуты щелью относительно продольной оси коллекторов 4 на угол 20-30 градусов.
Конвейерная машина работает следующим образом.
Длинномерные цилиндрические 6 и гнутые 7 изделия укладываются в гнезда 23 вертикальных планок 21 и гнезда, образованные в них выступами 24 и скосами 25. Изделия меньшего размера укладываются равномерно на перфорированные пластины 16 конвейера 9 в пространстве, ограниченном вертикальными планками 21. Цепной конвейер 9 с помощью цепных контуров 10, 11, осей 14 равномерно перемещает пластины 16 и планки 21 с уложенными на них изделиями 6, 7, 8 по камере 1. Моющий раствор, выходя из щелевых форсунок 5 коллекторов 4 контуров 2, 3, промывает эти изделия как сверху, так и снизу через отверстия 17 пластин 16. При этом изделия 8 меньшего размера удерживаются на пластинах 16 из-за наличия вертикальных планок 21, расположенных с двух сторон пластин 16 впритык друг к другу по всей длине конвейера, а длинномерные изделия 6, 7 удерживаются в гнездах 23 планок 21 и гнездах, образованных выступами 24 и скосами 25. Расположение форсунок 5 коллекторов 4 в контурах промывки 2, 3 в шахматном порядке с поворотом их щелей относительно оси коллекторов на угол =20÷30° позволяет оптимально расположить факелы распыла 26 форсунок 5, практически перекрыть всю площадь конвейера 9 с изделиями 6, 7, 8 струями моющего раствора и повысить качество промывки изделий 6, 7, 8.
Расположение планок 21 с втулками 22 по краям пластин 16 впритык друг к другу по всей длине конвейера 9 позволяет не только промывать длинномерные изделия 6, 7, укладываемые в гнезда 23 планок 21, но и промывать также детали 8 различного габарита, не допуская их падения с конвейера 9.
Выполнение планок 21 с выступами 24 и скосами 25 дает возможность дополнительно разместить на конвейере 9 длинномерные изделия 6, 7 и несколько уменьшить радиус поворота конвейера 9, сокращая тем самым габариты моечной машины.
Выполнение ложементов в виде перфорированных пластин 16, оснащенных с двух сторон лепестками 18 с С-образным загибом 19 и пазами 20, в которые входят аналогичные лепестки 18 соседних пластин 16, образуя с осями 14 шарнирные соединения, позволяет упростить изготовление перфорированной ленты конвейера, которое можно выполнить штамповкой.
Таким образом, изобретение позволяет расширить технологические возможности оборудования путем совмещения очистки различных по конфигурации и габаритам изделий, повысить качество их очистки и упростить изготовление оборудования.
Формула изобретения
Конвейерная моечная машина, содержащая камеру с размещенными в ней контурами промывки, оснащенными коллекторами с щелевыми форсунками для подачи моющего раствора на изделия, и цепным конвейером, несущим на осях перфорированные ложементы и вертикальные планки с гнездами для укладки изделий, отличающаяся тем, что перфорированные ложементы выполнены из пластин, каждая из которых снабжена с двух сторон лепестками и пазами, выполненными с возможностью размещения в них лепестков соседних пластин, причем лепестки пластин выполнены с С-образными загибами, взаимодействующими с осями ложементов и образующими при этом шарнирные соединения пластин друг с другом, а вертикальные планки размещены с двух сторон пластин по всей длине конвейера, оснащены втулками и установлены каждая на двух осях впритык с соседними планками, причем планки выполнены с выступами и скосами, образующими с выступами и скосами соседних планок дополнительные гнезда для укладки изделий, а щелевые форсунки контуров промывки расположены в шахматном порядке и повернуты щелью относительно продольной оси коллекторов на угол от 20 до 30°.
РИСУНКИ
|
|