|
|
(21), (22) Заявка: 2005118078/12, 10.11.2003
(24) Дата начала отсчета срока действия патента:
10.11.2003
(30) Конвенционный приоритет:
13.11.2002 US 60/425,987 24.01.2003 US 10/350,557
(43) Дата публикации заявки: 20.01.2006
(46) Опубликовано: 20.09.2008
(56) Список документов, цитированных в отчете о поиске:
US 4316464 А, 23.02.1982. СН 612229 А, 13.07.1979. US 5630379 А, 20.05.1997. WO 9633812 А1, 31.10.1996. DE 19634582 А, 05.03.1998. RU 1273178 А1, 30.11.1986.
(85) Дата перевода заявки PCT на национальную фазу:
14.06.2005
(86) Заявка PCT:
US 03/35732 (10.11.2003)
(87) Публикация PCT:
WO 2004/043612 (27.05.2004)
Адрес для переписки:
103735, Москва, ул. Ильинка, 5/2, ООО “Союзпатент”, пат.пов. Ю.В.Пинчуку, рег.№ 656
|
(72) Автор(ы):
ДЖОНСТОН Джозеф Г. мл. (US)
(73) Патентообладатель(и):
МЕРИАЛ ЛИМИТЕД (US)
|
(54) СИСТЕМА РАСПЫЛЕНИЯ ВАКЦИНЫ
(57) Реферат:
Изобретение относится к устройству и способу для подачи в виде аэрозоля жидкости в неподвижный открытый сверху контейнер. Система содержит крышку, установленный на ней удлиненный направляющий рельс и распылительную головку, которая может реверсивно перемещаться по направляющему рельсу. Распылительная головка содержит узел распылительной насадки, имеющий распылительный канал и веерообразную насадку для подачи струи аэрозоля. Крышка имеет удлиненную прорезь, которая позволяет узлу распылительной насадки выступать ниже плоскости крышки при одновременном обеспечении свободного перемещения узла распылительной насадки по длине открытого сверху контейнера, расположенного под крышкой. За счет реверсивного перемещения распылительной головки по направляющему рельсу система доставки аэрозоля может доставлять распыленную жидкость по существу равномерно в открытый сверху контейнер с минимальным излишним распылением и уменьшенными потерями жидкости. 2 н. и 20 з.п. ф-лы, 20 ил.
Область техники, к которой относится изобретение
Данное изобретение относится к устройству для подачи в виде аэрозоля жидкости в неподвижный открытый сверху контейнер, так что существенная часть контейнера принимает распыленную жидкость. Данное изобретение дополнительно относится к способу равномерной подачи распыленной жидкости в неподвижный открытый сверху контейнер посредством выброса веерообразного капельного аэрозоля из подвижной распылительной насадки.
Уровень техники
Большие популяции птиц, выращиваемых в замкнутой среде для коммерческих целей в условиях перенаселения, являются очень чувствительными к распространению возбудителей инфекций. В соответствии с этим птичники обычно вакцинируют для обеспечения защиты от множества болезней, в частности, вирусного происхождения, которые в противном случае приводят к истреблению стаи. Оптимальная защита обычно обеспечивается за счет вакцинации молодых птиц или цыплят.
Хотя вакцины можно дозировать отдельным птицам или цыплятам посредством инъекции, такая процедура является дорогой, требующей больших затрат времени и труда. Ручная обработка цыплят может вызывать стресс или повреждения от иглы и может даже инициировать вторичные инфекции от перекрестного заражения. Автоматические прививочные устройства, которые быстро делают инъекцию птицам, уменьшают недостатки ручной инъекции, но не могут исключить индивидуальную обработку каждой птицы или цыпленка. Такие устройства обеспечивают автоматическое заполнение шприцов и введение инъекционной иглы в птицу, удерживаемую прижатой к устройству, которое затем подает прививочную дозу. Альтернативные способы доставки инъекции, которые менее вредны для птиц, включают ручную раздачу жидких вакцин непосредственно в клювы, глаза или дыхательные пути цыплят. Однако эти способы остаются требующими больших затрат труда и средств.
Доставка в виде аэрозоля распыленных вакцин обеспечивает одновременную обработку большого количества цыплят без недостатков ручной обработки отдельных птиц. Жидкость вакцины доставляется в стаю цыплят посредством прямого контакта капель вакцины с глазами, или аэрозольный туман вдыхается для контакта с дыхательными путями. Устройство доставки аэрозоля пропускает контейнеры с цыплятами под неподвижной распылительной насадкой с использованием конвейера, или для максимального покрытия аэрозолем цыплят с использованием нескольких расположенных над ними распылительных насадок, как описано в патенте США №4316464, выданном Петерсону. Однако системы с ленточными конвейерами являются сложными, дорогими и трудными в транспортировке, требуя доставки контейнеров с цыплятами к месту вакцинации.
Из распылительных насадок с круговой конфигурацией обычно выбрасываются фиксированные струи аэрозоля, что приводит к тому, что некоторые зоны прямоугольного контейнера получают неадекватное количество жидкости или же часть аэрозоля не попадает в контейнер, что означает значительные потери дорогостоящей вакцины. Струи аэрозоля могут быть также овальными и обеспечивать веерообразное распределение аэрозоля, что обеспечивает более полное перекрытие площади контейнера с цыплятами.
Поэтому существует необходимость в системе доставки аэрозоля, которая обеспечивает равномерное распределение аэрозоля в контейнере с минимальными потерями вакцины, но обеспечивающей максимальное воздействие вакцины на обрабатываемых цыплят. Кроме того, дополнительно необходима система доставки аэрозоля, способная доставлять распыленную жидкость в контейнер с птицами, но не требующая сложной и дорогой системы конвейерной ленты с контейнерами для пропускания птиц под распыленной жидкостью.
Раскрытие изобретения
Изобретение предлагает систему доставки аэрозоля, подходящую для доставки распыленной жидкости к птицам или цыплятам, находящимся внутри открытого сверху контейнера. Поэтому система доставки аэрозоля содержит удлиненный направляющий рельс, по которому может реверсивно двигаться, по меньшей мере, одна распылительная головка. Удлиненный направляющий рельс может быть пневматическим цилиндром без штока с прикрепленными к нему распылительными головками для обеспечения возвратно-поступательного движения распылительных головок по направляющему рельсу. Узел распылительной насадки может содержать распылительный канал и веерообразную насадку для доставки веерообразной струи жидкости. За счет реверсивного движения распылительной головки по направляющему рельсу система доставки аэрозоля может доставлять почти равномерно распыленную жидкость в открытый сверху контейнер с минимальными потерями.
Удлиненный направляющий рельс установлен на крышке, которая имеет удлиненную прорезь, которая позволяет узлу распылительной насадки выступать ниже плоскости крышки, позволяя узлу распылительных насадок свободно проходить по всей длине открытого сверху контейнера, расположенного под крышкой. Крышка может иметь также боковые стенки, образуя тем самым туннель для размещения открытого сверху контейнера. Крышка может стоять на основании, при этом нижние кромки крышки соприкасаются с основанием, или же крышку можно подвешивать над зоной для размещения контейнера, при этом боковые стенки крышки не соприкасаются с основанием.
Данное изобретение дополнительно предлагает способ доставки распылительной жидкости в открытый сверху контейнер с птицами или цыплятами. Контейнер с птицами или цыплятами помещают под крышкой и выравнивают приблизительно по центру относительно удлиненной прорези в крышке. Веерообразная распылительная насадка проходит через прорезь, и ее можно регулировать по высоте для обеспечения по существу полного перекрытия аэрозолем ширины контейнера с минимальными потерями аэрозоля. Жидкость, которая может быть, но не обязательно, вакциной, медикаментом или их комбинацией, подают в узел распылительной насадки из контейнера с жидкостью. Жидкость можно подавать под давлением с помощью насоса. Однако возможно, что жидкость принудительно выходит из распылительной насадки с помощью сжатого газа, действующего на жидкость в контейнере с жидкостью, или же жидкость можно засасывать из контейнера с жидкостью с помощью потока сжатого газа. Распылительная головка, имеющая узел распылительной насадки на ней, может реверсивно перемещаться по удлиненному направляющему рельсу с помощью переключаемых приводных средств, таких как гидравлический или электрический двигатель, имеющий зубчатое колесо, при этом зубчатое колесо входит в зацепление с зубчатой рейкой на удлиненном направляющем рельсе, или же система с ременным приводом. Предпочтительным переключаемым приводным средством является реверсивное пневматическое средство, соединенное с возможностью приведения в действие бесштокового цилиндра, к которому прикреплена распылительная головка (головки). Перемещение распылительной головки обеспечивает по существу полное перекрытие аэрозолем всей длины, а также ширины контейнера.
Возвратно-поступательные проходы распылительной головки вдоль удлиненного направляющего рельса можно повторять с целью обеспечения желаемых доз жидкости. Однако возможно также вдыхание обрабатываемыми птицами капель жидкости в дыхательные пути или глотание жидкости посредством орального контакта с каплями жидкости, которые оседают на перьях. Трение, встряхивание и физический контакт между птицами также распределяют жидкость на большинство, если не на всех птиц. После выполнения желаемого опрыскивания контейнера можно отключать подачу потока сжатой жидкости в распылительную насадку, удалять открытый сверху контейнер из-под крышки, заменять новым контейнером с цыплятами и повторять процедуру. Поэтому можно быстро и равномерно приводить большое количество птиц или цыплят в контакт с жидкостью при минимальной обработке птиц.
Различные цели, признаки и преимущества изобретения следуют из приведенного ниже подробного описания со ссылками на прилагаемые чертежи.
Краткое описание чертежей
На чертежах изображено:
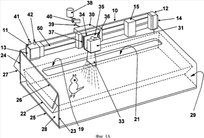
фиг.1А – устройство для распыления жидкости согласно данному изобретению в изометрической проекции;
фиг.1В – вариант выполнения изобретения, в котором контейнер с жидкостью установлен на распылительной головке;
фиг.1С – вариант выполнения изобретения, в котором насос установлен на подвижной распылительной головке;
фиг.2А – удлиненный направляющий рельс, имеющий два концевых буферных упора, два регулируемых буферных упора и распылительную головку на нем, в изометрической проекции;
фиг.2В – вариант выполнения данного изобретения, в котором удлиненный направляющий рельс имеет две распылительные головки, в изометрической проекции;
фиг.3А-3D – U-образная скоба для установки удлиненного направляющего рельса на крышке согласно данному изобретению, при этом на фиг.3А показана U-образная скоба на виде снизу, на фиг.3В – в изометрической проекции, на фиг.3С – на виде спереди и на фиг.3D – на виде сбоку;
фиг.4А-4D – L-образная скоба для установки узла распылительной насадки на распылительную головку согласно данному изобретению, при этом на фиг.4А показана L-образная скоба на виде спереди, на фиг.4В – на виде сверху, на фиг.4С – на виде сбоку и на фиг.4D – в изометрической проекции;
фиг.5 – вариант выполнения устройства для распыления жидкости согласно данному изобретению, в котором удлиненный направляющий рельс установлен непосредственно на крышку, в изометрической проекции;
фиг.6 – частичный разрез зоны удлиненного направляющего рельса согласно данному изобретению, в которой распылительная головка имеет электродвигатель, имеющий зубчатое колесо, при этом зубчатое колесо входит в зацепление с зубчатой рейкой для обеспечения перемещения распылительной головки по удлиненному направляющему рельсу;
фиг.6А – другой вариант выполнения, в котором распылительная головка соединена с бесштоковым цилиндром в виде удлиненного направляющего рельса, который можно приводить в действие с помощью сжатого воздуха для перемещения распылительной головки по удлиненному направляющему рельсу;
фиг.7 – удлиненный направляющий рельс согласно данному изобретению, в котором распылительная головка закреплена на приводном ремне для перемещения распылительной головки по удлиненному направляющему рельсу;
фиг.8А-8С – варианты выполнения узла распылительной насадки согласно данному изобретению, при этом на фиг.8А показан узел распылительной насадки, имеющий удлиненный распылительный канал, на фиг.8В показан узел распылительной насадки, имеющий круглый распылительный канал и веерообразную распылительную насадку; на фиг.8С показан узел распылительной насадки, имеющий удлиненный распылительный канал и веерообразную распылительную насадку.
Осуществление изобретения
Ниже приводится полное и подробное раскрытие данного изобретения, включая наилучший режим выполнения изобретения, известный изобретателю, со ссылками на прилагаемые чертежи, на которых одинаковыми позициями обозначены соответствующие части на нескольких фигурах. Данное описание приводится в качестве иллюстрации общих принципов изобретения и не должно рассматриваться в качестве ограничения изобретения.
Для удобства ниже приводятся некоторые понятия, используемые в описании, примерах и в прилагаемой формуле изобретения.
Понятие “птица” относится к любым видам птиц мужского или женского пола. Поэтому данное изобретение можно применять на практике к любым типам птиц, включая, но, не ограничиваясь этим, цыплят, индюков, уток, гусей, перепелок, фазанов, куропаток и редкие птицы. Редкие птицы включают нелетающих птиц, включая страусов, эму, казуаров и киви.
Понятие “вакцина” относится к иммунологическим композициям, даваемым животным для вызывания иммунного ответа на возбудителя инфекции. Понятие вакцины обычно охватывает использование вакцин для домашних птиц, включая, но, не ограничиваясь этим, вакцину против инфекционного бронхита, вакцину против болезни Марека, вакцину против инфекционной болезни синовиальной сумки и т.п.
Используемое здесь понятие “медикамент” относится к любой жидкости, используемой для лечения и имеющей вязкость, позволяющую выбрасывать жидкость из узла распылительной насадки в виде аэрозоля, включая, но, не ограничиваясь этим, жидкость, которую распыляют, испаряют, растворяют или т.п.
Данное изобретение предлагает систему доставки аэрозоля, подходящую для доставки распыленной жидкости к объектам в открытом сверху контейнере. Этот аспект данного изобретения особенно полезен для доставки распыленной жидкости, такой как вакцина или медикамент, небольшим птицам, включая цыплят. Как показано на фиг.1, устройство согласно данному изобретению для доставки распыленной жидкости в открытый сверху контейнер 22 обычно включает удлиненный направляющий рельс 10, имеющий первый 11 и второй 12 буферные упоры, расположенные на противоположных концах удлиненного направляющего рельса 10. Первый и второй буферные упоры 11 и 12 закреплены на верхней поверхности крышки 20, имеющей горизонтальный верх 26 с удлиненной прорезью 21 в нем, и проходящие вниз боковые стенки 23, 24, соединенные с наружными кромками горизонтального верха 26. Проходящие вниз боковые стенки 23, 24 могут стоять на любой по существу ровной поверхности, образуя совместно с горизонтальным верхом 26 туннель, имеющий вход 28, способный принимать открытый сверху контейнер 22. Не обязательно, крышка 20 может дополнительно содержать основание 25, прикрепленное к нижним кромкам проходящих вниз боковых стенок 23, 24. Однако возможно также, что крышка 20, имеющая удлиненный направляющий рельс 10 на ней, подвешивается над открытым сверху контейнером 22, при этом боковые стенки не соприкасаются с основанием. Вход 28 и выход 29 туннеля можно герметизировать с помощью шарнирно установленной заслонки 27 или завесы или т.п., прикрепленной к крышке 20, которые могут предотвращать выход птиц, подлежащих обрызгиванию, или предотвращать выход аэрозоля из туннеля. Предпочтительный открытый сверху контейнер 22 имеет стандартную конструкцию и обычно вмещает около 100 маленьких цыплят. За счет этого цыплята находятся в стесненных условиях, в которых цыплята находятся в физическом контакте друг с другом.
Первый 11 и второй 12 буферные упоры расположены на верхней поверхности 19 горизонтального верха 26, так что удлиненный направляющий рельс 10 проходит по существу параллельно удлиненной прорези 21 в горизонтальном верхе 26. Первый и второй буферные упоры 11 и 12 могут быть прикреплены к крышке 20 с помощью любых средств, обеспечивающих надежное крепление удлиненного направляющего рельса 10 к крышке 22. Предпочтительным средством крепления являются U-образные скобы 13 и 14. Один вариант выполнения U-образной скобы 13, 14, пригодной для крепления удлиненного направляющего рельса 10 к крышке 20 согласно данному изобретению, показан на фиг.3А-3D. Однако в другом варианте выполнения удлиненный направляющий рельс крепится к крышке без использования U-образных скоб 13, 14, как показано на фиг.5.
Устройство согласно данному изобретению дополнительно содержит, по меньшей мере, одну распылительную головку 30, установленную с возможностью скольжения по удлиненному направляющему рельсу 10 и реверсивного перемещения от первого буферного упора 11 до второго буферного упора 12. Распылительная головка (головки) 30 соединена с переключаемым приводным средством, перемещающим распылительную головку 30. Система доставки аэрозоля согласно данному изобретению может содержать более одной распылительной головки 30, при этом каждая распылительная головка 30 способна перемещаться в одинаковом направлении или в противоположных направлениях относительно друг друга. Каждая распылительная головка 30 может иметь переключаемое приводное устройство для перемещения распылительной головки 30. Распылительные головки могут быть соединены друг с другом, или переключаемыми приводными средствами можно управлять так, что распылительные головки 30 перемещаются в одинаковом направлении или в противоположных направлениях.
В одном варианте выполнения данного изобретения первый буферный упор 11 может дополнительно содержать входной канал 41 и выходной канал 42 для гидравлической жидкости, соединенные каждый с гидравлическим насосом, и выдвижное средство, соединенное с распылительной головкой 30. Выдвижное средство может быть, например, поршнем, способным толкать или тянуть распылительную головку 30 по удлиненному направляющему рельсу 10. В другом варианте выполнения распылительная головка 30 соединена с бесштоковым пневматическим цилиндром в виде удлиненного направляющего рельса, приводимым в действие сжатым воздухом, для перемещения распылительной головки 30 по удлиненному направляющему рельсу 10, как показано на фиг.6А (направляющий рельс 10 образует камеру 10′, в которой расположен поршень 610, имеющий концы 610′ и 610″, и распылительная головка 30 соединена с поршнем 610, за счет чего сжатый воздух из входа (входов) 41′ входит и выходит в камеру 10′ через трубку (трубки) 641 и перемещает поршень 610, и за счет этого распылительная головка 30 перемещается по направляющему рельсу 10). В еще одном варианте выполнения переключаемое приводное средство является электрической системой с зубчатым колесом, содержащей электродвигатель 44, имеющий зубчатое колесо 45, прикрепленное к ротору электродвигателя и входящее в зацепление с зубчатой рейкой 46 на удлиненном направляющем рельсе 10, как показано на фиг.6, электрической системой ременного привода, содержащей электродвигатель, соединенный с первым буферным упором 11 и имеющим первый шкив 47, прикрепленный к его ротору, и второй шкив 48, прикрепленный ко второму буферному упору 12, и ремень 49, проходящий по первому и второму шкивам 47 и 48, при этом ремень 49 соединен также с распылительной головкой 30, как показано на фиг.7.
Распылительная головка 30 дополнительно содержит узел 31 распылительной насадки, способный принимать находящуюся под давлением жидкость из контейнера 18 с жидкостью и выбрасывать эту жидкость с образованием веерообразного аэрозоля из капель (или тумана) жидкости. Узел 31 распылительной насадки содержит распылительный канал 32 и, не обязательно, веерообразную распылительную насадку 33. Узел 31 распылительной насадки может выбрасывать находящуюся под давлением жидкость через распылительный канал 32, способный доставлять веерообразно аэрозоль с достаточной шириной вдоль продольной оси для распыления капель жидкости по существу по всей ширине открытого сверху контейнера 22, размещенного в туннеле под узлом 31 распылительной насадки, как показано на фиг.1. В одном варианте выполнения распылительный канал 32 может быть удлиненным в направлении ширины веерообразного аэрозоля, как показано на фиг.8А.
В другом варианте выполнения данного изобретения веерообразная форма аэрозоля может обеспечиваться посредством выброса находящейся под давлением жидкости из распылительного канала 32, который может иметь любую геометрическую форму, при этом веерообразная форма аэрозоля образуется за счет прохождения потока распыленной жидкости через по существу плоскую, выполненную в форме веера распылительную насадку 33, как показано на фиг.8В.
В еще одном варианте выполнения веерную форму аэрозоля можно создавать посредством выброса находящейся под давлением жидкости через комбинацию удлиненного распылительного канала 32 и по существу плоской, имеющей форму веера распылительной насадки 33, как показано на фиг.8С.
Узел 31 распылительной насадки может быть прикреплен непосредственно к распылительной головке 30 с помощью регулируемой L-образной скобы 34. Подходящая для использования в данном изобретении L-образная скоба 34 содержит, как показано на фиг.4A-4D, заднюю пластину 35, имеющую, по меньшей мере, одну прорезь 36 для размещения фиксирующего винта 37. Отпускание фиксирующего винта 37 освобождает узел 31 распылительной насадки относительно распылительной головки 30, что позволяет регулировать высоту узла 31 распылительной насадки относительно расположенного под ним открытого сверху контейнера 22 и тем самым регулировать ширину распыленной жидкости, подаваемой в открытый сверху контейнер 22. Чем больше высота узла 31 распылительной насадки, тем шире струя аэрозоля, контактирующая с открытым сверху контейнером 22 или находящимися в нем птицами. Этот признак особенно полезен для предотвращения потерь ценной жидкости, такой как вакцина, за счет уменьшения излишнего обрызгивания контейнера 22 или подачи аэрозоля в ненужные части контейнера 22, например, когда контейнер 22 не полностью заполнен. После установки узла 31 распылительной насадки на желаемую высоту винт 37 можно затянуть для удерживания узла 31 распылительной насадки в выбранном положении. Нежелательную подачу аэрозоля в открытый сверху контейнер можно уменьшать также с помощью регулируемого буферного упора 15, который может ограничивать перемещение распылительной головки 30 по удлиненному направляющему рельсу 10.
Как показано на фиг.1А, 1В, 1С, узел 31 распылительной насадки соединен, по меньшей мере, с одним контейнером 38 с жидкостью с помощью подающей трубки 39. Устройство распыления жидкости согласно данному изобретению дополнительно содержит средство доставки находящейся под давлением жидкости из контейнера 38 в узел 31 распылительной насадки. Предпочтительно средством подачи является насос, соединенный с контейнером 38 с жидкостью и узлом 31 распылительной насадки. Возможно также создавать давление в контейнере 38 с жидкостью с помощью сжатого газа, что вынуждает прохождение жидкости в узел 31 распылительной насадки без использования промежуточного насоса 40. Примеры средств для приложения давления к жидкости описаны в патенте №4316464, полное содержание которого включается в данное описание. Можно также всасывать жидкость из контейнера 38 с жидкостью и затем подавать в распылительный канал 32 с помощью потока сжатого воздуха, создаваемого компрессором или воздушным баком, соединенным с узлом 31 распылительной насадки. Находящаяся под давлением жидкость затем выбрасывается из узла 31 распылительной насадки через распылительный канал 32.
В одном варианте выполнения данного изобретения контейнер 38 с жидкостью и, не обязательно, насос 40 прикреплены к распылительной головке 30 и поэтому перемещаются вместе с распылительной головкой 30 по удлиненному направляющему рельсу 10.
В другом варианте выполнения данного изобретения контейнер 38 с жидкостью и, не обязательно, насос 40 не соединены жестко с распылительной головкой 30. В этом варианте выполнения контейнер 38 и насос 40 соединены с распылительной головкой 30 с помощью гибкой подающей трубки 39. Поэтому в этом варианте выполнения контейнер 38 и насос 40 можно прикреплять к крышке 20 или другой неподвижной части устройства для распыления.
Поэтому один вариант выполнения устройства для подачи распылительной жидкости в открытый сверху контейнер согласно изобретению содержит (а) удлиненный направляющий рельс 10, имеющий расположенные на нем первый 11 и второй 12 буферные упоры, (b) крышку 20, при этом крышка 20 имеет горизонтальный верх 26 с верхней поверхностью 19 и две по существу параллельные проходящие вниз боковые стенки 23, 24, горизонтальный верх имеет удлиненную прорезь 21, по существу параллельную удлиненному направляющему рельсу 10, и при этом каждый буферный упор 11, 12 прикреплен к крышке 20, (с) по меньшей мере одну распылительную головку 30, расположенную с возможностью скольжения на удлиненном направляющем рельсе 10, при этом распылительная головка 30 имеет установленный на ней узел 31 распылительной насадки, способный подавать жидкость из контейнера 38 с жидкостью в виде имеющей форму веера струи аэрозоля, (d) средства подачи жидкости из контейнера 38 в узел 31 распылительной насадки и (е) переключаемое приводное средство для реверсивного перемещения распылительной головки 30 по удлиненному направляющему рельсу 10.
В другом варианте выполнения данного изобретения первый и второй буферные упоры 11, 12 прикреплены к крышке 20 с помощью U-образных скоб 13, 14.
В одном варианте выполнения данного изобретения устройство дополнительно содержит несколько распылительных головок 30, при этом число распылительных головок 30 выбирается для обеспечения перекрытия аэрозолем всей площади открытого сверху контейнера 22.
В одном варианте выполнения данного изобретения устройство дополнительно содержит контейнер 38 с жидкостью, соединенный с насосом 40 и узлом 31 распылительной насадки, при этом насос может подавать находящуюся под давлением жидкость из контейнера 38 в узел 31 распылительной насадки, и при этом находящаяся под давлением жидкость выбрасывается из узла 31 распылительной насадки в виде веерообразной струи аэрозоля.
В другом варианте выполнения контейнер 38 с жидкостью установлен на крышке.
В еще одном варианте выполнения данного изобретения насос 40 установлен на крышке 20.
В еще одном варианте выполнения данного изобретения контейнер 38 с жидкостью установлен на подвижной распылительной головке 30.
В одном варианте выполнения данного изобретения жидкость подается в узел 31 распылительной насадки в виде находящейся под давлением жидкости с помощью сжатого газа.
В одном варианте выполнения данного изобретения насос 40 установлен на подвижной распылительной головке 30.
В другом варианте выполнения данного изобретения узел 31 распылительной насадки имеет удлиненный распылительный канал 32, способный подавать в виде веера распыленную жидкость.
В еще одном варианте выполнения данного изобретения узел 31 распылительной насадки имеет имеющую форму веера распылительную насадку 33.
В одном варианте выполнения данного изобретения удлиненный направляющий рельс является беспоршневым цилиндром с прикрепленной к нему подвижной распылительной головкой, как показано на фиг.6А.
В еще одном варианте выполнения данного изобретения переключаемое приводное средство является гидравлическим насосом.
В еще одном варианте выполнения данного изобретения переключаемое приводное средство содержит электродвигатель 44, имеющий зубчатое колесо 45, при этом зубчатое колесо 45 входит в зацепление с зубчатой рейкой 46 на удлиненном направляющем рельсе 10.
В другом варианте выполнения данного изобретения узел 31 распылительной насадки установлен на распылительной головке с помощью L-образной скобы 34, при этом L-образная скоба 34 имеет по меньшей мере одну удлиненную прорезь 36, выполненную с возможностью регулирования высоты узла 31 распылительной насадки над открытый сверху контейнером 22, и при этом L-образная скоба прикреплена к распылительной головке 30 с помощью винта 37.
В другом варианте выполнения данного изобретения устройство дополнительно содержит по меньшей мере один регулируемый буферный упор 15.
Согласно другому аспекту данного изобретения создан способ подачи распыленной жидкости в форме веера в открытый сверху контейнер 22. Хотя способ и устройство согласно данному изобретению подходят для распыления любой жидкости, имеющей вязкость, обеспечивающую выброс аэрозоля из узла распылительной насадки в виде аэрозоля, такой как медикамент, вакцина или их смесь, способ согласно данному изобретению особенно пригоден для доставки аэрозоля вакцины для обрабатываемых птиц, таких как цыплята.
В способах согласно данному изобретению предусмотрен открытый сверху контейнер 22, содержащий, например, партию цыплят, подлежащих вакцинации. Открытый сверху контейнер 22 помещают под крышкой 20 и в туннеле, образованном горизонтальным верхом 26 и проходящими вниз боковыми стенками 23, 24 крышки 20 и поверхностью под боковыми стенками 23, 24. Открытый сверху контейнер 22 предпочтительно располагают по существу под удлиненной прорезью 21 в крышке 20. Жидкость, подлежащую распылению в открытый сверху контейнер 22, можно подавать под давлением в узел 31 распылительной насадки с помощью насоса 40, расположенного между контейнером 38 с жидкостью и узлом 31 распылительной насадки. Не обязательно жидкость можно подавать с помощью потока сжатого воздуха, который вытягивает жидкость из контейнера 38 и через распылительный канал 32 или же с помощью давления, прикладываемого сверху к жидкости в контейнере 38, а затем выталкивающего жидкость из контейнера 38, как описано в патенте США №4316464, полное содержание которого включается в данное описание.
Затем распылительную головку 30 можно реверсивно перемещать по удлиненному направляющему рельсу 10 с помощью переключаемого приводного средства. Число возвратно-поступательных проходов распылительной головки 30 вдоль удлиненной прорези 21 выбирают для обеспечения желаемой степени нанесения аэрозоля на обрабатываемые объекты. После достижения желаемой степени покрытия аэрозолем поток находящейся под давлением жидкости в узел 31 распылительной насадки останавливают.
После завершения цикла распыления желательно удалить контейнер с цыплятами из туннеля для размещения в нем следующего контейнера с цыплятами. Контейнеры с покрытыми аэрозолем цыплятами обычно штабелируют поверх друг друга, и боковые вентиляционные отверстия в контейнерах с цыплятами обеспечивают правильную вентиляцию цыплят.
После завершения цикла нанесения аэрозоля капли жидкости нанесены на верхние части тел цыплят в каждом контейнере с цыплятами. Некоторые капли приходят в непосредственное соприкосновение с глазами цыплят, что обеспечивает прямую вакцинацию некоторых цыплят. Другие капли остаются на верхних частях тела цыплят. Естественное движение цыплят в контейнере с цыплятами и тесные условия для цыплят в контейнере приводят к тому, что некоторые капли втираются с верхних частей тела в глаза соседних цыплят. Дополнительно к этому некоторые цыплята реагируют на аэрозоль встряхиванием своих голов и верхних частей тела. Это приводит к тому, что некоторые капли разбрызгиваются в глазные отверстия соседних цыплят. При попадании жидкости в глазные отверстия цыпленка она имеет тенденцию к миграции через носовые каналы цыпленка для проглатывания цыпленком. Кроме того, некоторые цыплята пытаются склевывать капли жидкости, которые находятся на верхних частях тела соседних цыплят. Это приводит к тому, что некоторое количество жидкости принимается внутрь цыплят через рот. Желательно оставлять цыплят в контейнере на период времени, достаточный для естественных движений тел и инстинктов цыплят для распространения таким образом вакцины среди цыплят.
Поэтому один вариант выполнения способа согласно данному изобретению подачи распыленной в форме веера жидкости в открытый сверху контейнер 22 содержит стадии обеспечения открытого сверху контейнера 22, имеющего внутри объекты для приема распыленной жидкости, расположения открытого сверху контейнера 22 под крышкой 20 устройства доставки аэрозоля согласно данному изобретению, приведения в действие средств для доставки жидкости из контейнера 38 с жидкостью в узел 31 распылительной насадки, за счет чего жидкость выбрасывают из узла 31 распылительной насадки в виде веерообразной струи аэрозоля в направлении открытого сверху контейнера 22, и приведения в действие переключаемых приводных средств, с помощью которых реверсивно перемещают распылительную головку 30 по удлиненному направляющему рельсу, так что веерообразная струя аэрозоля подается по существу в зону открытого сверху контейнера 22 и находящихся в нем объектов.
В другом варианте выполнения способа согласно данному изобретению стадию реверсивного перемещения распылительной головки 30 по удлиненному направляющему рельсу 10 повторяют по меньшей мере один раз.
В другом варианте выполнения способа согласно данному изобретению объекты в открытом сверху контейнере 22 являются птицами.
В другом варианте выполнения способа согласно данному изобретению жидкость, выбрасываемая из узла 31 распылительной насадки, содержит вакцину.
В еще одном варианте выполнения способа согласно данному изобретению жидкость, выбрасываемая из узла 31 распылительной насадки, содержит медикамент.
Относительно приведенного выше описания следует отметить, что оптимальные размерные соотношения частей изобретения, включая изменения размеров, материалов, форм, функций и принципов действия, сборки и использования, являются очевидными для специалистов в данной области техники, и все эквивалентные соотношения показанным на фигурах и описанным в описании охватываются данным изобретением. Кроме того, различные компоненты вариантов выполнения изобретения можно взаимно заменять с образованием новых вариантов выполнения, и эти дополнительные варианты выполнения охватываются данным изобретением.
Хотя изобретение подробно описано с целью иллюстрации, понятно, что детали служат лишь этой цели, и специалисты в данной области техники могут выполнять изменения без отхода от идеи и объема изобретения, заданных последующей формулой изобретения.
Формула изобретения
1. Устройство для подачи распылительной жидкости в открытый сверху контейнер, содержащее:
удлиненный направляющий рельс, имеющий расположенные на нем первый и второй буферные упоры;
крышку, при этом крышка имеет горизонтальный верх с верхней поверхностью и две по существу параллельные проходящие вниз боковые стенки, горизонтальный верх имеет удлиненную прорезь, по существу параллельную удлиненному направляющему рельсу, и при этом каждый буферный упор прикреплен к крышке;
распылительную головку, расположенную с возможностью скольжения на удлиненном направляющем рельсе, при этом распылительная головка имеет установленный на ней узел распылительной насадки, способный подавать жидкость из контейнера с жидкостью в виде имеющей форму веера струи аэрозоля,
средство подачи жидкости из контейнера с жидкостью в узел распылительной насадки и
переключаемое приводное средство для реверсивного перемещения распылительной головки по удлиненному направляющему рельсу.
2. Устройство по п.1, в котором первый и второй буферные упоры установлены на крышке с помощью U-образных скоб.
3. Устройство по п.1, дополнительно содержащее несколько распылительных головок.
4. Устройство по п.1, дополнительно содержащее контейнер с жидкостью, соединенный с насосом и узлом распылительной насадки, при этом насос может подавать находящуюся под давлением жидкость из контейнера с жидкостью в узел распылительной насадки и при этом жидкость выбрасывается из узла распылительной насадки в виде веерообразной струи аэрозоля.
5. Устройство по п.4, в котором контейнер с жидкостью установлен на крышке.
6. Устройство по п.4, в котором насос установлен на крышке.
7. Устройство по п.4, в котором контейнер с жидкостью установлен на подвижной распылительной головке.
8. Устройство по п.4, в насос установлен на подвижной распылительной головке.
9. Устройство по п.1, в котором узел распылительной насадки имеет удлиненный распылительный канал, способный подавать в виде веера распыленную жидкость.
10. Устройство по п.1, в котором узел распылительной насадки имеет имеющую форму веера распылительную насадку.
11. Устройство по п.1, в котором переключаемое приводное средство является гидравлическим насосом.
12. Устройство по п.1, в котором переключаемое приводное средство содержит электродвигатель, имеющий зубчатое колесо, при этом зубчатое колесо входит в зацепление с зубчатой рейкой на удлиненном направляющем рельсе.
13. Устройство по п.1, в котором переключаемое приводное средство содержит пневматический бесштоковый цилиндр.
14. Устройство по п.1, в котором переключаемое приводное средство содержит ремень, прикрепленный к распылительной головке, при этом ремень опирается по меньшей мере на два шкива и при этом один шкив соединен с электродвигателем и каждый шкив прикреплен с возможностью вращения к буферному упору.
15. Устройство по п.1, в котором узел распылительной насадки установлен на распылительной головке с помощью L-образной скобы, при этом L-образная скоба имеет по меньшей мере одну удлиненную прорезь, выполненную с возможностью регулирования высоты узла распылительной насадки над открытым сверху контейнером, и при этом L-образная скоба прикреплена к распылительной головке с помощью винта.
16. Устройство по п.1, дополнительно содержащее по меньшей мере один регулируемый буферный упор.
17. Устройство по п.1, в котором крышка подвешена.
18. Способ подачи распыленной в форме веера жидкости в открытый сверху контейнер, содержащий стадии:
обеспечения открытого сверху контейнера, имеющего внутри объекты для приема распыленной жидкости;
расположения открытого сверху контейнера в туннеле, образованном крышкой устройства по п.1;
приведения в действие насоса для доставки жидкости под давлением из контейнера с жидкостью в узел распылительной насадки, за счет чего жидкость выбрасывают из узла распылительной насадки в виде веерообразной струи аэрозоля в направлении открытого сверху контейнера; и
приведения в действие переключаемых приводных средств, с помощью которых реверсивно перемещают распылительную головку по удлиненному направляющему рельсу, так что веерообразная струя аэрозоля подается по существу в зону открытого сверху контейнера и находящихся в нем объектов.
19. Способ по п.18, в котором стадию (d) повторяют по меньшей мере один раз.
20. Способ по п.18, в котором объекты в открытом сверху контейнере являются птицами.
21. Способ по п.18, в котором жидкость, выбрасываемая из узла распылительной насадки, содержит вакцину, медикамент или их смесь.
22. Способ по п.18, в котором жидкость, выбрасываемая из узла распылительной насадки, является вакциной.
Приоритет по пунктам:
13.11.2002 по пп.1, 2, 5, 7, 9, 10;
24.01.2003 по пп.3, 4, 6, 8, 11-22.
РИСУНКИ
|
|