|
|
(21), (22) Заявка: 2006144981/03, 18.12.2006
(24) Дата начала отсчета срока действия патента:
18.12.2006
(46) Опубликовано: 20.09.2008
(56) Список документов, цитированных в отчете о поиске:
SU 1764694 A1, 30.09.1992. SU 249919 A1, 15.12.1969. SU 629971 A1, 30.10.1978. GB 1562232 A, 05.03.1980. DE 1607535 A, 02.10.1969.
Адрес для переписки:
308012, г.Белгород, ул. Костюкова, 46, БГТУ им. В.Г. Шухова, патентный отдел
|
(72) Автор(ы):
Богданов Василий Степанович (RU), Уваров Валерий Анатольевич (RU), Булгаков Сергей Борисович (RU), Булгаков Евгений Борисович (RU)
(73) Патентообладатель(и):
Белгородский государственный технологический университет им. В.Г. Шухова (БГТУ им. В.Г. Шухова) (RU)
|
(54) ВЕРТИКАЛЬНАЯ ВИБРАЦИОННАЯ МЕЛЬНИЦА
(57) Реферат:
Изобретение относится к вибрационным мельницам и может быть использовано для получения тонкодисперсных порошков. Мельница содержит корпус, в котором расположена вертикальная цилиндрическая помольная камера, подвижно связанная с корпусом и жестко – с вибровозбудителем. Помольная камера разделена перфорированными перегородками на нижнюю и ряд верхних секций, заполненных мелющими телами. Мельница содержит загрузочное и разгрузочное устройства. Нижняя секция внутри снабжена цилиндрической пружиной, расположенной коаксиально с зазором по отношению к стенке секции, обеспечивающим прохождение готового материала, нижняя часть пружины оперта на конусообразное основание секции, направленное вершиной вверх. Конструкция снабжена регулирующим устройством для изменения зазора между витками пружины, а разгрузочное устройство соединено с нижней частью конусообразного основания. Изобретение уменьшает вибрацию и износ корпуса мельницы и стабилизирует зерновой состав продукта. 1 ил.
Изобретение относится к измельчительным аппаратам, а именно к вибрационным мельницам, и может быть использовано для получения тонкодисперсных порошков, сухих смесей, которые могут использоваться в качестве полуфабрикатов для производства отделочных материалов.
Известна конструкция вибрационной мельницы, содержащей трубчатый корпус с загрузочным и выгрузочным патрубками, виброприводом и помольную камеру с сепарационными отверстиями, смонтированную посредством фиксаторов в корпусе аксиально, с кольцевым зазором [авторское свидетельство СССР №871820, кл. В02С 19/16, 1981].
В вибрационной мельнице данного типа существенно снижается интенсивность помола вследствие недостаточных динамических воздействий на материал.
Известна конструкция вибрационной мельницы, выбранной в качестве прототипа, включающая вертикально установленную на упругих опорах помольную камеру, разделенную перфорированными перегородками на нижнюю и ряд верхних секций с рабочей средой [авторское свидетельство СССР №1764694, кл. В02С 19/16, 1990].
Недостатком известной конструкции является невысокое качество готового продукта, а именно тонины помола и уменьшение однородности.
Изобретение направлено на повышение эффективности процесса измельчения: увеличение тонины помола и увеличение однородности готового продукта.
Это достигается тем, что в вибрационной мельнице, содержащей корпус, в котором расположена вертикальная цилиндрическая помольная камера, подвижно связанная с корпусом и жестко – с вибровозбудителем, при этом помольная камера разделена перфорированными перегородками на нижнюю и ряд верхних секций, заполненных мелющими телами; мельница, кроме того, содержит загрузочное и разгрузочное устройства, согласно предлагаемому решению нижняя секция внутри снабжена цилиндрической пружиной, расположенной коаксиально с зазором по отношению к стенке секции, обеспечивающим прохождение готового материала, нижняя часть пружины оперта на конусообразное основание секции, направленное вершиной вверх, при этом конструкция снабжена регулирующим устройством для изменения зазора между витками пружины, а разгрузочное устройство соединено с нижней частью конусообразного основания.
Помол осуществляется за счет истирания материала мелющими телами, которые совершают безотрывное движение относительно дна каждой секции камеры за счет работы вибровозбудителя.
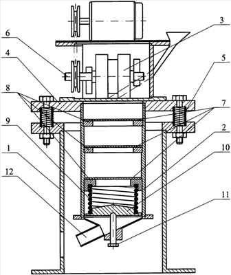
На чертеже представлен общий вид вертикальной вибрационной мельницы.
Представленная вибрационная мельница состоит из стационарно закрепленного корпуса 1, внутри которого находится помольная камера 2. Помольная камера подвижно связана с корпусом 1 и жестко – с вибровозбудителем 3. Данное соединение может быть выполнено различным образом. Например, в данном случае это осуществляется через опору 4, выполненную в виде кольца, жестко, например на болтах, закрепленного на верхнем торце помольной камеры. Опора 4 через упругие элементы 5 соединяет камеру с корпусом. В качестве упругих элементов можно использовать, например, пружины.
Верхняя часть опоры 4 закрыта пластиной, установленной, например, на болтах, с отверстием для прохождения загружаемого материала. На пластине опоры 4, например, на болтах установлен вибровозбудитель 3, выполненный, в данном случае в виде вала 6, с находящимися на нем дебалансами, установленного посредством подшипников в корпусе вибровозбудителя.
Колебания корпуса мельницы возникают за счет вращения дебалансов, установленных на валу вибровозбудителя, причем характер колебаний можно изменять, варьируя массами дебалансов, их взаимным расположением, а также частотой вращения вала 6 вибровозбудителя 3.
Помольная камера по вертикали разделена на несколько верхних и нижнюю секцию перфорированными перегородками 7, которые опорными шайбами 8 прикреплены к стенкам помольной камеры, причем размер отверстий в перегородках уменьшается по ходу прохождения материала. В рассматриваемом случае конструкция содержит три верхних секции и одну нижнюю.
Нижняя секция внутри снабжена цилиндрической пружиной 9, расположенной коаксиально с зазором по отношению к стенке секции, обеспечивающим прохождение в зазоре готового материала.
Пружина 9 нижней секции также является классифицирующим устройством. Пружина опирается на конусообразное основание 10, направленное вершиной вверх. Устройство содержит регулирующее устройство 11 для изменения зазора между витками пружины, которое может быть выполнено, например, в виде болта, подпирающего конусообразное основание 10.
На нижней части цилиндрической помольной камеры 2 закреплено разгрузочное устройство 12, через которое выгружается измельченный материал. Разгрузочное устройство выполнено, например, в виде конуса, направленного вершиной вниз, заканчивающегося патрубком.
Работа представленной вибрационной мельницы осуществляется в следующем порядке. Материал, например смесь песка с цементом (размер зерен песка 2 мм, цемента 0,2 мм) через загрузочное отверстие по патрубку, проходящему в корпусе вибровозбудителя, попадает в верхнюю секцию помольной камеры через центральное отверстие в пластине на опоре 4.
Загруженный в корпус материал попадает в первую секцию помольной камеры, где происходит его первичный помол, проходит все стадии помола во всех секциях, причем размер мелющих тел в каждой секции уменьшается по мере прохождения материала. Во всех секциях материал измельчается вследствие воздействия на него мелющих тел. Попадая в нижнюю, четвертую секцию, материал проходит последнюю стадию измельчения.
Секция содержит пружину 9, расположенную внутри и коаксиально корпусу. Основное назначение пружины – классификация материала. Она не позволяет материалу, не достигшему заданной тонины, передвигаться из последней секции в разгрузочное устройство, т.к. этот материал не проходит через витки пружины. Таким образом, мы можем регулировать тонину готового продукта. Однако пружина здесь является не только классифицирующим устройством, но и дополнительным источником измельчения материала. Т.к. вибрация передается на пружину, то зазор между ее витками изменяется, и материал, проходя через зазоры между витками, испытывает дополнительное динамическое воздействие, вследствие чего происходит его дополнительное измельчение.
Конусообразное основание 10 необходимо для того, чтобы материал под собственным весом передвигался к пружине 9.
Измельченный материал через зазор между корпусом помольной камеры 2 и конусообразным основанием 10 попадает в конусообразное разгрузочное устройство и далее через парубок происходит его разгрузка.
По мере износа пружины и увеличения зазора между ее витками, используют регулирующее устройство 11.
Применение вертикальной вибрационной мельницы предложенной конструкции позволяет, применив в качестве боковой поверхности нижней секции пружину, значительно повысить эффективность процесса измельчения, повысить тонину помола, а также, в результате использования регулирующего устройства достигнуть простоты управления шириной щели между витками пружины, обеспечить стабилизацию зернового состава продукта, удобство и экономичность обслуживания мельницы. Так при зазоре между витками пружины b=200 мкм удельная поверхность получаемого продукта S=250 м2/кг, а остаток на сите R008=15%, при b=100 мкм удельная поверхность S=320 м2/кг, а остаток на сите R008=7%, при b=10 мкм удельная поверхность S=450 м2/кг, а остаток на сите R008=2%.
Таким образом, сочетание всех изменений в конструкции вибрационной мельницы позволяет существенно повысить эффективность процесса измельчения, увеличить тонину помола и однородность готового продукта, за счет чего размер получаемого продукта составляет до 5 мкм.
Формула изобретения
Вибрационная мельница, содержащая корпус, в котором расположена вертикальная цилиндрическая помольная камера, подвижно связанная с корпусом и жестко – с вибровозбудителем, при этом помольная камера разделена перфорированными перегородками на нижнюю и ряд верхних секций, заполненных мелющими телами; мельница, кроме того, содержит загрузочное и разгрузочное устройства, отличающаяся тем, что нижняя секция внутри снабжена цилиндрической пружиной, расположенной коаксиально с зазором по отношению к стенке секции, обеспечивающим прохождение готового материала, нижняя часть пружины оперта на конусообразное основание секции, направленное вершиной вверх, при этом конструкция снабжена регулирующим устройством для изменения зазора между витками пружины, а разгрузочное устройство соединено с нижней частью конусообразного основания.
РИСУНКИ
|
|