|
| На основании пункта 1 статьи 1366 части четвертой Гражданского кодекса Российской Федерации патентообладатель обязуется заключить договор об отчуждении патента на условиях, соответствующих установившейся практике, с любым гражданином Российской Федерации или российским юридическим лицом, кто первым изъявил такое желание и уведомил об этом патентообладателя и федеральный орган исполнительной власти по интеллектуальной собственности. |
|
(21), (22) Заявка: 2007124794/15, 03.07.2007
(24) Дата начала отсчета срока действия патента:
03.07.2007
(46) Опубликовано: 20.09.2008
(56) Список документов, цитированных в отчете о поиске:
Справочник по пыле- и золоулавливанию /Под ред. А.А.Русанова – М.: Энергоатомиздат, 1983, с.184, 186-187. SU 1755886 A1, 23.08.1992. SU 1755890 A1, 23.08.1992. WO 95/27431 A1, 19.10.1995. JP 10122548 A, 15.05.1998.
Адрес для переписки:
123458, Москва, ул. Твардовского, 11, кв.92, О.С. Кочетову
|
(72) Автор(ы):
Кочетов Олег Савельевич (RU), Голубева Мария Владимировна (RU), Колаева Лидия Владимировна (RU), Боброва Екатерина Олеговна (RU), Духанина Елена Владимировна (RU), Горнушкина Надежда Игоревна (RU), Павлова Дарья Олеговна (RU), Дорушенкова Ольга Юрьевна (RU), Костылева Анастасия Витальевна (RU), Зубова Ирина Юрьевна (RU)
(73) Патентообладатель(и):
Кочетов Олег Савельевич (RU), Голубева Мария Владимировна (RU)
|
(54) МНОГОСЕКЦИОННЫЙ ПЫЛЕУЛОВИТЕЛЬ
(57) Реферат:
Изобретение относится к технике пылеулавливания и может применяться в химической, текстильной, пищевой, легкой и других отраслях промышленности для очистки запыленных газов. Пылеуловитель содержит корпус, фильтровальную секцию с рукавными фильтрующими элементами, бункер, механизм встряхивания с рамой подвеса рукавов, газоход с коллектором для подачи запыленных газов, выходной коллектор очищенных газов, систему регенерации с обратной продувкой. В корпусе фильтровальной секции установлен датчик температуры, в бункере для сбора пыли – аварийный датчик уровня пыли, в выходном коробе фильтровальной секции – тепловой автоматический датчик-извещатель, выходы с которых соединены с общим микропроцессором, а в выходном коробе фильтровальной секции установлен коллектор с форсунками для подключения к системе пожаротушения, блок управления которым соединен с общим микропроцессором. Система регенерации снабжена блоком управления, связанным электронной связью с общим микропроцессором. Технический результат: повышение эффективности и надежности процесса пылеулавливания. 3 з.п. ф-лы, 3 ил.
Изобретение относится к технике пылеулавливания и может применяться в химической, текстильной, пищевой, легкой и других отраслях промышленности для очистки запыленных газов и предназначено для центральных систем аспирации.
Наиболее близким техническим решением к заявляемому объекту является способ пылеулавливания и аппарат по патенту РФ №2256510, кл. В04С 9/00 от 15.06.2004 г., заключающийся в том, что очистку запыленного газового потока осуществляют посредством его подачи во входной короб фильтровальной секции пылеуловителя, содержащего корпус, опорную часть с бункером для сбора пыли, а вывод очищенного газа осуществляют через выходной короб фильтровальной секции, а пылеуловитель содержит корпус, периферийный ввод газового потока, фильтрующий элемент и бункер для сбора пыли (прототип).
Недостатком прототипа является сравнительно невысокая эффективность процесса пылеулавливания за счет малой площади фильтрующего элемента.
Технический результат – повышение эффективности и надежности процесса пылеулавливания, а также снижение металлоемкости и виброакустической активности аппарата в целом.
Это достигается тем, что в многосекционном пылеуловителе, содержащем корпус, фильтровальную секцию с рукавными фильтрующими элементами, бункер, механизм встряхивания с рамой подвеса рукавов, газоход с коллектором для подачи запыленных газов, выходной коллектор очищенных газов, систему регенерации с обратной продувкой, включающей клапан и продувочный клапан, в корпусе фильтровальной секции установлен датчик температуры, в бункере для сбора пыли – аварийный датчик уровня пыли, в выходном коробе фильтровальной секции – тепловой автоматический датчик-извещатель, выходы с которых соединены с общим микропроцессором, а в выходном коробе фильтровальной секции пылеуловителя установлен коллектор с форсунками для подключения к системе пожаротушения, блок управления которым соединен с общим микропроцессором, и имеется также система регенерации рукавных фильтров с механизмом вибровстряхивания, блок управления которым связан электронной связью с общим микропроцессором.
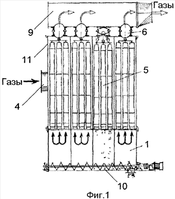
На фиг.1 изображен общий вид многосекционного пылеуловителя, на фиг.2 – его профильная проекция, на фиг.3 – функциональная схема обеспечения пожаровзрывобезопасности работы устройства.
Многосекционный пылеуловитель со встряхиванием и обратной продувкой содержит корпус 11, фильтровальную секцию 5 с рукавными фильтрующими элементами, бункер 1, механизм встряхивания 2 с рамой 7 подвеса рукавов, газоход 4 с коллектором 3 для подачи запыленных газов, выходной коллектор 9 очищенных газов, систему регенерации с обратной продувкой, включающей клапан 6 и продувочный клапан 8.
В корпусе блока фильтров 5 установлен датчик температуры 12, в бункере для сбора пыли – аварийный датчик 13 уровня пыли, в выходном коробе – тепловой автоматический датчик-извещатель 14, выходы которых соединены с общим микропроцессором 15, размещенным в шкафу управления 16, а в выходном коробе установлен коллектор 17 с форсунками 18 для подключения к системе пожаротушения, блок управления 19 которой соединен с общим микропроцессором 15, а система регенерации 20 рукавных фильтров содержит блок управления 21, который связан электронной связью с общим микропроцессором.
Гидравлическое сопротивление фильтровальной секции составляет 15…25% от гидравлического сопротивления всего устройства, а материал фильтров рукавного типа обладает повышенными звукопоглощающими свойствами, а корпусные детали и ограждения устройства выполнены из конструкционных композиционных или полимерных материалов, например полиэтилена, капрона, полиуретана, с помощью литья, штамповки, формования, причем на их поверхности нанесен слой мягкого вибродемпфирующего материала, например, типа мастики «ВД-17», «Герлен-Д», причем соотношение между толщиной материала и вибродемпфирующего покрытия находится в оптимальном интервале величин: 1/(2,5…4), а поверх этого слоя закрепляется слой звукопоглощающего материала, например, типа «винипор», «акмигран» с защитной акустически прозрачной пленкой типа «повиден».
Система регенерации рукавных фильтров с длиной рукавов порядка L=2,5…3,5 м с механизмом импульсной продувки обеспечивает: автоматизированное управление электромагнитными клапанами сжатого воздуха при избыточном давлении порядка Ри=0,4…0,8 Па; длительность импульса =0,1…0,2 с; одновременную продувку числа рукавов без остановки процесса фильтрования m=5…10%, причем при продувке рукавов с обеих сторон их длина составляет порядка L=5…6 м.
Бункер для сбора пыли выполнен конической или пирамидальной формы с углом наклона стенок, превышающим угол естественного откоса улавливаемой пыли.
В фильтровальной секции пылеуловителя фильтрующие элементы рукавного типа располагаются прямыми рядами или в шахматном порядке, причем отношение длины рукава L к его диаметру D находится в оптимальном интервале величин: L/D=15…40, а в качестве материала фильтрующих рукавных элементов используются как тканые материалы со способами переплетения: полотняные, саржевые, сатиновые; с видами волокон в нити: штапельные, филаментные, текстурированные; с обработкой поверхности: гладкие и ворсованные, так и нетканые со способами закрепления волокон: иглопробивные, холстопрошивные и клееные, полученные вышеперечисленными способами из:
– естественных волокон животного и растительного происхождения (шерстяные, льняные, хлопчатобумажные, шелковые) со следующими диапазонами свойств: плотность =1320…1520 кг/м3; термостойкость =65…120°С; прочность разрыва =130…530 Па; разрывное удлинение =7…40%; влагоемкость w при температуре t=20°С и влажности =65% составляет w=7…15%; при влажности =90…95% составляет w=21,9…27%.
– искусственных органических волокон (лавсан, нитрон, капрон, хлорин, оксалон, полипропилен, поливинилхлорид, фторопласт, тефлон и др.) со следующими диапазонами свойств: плотность =920…2300 кг/м3; термостойкость =65…270°С; прочность разрыва =180…860 Па; разрывное удлинение =14…50%; влагоемкость w при температуре t=20°С и влажности =65% составляет w=0…4,5%; при влажности =90…95% составляет w=0…8,5%.
– искусственных неорганических волокон (например, стеклянное волокно) со следующими диапазонами свойств: плотность =2000…2540 кг/м3; термостойкость =240…315°С; прочность разрыва =1600…3000 Па; разрывное удлинение =3…4%; влагоемкость w при температуре t=20°С и влажности =65% составляет w=0…0,3%; при влажности =90…95% составляет w=0…0,5%.
Пылеуловитель работает следующим образом.
Корпус фильтра разделен на несколько герметизированных секций, в каждой из которых размещено по несколько рукавов. Взвешенная пыль из газопровода запыленного газа 4 подводится в бункерную часть 1 каждой секции и через нижние плиты с патрубками, на которых закреплены рукава, поступает внутрь рукавов. Фильтруясь через волокнистый материал, газ проходит в секцию и через открытый выпускной клапан 6 выходит из нее, поступая в газопровод чистого газа 9. Частицы пыли при этом оседают на внутренней поверхности рукавов, в результате чего сопротивление фильтрующего материала проходу газа постепенно увеличивается. Когда оно достигнет некоторого предельного значения, фильтр переводится на режим регенерации, т.е. рукава освобождаются от осевшей на них пыли. В данном случае регенерация осуществляется обратной продувкой очищенным газом или воздухом, который через открытый продувочный клапан 8 направляют внутрь секции при закрытом выпускном клапане. При фильтрации через рукав в обратном направлении разрушается слой пыли, которая падает в бункер, откуда удаляется выгрузным устройством 10. Запыленный продувочный воздух поступает в газопровод грязного газа и далее – в работающие секции. В целях повышения эффективности регенерации одновременно с обратной продувкой встряхивают рукава с помощью специального механизма 2. Секции фильтра переводят на регенерацию по очереди.
Осаждение частиц пыли в начальный период работы фильтра за счет механизмов касания, инерции, диффузии и электростатического взаимодействия происходит на волокнах.
В последующем наблюдается процесс осаждения частиц и образование «мостов» над порами и в самих порах, в результате чего образуется сплошной слой пыли, который сам становится «вторичной» фильтрующей средой, и эффективность очистки резко возрастает.
При регенерации часть осадка удаляется, но внутри ткани между нитями и волокнами остается значительное количество пыли, сохраняющее высокую эффективность очистки газов, поэтому при регенерации фильтрующего материала нельзя допускать его «переочистку».
В качестве фильтровальных волокнистых материалов применяют ткани, а в последние годы все чаще нетканые материалы, которые, в отличие от тканей, по поверхности и глубине имеют более однородную волокнистую мелкопористую структуру, при которой значительно эффективнее реализуются механизмы сепарации частиц. В тканях же пористость неравномерна и определяется, главным образом, способом переплетения нитей основы и утка, а толщина волокна, скрученного в нити, практически слабо влияет на процесс.
Для достижения высокой прочности и стабильности размеров нетканый материал может иметь внутренний тканый каркас, или в него добавляют некоторое количество более толстых и прочных волокон. Разнообразие технологических процессов получения нетканых материалов позволяет создавать высокоэффективные фильтрующие материалы с нужными свойствами.
Для оптимизации процесса пылеулавливания и для его безопасной работы в корпусе блока фильтров установлен датчик температуры 12, в бункере для сбора пыли – аварийный датчик 13 уровня пыли, в выходном коробе – тепловой автоматический датчик-извещатель 14, выходы которых соединены с общим микропроцессором 15, размещенным в шкафу управления 16, а в выходном коробе установлен коллектор 17 с форсунками 18 для подключения к системе пожаротушения, блок управления 19 которой соединен с общим микропроцессором 15, а система регенерации 20 рукавных фильтров содержит блок управления 21, который связан электронной связью с общим микропроцессором.
Тепловой датчик-извещатель 14 и коллектор 17 с форсунками 18 системы пожаротушения установлены в выходном коробе фильтровальной секции потому, что она является выходным звеном в предлагаемом устройстве, и чтобы предотвратить распространение пламени в случае возгорания дальше по вентиляционным каналам, эти системы устанавливают именно здесь, что повысит надежность и безопасность всего устройства.
Работа коллектора 17 с форсунками 18 осуществляется по принципу открытия аварийного электромагнитного клапана подачи воды при подаче на клапан управляющего сигнала от общего микропроцессора 15, обрабатывающего сигнал с теплового датчика-извещателя 14, который в свою очередь реагирует на увеличение температуры в выходном коробе, вплоть до самовоспламенения пылевых аэрозолей и фильтрующих материалов блока фильтров.
Работа системы порошкового пожаротушения (не показано) происходит в дублирующем варианте в случае, если на первой ступени выйдет из строя, например, электромагнитный клапан подачи воды, или будет отключена система водоснабжения, тогда сработает система порошкового пожаротушения, причем управление работой этих систем осуществляется от микропроцессора 15, который может быть размещен стационарно (например, в шкафу 16 управления) или быть встроенным в выносной пульт (не показано), чтобы можно было в случае аварии управлять процессом пожаротушения, останавливая при этом распространение огня, что в целом повысит безопасность всей системы очистки воздуха от пыли.
В аппарате происходит снижение виброакустической энергии, так как фильтрующие элементы одновременно является аэродинамическим глушителем шума активного (сорбционного) типа. Пылеулавливающие аппараты данного типа предназначены для центральных систем аспирации.
Формула изобретения
1. Многосекционный пылеуловитель, содержащий корпус, фильтровальные секции с рукавными фильтрующими элементами, бункер для сбора пыли, газоход с коллектором для подачи запыленных газов, выходной короб очищенных газов, систему регенерации рукавных фильтров с механизмом вибровстряхивания с рамой подвеса рукавов и продувочным клапаном для обратной продувки, отличающийся тем, что в корпусе установлен датчик температуры, в бункере для сбора пыли – аварийный датчик уровня пыли, в выходном коробе – тепловой автоматический датчик-извещатель, выходы которых соединены с общим микропроцессором, при этом в выходном коробе установлен коллектор с форсунками для подключения к системе пожаротушения, блок управления которым соединен с общим микропроцессором, причем механизм вибровстряхивания снабжен блоком управления, связанным электронной связью с общим микропроцессором.
2. Пылеуловитель по п.1, отличающийся тем, что гидравлическое сопротивление фильтровальной секции составляет 15÷25% от гидравлического сопротивления всего устройства, а материал рукавных фильтрующих элементов обладает повышенными звукопоглощающими свойствами.
3. Пылеуловитель по п.2, отличающийся тем, что бункер для сбора пыли выполнен конической или пирамидальной формы с углом наклона стенок, превышающим угол естественного откоса улавливаемой пыли.
4. Пылеуловитель по п.2, отличающийся тем, что в фильтровальных секциях рукавные фильтрующие элементы располагаются прямыми рядами или в шахматном порядке, причем отношение длины рукава L к его диаметру D находится в оптимальном интервале величин: L/D 15÷40, а в качестве материала фильтрующих рукавных элементов используются как тканые материалы со способами переплетения: полотняные, саржевые, сатиновые; с видами волокон в нити: штапельные, филаментные, текстурированные; с обработкой поверхности: гладкие и ворсованные, так и нетканые со способами закрепления волокон: иглопробивные, холстопрошивные и клееные.
РИСУНКИ
|
|