|
|
(21), (22) Заявка: 2007109210/15, 13.03.2007
(24) Дата начала отсчета срока действия патента:
13.03.2007
(46) Опубликовано: 20.09.2008
(56) Список документов, цитированных в отчете о поиске:
US 6136188, 24.10.2000. US 5688397, 18.11.1997. RU 55745 U1, 27.08.2006. RU 53279 U1, 10.05.2006. RU 29289 U1, 10.05.2003. US 5840185, 24.11.1998.
Адрес для переписки:
105082, Москва, а/я 111, ООО Юридическая фирма “Лабзин и партнеры”, С.М. Ломскому
|
(72) Автор(ы):
Кистерев Валерий Евгеньевич (RU), Жердев Павел Дмитриевич (RU)
(73) Патентообладатель(и):
Общество с ограниченной ответственностью “Евростандарт” (RU)
|
(54) УСТРОЙСТВО ДЛЯ ОБРАБОТКИ И ОЧИСТКИ ЖИДКОГО ПРОДУКТА
(57) Реферат:
Изобретение относится преимущественно к пищевой, в частности ликероводочной промышленности. Изобретение предназначено для индивидуальной обработки и очистки каждой единичной порции жидкого продукта (водки), выливаемой из бутылки, в период времени, предшествующий потреблению лично потребителем. Устройство содержит картридж, состоящий из соединяемого с горловиной бутылки корпуса и размещенного в нем фильтра, воздухоподающее приспособление. Фильтр закреплен на внутренней поверхности в корпусе и образован последовательно расположенными фильтрующим материалом грубой очистки, сорбентом или их смесью и фильтрующим материалом тонкой очистки. Воздухоподающее приспособление включает в себя закрепленный на бутылке ручной воздушный насос, сопряженный с трубкой, соединенной герметично с выполненным в корпусе картриджа сквозным каналом или соединенной герметично посредством расположенного между корпусом картриджа и горловиной бутылки уплотнительного элемента, сообщенного с каналами, выполненными на внутренней поверхности корпуса картриджа и ограниченными внешней поверхностью горловины бутылки. Ручной воздушный насос выполнен в виде полой емкости из упругого воздухонепроницаемого материала с встроенными впускным и выпускным клапанами, закрепленной на бутылке снаружи. Технический результат заключается в создании удобного и простого механизма обеспечения Технический результат заключается в создании удобного и простого механизма обеспечения необходимого избыточного давления воздуха во внутреннем объеме бутылки с жидким продуктом и расположения фильтра по всему сечению корпуса картриджа. 9 з.п. ф-лы, 6 ил.
Изобретение относится к пищевой, в частности ликероводочной промышленности. Изобретение предназначено для индивидуальной обработки и очистки каждой единичной порции жидкого продукта (водки), выливаемой из бутылки (емкости), в период времени, предшествующий потреблению лично потребителем.
Известно устройство для обработки и очистки жидкого продукта (см. патент США №6193886 от 27.02.2001), содержащее картридж, состоящий из соединяемого с горловиной бутылки корпуса и размещенного в нем фильтра, воздухоподающее приспособление.
Недостатком известного устройства является низкая эффективность используемого картриджа, обусловленная прохождением через него жидкого продукта с разной степенью очистки и невозможностью использования бутылок с жестким корпусом.
Технический результат, на достижение которого направлено изобретение, заключается в устранении указанного недостатка путем создания удобного и простого механизма обеспечения необходимого избыточного давления воздуха во внутреннем объеме бутылки с жидким продуктом и расположения фильтра по всему сечению корпуса картриджа.
Также целью данного изобретения было создание простого узла подачи сжатого воздуха окружающей среды во внутреннюю полость емкости с жидкостью.
Указанный результат достигается тем, что в устройстве для обработки и очистки жидкого продукта, содержащем емкость, картридж, состоящий из соединяемого с горловиной бутылки корпуса и размещенного в нем фильтра, и воздухоподающее приспособление, фильтр закреплен на внутренней поверхности в корпусе выше максимального уровня жидкости в бутылке, а воздухоподающее приспособление включает в себя закрепленный на бутылке ручной насос, сопряженный с трубкой, соединенной с узлом подачи воздуха в емкость. Узел подачи воздуха может быть образован трубкой и сквозным каналом, выполненным в корпусе картриджа. Или расположенным между корпусом картриджа и горловиной бутылки кольцевым уплотнительным элементом, герметично сопряженным с трубкой и сообщенным с каналами, выполненными в корпусе картриджа на его внутренней поверхности и ограниченными внешней поверхностью горловины бутылки, или выполненным в бутылке отверстием, герметично соединенным с трубкой посредством герметизирующего элемента. Корпус картриджа может быть заполнен последовательно расположенными компонентами фильтра: фильтрующим материалом грубой очистки; сорбентом или их смесью и материалом тонкой очистки. В выходном отверстии корпуса для исключения расплескивания сформирован рассекатель. Узел сопряжения корпуса картриджа с горловиной бутылки может быть выполнен с запорным фиксатором в виде кольцевого выступа на внутренней поверхности посадочного места корпуса для зацепа с кольцевым бортиком на внешней поверхности горлышка бутылки. Картридж целесообразно закрывать сопрягаемым с его корпусом посредством резьбы декоративным колпачком с фиксацией вскрытия. Корпус картриджа может быть герметично соединен с горловиной бутылки посредством посадочного места с ориентированной внутренней резьбой или насадкой, т.е. соединением, при котором при закрутке или насадке картриджа автоматом он всегда будет одинаково ориентирован сквозным каналом к определенному месту на бутылке. Воздушный насос может быть выполнен в виде полой емкости из упругого воздухонепроницаемого материала с встроенными впускным и выпускным клапанами. Насос закреплен на бутылке снаружи.
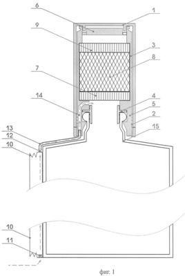
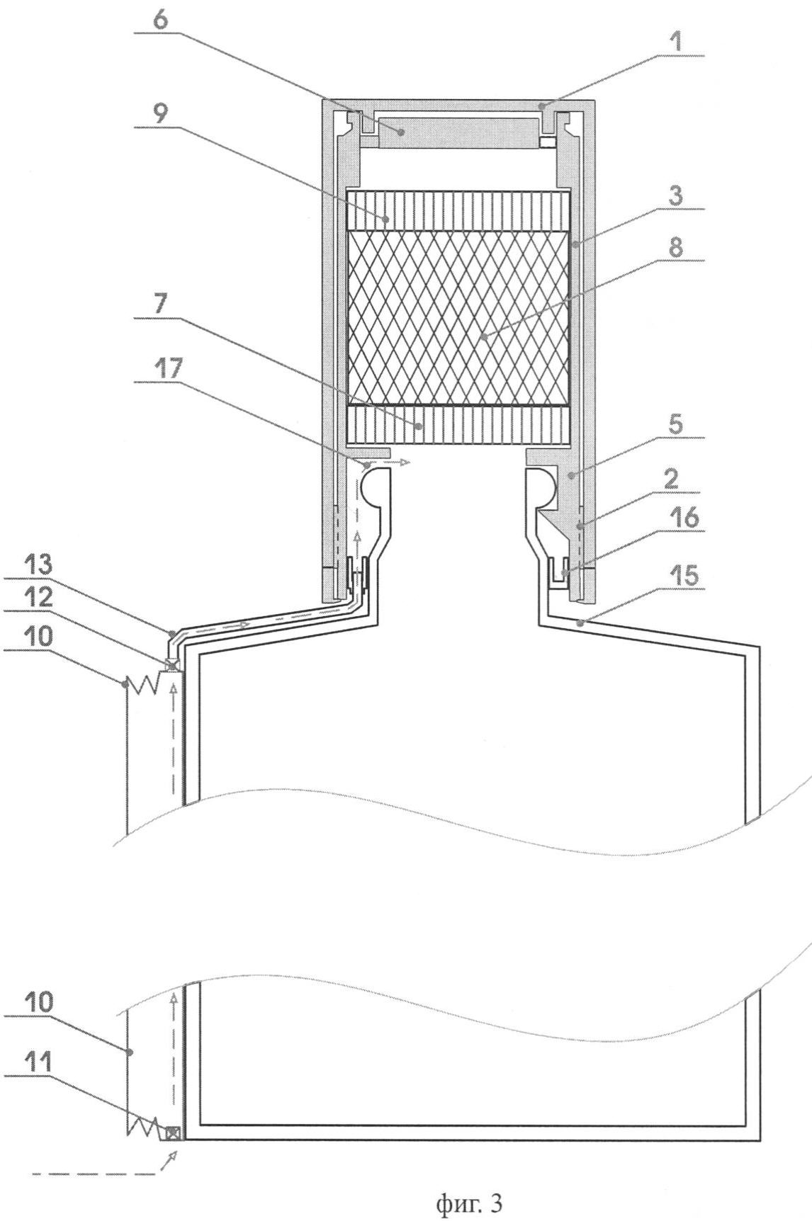
На фиг.1 схематично изображено устройство с воздухоподающим каналом в корпусе картриджа.
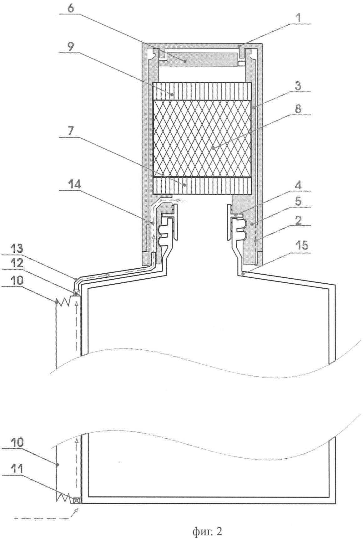
На фиг.2 – то же, с резьбовым креплением корпуса картриджа.
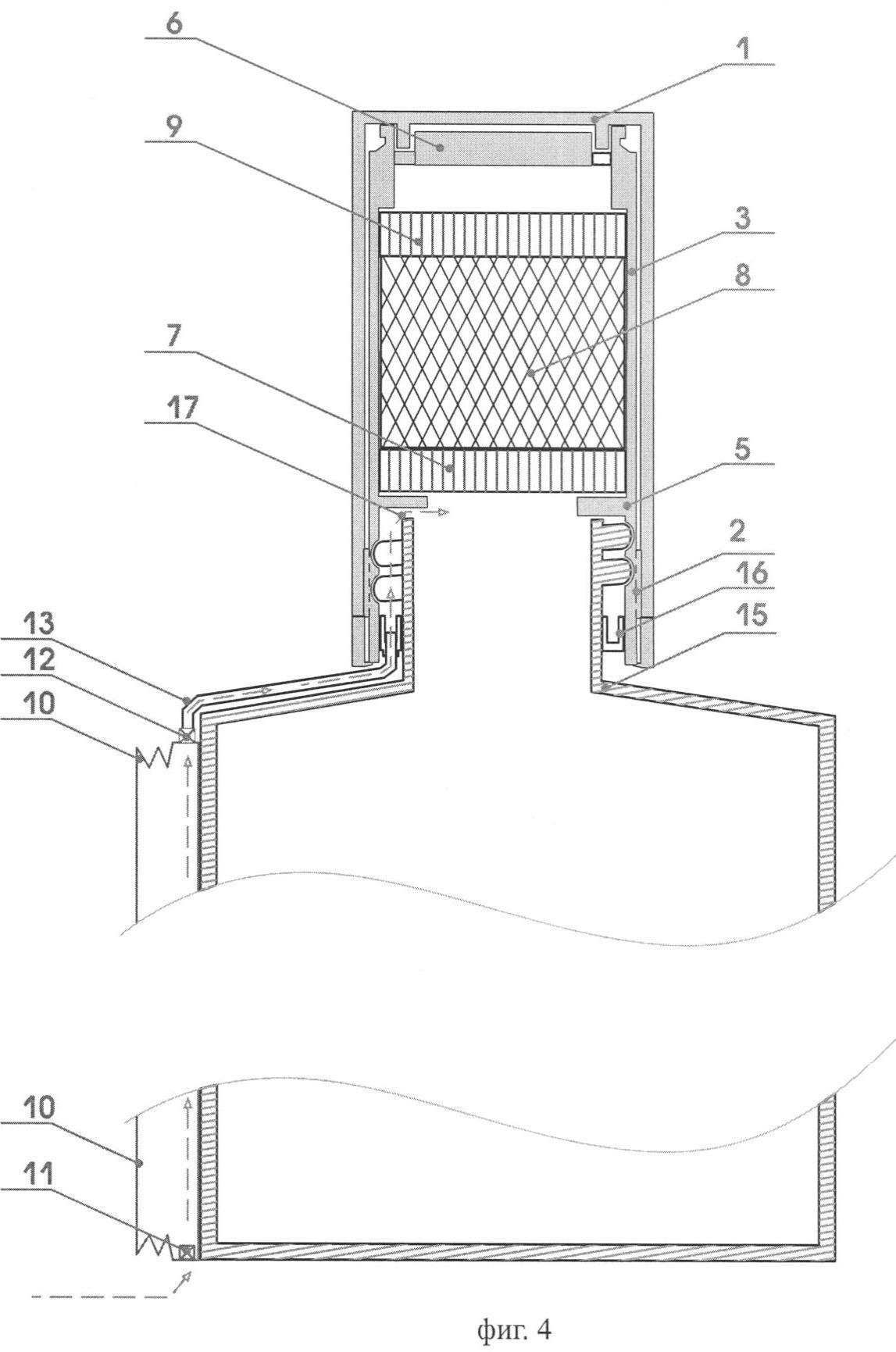
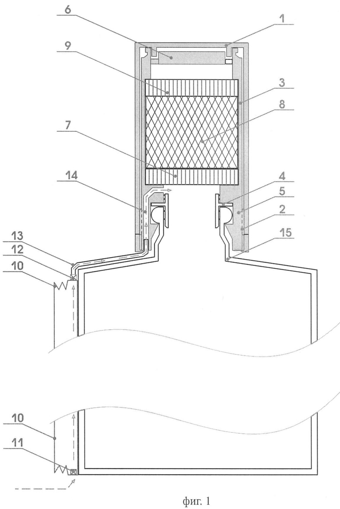
На фиг.3 – схематично изображено устройство с воздухоподающим узлом в виде кольцевого уплотнительного элемента.
На фиг.4 – то же, с резьбовым креплением корпуса картриджа.
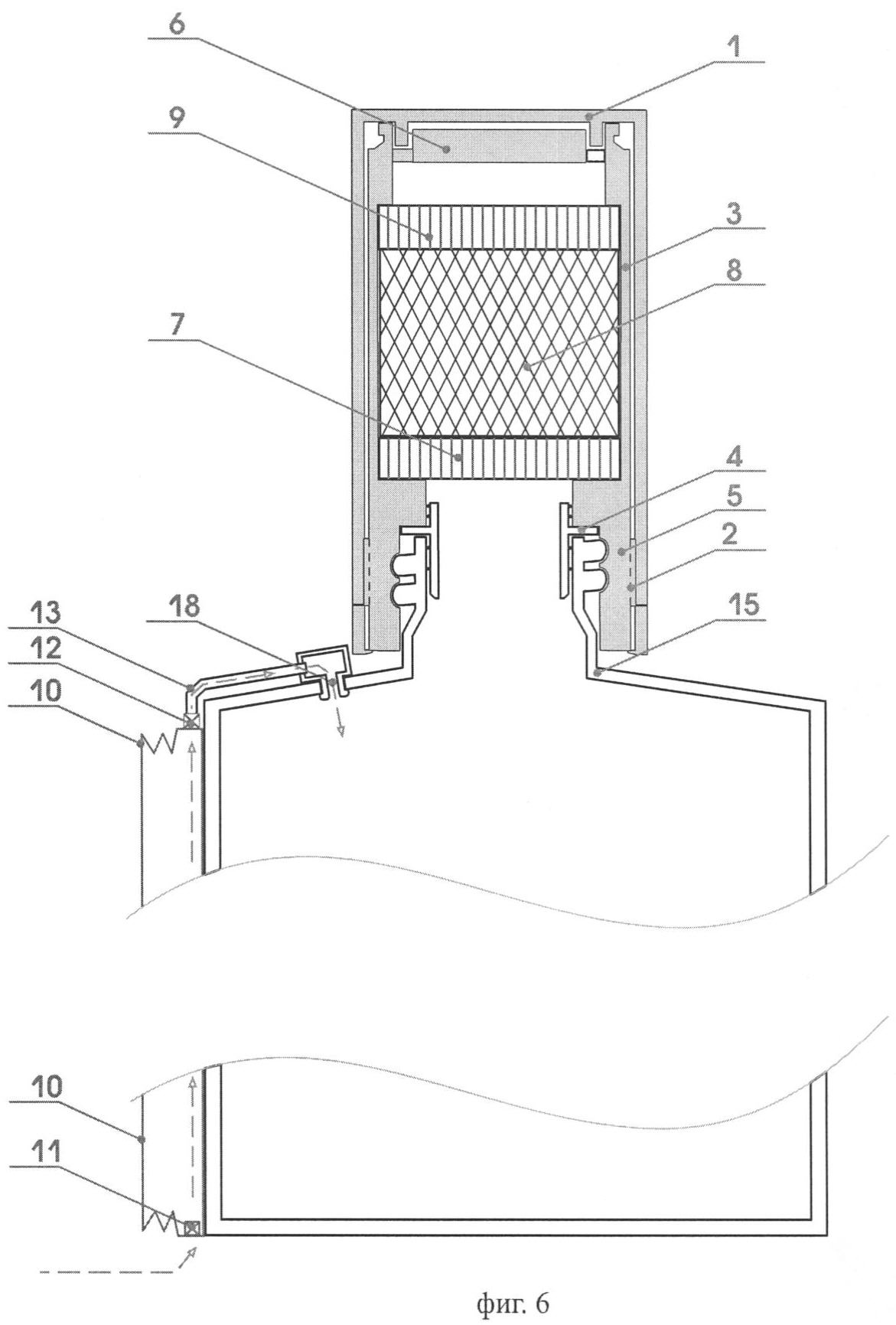
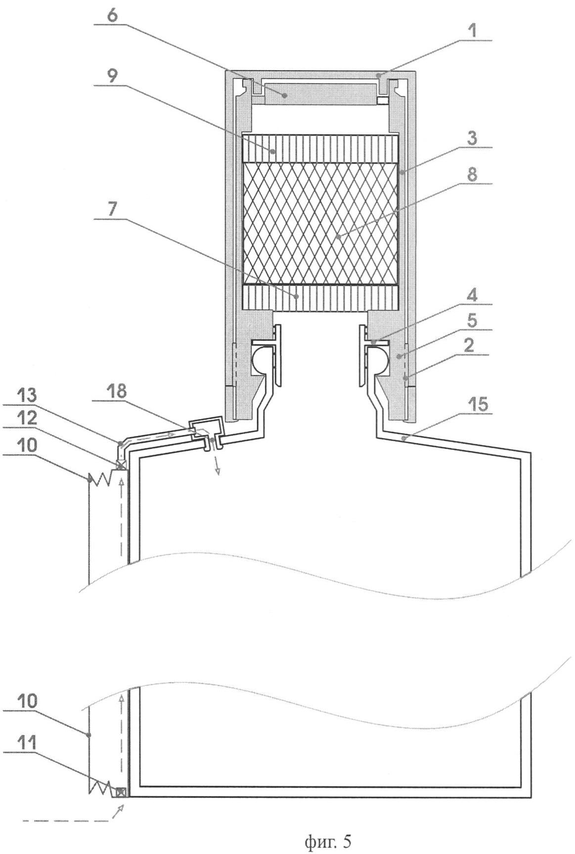
На фиг.5 – схематично изображено устройство с отверстием в корпусе бутылки.
На фиг.6 – то же, с резьбовым креплением корпуса картриджа
Устройство кроме емкости содержит три основных компонента: узел обработки и очистки; воздухоподающее приспособление с механизмом для создания избыточного давления внутри емкости и узел подачи воздуха.
Узел обработки и очистки состоит из: колпачка декоративного запорного 1 с внутренней резьбой 2 для навинчивания на корпус 3 картриджа; герметизирующего элемента из эластичной пластмассы 4 в двух вариантах устройства; картриджа, корпус которого имеет посадочное место 5 на горловину бутылки, рассекатель-ограничитель 6 с каналами для протока, резьбу 2 на внешней стороне для навинчивания запорного колпачка и полость, в которой последовательно размещены фильтрующий материал 7 грубой очистки, сорбент 8 или их смесь и фильтрующий материал 9 тонкой очистки.
Воздухоподающее приспособление с механизмом для создания необходимого давления во внутренней полости бутылки представляет собой емкость 10, образованную из упругого материала, с впускным 11 и выпускным 12 клапанами, то есть воздушный нажимной насос. Насос расположен снаружи бутылки и органически вписан в конфигурацию бутылки в соответствии с дизайн-образом продукта.
Узел подачи воздуха состоит: из воздухоподающей трубки 13 и герметично сопряженного с ней каналом 14 в корпусе картриджа. Посредством них воздух окружающей среды из емкости воздушного насоса через выпускной клапан под давлением поступает во внутреннюю полость бутылки 15.
Работа устройства, изображенного на фиг.1 и 2, происходит следующим образом.
Закупоренная бутылка с водкой берется в руки, открывается путем свинчивания декоративного колпачка 1 и перевертывается горлышком вниз над сосудом для налива. Водка, содержащаяся в бутылке, переливается через отверстие в герметизирующем элементе 4 к фильтрующему материалу грубой очистки 7, часть ее под действием гравитационных сил проходит через него и попадает в полость корпуса картриджа, заполненную сорбентом 8 или их смесью, обеспечивающими заданную степень обработки водки. Пройдя через сорбент 8, водка не сможет преодолеть фильтрующий материал тонкой очистки 9 только за счет гравитационных сил из-за уменьшения давления воздуха во внутреннем объеме бутылки 15 вследствие его разрежения и большого суммарного сопротивления фильтрующих материалов 7 и 9 и сорбента 8. Для того чтобы продавить водку через фильтрующие материалы и сорбент, потребитель нажимает на пружинистую емкость воздушного насоса, которая в исходном состоянии имеет больший объем. Впускной клапан 11 под действием давления внутри емкости воздушного насоса закрывается, а выпускной клапан 12 открывается, в результате чего воздух из насоса через трубку 13, воздухоподающий канал 14 в корпусе картриджа и отверстие в герметизирующем элементе подается во внутреннюю полость бутылки. Последовательное нажатие на емкость воздушного насоса продолжается до тех пор, пока давление внутри бутылки не достигнет величины, достаточной для продавливания водки через фильтровальные материалы и сорбент и обеспечения нужной скорости ее вытекания из емкости. При наполнении наливаемой емкости, обработанной водкой, потребитель прекращает нажатие на емкость воздушного насоса и переворачивает бутылку горлышком вверх. Избыточное давление воздуха в бутылке выталкивает часть водки из емкости, заполненной сорбентом, через фильтрующий материал 9 в полость корпуса картриджа над ним, ограниченную рассекателем-ограничителем 6, а остаточное давление сбрасывается через каналы для протока водки в рассекателе-ограничителе картриджа в окружающее пространство. Конфигурация рассекателя- ограничителя картриджа обеспечивает устранение возникающих при сбросе давления брызг водки. Выпускной клапан закрывается, перекрывая доступ воздуха в бутылку. Декоративный запорный колпачок навинчивается на корпус картриджа с помощью резьбового соединения и герметично закупоривает бутылку. Остаток водки из картриджа под действием гравитационных сил постепенно перетекает обратно в бутылку. При необходимости операция повторяется.
Второй пример выполнения устройства представлен на фиг.3 и 4.
Узел подачи воздуха во втором варианте состоит: из воздухопроводящей 13 трубки; кольцевого уплотнительного 16 элемента и сопряженных с ним воздушных каналов 17. Каналы образованы в элементах внутренней поверхности корпуса картриджа вдоль наружной поверхности горловины бутылки 15, через них воздух окружающей среды из емкости воздушного нажимного насоса под давлением поступает во внутреннюю полость бутылки 15.
Работа устройства, изображенного на фиг.3 и 4, осуществляется аналогично первому варианту.
Третий пример выполнения устройства представлен на фиг.5 и 6.
Узел подачи воздуха в третьем варианте состоит из специально организованного отверстия в бутылке, герметично посредством уплотнительного элемента 18 соединенного с воздухопроводящей 13 трубкой, через которое воздух окружающей среды из емкости воздушного нажимного насоса под давлением поступает во внутреннюю полость бутылки 15.
Работа устройства, изображенного на фиг.5 и 6, осуществляется аналогично первым двум вариантам.
Формула изобретения
1. Устройство для обработки и очистки жидкого продукта, находящегося в бутылке, содержащее картридж, состоящий из соединяемого с горловиной бутылки корпуса и размещенного в нем фильтра, воздухоподающее приспособление, отличающееся тем, что фильтр закреплен на внутренней поверхности в корпусе, а воздухоподающее приспособление включает в себя закрепленный на бутылке ручной воздушный насос, сопряженный с трубкой, соединенной герметично с выполненным в корпусе картриджа сквозным каналом или соединенной герметично посредством расположенного между корпусом картриджа и горловиной бутылки уплотнительного элемента, сообщенного с каналами, выполненными на внутренней поверхности корпуса картриджа и ограниченными внешней поверхностью горловины бутылки.
2. Устройство по п.1, отличающееся тем, что фильтр образован последовательно расположенными фильтрующим материалом грубой очистки, сорбентом или их смесью и фильтрующим материалом тонкой очистки.
3. Устройство по любому из пп.1 и 2, отличающееся тем, что в выходном отверстии корпуса сформирован рассекатель.
4. Устройство по любому из пп.1 и 2, отличающееся тем, что корпус картриджа герметично соединен с горловиной бутылки посредством посадочного места с ориентированной внутренней резьбой.
5. Устройство по любому из пп.1 и 2, отличающееся тем, что корпус картриджа герметично соединен с горловиной бутылки посредством посадочного места с насадкой.
6. Устройство по любому из пп.1 и 2, отличающееся тем, что узел сопряжения корпуса с горловиной бутылки выполнен с запорным фиксатором.
7. Устройство по любому из пп.1 и 2, отличающееся тем, что снабжено герметично сопряженным с корпусом декоративным колпачком.
8. Устройство по п.7, отличающееся тем, что колпачок сопряжен с корпусом посредством резьбы с фиксатором вскрытия.
9. Устройство по любому из пп.1 и 2, отличающееся тем, что ручной воздушный насос выполнен в виде полой емкости из упругого воздухонепроницаемого материала с встроенными впускным и выпускным клапанами, закрепленной на бутылке снаружи.
РИСУНКИ
|
|