|
|
(21), (22) Заявка: 2006132833/12, 14.09.2006
(24) Дата начала отсчета срока действия патента:
14.09.2006
(43) Дата публикации заявки: 20.03.2008
(45) Опубликовано: 20.09.2008
(56) Список документов, цитированных в отчете о поиске:
WO 9904875 A1, 04.02.1999. FR 909611 A, 14.05.1946. JP 2001038058 A, 13.02.2001. RU 2243809 C1, 10.01.2005.
Адрес для переписки:
125430, Москва, ул. Митинская, 30, В.А. Гнездилову
|
(72) Автор(ы):
Гнездилов Владимир Алексеевич (RU)
(73) Патентообладатель(и):
Гнездилов Владимир Алексеевич (RU)
|
(54) АТТРАКЦИОН
(57) Реферат:
Изобретение относится к индустрии развлечений. Аттракцион содержит башню, несущую направляющие или выполненную с направляющими элементами, имеющими участок спуска и/или падения и участок торможения, а также транспортное средство с подвижными или неподвижными пассажирскими местами. Аттракцион снабжен, по крайней мере, одним дополнительным магнитным тормозом, расположенным выше участка торможения. Направляющие элементы выполнены с криволинейным участком, расположенным выше или ниже участка спуска или падения, или с несколькими криволинейными участками, расположенными выше и ниже участка спуска или падения. При этом горизонтальные проекции криволинейных участков или их продолжения пересекают и/или охватывают горизонтальную проекцию башни. Таким образом обеспечивается расширение функциональных возможностей аттракциона путем создания разнообразных видов движения. 5 з.п. ф-лы, 1 ил.
Изобретение относится к индустрии развлечений.
Известен аттракцион, содержащий башню, несущую направляющие элементы, имеющие участок подъема, участок спуска и/или падения и участок торможения, транспортное средство (см. патент РФ №1704808 от 15.09.1991).
Недостатком известного аттракциона является реализация только одного вида движения – свободного падения.
Технический результат, на достижение которого направлено изобретение, заключается в расширении функциональных возможностей аттракциона путем создания разнообразных видов движения.
Указанный результат достигается тем, что аттракцион, содержащий башню, несущую направляющие или выполненную с направляющими элементами, имеющими участок спуска и/или падения и участок торможения, транспортное средство с подвижными или неподвижными пассажирскими местами, снабжен, по крайней мере, одним магнитным тормозом, расположенным выше участка торможения, а направляющие элементы выполнены с криволинейным участком, расположенным выше или ниже участка спуска или падения, или с несколькими криволинейными участками, расположенными выше и ниже участка спуска или падения, при этом горизонтальные проекции криволинейных участков или их продолжения пересекают и/или охватывают горизонтальную проекцию башни.
Для подъема транспортного средства могут быть использованы пневмоподъемник, электромагнитный подъемник или подъемник с гибким рабочим органом.
Дополнительные магнитные тормоза могут быть расположены перед участком падения (спуска), на криволинейном участке или перед ним.
Направляющие элементы могут быть выполнены с участком подъема, сопряженным с участком в зоне посадки пассажиров и с участком спуска или падения.
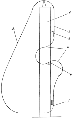
Сущность изобретения поясняется чертежом.
Аттракцион содержит башню 1, направляющие элементы с участком 2 подъема, участком 3 падения, криволинейным участком 4, участком 5 торможения с магнитным тормозом, дополнительные магнитные тормоза 6, подъемник (на чертеже не показан), транспортное средство.
Функционирует аттракцион аналогично известным.
Для подъема транспортного средства с пассажирами в зависимости от профиля пути может быть использован участок 2 подъема при замкнутом пути или путь, на котором реализуются развлекательные эффекты.
При спуске транспортное средство последовательно проходит участок 3 падения, криволинейный участок 4 (несколько криволинейных участков), участок 5 торможения.
Формула изобретения
1. Аттракцион, содержащий башню, несущую направляющие или выполненную с направляющими элементами, имеющими участок спуска и/или падения и участок торможения, транспортное средство с подвижными или неподвижными пассажирскими местами, отличающийся тем, что снабжен, по крайней мере, одним магнитным тормозом, расположенным выше участка торможения, а направляющие элементы выполнены с криволинейным участком, расположенным выше или ниже участка спуска или падения, или с несколькими криволинейными участками, расположенными выше и ниже участка спуска или падения, при этом горизонтальные проекции криволинейных участков или их продолжения пересекают и/или охватывают горизонтальную проекцию башни.
2. Аттракцион по п.1, отличающийся тем, что для подъема транспортного средства использован пневмоподъемник, или электромагнитный подъемник, или подъемник с гибким рабочим органом.
3. Аттракцион по п.2, отличающийся тем, что дополнительный магнитный тормоз расположен перед участком падения или спуска.
4. Аттракцион по любому из пп.1-3, отличающийся тем, что дополнительные магнитные тормоза расположены на криволинейном участке и/или перед ним.
5. Аттракцион по любому из пп.1-3, отличающийся тем, что направляющие элементы выполнены с участком подъема, сопряженным с участком в зоне посадки пассажиров и с участком спуска или падения.
6. Аттракцион по п.4, отличающийся тем, что направляющие элементы выполнены с участком подъема, сопряженным с участком в зоне посадки пассажиров и с участком спуска или падения.
РИСУНКИ
|
|